员工调动流程图
- 格式:docx
- 大小:18.32 KB
- 文档页数:1
员工内部调动工作流程图员工或部门向人力资源
部提出职/岗位调整申
请,填写《人事变动表》部门负责人批准原部门负责人根据《工作
评估表》对其进行评估HR 提供以往绩效考核结
果(档案中)
用人部门对其进行面试
部门负责人不批准
面试通过,用人部门在
《人事变动表》上签字按公司人员调动审批权
限报批得到批准
人力资源部发给员工内
部调整通知。
员工办理工作移交手续,
人力资源部作公司内调
动通告人事、员工所在部门、
相关部门、员工共同协
商
撤消申请或其他面试未通过,由人事部
协调该员工的工作待岗两星期内,未能在公司内部安排该员工
工作,则按离职流程办
理。
员工或部门向人力资源部提出岗位调整申请,并填写《人事变动表》
人力资源部接受申请
原部门负责人综合评估被调动人平时的部门工作表现后,意见或建议交人力资源部
面试合格后,人力资源部、原部门、申请人和用人部门负责人分别在《人事变动表》上签字确认。
向总经理递交四方确认后的《人事变动表》,待审批。
中小型公司员工内部调动流程图(样本)
人力资源部查阅被调动人以往的绩效考核
当员工被认定其绩效表现和工作能力无法
胜任现在岗位的工作需要时,用人部门有权安排其到人力资源部接受待岗培训(培训后如仍无法胜任相关工作岗位的,人力
未达成一致意见或面试不合格,
申请人继续留用原部门。
用人部门约见申请人面试,合格后,
人力资源部约见申请人、原部门和
总经理审批结束后,人力资源部向申请人、原部门和用人部门分别发布调动通知
员工办理原部门工作交接,人力资源部发布公司内部调动通告。
人事调动流程图人事调动是组织管理中常见的一项工作,它涉及到员工的岗位变动、职务调整、部门调动等,有着重要的意义和影响。
为了更好地理解人事调动的流程,以下是一个人事调动的流程图。
流程图如下:1. 调动需求确认:- 上级领导或部门经理确定人员调动的需求,包括调动的原因、目标以及调动的时间等。
- 上级领导与人力资源部门进行沟通,确定调动的岗位和适当的人选。
2. 岗位调研和描述:- 人力资源部门根据调动需求,对目标岗位进行调研和描述。
- 调研包括对岗位职责、要求、工作环境等进行详细了解,形成岗位描述文档。
3. 员工申请与评估:- 人事部门将岗位调动的信息发布给员工,并提供申请的通道。
- 员工根据自身意愿和能力,填写岗位调动申请表。
- 人力资源部门对员工进行评估,包括技能、经验、能力等方面的综合考核。
4. 上级审批:- 经过评估的员工申请表将提交给上级领导或部门经理进行审批。
- 上级领导根据岗位需求、员工能力以及团队利益等因素进行审批决策。
5. 通知员工:- 审批通过的员工将收到调动通知,并与人力资源部门进行进一步确认。
- 通知内容包括调动的具体岗位、薪酬、调动时间等细节。
6. 岗位交接与培训:- 调动的员工与原岗位和新岗位的相关人员进行交接,确保工作的顺利过渡。
- 针对新岗位的特殊要求,人力资源部门组织相应的培训。
7. 合同调整:- 调动后,员工的工作合同需要进行调整。
- 人力资源部门与员工协商并签订新的工作合同。
8. 监测与反馈:- 调动后一段时间,人力资源部门对员工的适应情况进行监测和反馈。
- 根据需要,提供适当的支持和指导,解决员工在新岗位上的问题和困难。
以上是人事调动流程的大致过程,具体流程可能因组织的不同而有所差异。
在实施人事调动的过程中,需要严格遵守组织内部的规章制度和法律法规,确保流程的公正和合法性。
同时,也需要注意与员工的沟通和关怀,保障员工的权益,增强员工的归属感和工作积极性。
人事调动的顺利进行有助于组织的协调发展和员工的个人成长,因此,合理规范的人事调动流程对于组织的人力资源管理至关重要。
单位新员工转岗流程图1. 背景在单位中,新员工转岗是一种常见的人事调动方式。
为了规范转岗流程,提高工作效率,制定了以下转岗流程图。
2. 流程图graph TDA[申请转岗] --> B{是否符合条件}B -->|是| C[填写转岗申请表]B -->|否| D[流程结束]C --> E{是否提交所需材料}E -->|是| F[材料审核]F --> G{审核结果}G -->|通过| H[收集各部门意见]H --> I{是否需要岗位调整}I -->|是| J[修改岗位信息]I -->|否| K[流程结束]J --> K[流程结束]G -->|不通过| L[流程结束]E -->|否| K3. 流程说明1. 新员工在决定转岗之后,首先需要向人事部门提出转岗申请。
2. 人事部门对申请进行初步审核,判断是否符合条件。
3. 如果符合条件,新员工需要填写转岗申请表,并提交所需材料。
4. 人事部门对提交的材料进行审核。
5. 如果审核通过,转岗申请进入下一阶段。
6. 人事部门会收集各部门的意见,以便评估转岗的可行性。
7. 如果需要岗位调整,人事部门会修改岗位信息。
8. 如果不需要岗位调整,则转岗流程结束。
4. 注意事项- 转岗申请需要符合单位制定的条件。
- 申请人需要按照要求提交所需材料。
- 材料审核通过后,才能进入下一阶段的评估和调整。
以上是单位新员工转岗的流程图和说明,希望能够清晰地指导新员工在转岗过程中的操作。
如有疑问,请联系人事部门。
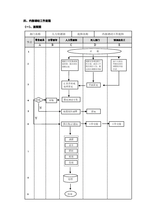
四、内部调动工作流程(一)、流程图(二)、流程说明1.日常员工异动:调动、待岗、辞职等情形。
出现员工异动,原工作部门应监督其及时办理异动手续,若因部门管理不善,离职人员带走公司财物和技术秘密,一概由原工作部门负责人承担责任。
2.员工异动的主管部门是人力资源部,其他部门无权对员工异动作出批准决定。
凡未经人力资源部认可的私自异动均为无效异动,当事人将受到相应处罚。
3.因工作需要,公司有权对员工进行合理的工作调整,各部门/单位及员工应无条件服从。
4.跨部门岗位调整4.1 新工作部门因工作需要,经与拟调动员工原部门领导协商同意的员工调动;4.2员工认为现工作岗位不适合,经与新工作部门联系,并得到原工作部门同意的员工调动;4.3跨部门岗位调整须经原工作部门领导及上一级领导和新工作部门领导及上一级领导签字同意,公司人力资源部批准,在办理完异动交接手续后方可到新工作部门上岗。
5. 部门/单位内岗位调整因工作需要或本人申请,进行的部门/单位内岗位调整。
部门/单位内岗位调整,须经部门/单位负责人同意,并至人力资源部备案。
6. 内部调动程序6.1 员工调出、调入部门协商调动事宜;6.2 调动员工到人力资源部领取《员工异动申请表》和《员工工作交接单》;6.3 调动员工原工作部门领导和上一级领导同意;6.4 办理员工异动交接手续;6.5 报人力资源部批准或备案(部门内岗位调动);6.6 至调动员工《员工岗位变动通知书》;6.7 调动员工到新工作部门、岗位工作。
6.8 员工接到岗位调动通知后,应于规定的日期内依据离职程序办妥移交手续,前往新岗报到,逾期未到岗报到也未请假者,按旷工处理。
员工调岗流程图员工调岗流程图员工调岗是指将员工从原来的岗位调动到新的岗位,以适应组织发展和员工个人发展的需要。
下面是员工调岗的流程图:1. 确定调岗需求:组织需要根据业务发展和人力资源规划,确定调岗的具体需求,包括调岗的岗位、岗位职责和要求。
2. 预审员工资格:人力资源部门会对员工进行资格预审,包括员工的工作表现、能力素质和适应能力等方面的评估。
3. 发布调岗通知:人力资源部门会向符合调岗条件的员工发送调岗通知,通知中会包含调岗的原因、岗位要求和调岗流程等相关信息。
4. 员工申请调岗:员工在收到调岗通知后,如果对调岗感兴趣,可以向人力资源部门提交调岗申请。
申请中需要包含个人简历、岗位申请理由和个人发展计划等资料。
5. 面试与评估:人力资源部门会对申请调岗的员工进行面试和评估,以了解员工的能力和适应性,以及是否符合新岗位的要求。
6. 决策与通知:根据面试和评估结果,人力资源部门会对员工的调岗申请进行决策,并向员工发出调岗决定的通知。
7. 签订调岗协议:员工在接到调岗决定通知后,需要与人力资源部门签订调岗协议,明确双方的权利和义务,包括岗位职责、薪酬待遇和工作时间等。
8. 岗位培训:为了帮助员工顺利适应新岗位,人力资源部门会安排相应的岗位培训,提供必要的知识和技能支持。
9. 调岗执行:员工在完成岗位培训后,正式开始新岗位的工作。
人力资源部门会对员工的调岗情况进行跟踪和评估,以确保调岗的顺利进行。
10. 调岗评估:一定时间后,人力资源部门会对员工的调岗情况进行评估,包括员工在新岗位的表现和工作适应情况等。
11. 调岗反馈:根据调岗评估的结果,人力资源部门会向员工提供调岗反馈,包括对员工的肯定和建议,以帮助员工进一步提升自己。
通过以上流程,员工调岗的过程可以更加规范和有序,既满足了组织的发展需求,也促进了员工的个人发展。
中小型公司员工内部调动流程图(样本)
员工或部门向人力资源部提出岗位
调整申请,并填写《人事变动表》
人力资源部接受申
请 原部门负责人综合评估被调动人平时的部门工作表现后,意见或建议交人力资源部 人力资源部查阅被调动人以往的
绩效考核 用人部门约见申请人面试,合格后,人力资源部约见申请人、原部门和用人部门四方就申请问题交换意见。
面试合格后,人力资源部、原部门、申请人和用人部门负责人分别在《人事变动表》上签字确认。
向总经理递交四方确认后的《人事变动表》,待审批。
员工办理原部门工作交接,人力资源部发布公司内部调动通告。
总经理审批结束后,人力资源部向申请人、原部门和用人部门分别发布调动通知 未达成一致意见或面试不合格,申请人继续留用原部门。
当员工被认定其绩效表现和工作能力无法胜任现在岗位的工作需要时,用人部门有权安排其到人力资源部接受待岗培训(培训后如仍无法胜任相关工作岗位的,人力资源部经理可与当事人商量解除《劳动合同》)。
员工转岗流程图责任部门/人主要流程办理细节相关制度、表单店长、主管级店长、主管级经理级总裁人事主管行政部1、转岗员工应填写《员工岗位调动申请表》,如实填写转岗理由及相关信息;2、经申请人所在部门主管审核同意后;3、人事部审核,并填写申请人学历、教育培训、现岗位薪资等情况;3、接收部门主管审核同意并确认申请人岗位及主要工作职责;4、区域经理复核并提出参考试用薪资;(转正薪资根据转正考核情况核定)5、总经理审批并确认转岗后试用薪资;6、转岗员工有权知悉岗位变动后薪资情况,并签名确认是否同意转岗;7、表单送人事部存档,并与转岗人员重新签订人事合同。
«海博旺公司考勤管理制度»(新)«内部员工转岗制度»员工编制:批准:生效日期:年月日员工办理入职手续需要进行的工作一、必备条件:1、经面试合格,并正式录用。
2、完成入职手续:①提供有效身份证明文件——身份证或相关证明文件。
②提供任职资格证明文件——上岗资格证、毕业证(学历证明文件)。
③签订《劳动合同》及附件。
二、办理要求:1、员工申请职位:①本人填制《应聘申请表》。
②提交身份证(或有效身份证明文件)。
③提交任职资质证明——学历证明。
④提交上岗资质证明——特种岗位操作证(特殊岗位)。
2、人事部审核证件与资质:3、面试合格及有效批准:4、办理人事相关入职手续:①签订《劳动合同》及附件;②前一单位离职证明(或声明);;③编立档案——简历、复印:A身份证件、B任职资质证明、C上岗资格证(特殊工种);5、办理后勤相关手续①安排宿舍——住宿申请、外宿声明;②安排就餐——免费餐报食堂新增人数;6、入职培训①企业文化培训——住宿申请、外宿声明;②军训——免费餐报食堂新增人数;③本职岗位操作技能培训。
7、介绍至各部门。
8、安排进入所属部门,正式上岗。
员工调岗申请审批流程图
员工调岗申请审批流程图
员工调岗申请审批流程如下:
1. 员工填写调岗申请表格,并提交给直接上级领导。
2. 直接上级领导审查申请表格,确认员工的个人信息和调岗原因。
3. 如果直接上级领导认为调岗申请合理且符合组织需求,将申请表格转发给人力资源部门。
4. 人力资源部门收到申请表格后,核实员工的岗位背景和相关能力。
5. 人力资源部门将申请表格转发给调岗岗位的直接上级领导。
6. 调岗岗位的直接上级领导审查申请表格,评估员工是否适合调岗岗位。
7. 如果调岗岗位的直接上级领导认为员工适合调岗,将申请表格转发给人力资源部门。
8. 人力资源部门将申请表格转发给人力资源总监。
9. 人力资源总监审查申请表格,评估员工调岗对组织整体的影响。
10. 如果人力资源总监认为调岗申请符合组织整体利益,将申请表格转发给高级管理层。
11. 高级管理层审查申请表格,最终决定是否批准员工的调岗申请。
12. 人力资源部门将最终决定通知员工,并安排调岗事宜。
请注意,以上流程仅为一般调岗申请审批流程,具体流程可能因组织结构和政策要求而有所不同。