干部调动流程图
- 格式:doc
- 大小:35.01 KB
- 文档页数:1
人事调动流程图人事调动是组织管理中常见的一项工作,它涉及到员工的岗位变动、职务调整、部门调动等,有着重要的意义和影响。
为了更好地理解人事调动的流程,以下是一个人事调动的流程图。
流程图如下:1. 调动需求确认:- 上级领导或部门经理确定人员调动的需求,包括调动的原因、目标以及调动的时间等。
- 上级领导与人力资源部门进行沟通,确定调动的岗位和适当的人选。
2. 岗位调研和描述:- 人力资源部门根据调动需求,对目标岗位进行调研和描述。
- 调研包括对岗位职责、要求、工作环境等进行详细了解,形成岗位描述文档。
3. 员工申请与评估:- 人事部门将岗位调动的信息发布给员工,并提供申请的通道。
- 员工根据自身意愿和能力,填写岗位调动申请表。
- 人力资源部门对员工进行评估,包括技能、经验、能力等方面的综合考核。
4. 上级审批:- 经过评估的员工申请表将提交给上级领导或部门经理进行审批。
- 上级领导根据岗位需求、员工能力以及团队利益等因素进行审批决策。
5. 通知员工:- 审批通过的员工将收到调动通知,并与人力资源部门进行进一步确认。
- 通知内容包括调动的具体岗位、薪酬、调动时间等细节。
6. 岗位交接与培训:- 调动的员工与原岗位和新岗位的相关人员进行交接,确保工作的顺利过渡。
- 针对新岗位的特殊要求,人力资源部门组织相应的培训。
7. 合同调整:- 调动后,员工的工作合同需要进行调整。
- 人力资源部门与员工协商并签订新的工作合同。
8. 监测与反馈:- 调动后一段时间,人力资源部门对员工的适应情况进行监测和反馈。
- 根据需要,提供适当的支持和指导,解决员工在新岗位上的问题和困难。
以上是人事调动流程的大致过程,具体流程可能因组织的不同而有所差异。
在实施人事调动的过程中,需要严格遵守组织内部的规章制度和法律法规,确保流程的公正和合法性。
同时,也需要注意与员工的沟通和关怀,保障员工的权益,增强员工的归属感和工作积极性。
人事调动的顺利进行有助于组织的协调发展和员工的个人成长,因此,合理规范的人事调动流程对于组织的人力资源管理至关重要。
干部调京(办理《北京市工作居住证》)审批流程图报 反 送 馈可办理的业务:国内外埠人才办理《北京市工作居住证》一、受理:条件:符合城市功能定位和首都经济发展方向及产业规划要求的本市行政区域内具有法人资格的企事业单位、民办非企业单位、社会团体,外国(地区)、外埠在京设立的非法人分支机构聘用的具有2年以上工作经历并取得学士(含)以上学位或具有中级(含)以上专业技术职称或相当资格、资质的人才,在本市有固定住所的,均可申请《工作居住证》。
申办人需提交如下申办材料:1、拟申请《北京市工作居住证》人员受聘企业情况证明材料:企业法人营业执照[或事业单位法人证书、民办非企业单位登记证书(法人)、社会团体法人登记证书、外国(地区)、外埠在京设立的非法人分支机构营业执照]的原件及复印件;申请单位加盖印章的《北京市工作居住证申请表》(一式三份)2、拟申请《北京市工作居住证》人员情况证明材料:(1)学历证书、学位证书、职称证书和身份证原件及复印件;(2)在京固定住所证明:自己有住房的,提供房产证或购房合同;租赁房屋的,提供派出所和房管部门出具的准许房屋出租的证明以及与业主签订的租房协议;租赁公房由房屋产权单位出具证明;借住亲友住房(私房)的由居委会出具相关证明和房产证;(3)聘用合同或劳动合同;(4)近期一吋同版免冠彩色照片一张;(5)配偶和子女随往还需提供:结婚证书、配偶身份证原件及复印件,聘用合同、独生子女证等。
(6)其他需要提供的材料。
3、审批流程表:《北京市工作居住证申请表》(一式三份)。
(依据:《北京市引进人才和办理<北京市工作居住证>的暂行办法》(京人发[1999]38号)第七条第二款) 标准:申办人提交的申办材料齐全、规范、有效。
(依据:《北京市引进人才和办理<北京市工作居住证>的暂行办法》(京人发[1999]38号)第七条第二款)二、审核:标准:1、属本处管理权限范围内的项目;(依据:《北京市引进人才和办理<北京市工作居住证>的暂行办法》(京人发[1999]38号)第一条)2、申办材料齐全、规范、有效;(依据:《北京市引进人才和办理<北京市工作居住证>的暂行办法》(京人发[1999]38号)第七条第二款)3、拟办理《北京市工作居住证》人员须具有学士学位且成绩突出者或具有中级专业技术职称的业务骨干,年龄在35周岁以下且身体健康者;(依据:《北京市引进人才和办理<北京市工作居住证>的暂行办法》(京人发[1999]38号)第五条)4、拟办理《北京市工作居住证》人员的专业技能和所从事行业与我市现有人才的急需紧缺状况相符,且与申办单位的人才需求状况相符。
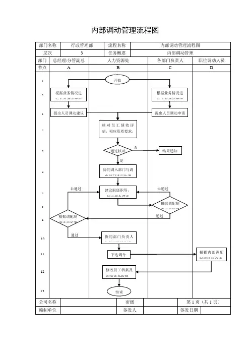
员工调动流程图 1 / 1
跨部门人员调换流程图
职工个人 调出部门
提出调换需求 提出调换需求
填写调换申请 填写调换申请
表 表
调出部门审批
工作物件移交
招新人
是 调入部门 人力资源部 常务副总经理 提出调换需求 填写调换申请 表 调入部门审批 人力资源审批 常务副总审批 否
公布招聘信息 职工调换 更新个人档 案、信息
是
通知财务调薪 调薪
否
结束
1、 调出部门能否需要增补新人,且不增添人员成本;
2、 调出人员能够完整胜任新岗位,并迅速进入角色;
3、 调出人员如不胜任新岗位,但在原岗位业绩优秀,能够无阻碍回到原岗位;。
岗位调整流程图
固定时间的岗位调整 部门经理会讨论,综合评价全体员工 评价结果 人事通知单
(评价结果)
告知相关人员 存档 非固定时间的岗位调整
根据公司发展或规划需要,提出岗位调整议案 经理例会讨论决定 审批
Y
根据业务规划和工作
计划,或员工不胜任岗位工作,提出岗位调整的书面报告
因个人爱好特长等提出岗位调整的书面申请 取消岗位调整 N
档案 考核 评估 获知 调薪 晋升 降职 转岗 待岗
汇总并形成处理意见 书面意见 执行批示 薪酬 劳动合同 劳动合同
劳动合同
劳动合同
获知 获知。
干部岗位调整工作流程干部岗位调整工作流程1. 确定调整需求•分析组织结构和人员配置情况•审查干部队伍建设规划•调研干部现状和各部门需求2. 制定调整方案•组织会商,确定调整原则和政策•评估各岗位的职责和要求•制定调整方案,包括岗位变动和人员配备方案3. 内部发布通知•资源部门发布干部岗位调整通知•通知包括调整原因、范围和流程•提醒干部按照规定时间提交申请4. 干部申请提交•干部填写申请表,详细说明申请岗位和理由•提交申请表至人力资源部门•人力资源部门进行初步筛选和评估5. 评审和确定•组织专家评审委员会,对申请进行评审•根据调整方案,确定干部适宜的岗位•出具调整意见,并报批上级领导6. 调整公示和申诉•进行调整结果公示,公示时限不少于3个工作日•公示期间,公开接受申诉•对申诉进行核实和审查,及时处理7. 调整落实•根据公示结果,组织调整落实工作•通知调整干部和相关部门•安排培训和适应期,确保顺利过渡8. 调整后跟踪•对调整结果进行评估和反馈•跟踪干部适应情况•根据实际情况,进行必要的调整和改进以上是干部岗位调整工作的详细流程,通过科学规范的操作,可以实现干部的优化配置和组织的高效运转。
调整过程中,重视公示和申诉环节,并及时跟踪后续工作,可以有效增加透明度和公正性,提高干部的满意度和工作积极性。
9. 调整效果评估•对调整后的岗位和干部进行评估•梳理调整前后的工作效能和人员适配情况•分析调整对组织发展的影响10. 优化调整流程•总结调整经验和问题•提出优化调整流程的建议•完善干部岗位调整制度和政策11. 提供培训和支持•根据调整结果和干部需求,提供相关培训•协调资源,支持干部适应新岗位•激励和激励干部,积极投入工作通过这些流程,干部岗位调整工作可以更加有序和规范进行。
定期评估调整效果,并持续优化流程,可以进一步提高调整工作的效率和质量,促进组织的稳定发展和干部的职业发展。
干部岗位调整工作,不仅是优化组织人力资源配置的重要手段,也是激发干部活力和潜力的重要机制。
局管领导干部选拔任用工作流程图发展党员工作流程图申请入党人递交入党申请书党支部列为入党积极分子,填写“党的培养对象考察表”党支部指派2名正式党员负责培养联系支委会确定为发展对象,上报局党委,局党委进行超前考察市委组织部或局党委对年度对象进行集中培训党支部进行政治审查发展对象填写《入党志愿书》党支部召开支部大会讨论接收预备党员局党委将接收预备党员情况进行公示组织部指派专人进行审查谈话局党委集体讨论审批预备党员局党委或支部(总支)组织入党宣誓仪式局党委和支部教育考察预备党员预备党员到期申请转正党支部征求党内外群众意见党支部召开支部大会讨论转正局党委召开党委会进行转正审批局党委整理党员入党材料送人事部门存入本人档案人事调动工作流程图教师录用工作流程图 学校上报教师需求教师职称评聘工作流程图教师资格申请认定工作流程图教育局评先选优工作流程图政府采购工作流程图到县政府采购管理办公室领取政府采购表教育局对学校需采购物品的质量、数量进行审核报县政府采购管理办公室审批学校将采购物品资金汇入县政府采购管理办公室帐户在县采购管理办公室人员监督下到指定商店购买办公用品指定商店给县政府采购管理办公室开据发票县政府采购管理办公室给采购单位开据发票校舍改建(维修)工作流程图教育技术装备采购工作流程图教育督导工作流程图确定教育督导内容制定教育督导方案及评估指标体系通知被督导单位指导被督导单位自评、自查实施督导评估向被督导单位反馈督导情况、提出意见和工作建议形成《教育督导通报》并发送相关单位或经县政府批准向社会公布督导结果向县政府、教育局提出相关工作建议中等职业学校国家助学金发放工作流程图学校处理学生伤害事故工作流程图离退休干部年终困难补助工作流程图局退管办下发通知:公布困难补助的原则、要求↓基层单位离退休干部会议:传达局困难补助原则、要求↓个人申请:向本单位提交困难补助申请书并填写审批表↓单位领导班子讨论研究确定上报的困难补助初选人↓局退管办调查审核↓局老干部领导组审批↓公示全市离退休干部困难补助名单与金额↓基层各单位在规定时间内到局退管办领取困难补助金↓基层单位在五日内将困难补助金送到老同志家中民办教育机构审批工作流程图 申请:申办者提出书面申请(申办报告、办学场所证明文件)受理:申办者提交材料和证明文件(消防安全合格意见书、从业人员资格证明文件、学校章程、发展规划,幼儿园需持有卫生许可证),经审查合格视为受理审核:教育局组成评估组对申报材料、证明文件及办学条件等进行审核与评估审批:局审批领导小组针对评估组意见进行研究,做出是否批准决定发证:教育局对申批合格的申办者,颁发办学(园)许可证说明:民办教育机构包括:举办实施学历教育、学前教育、自学考试、助学及其他文化教育的民办机构。