自动控制理论名词解释
- 格式:doc
- 大小:27.00 KB
- 文档页数:2
名词解释31.准确性指调整过程结束后输出量与给定的输入量之间的偏差32.速度误差指输入为速度信号(或者斜坡信号)时所引起的输出位置上的误差。
33.峰值时间.响应曲线从零上升到第一个峰值点所需要的时间34.负穿越当乃氏图从大于-π的第三象限越过负实轴到第二象限时称为负穿越35.根轨迹的终止角指根轨迹的起点处的切线与水平线正方向的夹角。
31.奇点奇点即平衡点,是系统处于平衡状态相平面上的点。
32.比较元件用来比较输入信号与反馈信号之间的偏差的元件33.上升时间响应从稳态值的10%上升到稳态值的90%所需的时间34.负反馈把运动的结果所决定的量作为信息再反馈回控制仪器中35.加速度误差.指输入为匀加速度信号时所引起的输出位置上的误差。
31.随动系统被调量随着给定量(或输入量)的变化而变化的系统就称为随动系统。
32.死区死区也称不敏感区,通常以阈值、分辨率等指标衡量。
33.振荡次数在调整时间t s 内响应曲线振荡的次数。
34.快速性指当系统输出量与给定的输入量之间产生偏差时,消除这种偏差过程的快速程度。
35.根轨迹的分离点几条根轨迹在s 平面上相遇后又分开的点。
31.延迟时间:响应曲线从零上升到稳态值的50%所需要的时间。
32.32.比例环节:在时间域里,输入函数成比例,即:()()t kx t x i =033.稳态响应:时间t 趋于无穷大时,系统输出的状态,称为系统的的稳态响应34.闭环截止:频率响应从稳态值的10%上升到稳态值的90%所需的时间35.位置误差:指输入时阶跃信号时所引起的输出位置上的误差。
30.误差平方积分性能的特点重视大的误差,忽略小的误差31.最优滤波当输出已知时,确定系统,以识别输入或输出的有关信息称为最优滤波32.积分环节输出变量正比于输入变量的积分33.极坐标图是反映频率响应的几何表示。
34.相位裕量 在ω为剪切频率c ω时,相频特性()()g g j H j G ωω∠距-180︒线的相位差γ 称为相位裕量。
1.稳定性:指动态过程的振荡倾向和系统能够恢复平稳状态的能力。
2.理想微分环节:输出变量正比于输入变量的微分3.调整时间:系统响应曲线达到并一直保持在允许衰减范围内的最短时间4.根轨迹:指当系统某个参数(如开环增益K)由零到无穷大变化时,闭环特征根在s平面上移动的轨迹。
5.数学模型:如果一物理系统在信号传递过程中的动态特性能用数学表达式描述出来,该数学表达式就称为数学模型。
6.反馈元件:用于测量被调量或输出量,产生主反馈信号的元件。
7.最大超调量:二阶欠阻尼系统在单位阶跃输入时,响应曲线的最大峰值与稳态值的差。
8.自动控制:在没有人直接参与的情况下,使被控对象的某些物理量准确地按照预期规律变化。
9.传递函数:传递函数的定义是对于线性定常系统,在零初始条件下,系统输出量的拉氏变换与输入的拉氏变换之比。
10.瞬态响应:系统在某一输入信号的作用下其输出量从初始状态到稳定状态的响应过程。
11.积分环节:输出变量正比于输入变量的积分12.根轨迹的起始角:指起于开环极点的根轨迹在起点处的切线与水平线正方向的夹角。
13.延迟时间:响应曲线从零上升到稳态值的50%所需要的时间。
14.比例环节:在时间域里,输入函数成比例,即:()()t kx t x i =015.稳态响应:时间t 趋于无穷大时,系统输出的状态,称为系统的的稳态响应。
16.上升时间:响应从稳态值的10%上升到稳态值的90%所需的时间17.位置误差:指输入时阶跃信号时所引起的输出位置上的误差。
18.随动系统:被调量随着给定量(或输入量)的变化而变化的系统就称为随动系统。
19.振荡次数:在调整时间t s 内响应曲线振荡的次数。
20.快速性:指当系统输出量与给定的输入量之间产生偏差时,消除这种偏差过程的快速程度。
21.根轨迹的分离点:几条根轨迹在s 平面上相遇后又分开的点。
22.比较元件:用来比较输入信号与反馈信号之间的偏差的元件。
23.负反馈:把运动的结果所决定的量作为信息再反馈回控制仪器中。
第一章系统:系统泛指由一群有关联的个体组成,根据预先编排好的规则工作,能完成个别元件不能单独完成的工作的群体。
自动控制(Automatic Control):是指在没有人直接参与的情况下,利用外加的设备或装置,使机器、设备或生产过程的某个工作状态或参数自动地按照预定的规律运行。
开环控制(open loop control):开环控制是最简单的一种控制方式。
它的特点是,按照控制信息传递的路径,控制量与被控制量之间只有前向通路而没有反馈通路。
也就是说,控制作用的传递路径不是闭合的,故称为开环。
闭环控制(closed loop control):凡是将系统的输出量反送至输入端,对系统的控制作用产生直接的影响,都称为闭环控制系统或反馈控制Feedback Control系统。
这种自成循环的控制作用,使信息的传递路径形成了一个闭合的环路,故称为闭环。
复合控制(compound control):是开、闭环控制相结合的一种控制方式。
被控对象:指需要给以控制的机器、设备或生产过程。
被控对象是控制系统的主体,例如火箭、锅炉、机器人、电冰箱等。
控制装置则指对被控对象起控制作用的设备总体,有测量变换部件、放大部件和执行装置。
开环控制系统:不将控制的结果反馈回来影响当前控制的系统闭环控制系统:可以将控制的结果反馈回来与希望值比较,并根据它们的误差调整控制作用的系统开环控制系统:是没有输出反馈的一类控制系统。
其结构简单,价格低,易维修。
精度低、易受干扰。
(2.5分)闭环控制系统:又称为反馈控制系统,其结构复杂,价格高,不易维修。
但精度高,抗干扰能力强,动态特性好。
(2.5分)手动控制系统:必须在人的直接干预下才能完成控制任务的系统自动控制系统:不需要有人干预就可按照期望规律或预定程序运行的控制系统判断:骑自行车——人工闭环系统,导弹——自动闭环系统,人打开灯——人工开环系统,自动门、自动路灯——自动开环系统被控量(controlled variable):指被控对象中要求保持给定值、要按给定规律变化的物理量。
1、什么是自动控制?自动控制就是应用控制装置自动的、有目的地控制或调解机器设备或生产过程,使之按照人们规定的或者是希望的性能指标运行。
2、参数值(给定值输入):电动机转速就有一定值,故电位器的变化3、自动控制系统:电动机转速变化的测速发电机电压的发至输入端与电位器电压进行比较,两者的差值(又称偏差信号)控制功率放大器(控制器),控制器的输出控制电动机的转速。
4、扰动:当电源变化、负载变化等将引起转速变化,也称受控对象。
5、人工控制系统:当发现电动机转速高于给定值时,马上调节电位器的动点,使电动机的电枢电压减少,降低转速,使之恢复到给定值。
6、开环控制系统:一个系统,如果在其控制器的输入信号中不包括含受控对象输出端的被控量的反馈信号。
7、开环控制系统:一个系统,如果在其控制器的输入信号中包括含受控对象输出端的被控量的反馈信号。
8、多回路反馈控制系统:一个复杂的控制系统(实际生产过程往往是很复杂的,因而构成的控制系统也往往是很复杂的)也可能有多个反馈信号(除被控量的反馈信号外,还有其他的反馈信号),组成多个闭合回路。
9、恒值控制系统:的任务是保持被控量恒定不变,也即是被控量在控制过程结束在一个新的稳定状态时,被控量等于给定值。
(发电机电压控制,电动机转速控制,电力网的频率(周波))10、随动控制系统(随动系统):他是被控量的给定值随时间任意变化的控制系统,随动控制系统的任务是在各种情况下使被控量跟踪给定值的变化。
(运动目标的自动跟踪、跟踪卫星的雷达天线控制系统,工业控制中的位置控制系统,工业自动化仪表中的现实记录等)11、控制系统的性能要求:稳定性、快速性、准确性12、建立系统微分方程步骤:1. 确定系统输入量(给定量和扰动量) 与输出量(被控制量, 也称系统响应2. 列写系统各部分3. 消去中间变量,求出系统的微分方程 4. 将微分方程整理成标准形式。
13、顺馈控制:按扰动控制的开环控制系统,是利用可测量的扰动量,产生一种补偿作用,以减小或抵消扰动对输出的影响。
自动控制原理名词解释第一章:知识点1闭环系统(或反馈系统)的特征:采用负反馈,系统的被控变量对控制作用有直接影响,即被控变量对自己有控制作用。
2典型闭环系统的功能框图。
一些重要的概念与名词自动控制在没有人直接参与的情况下,通过控制器使被控对象或过程按照预定的规律运行。
自动控制系统由控制器和被控对象组成,能够实现自动控制任务的系统。
被控制量在控制系统中.按规定的任务需要加以控制的物理量。
控制量作为被控制量的控制指令而加给系统的输入星•也称控制输入。
扰动量干扰或破坏系统按预定规律运行的输入量,也称扰动输入或干扰掐入。
反馈通过测量变换装置将系统或元件的输出量反送到输入端,与输入信号相比较。
反送到输入端的信号称为反馈信号。
负反馈反馈信号与输人信号相减,其差为偏差信号。
负反馈控制原理检测偏差用以消除偏差。
将系统的输出信号引回插入端,与输入信号相减,形成偏差信号。
然后根据偏差信号产生相应的控制作用,力图消除或减少偏差的过程。
开环控制系统系统的输入和输出之间不存在反馈回路,输出量对系统的控制作用没有影响,这样的系统称为开环控制系统。
开环控制又分为无扰动补偿和有扰动补偿两种。
闭环控制系统凡是系统输出端与输入端存在反馈回路,即输出量对控制作用有直接影响的系统,叫作闭环控制系统。
自动控制原理课程中所讨论的主要是闭环负反馈控制系统。
复合控制系统复合控制系统是一种将开环控制和闭环控制结合在一起的控制系统。
它在闭环控制的基础上,用开环方式提供一个控制输入信号或扰动输入信号的顺馈通道,用以提高系统的精度。
自动控制系统组成闭环负反馈控制系统的典型结构如图1. 2所示。
组成一个自动控制系统通常包括以下基本元件图1.2典型负反馈控斛系就结构1. 给定元件给出与被控制量希望位相对应的控制输入信号(给定信号),这个控制输入信号的量纲要与主反馈信号的量纲相同。
给定元件通常不在闭环回路中。
2•测量元件测量元件也叫传感器,用于测量被控制量,产生与被控制量有一定函数关系的信号被控制量成比例或与其导数成比例的信号。
频率响应——又称频率特性,是指在正弦输入信号作用下系统输出的稳态分量与正弦输入信号之比。
即()()()ωωωj x j x i 0j G =。
反馈——是指把系统的输出量引入到它的输入端并以某种方式改变输入,进而影响系统功能的工程。
稳态误差——当时间t →∞时,系统的参考输入与输出之间的误差,用ss e 表示。
最大超调量——是指在过渡过程中,系统响应第一次达到的峰值()p t c 和稳态值()∞c 之差与稳态值之比,即()()()%100%⨯∞∞-=c c t c M p p .峰值时间——是指瞬态响应第一次出现峰值的时间,用t P 表示。
单位阶跃响应——是指输入信号为单位阶跃信号()()t t 1=γ时系统的输出响应。
相位裕量——在剪切频率c ω处,使系统达到临界稳定状态时所能接受的附加相位滞后角,即()c φ180ωγ+︒=,其中()c ωϕ是开环频率特性在W C 处的相位。
滞后一超前校正——是指能够同时改善系统的动态和稳态性能的校正。
稳态响应——当时间t →∞时系统的时域响应。
频率特性——是指在正弦输入信号作用下系统输出的稳态分量与正弦输入信号之比。
即()()()ωωωj x j x i 0j G =。
调整时间——又称时间调整,是指阶跃响应曲线c(t)开始进入偏离稳态值()∞c ,t Δ(Δ=2或5)的误差范围,并从此不再超越这个范围的时间,用t s 表示。
当s t t ≥时()()()%c ∆⨯∞≤∞-c c t 。
谐振峰值——是指系统发生谐振(等幅振荡)时,闭环频率特性幅值的最大值,用Mr 表示,)220,-121Mr 2<<=ξξξ(。
谐振频率——是指系统频率响应发生谐振(等幅振荡)时对应的频率值,用Wr 表示,2n 21ξωω-=r ,(220<<ξ)。
截止频率——当输入信号的幅度不变,改变频率使输出信号降至最大值的0.707信时对应的频率。
幅值穿越频率——是指系统开环频率特性上幅值为1时所对应的角频率,用c ω表示,()()()1==c c c j H j G A ωωω。
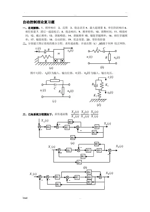
自动控制理论复习题一、名词解释:1、频率响应 2、反馈 3、稳态误差4、最大超调量 5、单位阶跃响应6、相位裕量7、滞后一超前校正;8、稳态响应;9、频率特性;10、调整时间;11、峰值时间;12、截止频率;13、谐振峰值;14、谐振频率15、幅值穿越频率;16、相位穿越频率;17、幅值裕量;18、自动控制、19、状态变量、20、零阶保持器二、分别建立图示系统的微分方程,求传递函数,并说出图(c ),(d)属于何种 较正网络。
图中)(t x i ,)(0t x 为输入、输出位移;)(t u i ,)(0t u 为输入、输出电压。
三、已知系统方框图如下,求传递函数)(,)(,)(000s X s X s X)(a )(b )t )t )(c )(t x i 1)(0t x )(d )(0s )(b X i )s X i )s四、已知系统的开环的幅相特性(Nyguist )如图所示,图中P 为开环传递函数G(s)H(s)五、计算 1、设某二阶系统的单位阶跃响应曲线如图所示,如果该系统为单位反馈型式,试确定其开环传递函数。
2、某系统如图所示,n p t 调整时间 s t 。
(设误差带宽度取±2% ))(c )(a))(a )(b ))六、已知系统的开环传递函数)()(s H s G 的幅频特性曲线如图示,且)()(s H s G 为最小相位系统。
试求)()(s H s G = ?七、某系统的开环传递函数为)12()1()()(-+=s s sK s H s G ,试画出其乃奎斯特图,并说明当K取何值时系统稳定?八、已知系统闭环传递函数为))()(01221101a s a s a s a s a a s a s X s X n n n n i +++⋅⋅⋅+++=-- 试证明系统对速度输入的稳态误差为零。
十、判断正误1、各项时域指标(最大超调量,调整时间等)是在斜坡信号作用下定义的。
2、对于结构不稳定系统,可以通过改变某些系统结构参数而使其稳定。
自动控制原理常用名词解释词汇第一章自动控制 ( Automatic Control) :是指在没有人直接参与的条件下,利用控制装置使被控对象的某些物理量(或状态)自动地按照预定的规律去运行。
开环控制 ( open loop control ):开环控制是最简单的一种控制方式。
它的特点是,按照控制信息传递的路径,控制量与被控制量之间只有前向通路而没有反馈通路。
也就是说,控制作用的传递路径不是闭合的,故称为开环。
闭环控制 ( closed loop control) :凡是将系统的输出量反送至输入端,对系统的控制作用产生直接的影响,都称为闭环控制系统或反馈控制 Feedback Control 系统。
这种自成循环的控制作用,使信息的传递路径形成了一个闭合的环路,故称为闭环。
复合控制 ( compound control ):是开、闭环控制相结合的一种控制方式。
被控对象:指需要给以控制的机器、设备或生产过程。
被控对象是控制系统的主体,例如火箭、锅炉、机器人、电冰箱等。
控制装置则指对被控对象起控制作用的设备总体,有测量变换部件、放大部件和执行装置。
被控量 (controlled variable ) :指被控对象中要求保持给定值、要按给定规律变化的物理量。
被控量又称输出量、输出信号。
给定值 (set value ) :是作用于自动控制系统的输入端并作为控制依据的物理量。
给定值又称输入信号、输入指令、参考输入。
干扰 (disturbance) :除给定值之外,凡能引起被控量变化的因素,都是干扰。
干扰又称扰动。
第二章数学模型 (mathematical model) :是描述系统内部物理量(或变量)之间动态关系的数学表达式。
传递函数 ( transfer function) :线性定常系统在零初始条件下,输出量的拉氏变换与输入量的拉氏变换之比,称为传递函数。
零点极点 (z ero and pole) :分子多项式的零点(分子多项式的根)称为传递函数的零点;分母多项式的零点(分母多项式的根)称为传递函数的极点。
1.控制概念(1)开环控制:开环控制是最简单的一种控制方式。
它的特点是,按照控制信息传递的路径,控制量与被控制量之间只有前向通路而没有反馈通路。
闭环控制:凡是将系统的输出量反送至输入端,对系统的控制作用产生直接的影响,都称为闭环控制系统或反馈控制系统。
复合控制:是开、闭环控制相结合的一种控制方式。
(2)反馈:指将系统的输出返回到输入端并以某种方式改变输入,进而影响系统功能的过程,即将输出量通过恰当的检测装置返回到输入端并与输入量进行比较的过程。
(3)传递函数:在零初始条件下,系统输出信号的拉手变换与输出信号的拉氏变换的比。
(4)被控对象:指需要给以控制的机器、设备或生产过程。
执行机构:一种能提供直线或旋转运动的驱动装置,它利用某种驱动能源并在某种控制信号作用下工作。
(5)线性化:a条件:连续且各阶导数存在 b方法:工作点附近泰勒级数展开。
2.时域指标(1)上升时间tr:响应从终值10%上升到终值90%所需时间;对有振荡系统亦可定义为响应从零第一次上升到终值所需时间。
上升时间是响应速度的度量。
峰值时间tp:响应超过其终值到达第一个峰值所需时间。
调节时间ts:响应到达并保持在终值内所需时间。
(2)超调量σ%:响应的最大偏离量h(tp)与终值h(∞)之差的百分比。
振荡次数:是在阶跃信号作用下,系统在达到指定deta范围下,系统所震荡的总次数。
(3)动态降落:系统稳定运行时,突然加一个扰动量N,在过度过程中引起输出量的最大降落值Cmax称为动态降落。
恢复时间:系统从波动回复到稳态时候所需要的时间。
(4)稳态误差:对单位负反馈系统,当时间t趋于无穷大时,系统对输入信号响应的实际值与期望值(即输入量)之差的极限值,称为稳态误差,它反映系统复现输入信号的(稳态)精度。
3.频域特性(1)频率特性:对于线性系统来说,当输入信号为正弦信号时,稳态时的输出信号是一个与输入信号同频率的正弦信号,不同的只是其幅值与相位,且幅值与相位随输入信号的频率不同而不同。
自动控制理论沈传文pdf
自动控制理论是一门研究物理、化学、生物等实际系统的自动控制原理和方法的学科。
自动控制理论重要的基本概念包括系统、控制器、信号、误差、反馈等。
自动控制理论的核心是控制器的设计,即根据系统的特性和要求选择合适的控制器结构和参数,使得系统能够满足预定的控制要求。
自动控制理论的发展史可以追溯到19世纪中叶。
20世纪初,随着电力系统、飞机、火箭等重要工程的发展,自动控制理论得到了迅速的发展。
到了20世纪50年代,计算机的出现进一步推动了自动控制理论的发展,使得控制系统的精度、稳定性、可靠性等都有了质的飞跃。
沈传文教授是中国自动控制理论的开创者之一。
他的《现代控制理论》一书被誉为中国自动控制理论教材的经典之作。
该书系统地介绍了现代控制理论的主要内容和基本方法,成为了一代代控制工作者的必备读物。
总之,自动控制理论在现代科技中的应用非常广泛,涉及到机电设备、通信、交通运输、航空航天、冶金、化工、生物医药等众多领域。
掌握自动控制理论对于控制工作者来说非常重要,能够提高工程技术水平,实现科学、高效的控制。
自动控制原理简答题要点集团标准化工作小组 #Q8QGGQT-GX8G08Q8-GNQGJ8-MHHGN#三.名词解释47、传递函数:传递函数是指在零初始条件下,系统输出量的拉式变换与系统输入量的拉式变换之比。
48、系统校正:为了使系统达到我们的要求,给系统加入特定的环节,使系统达到我们的要求,这个过程叫系统校正。
49、主导极点:如果系统闭环极点中有一个极点或一对复数极点据虚轴最近且附近没有其他闭环零点,则它在响应中起主导作用称为主导极点。
50、香农定理:要求离散频谱各分量不出现重叠,即要求采样角频率满足如下关系: ωs ≥2ωmax 。
51、状态转移矩阵:()At t e φ=,描述系统从某一初始时刻向任一时刻的转移。
52、峰值时间:系统输出超过稳态值达到第一个峰值所需的时间为峰值时间。
53、动态结构图:把系统中所有环节或元件的传递函数填在系统原理方块图的方块中,并把相应的输入、输出信号分别以拉氏变换来表示,从而得到的传递函数方块图就称为动态结构图。
54、根轨迹的渐近线:当开环极点数 n 大于开环零点数 m 时,系统有n-m 条根轨迹终止于 S 平面的无穷远处,且它们交于实轴上的一点,这 n-m 条根轨迹变化趋向的直线叫做根轨迹的渐近线。
55、脉冲传递函数:零初始条件下,输出离散时间信号的z 变换()C z 与输入离散信号的z 变换()R z 之比,即()()()C z G z R z =。
56、Nyquist 判据(或奈氏判据):当ω由-∞变化到+∞时, Nyquist 曲线(极坐标图)逆时针包围(-1,j0)点的圈数N ,等于系统G(s)H(s)位于s 右半平面的极点数P ,即N=P ,则闭环系统稳定;否则(N ≠P )闭环系统不稳定,且闭环系统位于s 右半平面的极点数Z 为:Z=∣P-N ∣57、程序控制系统: 输入信号是一个已知的函数,系统的控制过程按预定的程序进行,要求被控量能迅速准确地复现输入,这样的自动控制系统称为程序控制系统。
自动控制理论简介自动控制理论是一门研究如何利用自动控制装置对生产过程、物理系统或其他动态过程进行控制的理论。
它是控制工程、系统工程、信息科学等领域的基础,广泛应用于工业、军事、航空航天、交通运输、环境保护等领域。
1. 系统建模:通过建立数学模型来描述系统的动态行为,为分析和设计控制系统提供依据。
2. 控制器设计:根据系统模型和控制目标,设计合适的控制器,以实现对系统的精确控制。
3. 系统稳定性分析:研究系统的稳定性条件,确保系统在受到扰动时能够迅速恢复到稳定状态。
4. 最优控制:在满足一定约束条件下,寻找最优控制策略,使得系统性能达到最佳。
5. 鲁棒控制:研究系统在不确定性因素影响下的稳定性问题,提高系统的抗干扰能力。
8. 分布式控制:研究多个控制器协同工作的问题,实现大规模复杂系统的有效控制。
1. 经典控制理论:20世纪40年代至60年代,主要研究单输入单输出线性系统,采用传递函数、频率响应等方法进行分析和设计。
2. 现代控制理论:20世纪60年代至80年代,主要研究多输入多输出线性系统,采用状态空间方法进行分析和设计。
3. 非线性控制理论:20世纪80年代至今,主要研究非线性系统,采用李雅普诺夫方法、滑模控制等方法进行分析和设计。
4. 复杂系统控制理论:近年来,随着系统复杂性的增加,研究多智能体系统、网络控制系统等复杂系统控制问题。
自动控制理论的发展对人类社会产生了深远的影响,使得许多复杂的工程问题得以解决,提高了生产效率和生活质量。
随着科技的不断进步,自动控制理论将继续发展,为人类社会带来更多的便利和福祉。
自动控制理论简介(续)1. 工业自动化:在制造业中,自动控制理论被用来设计生产线上的、数控机床和其他自动化设备,以提高生产效率和产品质量。
2. 智能家居:自动控制理论被应用于智能家居系统,如智能照明、温度控制和安全监控,以提供更加舒适、安全和节能的生活环境。
3. 医疗设备:自动控制理论被用于设计各种医疗设备,如呼吸机、透析机和胰岛素泵,以帮助医生和护士更有效地治疗患者。
1.控制概念(1)开环控制:开环控制是最简单的一种控制方式。
它的特点是,按照控制信息传递的路径,控制量与被控制量之间只有前向通路而没有反馈通路。
闭环控制:凡是将系统的输出量反送至输入端,对系统的控制作用产生直接的影响,都称为闭环控制系统或反馈控制系统。
复合控制:是开、闭环控制相结合的一种控制方式。
(2)反馈:指将系统的输出返回到输入端并以某种方式改变输入,进而影响系统功能的过程,即将输出量通过恰当的检测装置返回到输入端并与输入量进行比较的过程。
(3)传递函数:在零初始条件下,系统输出信号的拉手变换与输出信号的拉氏变换的比。
(4)被控对象:指需要给以控制的机器、设备或生产过程。
执行机构:一种能提供直线或旋转运动的驱动装置,它利用某种驱动能源并在某种控制信号作用下工作。
(5)线性化:a条件:连续且各阶导数存在 b方法:工作点附近泰勒级数展开。
2.时域指标(1)上升时间tr:响应从终值10%上升到终值90%所需时间;对有振荡系统亦可定义为响应从零第一次上升到终值所需时间。
上升时间是响应速度的度量。
峰值时间tp:响应超过其终值到达第一个峰值所需时间。
调节时间ts:响应到达并保持在终值内所需时间。
(2)超调量σ%:响应的最大偏离量h(tp)与终值h(∞)之差的百分比。
振荡次数:是在阶跃信号作用下,系统在达到指定deta范围下,系统所震荡的总次数。
(3)动态降落:系统稳定运行时,突然加一个扰动量N,在过度过程中引起输出量的最大降落值Cmax称为动态降落。
恢复时间:系统从波动回复到稳态时候所需要的时间。
(4)稳态误差:对单位负反馈系统,当时间t趋于无穷大时,系统对输入信号响应的实际值与期望值(即输入量)之差的极限值,称为稳态误差,它反映系统复现输入信号的(稳态)精度。
3.频域特性(1)频率特性:对于线性系统来说,当输入信号为正弦信号时,稳态时的输出信号是一个与输入信号同频率的正弦信号,不同的只是其幅值与相位,且幅值与相位随输入信号的频率不同而不同。
1.闭环控制系统又称为反馈控制系统。
2.对于最小相位系统一般只要知道系统的开环幅频特性就可以判断其稳定性。
3.一般讲系统的位置误差指输入是阶跃信号所引起的输出位置上的误差。
4.超前校正是由于正相移的作用,使截止频率附近的相位明显上升,从而具有较大的稳定裕度。
5.二阶系统当共轭复数极点位于±45°线上时,对应的阻尼比为0.707。
6.若要求系统的快速性好,则闭环极点应距虚轴越_ 远 _越好。
7.“经典控制理论”的内容是以传递函数为基础的。
8.延迟环节不改变系统的幅频特性,仅使相频特性发生变化。
9.若要全面地评价系统的相对稳定性,需要同时根据相位裕量和幅值裕度来做出判断。
10.输入相同时,系统型次越高,稳态误差越小。
11.若系统的传递函数在右半S平面上没有零点和极点,则该系统称作最小相位系统。
12.反馈控制原理是检测偏差并纠正偏差原理。
13.在扰动作用点与偏差信号之间加上积分环节能使静态误差降为0。
14.超前校正主要是用于改善稳定性和快速性。
15.根据采用的信号处理技术的不同,控制系统分为模拟控制系统和数字控制系统。
16.闭环控制系统中,真正对输出信号起控制作用的是偏差信号。
17.控制系统线性化过程中,线性化的精度和系统变量的偏移程度有关。
18.一般开环频率特性的低频段表征了闭环系统的稳态性能。
19.系统的传递函数的零极点分布决定系统的动态特性。
20.用频率法研究控制系统时,采用的图示法分为极坐标图示法和__对数坐标___ __图示法。
21.乃氏图中当ω等于剪切频率时,相频特性距-π线的相位差叫相位裕度。
22. 单位反馈系统的稳态误差和稳态偏差相同。
23.滞后校正是利用校正后的复制衰减作用使系统稳定的。
24.远离虚轴的闭环极点对瞬态响应的影响很小。
25.自动控制系统最基本的控制方式是反馈控制。
26.控制系统线性化过程中,变量的偏移越小,则线性化的精度越高。
27.传递函数反映了系统内在的固有特性,与输入量无关。
自动控制理论 ___自动控制理论是一门研究自动化系统行为和设计控制策略的学科,具有广泛的应用领域和重要性。
自动控制理论的研究对象是各种自动化系统,包括机械系统、电气系统、化工系统等。
通过研究自动化系统的动态特性和响应,我们可以设计合适的控制策略来实现系统的稳定性、精确性和优化性能。
自动控制理论不仅在工业领域得到广泛应用,也在生活中各种自动化设备和系统中发挥着重要作用。
例如,自动驾驶汽车、智能家居系统、工业生产自动化线等都依赖于自动控制理论的研究成果。
在本文中,我们将详细介绍自动控制理论的重要性和研究对象,探讨其在实际应用中的意义和挑战。
通过深入理解自动控制理论,我们可以应用合适的控制方法来优化系统的性能,提高工作效率和质量,推动技术的进步和创新。
本文探讨自动控制理论的基本原理和主要概念。
自动控制理论是研究如何通过系统的设计和调整,使得系统能够自动地对外界变化做出相应的调节和控制的一门学科。
它是现代科学技术中的重要部分,被广泛应用于工业、交通、航空、航天等领域。
自动控制理论的核心原理是反馈控制。
通过测量系统的输出,并与预定的输入进行比较,然后根据差异来调整系统的行为,以使系统输出与预期目标保持一致。
这种反馈过程是实现自动控制的关键。
在自动控制理论中,有一些重要的概念需要理解。
首先是系统模型,它描述了系统的动态行为和性能。
系统模型可以是数学方程、图表或仿真模拟等形式。
其次是控制器,它是根据系统模型和目标要求设计的,用于调节系统行为的装置或算法。
还有传感器和执行器,它们分别用于测量系统输出和对系统进行控制。
除了基本原理和概念,自动控制理论还涉及许多方法和技术。
例如,经典控制理论包括比例、积分、微分控制等方法。
现代控制理论则包括状态空间方法、最优控制、自适应控制等方法。
不同的方法适用于不同的系统和控制需求。
总之,自动控制理论是一门重要的学科,它提供了对系统进行智能调节和控制的方法和工具。
通过理解自动控制理论的基本原理和主要概念,我们可以更好地设计和优化系统,提高系统的稳定性和性能。
自动控制原理名词解释
自动控制原理(Automatic Control Principle)是指通过感知系
统状态、分析信息并采取相应措施,以调节和控制系统的工作状态和输出。
在自动控制原理中,涉及到以下几个重要的概念:
1. 反馈(Feedback):指系统输出被传递回系统进行比较和调
节的过程。
通过反馈,系统可以根据实际输出与期望输出之间的偏差来调节自身的工作状态,从而使系统更加稳定和准确。
2. 控制器(Controller):是一种用于自动控制系统的装置或
算法,根据输入信号和反馈信息来生成输出信号,以控制系统响应和稳定工作。
常见的控制器包括比例控制器、积分控制器、微分控制器以及它们的组合形式。
3. 传感器(Sensor):用于感知系统输入和输出的物理量或信
号的装置。
通过传感器,系统可以实时获取各种参数的信息来监测系统状态,并作为反馈信号提供给控制器。
4. 执行器(Actuator):用于执行控制器输出信号的装置,将
控制器生成的信号转化为系统的物理行为或操作,对系统状态进行调节和控制。
常见的执行器包括电动机、阀门、液压缸等。
5. 状态变量(State Variable):用于描述系统状态的物理量或
变量。
通过监测和记录状态变量的数值,可以实时了解系统的运行情况,并根据需要进行调控和优化。
常见的状态变量有位置、速度、压力、温度等。
自动控制原理应用于各个领域,包括工业生产、交通运输、环境控制、电力系统、航空航天等。
它可以提高系统的稳定性、精确度和效率,实现自动化操作和优化控制,使得各种工程和技术应用更加可靠和智能化。
自动控制理论名词解释
反馈:指将系统的输出返回到输入端并以某种方式改变输入,进而影响系统功能的过程,即将输出量通过恰当的检测装置返回到输入端并与输入量进行比较的过程。
相频特性:相移角度随频率变化的特性叫相频特性 调整时间Ts :响应曲线达到接近稳态值的±5%(或±2%)之内时所需要的时间,定义为调整时间。
离散控制系统:控制系统在某处或几处传递的信号是脉冲系列或数字形式的在时间上是离散的系统,称为离散控制系统或离散时间控制系统。
最大超调量M p :阶跃响应曲线的最大峰值与稳态值的差与稳态值之比。
上升时间t r :从零时刻首次到达稳态值的时间。
.峰值时间t p :从零时刻到达峰值的时间,即阶跃响应曲线从t=0开始上升到第一个峰值所需要的时间。
. 当ζ>1时,系统有两个不相等的负实根,称为过阻尼状态。
当0<ζ<1时,系统有一对实部为负的共轭复根,称为欠阻尼状态。
当阻尼比ζ=1时,系统的特征根为两相等的负实根,称为临界阻尼状态。
当阻尼比ζ=0时,系统特征根为一对纯虚根,称为无阻尼状态。
主导极点:如果闭环极点离虚轴很远,则它对应的暂态分量衰减得很快,只在响应的起始部分起一点作用,而离虚轴最近的闭环极点(复极点或实极点)对系统瞬态过程性能的影响最大,在整个响应过程中起着主要的决定性作用,我们称它为主导极点。
偶极子:当极点s i 与某零点z j 靠得很近时,它们之间的模值很小,那么该极点的对应系数A i 也就很小,对应暂态分量的幅值亦很小,故该分量对响应的影响可忽略不计。
我们将一对靠得很近的闭环零、极点称为偶极子。
数学模型:描述自动控制系统输入、输出变量以及内部各变量之间关系的数学表达式称为数学模型。
输入节点(又称源点):只有输出支路的节点叫输入节点或源点。
输出节点(又称陷点):只有输入之路的节点叫输出节点,它对应于因变量或输出信号。
混合节点:既有输入支路又有输出支路的节点叫混合节点。
如果通路与任意一个节点相交不多于一次的称为开通路。
如果通路的终点就是通路的起点,并且与任何其他节点相交不多于一次的,则称为闭通路。
闭环零点:闭环传递函数中分子多项式的根称为系统的闭环零点。
稳定性:所谓稳定性,就是指系统在扰动消失后,由初始偏差状态恢复到原来平衡状态的性能。
若系统能恢复到平衡状态,则称系统是稳定的。
根轨迹的渐近线:如果开环零点数m 小于开环极点数n ,则系统的开环
增益∞→*K 时,趋向无穷远处的根轨迹共有(n-m )条,这(n-m )条根轨迹趋向无穷远
处的方位可由渐近线决定。
控制量:控制器的输出信号。
根轨迹实轴上的会合点(或分离点):几条根轨迹在s 平面上相遇后又分开(或分开后又相遇)的点,称为根轨迹的分离点(或会合点)。
前馈控制系统:前馈控制系统直接根据扰动信号进行调节,扰动量是控制的依据,由于它没有被控量的反馈信号,故不形成闭合回路,所以它是一种开环控制系统。
高频渐近线:表示 的高频渐近线为一斜率 的直线。
程序控制系统:这种系统的给定量是按照一定的时间函数变化的,如程序控制机床的程序控制系统的输出量应与给定量的变化规律相同。
最小相位系统:如果系统的开环传递函数在右半s 平面上没有极点和零点,则称为最小相位传递函数。
具有最小相位传递函数的系统,称为最小相位系统。
控制系统的相对稳定性:在工程应用中,由于环境温度的变化、元件的老化以及元件的更换等,会引起系统参数的改变,从而有可能破坏系统的稳定性。
因此在选择元件和确定系统参数时,不仅要考虑系统的稳定性,还要求系统有一定的稳定程度,这就是自动控制系统的相对稳定性问题。
根轨迹的幅角条件:
稳态误差:是指系统达到稳态时,输出量的期望值与稳态值之间的差值。
(由参考输入引
起的稳态误差称为给定值稳态误差,由扰动输入引起的稳态误差,称为扰动稳态误差。
)连续控制系统:当控制系统的传递信号都是时间的连续函数,这种系统称之为连续控制系统。
离散控制系统:控制系统在某处或几处传递的信号是脉冲系列或数字形式的时间上是离散的系统,称之为离散控制系统。
自动控制系统的性能要求:稳定性、快速性和准确性。
传递函数的定义:线性定常系统的传递函数,在零初始条件下,系统输出信号的拉氏变换与输出信号的拉氏变换的比。
信号流图:信号流图是一种表示线性代数方程组变量间关系的图示方法。
信号流图是由节点和支路组成的,每一个节点表示系统的一个变量,而每两个节点之间的连接支路为该两个变量之间信号的传输关系。
非最小相位系统:开环传递函数在右半s平面有一个或多个零极点的系统称为非最小相位系统。
线性系统的可控性:控制作用能否对线性系统所有状态产生影响,从而对系统的状态实现控制,称为线性系统的可控性。
BIBO稳定性:当系统受到外部的有界输入作用时,输出也是有界的,称为有界输入有界输出(BIBO)的稳定性。
渐近稳定性:系统没有输入作用,仅在初始条件作用下,输出能随时间的推延而趋于零(指系统的平衡状态),称为渐近稳定性。
根轨迹:开环传递函数中某一参数(一般为开环增益K)由0变化到∞时,其闭环特征根在s平面上的变化轨迹。
根轨迹法:根据已知系统的开环传递函数的零点和极点,研究系统参数变化的闭环极点在根平面上变化的轨迹,从而进一步分析闭环极点位置的变化对系统动态性能的影响。
状态变量:状态变量是指能确定系统运动状态的最少数目的一组变量。
自动控制:应用制动控制装置自动的、有目的控制或调节机器设备或生产过程,使之按照期望的性能指标运行。
相位交界频率:相频特性为—180度时所对应的频率值。
线性系统:状态变量和输出变量对于所有可能的输入变量和初始状态都满足叠加原理的系统。
一个由线性元部件所组成的系统必是线性系统。
可观测性:给定控制后,能在有限的时间间隔内根据系统输出惟一地确定系统的所有起始状态,则系统是完全可观。
如果只
能确定部分起始状态,则系统不完全可观。
可控制性:当系统用状态方程描述时,给定系统的任意初始状态,可以找到容许的输入量,在有限的时间之内把系统的所有状态引向状态空间的原点(即零状态)。
则系统是完全可控制的。
如果只有对部分状态变量可以做到这一点,则系统不完全可控制。
输入输出描述:状态空间描述与经典控制理论的传递函数描述的最大不同点在于传递函数描述是对系统的外部描述,又称之为输入输出描述。