现场签证审批流程图及表单(模板格式)
- 格式:doc
- 大小:262.50 KB
- 文档页数:3
1目的1.1加强现场变更签证管理,规工作指引,有效地控制成本,提高变更签证审批效率。
在施工过程中,对超出合同围或超出施工图纸外的工程量或工作量增减进行记录、确认、审核,形成书面记录,为办理补充预算、工程付款、工程结算提供依据。
2术语和定义2.1现场签证:是指按承发包合同约定,对施工管理中发生的零星事件的确认,一般由承发包双方代表就施工过程中涉与合同价款之外的责任事件所作的签认证明。
在这里特指除设计变更与工期延期、停工窝工索赔(非施工方原因)引起的经济签证外,所有与施工现场有关的工程经济签证。
2.2现场签证结算:凡是以《签证申请单》或《工程指令单》进行的结算均属于现场签证结算。
2.3重大施工方案:是指具有危险性较大的方案。
包括但不限于:1)挖深度>5M的土方开挖工程以与基坑支护和降水工程;2)模板支撑高度≥8M或跨度>18M或施工总荷载>15KN/M2的高大模板工程;3)起重吊装工程、脚手架工程、拆除爆破工程、幕墙安装工程;4)30M以上高空作业。
3适用围3.1适用于公司所有工程项目的现场签证发起、审批、施工后现场确认的管理。
4关键活动描述4.1现场签证和类型4.1.1现场签证的主要类型:1)因设计变更导致已施工的部位需要拆除(需注明设计变更编号)。
2)现场需要:由于施工条件变化、地下状况(土质、地下水、构筑物与管线等)变化;合同补充与合同规定需实测工程量的工作项目;红线外施工道路的修补(红线的施工道路修补宜在合同中包干)等。
3)材料设备品牌变更。
4)营销需要:配合策划和销售要求或赶工措施导致的工程量增减。
5)甲方要求:由公司提出,或因工程管理失误引起的工程量增减。
6)施工合同外的零星工程的确认。
7)其它:政府要求以与其它原因。
4.2现场签证的成本管理原则4.2.1一单一算一编号一对应原则:即一个现场签证单对应编制一份预算一个编号,且对应一个工程合同。
如果容简单,也可以一份预算对应多个签证单,但该预算书容应根据不同签证容分别列项。
备注:单笔变更金额不超过10万元或累计变更在原合同价2%以下的,由建设单位审批;单笔签证金额在10万元以上100万元以下或累计变更在原合同价2%-10%的报区房产办重点工程领导小组审批;现场签证单
备注:单笔变更金额不超过10万元或累计变更在原合同价2%以下的,由建设单位审批;单笔签证金额在10万元以上100万元以下或累计变更在原合同价2%-10%的报区房产办重点工程领导小组审批;现场签证单签字盖章后方可有效,一式两份。
备注:单笔变更金额不超过10万元或累计变更在原合同价2%以下的,由建设单位审批;单笔签证金额在
备注:单笔变更金额不超过10万元或累计变更在原合同价2%以下的,由建设单位审批;单笔签证金额在
备注:单笔变更金额不超过10万元或累计变更在原合同价2%以下的,由建设单位审批;单笔签证金额在10万元以上100万元以下或累计变更在原合同价2%-10%的报区房产办重点工程领导小组审批;现场签证单签字盖章后方可有效,一式两份。
编号:JFDC-GC-OP02版号:A/0页码:第1页共 11 页工程现场签证管理流程编制日期审核日期批准日期修订记录日期修订状态修改内容修改人审核人批准人工程现场签证管理流程签证审核签证执行签证统计分析工程现场签证管理流程编号:JFDC-GC-OP02版号:A/0 页码:第 2 页 共 11 页工程现场签证管理流程施工单位监理单位工程部成本合约部项目公司管理层总部工程管理 中心成本线总部管理层支持性文件提出现场签 证申请审核按权限审 核审批审核权限审核 审批审核权限审核 审批现场签证记录单现场签证审批表按签证内容 执行督导执行情况核实结果登记并下发签 证通知相关施 工和监理单位过程 Y 复核监督完成情况权限审核审批复核审批现场签证记录单现场签证审批表监理、施工单位需分别 提交,内容包括已审 批、未审批签证每月提交签 证汇总审核签证月度封 存签证统计分 析报备月度签证汇总表现场签证审批表工程竣工结算 管理作业指引页码:第3页共 11 页1目的1.1加强现场变更签证管理,规范工作指引,有效地控制成本,提高变更签证审批效率。
在施工过程中,对超出合同范围或超出施工图纸外的工程量或工作量增减进行记录、确认、审核,形成书面记录,为办理补充预算、工程付款、工程结算提供依据。
2术语和定义2.1现场签证:是指按承发包合同约定,对施工管理中发生的零星事件的确认,一般由承发包双方代表就施工过程中涉及合同价款之外的责任事件所作的签认证明。
在这里特指除设计变更及工期延期、停工窝工索赔(非施工方原因)引起的经济签证外,所有与施工现场有关的工程经济签证。
2.2现场签证结算:凡是以《签证申请单》或《工程指令单》进行的结算均属于现场签证结算。
2.3重大施工方案:是指具有危险性较大的方案。
包括但不限于:1) 挖深度>5M 的土方开挖工程以及基坑支护和降水工程;2) 模板支撑高度≥8M或跨度>18M 或施工总荷载>15KN/M2 的高大模板工程;3) 起重吊装工程、脚手架工程、拆除爆破工程、幕墙安装工程;4) 30M 以上高空作业。
现场签证流程图签证是一个国家的主权机关在本国或外国公民所持的护照或其他旅行证件上的签注、盖印,以表示允许其出入本国国境或者经过国境的手续,也可以说是颁发给他们的一项签注式的证明。
签证是一个主权国家实施出入本国国境管理的一项重要手段。
各国签证的种类多式多样,但主要有办理一次有效签证、两次和多次有效签证等。
办理外国签证,无论是中国人办理外国签证,还是外国人办理其他国家签证,一般需要经过下列几个程序:递交与申请事由相关的各种证件,例如有关自己出生、婚姻状况、学历、工作经历等的证明。
填写并递交签证申请表格。
签证不同,表格也不同,多数要用外文填写、同时提供本人照片。
前往国驻该国大使馆或领事馆官员会见。
有的国家规定,凡移民申请者必须面谈后,才能决定;也有的国家规定,申请非移民签证也必须面谈。
大使馆或者领事馆,将填妥的各种签证申请表格和必要的证明材料,呈报国内主管部属门审查批准。
有少数国家的使领馆有权直接发给签证,但仍须转报国内备案。
前往国家的主管部门进行必要的审核后,将审批意见通知驻该国使领馆。
如果同意,即发给签证。
如果拒绝,也会通知申请者。
(对于拒签,使领馆方面也是不退签证费的)缴纳签证费用。
一般来说,递交签证申请的时候就要先缴纳费用,也有个别国家是签证申请成功的时候才收取费用。
一般而言,移民签证费用略高,非移民签证费用略低。
也有些国家和地区的签证是免费的。
现场签证需要本人带齐护照及相关证明材料去目的地国家或地区的相关部门进行申请,填写准确的签证表格并提交相关材料,缴纳相应的签证费用后等待审批结果。
在建筑工程行业中,钻孔灌注桩现场签证表是一个重要的专业工具,它用于记录和确认现场施工过程中的各种变更和额外工作。
这张表不仅提供了对实际施工过程的具体描述,也提供了对工程量和相关价格的准确记录,从而为项目的成本管理和质量控制提供了重要的依据。
钻孔灌注桩现场签证表通常由以下几个主要部分构成:施工记录:详细记录了施工的时间、地点、参与者、设备、材料等信息。
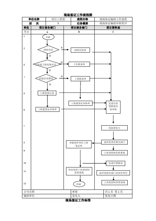
施工现场签证流程一、目的:为规范现场签证的工作程序和审批流程,确保现场签证的有效性、合理性,满足工程的质量、成本和进度等要求,对合同和施工图外的工程成本进行有效控制。
二、适用范围:适用于本公司项目建设全过程的现场签证。
三、现场签证操作要求(一)、根据市场、设计、现场进度、政府配套专业局要求等进行设计变更、调整或增加,向建设单位工程部发出工作确认单、设计变更要求,或工程根据现场情况进行设计变更或调整而向施工方发出工作指令,同时应抄送工程监理。
所有设计变更均必须根据公司设计变更流程执行。
(二)、施工单位根据建设单位工程部的指令或现场需要,填写《现场签证单》详细说明原因并附建设单位工程部指令单、图纸、施工方案、必须明确完成日期及对工期的影响,以及工程量计算估价书。
(三)、签证资料交工程监理审核后,由建设单位工程部依据合同、技术资料、现场实际情况判断是否属于签证范围,若属于签证范围则由建设单位工程部组织监理单位、施工单位人员到现场测算并签证预计发生的工程量,由施工方根据新测算的工程量重新估价后,作为结算资料备案。
(四)、预算员审核估价后报送建设单位工程部总工程师,由建设单位工程部门总工程师判断是否应给予签证,签证金额大于 1万元的应与公司总经理沟通,会签。
(五)、完成审批后,《现场签证审批单》原件及签证的相关资料的复印件保留在资料档案员处,并下发执行。
(六)、建设单位工程部主办人将审批完的《现场签证单》下发到施工单位后实施,实施过程中建设单位工程部应有监理及现场工程师根据签证内容及签账实施方案监督跟进签证执行情况,若发现偏差应及时要求施工方调整。
(七)、实施后由施工单位附上工程量计算书、相关的图纸、设计变更及剖面图等资料(对土方签证、因设计变更引起的返工签证及其它隐蔽工程签证须附上现场照片)报现场监理工程师及总监审批后再报我方建设单位工程部。
(八)、建设单位工程部必须在施工单位完成签证工作内容后三个工作日内组织建设单位工程部、监理单位、施工单位相关人员在现场进行工程量的复核,并要求施工单位和监理单位在《现场签证单》上签字确认后报送建设单位工程部,建设单位工程部须在三个工作日内审核完成。