五金车间制程检验流程图
- 格式:docx
- 大小:151.75 KB
- 文档页数:3
制程检验作业流程流程图1.0目的为保证产品在生产制程中得到有效检验作业,控制制程品质,降低制程返工、报废,提升产品合格率,提高不良出来的时效性,特制定本作业流程。
2.0 范围适用于(备料车间、白身车间、油漆车间、包装车间)生产过程中的检验与控制及不良品处理。
3.0 职责3.1 PMC部:计划课负责生产指令的下达,参与生产异常处理;仓务课负责完成不良品的回仓分类保管、标识确认及不良品退料的督促工作。
3.2 各生产车间:负责制程产品材料确认,首件产品品质确认及生产过程中的自检、互检工作。
反馈、参与生产异常处理;3.3品管部:首件产品确认及生产过程中的巡检、完工后检验,反馈、主导或参与品质异常处理工作,并对数据记录保存、统计、分析、改善,持续改善;3.4 相关部门:主导或参与品质异常处理及异常分析工作。
4.0 作业程序4.1 PMC部下发《生产日计划》给各生产车间主管,各生产车间主管根据《生产日计划》,组织安排操作工做好生产前的准备工作;4.2 各车间组长、技术员准备工装夹具、测量量具、签样等,按样品或产品工程作业标准书等准备物料进行生产。
备料、白身、总装车间:工装夹具、测量量具、签样、作业指导书、图纸、模具等。
油漆车间:色板、签样、作业指导书、图纸等。
包装车间: 签样、作业指导书、图纸、产品包装示意图、模具等。
4.3组长、技术员对首件先自检,合格报制程检验员对首件进行检验,详细参考《首件检验控制卡》。
4.4制程检验员全检或按规定频次(正常情况下每天不少于6次)及工艺图纸等要求巡检各工序制程品质状况,巡检要有相关侧重点,填写巡检记录,若不符图纸和工艺要求,则知会操作员异常状况;当生产操作工自检发现不良现象时及时隔离和标识;当产生不良品超标时,发现人即时通知本组组长到现场确认,组长到现场确认后,按《生产异常提报控制卡》进行操作,必要时组长填写《品质异常报告和处理单》交责任单位处理(来料引起的不良交品管部处理;制程引起的不良交本部车间主管处理)。
五金产品检验一般流程下载温馨提示:该文档是我店铺精心编制而成,希望大家下载以后,能够帮助大家解决实际的问题。
文档下载后可定制随意修改,请根据实际需要进行相应的调整和使用,谢谢!并且,本店铺为大家提供各种各样类型的实用资料,如教育随笔、日记赏析、句子摘抄、古诗大全、经典美文、话题作文、工作总结、词语解析、文案摘录、其他资料等等,如想了解不同资料格式和写法,敬请关注!Download tips: This document is carefully compiled by theeditor. I hope that after you download them,they can help yousolve practical problems. The document can be customized andmodified after downloading,please adjust and use it according toactual needs, thank you!In addition, our shop provides you with various types ofpractical materials,such as educational essays, diaryappreciation,sentence excerpts,ancient poems,classicarticles,topic composition,work summary,word parsing,copy excerpts,other materials and so on,want to know different data formats andwriting methods,please pay attention!五金产品检验是确保产品质量的重要环节,下面是一般的五金产品检验流程:1. 接收检验:当五金产品从生产线出来后,首先需要进行接收检验。
WORD 格式可编辑文件编号:流程名称来料质量控制流程图涉及部门采购部、工程部、仓库、装配车间、五金车间、供应商责任部门品质部编制审批专业知识整理分享WORD 格式可编辑仓管员通知检验IQC检验根据检验作业指导书吕质主管记录审核合格不合格IQC 递交检验报告递交检验报告仓管员入仓特采退货可用数挑选使用不能使用生产车间品质部分析不合格原因来料问题结构问题采购部品质部与供应商交涉与工程部商讨品质部工程部供应商确定改进方法确定改进方法工程部品质部跟踪改进效果NO材料送检单IQC检验报告IQC检验报告退仓单退仓单质量反馈通知单IQC检验报告单质量反馈通知单质量反馈通知单品质部制定预防措施记录存档质量反馈通知单注1:斜体加方框字—在流程中指责任部门或人员。
专业知识整理分享WORD 格式可编辑注2:虚线方框字—在流程中指接口的载体表单。
注3:方框字—在流程中指过程活动。
第1页共1页专业知识整理分享WORD 格式可编辑文件编号:流程名称装配制程质量控制流程图涉及部门采购部、工程部责任部门品质部、装配车间编制审核装配车间生产通知生产计划表仓库合格来料特采需挑选来料装配员工根据生产作业指导书装配员工生产自检根据QC 生产线全检检验作业指导书QC QC检验记录表合格不合格箭头标标识隔离处理装配员工成品包装参照不合格品控制流程图仪器点检进仓巡检PQC 通知品质主管PQC巡拉记录表QC 生产异常质量反馈通知单品质部OK质量纠正及预防责任部门质量反馈通知单参照质量纠正及预防措施控制流程图参照不合格品控制流程图专业知识整理分享WORD 格式可编辑备注:注1:斜体加方框字—在流程中指责任部门或人员。
注2:虚线方框字—在流程中指接口的载体表单。
注3:方框字—在流程中指过程活动。
专业知识整理分享WORD 格式可编辑文件编号:流程名称出货质量控制流程图涉及部门采购部、工程部、仓库、生产车间责任部门品质部编制审核QC QC检验合格成品包装成品装配员工刊号QA 抽检根据出货检验作业指导书QA检查报告仪器点检合格不合格品质主管QA检查报告质量反馈通知单质量纠正及预防品质主管审核参照质量纠正及预防措施控制流程图生产车间入仓参照不合格品控制流程图仓库进仓单QA检查报告仓库出货客户验货QA验货记录合格不合格品质部质量纠正及预防质量反馈通知单责任部门参照质量纠正及预防措施控制流程图参照不合格品控制流程图专业知识整理分享WORD 格式可编辑备注:注1:斜体加方框字—在流程中指责任部门或人员。
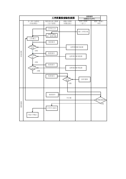
工序质量检查验收制度1、作业班组自检(自检)作业班组施工要严格按工艺要求进行操作,一道工序完成在进入下道工序前,该班组应对照规范、标准和施工质量样板进行自检并做出自检记录。
每道工序完成后,专业工程师组织作业班组进行自检,技术工程师指导,质量工程师监督。
2、工序间互检(互检)在同类工序(含班次交接形成的工序)间进行,以消除品质变异的产生。
自检合格后,专业工程师组织作业班组进行互检,技术工程师指导,质量工程师监督,作业班组长做出互检记录。
3、上下工序交接检(交接检)工序自(互)检合格后,上下工序应进行交接检查,交接检查包括工程质量、工艺情况、工序完成后的清理和成品保护等内容。
(1)专业内交接在同一专业内(如土建、安装、装饰等)进行,经交接双方共同检查,达到质量标准后,由交接双方的作业班组长签字确认。
专业工程师组织作业班组进行交接检查,技术工程师指导,质量工程师监督,专业工程师做出交接检查记录。
(2)专业间交接在不同专业间(如土建与安装之间、土建与装饰之间、安装与装饰之间等)进行,经交接双方共同检查,达到质量标准后,由交接双方的现场负责人签字确认。
总包项目生产经理组织进行交接检查,项目总工指导,项目质量总监监督,专业工程师做出交接检查记录。
4、专职检查(专检)(1)专业内专检工序交接检查合格后,总包专业工程师组织工序质量专检,项目质量总监进行质量检查验收,项目总工组织技术复核。
质量工程师做出专检记录。
(1)专业间专检工序交接检查合格后,总包生产经理组织工序质量专检,项目质量总监进行质量检查验收,项目总工组织技术复核。
质量工程师做出专检记录。
5、监理检查验收专职检查合格后,总包项目总工组织监理工程师进行质量验收,项目技术工程师、质量工程师、专业工程师及分(承)包单位现场负责人参与。
质量工程师做出专检记录。