目标成本管理流程图
- 格式:ppt
- 大小:88.50 KB
- 文档页数:2
目标成本管理流程目标成本(直接成本)管理流程和指引编制日期审核日期批准日期1.概况 1.1.定义和范围 1.1.1目标成本(工程类直接成本):对应保集集团成本科目一至六,包括土地获得费用、前期工程费、建安工程费、基础设施费、配套设施费和其他开发成本。
1.1.2 设计限额是目标成本组成内容,同时也是设计条线和设计院《设计任务书》的成本控制标准。
内控和外控设计限额的指标应统一。
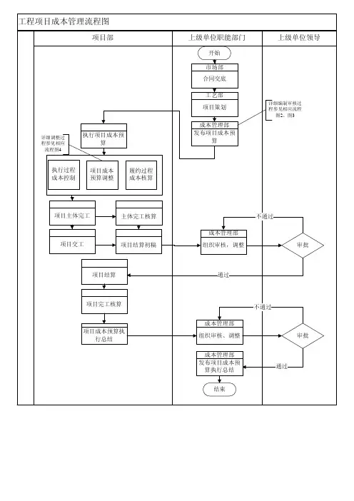
1.2.流程部门主导部门:地产集团成本合约部参与部门:财务条线、设计条线、工程条线、营销条线2.职责 2.1.地产财务管理部 / 财务部牵头项目预算和总成本编制;2.2.地产成本合约部2.2.1牵头各阶段目标成本(工程类直接成本)工作;1)城市公司/项目公司成本部未成立前,集团负责可研/土地阶段目标成本(直接成本)编制;2)审核各阶段目标成本(工程类直接成本),包括扩初阶段、方案阶段和施工图阶段;2.2.2审核方案/扩初阶段设计限额;施工图设计限额备案;2.3.成本部1)负责编制可研、土地、方案、扩初、施工图目标成本(工程类直接成本);2)负责编制方案、扩初、施工图设计限额;3)监督目标成本(工程类)执行情况。
组织将目标成本(工程类)分解到各责任部门。
2.4.设计管理部、设计部1)负责勘察设计类费用管理;2)提供规划指标、设计标准。
3)执行部门责任成本。
2.5.工程部1)负责报批报建类费用管理。
2)执行部门责任成本。
2.6.营销部1)负责售楼处、样板房装修定位和软装管理。
2)执行部门责任成本。
3.工作程序 3.1.成本管理总体思路 3.1.1.以统一成本科目为前提,以目标成本管理为主线,以成本动态监控为重点,以成本经验数据库建设为支撑,以构建专业有效的成本管理体系为目标,提高公司成本管控能力。
3.1.2.各城市公司/项目公司在成本管理的全过程中应严格执行统一成本科目,不得自行增加或删改一至三级科目。
确需修改时,经与集团成本合约部沟通确定后执行。
1.1预算收入1编制项目预算
临建工程
正式工程(地下)
正式工程(地上)
1.2预算成本其它直接费成本
间接费用:4月底
2.1目标收入2确定目标责任成本
2.2目标责任成本
3.1收入计划3编制成本计划 3.2成本计划由合约部提供部门收入、分部分项收入(根据需要编制),成本核算部审核并汇总编制项目预算收入由合约部根据预算收入及预测可能发生的索赔变更信息,提供各部门目标收入,其它部门配合,成本核算部审核并汇总编制项目目标收入由成本核算部牵头组织,合约部、工程部、技术部等部门参与,共同分析确定各部门和项目目标成本由合约部根据预算收入、目标收入,提供各部门收入计划,其它部门配合,成本核算部审核并汇总编制项目收入计划
由成本核算部牵头组织,合约部、工程部、技术部、计划部等部门参与,共同分析确定各部门和项目成本计划***项目成本管理流程图
(成本核算部牵头组织、审核各部门预算成本、汇总编制项目预算成本)
***项目成本管理流程图
4.1
支出前成本控制
4成本控制和成本分析 4.2过程成本控制 4.3.14.3成本分析 4.3.2
由各预算部门分别执行,成本核算部监督并提出合理化建议
成
本分
析数据整理(各项重大支出须由成本核算部进行过程跟踪并审核)
***项目成本管理流程图
6.1过程考核预算成本、目标责任成本、实际成本、成本分析、预算成本降低(超支)额5成本考核
6.2最终考核预算成本、目标责任成本、实际成本、成本分析、预算成本降低(超支)额5.1确定最终预算成本6最终预算审核 5.2编制最终实际成本报告
5.3编制预算执行情况总结报告、预算管理措施总结报告考核依据。
目标成本管理流程编制__________ 日期__________审核__________ 日期__________批准__________ 日期__________修订记录1目的规范集团成本管理流程和管理标准,明确成本管理职责,实现成本可控性,提升集团成本管理水平。
2适用范围适用于集团及下属的所有一线地产公司项目目标成本管理工作。
3术语与定义3.1一线公司:地产项目公司,下同。
3.2目标成本:是公司基于市场状况,结合公司经营计划,根据项目预期售价和目标利润进行预先确定的,经过努力所要实现的项目成本指标。
应体现公司“以经济合理最大化,提升产品竞争力,形成行业成本优势”的成本管理宗旨。
3.3各阶段成本定义3.3.1成本测算(土地版):项目拓展阶段的成本预测表。
3.3.2成本测算(定位版):项目概念性设计阶段编制的成本预测表。
3.3.3成本测算(方案版):项目方案设计阶段编制的成本预测表。
3.3.4目标成本:项目方案深化设计(或扩初设计)阶段编制的成本预测表,作为一线公司的考核目标下达。
3.3.5合约规划:扩初阶段及施工图设计阶段编制的以合同为单位的项目实施性成本表。
3.4管理原则3.4.1在项目的可行性研究、市场定位阶段,测算各项成本;在规划设计阶段,分解成本控制目标,实行全过程目标成本管理。
3.4.2目标成本编制过程中,土地类成本数据由经营部门提供,设计类成本数据由设计部门提供,报批报建类成本数据由相关部门提供,物业管理类成本数据由商业管理部门提供,营销类成本数据由营销部门提供,财务及管理费用类成本数据由财务部门提供,其余数据由成本管理部测算,成本管理部汇总上述数据编制完成各阶段目标成本。
3.4.3收益指标最大化原则:成本测算(土地版)收益指标≤成本测算(定位版)收益指标≤成本测算(方案版)收益指标≤目标成本收益指标。
3.4.4各阶段目标成本的编制时间要求:成本测算(土地版)在项目初步定位确定后7个日历天内,目标成本(定位/方案版)在概念设计/方案设计确定后15个日历天内,目标成本在方案深化设计(扩初设计)确定后20个日历天内,两个阶段的合约规划分别在方案深化设计(扩初设计)确定后20个日历天内和施工图设计确定后15个日历天内。
市场开发阶段
风险评估
议
招
标
投
标
评
文
审
件
评
审
招议标、成本预测 中标或承接到工程
~1~
全面成本管理流程图
全面成本管理流程
预(结)算管理手册
合同签约阶段
起草合同
合
合
同
同
评
谈
审
判
指定 项目 班子
竞标 项目 班子
签订合同 合同交底
施工准备阶段
签订项目目标责任状 编制标后预算
及施工组织设计
编制成本策划书
编制成本实施方案 落实责任制
项目实施阶段
整改
人、材、机及专业
计
分包工程招议标
分
划
析
起草衍生合同
衍生合同评审
及谈判
成
本
签订衍生合同
考
核
合 衍生 施工 节点
同 合同 合同 成本
交 履约 履约 实施
底 管理
管理
方案
核
控
竣工
资料
算
制
结算
归档
。
成本管理的内容流程图下载温馨提示:该文档是我店铺精心编制而成,希望大家下载以后,能够帮助大家解决实际的问题。
文档下载后可定制随意修改,请根据实际需要进行相应的调整和使用,谢谢!并且,本店铺为大家提供各种各样类型的实用资料,如教育随笔、日记赏析、句子摘抄、古诗大全、经典美文、话题作文、工作总结、词语解析、文案摘录、其他资料等等,如想了解不同资料格式和写法,敬请关注!Download tips: This document is carefully compiled by theeditor. I hope that after you download them,they can help yousolve practical problems. The document can be customized andmodified after downloading,please adjust and use it according toactual needs, thank you!In addition, our shop provides you with various types ofpractical materials,such as educational essays, diaryappreciation,sentence excerpts,ancient poems,classic articles,topic composition,work summary,word parsing,copy excerpts,other materials and so on,want to know different data formats andwriting methods,please pay attention!1. 成本预测确定成本预测的目标和范围。
收集相关数据,包括历史成本数据、市场价格、生产工艺等。