成本管理流程DOC
- 格式:pdf
- 大小:182.98 KB
- 文档页数:15
成本核算管理办法及流程在公司推行精细化管理年,实施“低成本,零缺陷,精细化管理”的指导思想下,项目部就如何加强成本核算做以下具体要求,往各相关部门密切配合,遵照执行,将我项目部成本管理工作推向一个新的高度。
根据公司文件对项目部合同签订和管理的要求,做好项目部合同管理工作是加强成本控制的重要手段,在项目部工作实践中,运用分包合同加强成本控制,主要采用了以下几个措施:1、选择协作队伍.协作队伍全部从公司合格分包商名录中挑选,针对工程的需要,选择有经验有能力的分包队伍进场施工。
2、分解分包项目。
在施工过程中,可进行分包的项目很多,但项目部为保证施工质量,主要工程项目和工程质量要求高的均不分包,而是由技术干部和班组带领分包队伍自行完成。
另外,按铁道部有关要求,不允许工程分包,故不能采取包工包料的模式,只能采取划分工区和包清工的模式,在分包时, 工程使用的主要材料均由项目部自行采购,如水泥、钢筋等。
3、测算分包单价.现在大多数的分包项目均采用固定单价形式,单价是合同中最重要的因素,也是发承包双方的一个焦点,如何把单价确定在一个合理的位置上,就成为合同订立的重点。
单价的确定既应反映实际工效,又能满足质量要求,还要不能伤害协作队伍的劳动积极性。
现在比较多的单价确定方式是降百分比的方式,而劳务分包和包工部分包料主要通过工效水平确定分包单价.项目部分包单价一般采用综合单价,首先依据定额计算出内部预算中的成本控制指标,其次对分包队伍的工效进行测算,综合工期和质量的要求,确定一个初步分包单价。
最后由材料科、工程科、经营人员及主管项目领导确定。
对于一些业主工期要求紧质量要求高的项目,为保证工期和质量,在测算的分包单价的基础上也会适当增强对分包队伍施工积极性的刺激作用。
另外,在分包单价的确定过程中,相类似项目价格和以往相同项目价格可作为参考. 4、分包合同其他内容的确定.分包合同是发承包双方做出行为的根本依据,在施工中,一旦出现纠纷或争议,就要依据合同条款来进行约束.合同一经签订,便具有法律效力。
成本管理操作手册(标准版)1.引言成本管理是企业运营过程中至关重要的一环,对企业的发展和盈利能力具有重要影响。
本手册旨在为我国企业提供一套标准化的成本管理操作流程和方法,以帮助企业更好地控制成本,提高效益。
2.成本管理的基本概念2.1成本分类成本按照经济性质可分为直接成本和间接成本。
直接成本是指与产品或服务直接相关的成本,如原材料、人工等;间接成本是指与产品或服务无直接关系,但为企业运营所必需的成本,如管理费用、销售费用等。
2.2成本控制成本控制是指通过计划、组织、协调和监督等手段,对成本进行有效管理,确保成本在预算范围内。
成本控制的主要目标是降低成本、提高效率、增加利润。
3.成本管理操作流程3.1成本预测成本预测是根据企业发展战略和市场需求,对未来的成本水平进行预测。
成本预测的准确性对成本控制和决策具有重要意义。
企业应结合历史数据、市场趋势和行业特点,运用科学方法进行成本预测。
3.2成本计划成本计划是根据成本预测结果,对企业未来一定时期内的成本水平进行规划。
成本计划应包括成本目标、成本结构和成本分配等内容。
企业应根据实际情况,制定切实可行的成本计划,确保成本目标的实现。
3.3成本核算成本核算是对企业生产过程中发生的各项成本进行计算、归集和分配的过程。
成本核算的准确性对成本控制和决策具有重要影响。
企业应建立健全成本核算制度,规范成本核算流程,提高成本核算质量。
3.4成本分析成本分析是对成本核算结果进行分析,找出成本波动的原因,为成本控制和决策提供依据。
成本分析应包括成本结构分析、成本效益分析等内容。
企业应定期进行成本分析,发现问题及时调整成本控制策略。
3.5成本控制与考核成本控制与考核是对成本计划执行情况进行监督、检查和评价的过程。
企业应建立健全成本控制与考核制度,明确责任,落实奖惩,确保成本控制目标的实现。
4.成本管理方法与工具4.1标准成本法标准成本法是一种以预先设定的标准成本为基础,对实际成本进行控制的方法。
产品成本管理流程一、成本核算1.确定核算对象:首先确定要核算的产品或服务的范围,包括直接成本和间接成本。
2.收集成本数据:收集生产所需的全部成本数据,包括原材料成本、人工成本、制造费用、管理费用和销售费用等。
3.分配成本:将收集到的成本数据按照相关规定进行分配,直接成本直接分配到产品上,间接成本通过适当的分配基数分配到产品上。
4.计算产品成本:根据已经分配的成本数据,计算出每个产品的成本。
通常包括生产成本、销售成本和管理费用等。
5.实施成本核算:对核算结果进行检查和审查,确保数据的准确性和可靠性。
二、成本控制1.设定成本标准:基于历史数据和行业平均水平,设定产品成本的标准。
标准成本是参照存在的生产技术和管理水平,根据产品特性、规模、市场竞争等因素制定的。
2.监控成本变动:定期监控实际成本与标准成本之间的差异,分析出现差异的原因,并采取相应的措施加以调整。
3.成本控制措施:针对成本控制过程中存在的问题和短板,不断加强管理,完善制度,提高生产效率和成本控制水平。
4.审计成本控制:通过内部审计和外部审计对成本控制的有效性进行评估,定期进行成本控制效果的评价。
三、成本分析1.分析成本构成:对产品成本中各个部分进行详细分析,找出影响产品成本的主要因素。
2.成本弹性分析:对产品成本的弹性进行评估,分析各项成本对产品成本的影响程度,找出成本弹性较大的部分,进行成本优化和控制。
3.提高成本效益:通过成本分析,找出降低成本、提高效益的途径和方法,推动企业降本增效。
4.制定成本计划:根据成本分析的结果,制定下一阶段的成本控制和管理计划,确保企业的成本管理工作能够持续改进和完善。
以上就是产品成本管理的流程,企业需要通过强化成本核算、成本控制和成本分析等环节,不断提升产品成本管理的水平,实现生产效率的提高和成本的降低。
只有管理好产品成本,企业才能在激烈的竞争中立于不败之地,实现可持续发展。
项目成本管理流程图1. 概述项目成本管理是指在整个项目生命周期内,根据项目计划和预算执行和控制项目成本的过程。
成本管理流程主要包括四个方面:成本估算、成本预算、成本控制和成本核算。
2. 流程图示具体的项目成本管理流程如下:st=>start: 开始e=>end: 结束op1=>operation: 成本估算op2=>operation: 成本预算op3=>operation: 成本控制op4=>operation: 成本核算cond1=>condition: 成本估算结果合理?cond2=>condition: 成本预算是否得到批准?cond3=>condition: 成本控制是否执行到位?cond4=>condition: 成本核算是否符合要求?st->op1->cond1cond1(no)->op1cond1(yes)->op2op2->cond2cond2(no)->op2cond2(yes)->op3op3->cond3cond3(no)->op3cond3(yes)->op4op4->cond4cond4(no)->op4cond4(yes)->e3. 流程步骤3.1 成本估算成本估算是指预测项目实施过程或完成后的成本。
主要包括以下步骤:1.确定项目的目标和范围2.收集数据分析已完成的类似项目、市场价格等有关信息3.选择合适的估算技术,如类比估算、参数估算等4.分析、计算并估算项目成本3.2 成本预算成本预算是指在项目计划和范围的基础上制定的全面、结构化的预算。
主要包括以下步骤:1.根据项目目标和范围制定义务性预算和控制性预算2.完善成本收集、控制和报告机制3.将预算与项目计划和进度相结合,形成综合计划4.进行静态和动态的分析和比较,确定预算合理性3.3 成本控制成本控制是指根据预算计划,及时监控和审查项目成本执行情况,及时发现和处理成本超支问题。
1目的为规范工程结算阶段成本管理工作, 提高工程结算工作的效率, 合理地确定和有效地控制工程造价。
2适用范围适用于华润置地有限公司下属独资、控股或具经营权合资公司开发的地产项目及华润集团孵化的地产开发项目结算阶段成本管理工作。
3编制依据依据《华润置地开发成本管理制度》编制。
4术语及定义工程结算: 指工程竣工, 物资采购完毕, 顾问合同履约完成, 并经验收合格后, 承包方和发包方根据双方已签订的合同、竣工图纸、往来文件、变更签证等所有与工程造价相关的资料, 进行对合同价款的增减计算并确认最终的工程价款。
工程结算的完成以承发包双方签订《结算书》为标志。
工程结算书: 指工程、采购完工并验收合格后, 根据已签订的施工/采购合同、竣工图纸、工程/设计变更、现场签证及其他洽商等资料编制的最终工程造价文件。
5关键工作流程6关键活动描述6.1结算计划编制6.2项目部确定提供工程合同履约验收报告及完整合同结算资料的时间, 合约管理部(或合约主责部门, 下同)确定合同结算的完成时间。
合约管理部完成《结算计划》编制后报相关部门审核, 报合约分管领导审批。
6.3结算资料收集1.合约管理部将经审批通过的《结算计划》下发给项目部及设计管理部, 各相关部门按计划开展结算资料收集工作;2.履约验收报告签署3.项目部在竣工验收后, 于工程现场组织设计管理部、工程管理部(如需)、承包商/供应商进行单项工程合同履约验收工作, 各部门在工程现场《工程合同履约验收报告》签署意见。
(1)承建商/供应商在分项合同履行完毕、竣工验收合格及收到项目部下发的《工程合同履约验收报告》后1个月内, 提交《工程结算申请表》, 其内容包括:(2)完工证明(工程合同履约验收报告)(3)工程设计变更指令台帐(4)合同内暂定数量重新计量所需竣工图纸及图纸目录(5)合同内暂定物料单价重新计价所需技术及商务资料(6)发包方索赔资料台帐(7)承建商、供应商索赔资料台帐(8)结算书6.4设计管理部、项目部、合约管理部审核《工程结算申请表》, 设计管理部负责审核设计变更指令台帐、合同内暂定数量重新计量所需竣工图纸及图纸目录、合同内暂定物料单价重新认价所需技术及商务资料;项目部负责审核工程变更指令台帐、合同内暂定物料单价重新认价所需技术及商务资料、发包方索赔资料台帐、承建商/供应商索赔资料台帐;合约管理部负责《工程结算申请表》、结算书及其他资料的初步核查。
成本管理中心部门职责与流程下载温馨提示:该文档是我店铺精心编制而成,希望大家下载以后,能够帮助大家解决实际的问题。
文档下载后可定制随意修改,请根据实际需要进行相应的调整和使用,谢谢!并且,本店铺为大家提供各种各样类型的实用资料,如教育随笔、日记赏析、句子摘抄、古诗大全、经典美文、话题作文、工作总结、词语解析、文案摘录、其他资料等等,如想了解不同资料格式和写法,敬请关注!Download tips: This document is carefully compiled by theeditor. I hope that after you download them,they can help yousolve practical problems. The document can be customized andmodified after downloading,please adjust and use it according toactual needs, thank you!In addition, our shop provides you with various types ofpractical materials,such as educational essays, diaryappreciation,sentence excerpts,ancient poems,classic articles,topic composition,work summary,word parsing,copy excerpts,other materials and so on,want to know different data formats andwriting methods,please pay attention!一、成本管理中心部门职责:1. 负责公司的成本核算和成本控制工作,确保公司成本信息的准确性、完整性和及时性。
1.流程图2.流程概况3.工作程序3.1.成本管理总体思路3.1.1.以统一成本科目为前提,以目标成本管理为主线,以成本动态监控为重点,以成本经验数据库建设为支撑,以构建专业有效的成本管理体系为目标,提高公司成本管控能力。
3.2.执行统一成本科目3.2.1.集团成本招采中心对科目名称、核算内容、使用要求等规定进行统一解释,并根据实际需要进行调整。
3.2.2.城市公司在成本管理的全过程中应严格执行统一成本科目,不得自行增加或删改一至三级科目。
确需修改时,经与集团成本招采中心沟通确定后执行。
3.2.3.在目标成本测算体系建立、合约分判架构建立、合同界面划分时,应尽可能与标准成本科目保持一致。
3.3.土地版目标成本测算3.3.1.项目可行性研究中,在投资拓展中心的组织下,集团成本招采中心根据营销管理中心部提出的初步定位、产品线类别、物业类型及配比,设计研发中心提出的初步规划、初步建筑技术经济指标,财务管理中心提供的管理费用、营销费用、财务费用及企业税费的费率等进行相应的成本测算,按投资拓展中心的要求提交,具体见《项目拓展论证管理流程》。
3.4.产品定位、概念设计阶段的目标成本测算3.4.1.在营销管理中心部提出产品定位建议,设计研发中心组织概念方案设计并进行多方案比选时,成本招采中心配合进行多方案投资成本测算。
3.4.2.对于成熟产品,在此阶段集团成本招采中心编制方案阶段设计限额,设计研发中心参与编制。
方案阶段设计限额经总裁审批后,作为进行方案阶段成本控制的依据。
3.5.方案阶段目标成本测算3.5.1.本阶段目标成本测算应在内部方案设计评审确认后20日天内完成编制,审批通过后作为扩初阶段的成本控制目标。
3.5.2.本阶段集团设计研发中心应提供确定的规划指标,经与营销管理中心、成本招采中心沟通确定的设计标准,包括但不限于外立面装饰标准、外立面门窗标准、公共部位精装修标准、套内精装修标准(如有)、入户门标准、电梯配置标准、机电系统配置标准、园林景观标准等。
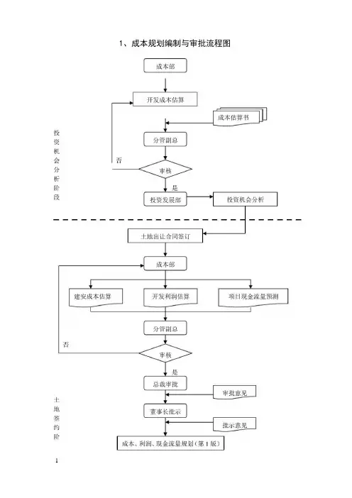
1、成本规划编制与审批流程图百度文库-好好学习,天天向上百度文库-好好学习,天天向上技术与施工图设计阶段百度文库-好好学习,天天向上2、概预算编制、审批流程图百度文库-好好学习,天天向上后续设计、招标、施工 3、设计变更成本审核流程否是否影响成本是V 2万<5万<10万结算资料/设计变更单工程部、总工办、施工单位等完工验收设计变更通知总工办签发,成本部留存,工程部实施,监理监督成本变动费用估算总工办、成本部、工程部成本部施工单位承包商提出变更政府等提出变更 工程部提出变更 领导提出变更成本部总工办 设计单位分管副总总裁成本分析、对也——・按时完成结算审核 4、现场签证成本审核流程否技术核定是V 2万<5万<10万现场签证申请7技术意见与扌批示费用报价资料纳入工程结算范围工程部签发、分管副总批示工程部现场初步核实工程量成本、费用审核总工办、成本部、工程部4分管副总工程部提出签证承包商提出签证I 客户等提出变更其它提出变更施工单位 总工办成本部7’现场签证单/施工单位工程部总裁5、工程结算审核工作流程其它工程部否具备结算条件?是 否资料真实完整?是竣工验收证明合同结算书招标图纸竣工图纸—文件签收复核意见审批意见审批意见批示意见施工单位组编结算资料工程结算审核结算审核报告成本部经理复核分管副总审批总裁审批董事长批示造价咨询单位施工单位成本部工程部成本部施工单位。
工程项目施工成本管理流程
1.预算编制:在项目启动阶段,项目经理和财务部门根据项目的需求和资源情况,制定项目施工成本预算。
预算编制应综合考虑人工、材料、设备、外包和其他费用,并进行合理的测算和安排。
2.成本控制:在施工过程中,项目经理和成本控制团队需要密切监控项目的成本情况。
这里包括及时收集和记录各项成本数据,与预算进行对比,分析和评估潜在风险和成本偏差,并及时采取相应的控制措施,以确保项目的成本在合理范围内控制。
3.变更管理:在施工过程中,有可能出现项目需求变更、材料价格波动或其他不可预测的因素,这就需要进行变更管理。
变更管理包括评估变更的影响,制定解决方案,并根据变更的成本,调整预算和成本控制策略。
4.资金支付管理:为保证施工过程的持续进行,项目经理需要按照工程进度和合同要求,及时支付各项费用。
同时也需要对支付情况进行记录和核对,以确保资金的正常流转和使用。
5.成本分析和总结:工程项目结束后,需要对成本进行分析和总结。
这包括对项目成本的精细化分析、比较不同阶段的成本、评估成本的效益和成本控制措施的有效性等。
通过成本分析和总结,可以为以后的项目管理提供经验教训,并改进施工成本管理的方法和流程。
成本管理制度及流程模板第一章总则第一条为了加强成本管理,控制成本费用支出,提高公司的经济效益,结合公司的实际情况,特制定本制度。
第二条本制度适用于公司的成本费用管理相关工作。
第三条成本管理的主要任务是通过预测、计划、控制、核算、分析和考核,反映企业生产经营成果,挖掘降低成本的潜力,努力降低产品成本。
第四条成本管理应遵循合法、合规、科学、合理、有效的原则。
第二章成本开支范围第五条成本开支范围包括:1. 生产经营活动中实际消耗的各种原材料、辅助材料、备品备件、外购半成品、燃料动力、包装物的成本。
2. 固定资产的折旧费、修理费和租赁费。
3. 低值易耗品和无形资产的摊销费。
4. 按国家规定列入成本的职工工资和按规定比例提取的职工福利费。
5. 企业各个生产单位(分厂、车间)为组织和管理生产所发生的各项制造费用。
第三章成本项目设置第六条成本项目设置包括:1. 原料。
2. 辅助材料。
3. 工资及福利费。
4. 制造费用:各车间折旧费、修理费、办公费、机物料消耗、运输费、劳动保护费等。
第四章成本核算第七条成本核算是成本管理的中心环节。
产品成本核算就是把在一定时期内所发生的生产费用进行归集汇总,并通过一定的方法(直接的和分配的)计算出产品的实际成本。
第八条原材料的采购成本、自制半成品生产成本和产成品生产成本的计算方法。
成本计算的基本方法为品种法,辅助计算方法可以采用定额成本法或者分类法等,各个生产制造公司根据实际情况,自行选择最合适的产品成本计算辅助方法。
第九条原材料采购成本可以按采购批次计算,也可以按月(季)计算;采购批次成本计算时,应按照采购批次进行归集,然后平均分摊到每个批次的产品上。
第十条自制半成品生产成本的计算方法:1. 直接材料成本:按照实际使用的原材料、辅助材料、燃料动力等成本计算。
2. 直接人工成本:按照实际参与生产的员工工资、福利费等成本计算。
3. 制造费用:按照实际发生的制造费用计算。
第十一条产成品生产成本的计算方法:1. 直接材料成本:按照实际使用的原材料、辅助材料、燃料动力等成本计算。
成本管理流程DOC成本管理流程指的是企业在实施成本核算、分析和控制的过程中所遵循的一系列步骤和方法。
下面是一个详细的成本管理流程的示例。
流程中的关键步骤包括成本核算、成本分析、成本控制和成本改进等。
以下为对每个步骤的详细阐述。
1.成本核算-成本项目的识别和分类。
将企业的成本按照不同的项目进行分类,包括直接材料成本、直接人工成本、制造费用、销售费用、管理费用等。
-成本的记录和计算。
对每个成本项目进行准确的记录和计算,包括采用全面成本法、直接成本法等方法进行计算。
-成本的分配和归集。
将企业的各项成本分配到产品、部门或成本中心等不同的对象中,形成成本数据。
2.成本分析成本分析是指对企业的成本进行深入的研究和分析,了解成本的构成、原因和分布情况,为企业的决策和管理提供有关成本的信息。
成本分析的主要步骤包括:-成本构成分析。
分析各个成本项目的构成因素,如直接材料成本的原材料价格、用量等。
-成本原因分析。
分析成本发生的原因和影响因素,在深入分析的基础上,找出成本的控制和降低途径。
-成本分布分析。
将成本按照不同的对象进行分布和分析,如产品成本分析、部门绩效分析等。
3.成本控制成本控制是指通过对成本进行计划、实际比较和偏差分析,采取相应的控制措施,确保企业的成本在合理的范围内。
成本控制的主要步骤包括:-成本计划制定。
根据企业的经营计划和目标,制定相应的成本控制计划和指标。
-成本实际比较。
将实际发生的成本与计划成本进行比较,找出差异和偏差。
-成本偏差分析。
对成本的偏差进行分析,找出偏差的原因和解决办法。
-成本控制措施实施。
根据成本偏差分析的结果,采取相应的控制措施,降低和控制成本。
4.成本改进成本改进是指通过改进管理、工艺和技术等方面,实现成本的降低和效益的提高。
-管理改进。
优化企业的管理制度和流程,提高决策效率和管理效果。
-工艺改进。
优化生产工艺和工作流程,提高生产效率和质量水平。
-技术改进。
引进新的技术和设备,提高生产效率和产品质量。
成本管理流程主讲:韩伟华目录一、成本管理流程概述二、成本管理流程操作三、成本管理流程环节之间的关系四、成本管理流程图设计【案例背景】马思远是一家财经大学的硕士毕业生,毕业后马思远没有留在北上广这样的大城市,而是选择去了青岛的一家轮胎企业——大格轮胎,这家企业已有近20年的历史,公司正在谋划上市,这也是马思远选择去这家公司的原因之一!随着制造业的举步维艰,公司的创始人老王认识到,他必须多关心一些财务方面的问题,要想公司顺利上市,融到资金,必须改善他的财务状况情况,大格轮胎在前一个会计年度中蒙受了亏损,对此他觉得很不理解,公司的收入在不断增加,而成本费用更是比以往超出很多。
老王一直认为公司的业绩应该跟收入有关,然而现在这个状况让他必须思考成本管理改善的问题。
老王相信,只要管理有方,大格轮胎一定是可以持续经营并且兴旺起来的,他认为自己既然是领导,就有责任带领企业顺利上市,闯出一片新天地。
他满怀信心,自己的干部员工一定会支持他的倡议。
老王记得这样一条命题:“如果有了良好的设施和合适的员工,并且我们的行动得当,顾客就会对我们忠诚,我们就会获得财务上的回报”。
为此,老王高新聘请了原来在日本一家轮胎企业工作的财务总监秦浩宇,并在秦总的要求下,招聘了几名财经系大学生,来配合秦总对财务的改革,马思远就是其中的一个。
马思远入职一个月后,公司就在财务总监秦浩宇的领导下开始了成本改善计划,并成立了成本改善小组。
为什么没有称为成本下降计划?秦浩宇提出了新的问题,成本管理就一定是要成本下降吗?到底什么是成本管理?成本管理的流程是什么?秦总为小组成员做了下面的全面讲解。
一、成本管理流程概述1.成本管理的定义成本管理是一个组织用来计划、监督和控制成本以支持管理决策和管理行为的基本流程。
2.成本管理的目标是什么?在资源限制条件下,通过成本管理提高资源的利用效率,使有限的经济资源生产出更多的产品、创造出更多的价值,达到节约增产的目的。
一、总则为了加强公司成本管理,降低成本费用,提高经济效益,特制定本制度。
本制度适用于公司所有部门、所有员工。
二、成本控制目标1. 优化成本结构,降低成本费用;2. 提高资源利用效率,实现节能减排;3. 提升公司盈利能力,增强市场竞争力。
三、成本控制流程1. 成本预算编制(1)各部门根据年度经营目标和业务需求,编制成本预算;(2)财务部门对各部门成本预算进行审核,确保预算的合理性和可行性;(3)公司领导审批通过后,各部门执行成本预算。
2. 成本费用核算(1)财务部门负责对各部门成本费用进行核算,确保核算的准确性;(2)各部门定期向财务部门报送成本费用报表,以便财务部门进行汇总和分析;(3)财务部门定期对成本费用进行分析,找出成本控制的重点和难点。
3. 成本费用控制(1)财务部门根据成本费用分析结果,提出成本控制措施;(2)各部门根据财务部门的建议,制定具体的成本控制方案;(3)各部门执行成本控制方案,降低成本费用。
4. 成本费用考核(1)财务部门对各部门成本费用控制情况进行考核,考核结果与各部门绩效挂钩;(2)对成本费用控制优秀的部门给予奖励,对成本费用控制不力的部门进行处罚;(3)考核结果作为各部门绩效考核的重要依据。
5. 成本费用分析报告(1)财务部门定期编制成本费用分析报告,总结成本控制工作成效;(2)分析报告报送公司领导,为公司决策提供参考。
四、成本控制原则1. 全面控制:对公司的各项成本费用进行全面控制,确保成本费用的合理性和合规性;2. 预算控制:以预算为基础,严格控制各项成本费用;3. 事前控制:在成本发生前,做好成本预测和预算,防止成本超支;4. 事中控制:对成本费用进行实时监控,及时发现和解决问题;5. 事后控制:对成本费用进行总结和分析,为今后的成本控制提供依据。
五、附则1. 本制度由财务部门负责解释;2. 本制度自发布之日起实施。
成本管理流程宁夏瑞信地产成本管理流程成本管理流程1.流程概述1.1.流程目的及适用范围1.2.流程关系1.3.参与部门及职责1.4.输入及输出2.业务示意流程图3.流程操作指引3.1.成本管理的总体原则3.1.1 全员成本管理原则。
公司所有员工、所有部门都在各自的职责范围内,对项目成本有直接或间接的影响,都必须有成本控制意识和责任,并贯彻于日常工作中;3.1.2 全过程成本管理原则。
项目从可行性研究到竣工决算,要有完整的概算、测算、预算及结算,全过程要有主动、及时的成本比较、方案选择、信息反馈与分析控制;3.1.3 合同化管理原则。
所有预算成本范围内的成本,都需签订经济合同,细致、明确地规定乙方的工作范围、内容、进度、质量标准及工程结算办法、违约责任等;3.1.4 目标成本管理原则。
项目投资决策阶段确定的项目收益水平是项目最终收益的下限,与此对应的成本水平在售价不能提高的情况下,是不可突破的项目成本控制目标(上限);项目的总体控制目标分解为各部门的各项费用成本目标,既是各项工作成本控制的标准,也是管理人员的考核标准;3.1.5 责任成本控制原则。
任何部门、任何个人不能单独代表公司,独立完成涉及公司利益的成本决策与业务操作;公司建立责任成本管理体系,将各项成本目标落实到各个责任主体(相关部门与个人),各责任主体要按程序报批,操作;3.1.6 可复查原则。
业务操作及概算、测算、预算、结算全过程应有完整、详细的记录和档案管理,预、决算工作结果应具备100%的可复查性。
3.2.编制成本计划3.2.1 成本计划包括目标成本系统与成本工作计划两部分:目标成本系统包括目标成本与责任成本。
成本工作计划按年度或按月编制,计划内容包括成本管理流程的主要工作要点。
3.2.2 成本计划由产品研发部、财务管理部、工程管理部组织编制,并负责监督检查落实情况。
详见《成本计划》3.3.目标成本与责任成本的确立3.3.1 项目论证阶段的成本估算项目成本估算的工作要点如下:1)在项目正式达成合作意向前,产品研发部(设计)应根据地块客观状况及规划控制要点,提供2-3种不同的规划设计概念,明确说明每种概念下不同功能、不同建筑形式的建筑面积与可售面积(参见《新项目初步定位设计草案任务书》),提交营销管理部、财务管理部和产品研发部(造价);2)营销管理部应根据市场情况,客观估计每种方案下,不同建筑形式可售面积可达到的售价水平,并对该售价水平下,销售周期及销售费用水平做出预测,提交财务管理部和产品研发部(造价);3)产品研发部(造价)组织编制不同设计方案下项目建设成本投资估算;建设成本投资估算应按不同的建筑结构、不同的建筑功能按成本细目分别计算,并编制估算说明,详细说明估算的依据(参见《项目全成本测算指标》);4)产品研发部(造价)在“建设成本投资估算”、“销售费用估算”、“项目销售周期估算”的基础上,协同财务管理部共同编制项目的全成本评估;并结合售价测算,计算出不同方案下,项目的收益水平,并推出相应的土地成本(参见《项目投资土地费用测算》)。
提交给项目谈判部门及公司领导决策;5)土地成本测算结果作为项目获取的重要成本依据。
3.3.2 项目策划阶段的成本测算项目获取后,进入到项目策划—产品定位阶段,该阶段的成本工作重点是根据产品定位结果,进行项目成本测算,编制方案设计阶段的成本建议,提交设计院,作为方案设计的重要经济依据。
项目成本测算的工作要点如下:1)产品研发部(项目策划)在公司取得项目后,组织进行产品定位工作,在项目部、营销管理部、物业公司的配合下编制《产品建议书》(如聘请策划公司,应由策划公司配合完成该阶段工作);2)产品建议书中的重要内容为:客户定位、价格定位和产品定位。
其中,价格定位是项目成本测算的主要依据;3)根据价格定位,运用倒推法,减去公司预期利润和其它非建设成本,推出建设造价标准。
在此标准内,将成本细化为建筑工程成本、安装工程成本、社区管网工程费、室外环境工程费和区内配套成本等标准;4)在项目完成概念设计后,由产品研发部(造价)牵头,与项目部、产品研发部(设计)、营销管理部、财务管理部等部门共同编制《项目全成本测算》,该测算可以编制到《项目全成本测算指标》的一级成本科目(参见《项目全成本测算指标》);5)根据《项目全成本测算》,编制《项目规划方案设计阶段的成本建议》。
3.3.3 实施方案设计及施工图设计的限额设计与图纸优化1)规划设计原则上应由产品研发部(设计)通过招投标办法进行确定;在招投标文件中,明确要求设计单位的规划方案在投资上不超过《项目规划方案设计阶段的成本建议》所规定的设计限额;2)规划设计方案初步确定后,产品研发部(设计)应组织外部专家、项目部、产品研发部(造价)、营销管理部、物业公司,召开技术经济分析会,通过与经验数据进行比较,从技术经济性角度,进行规划方案优化评审;并对规划方案是否符合《项目规划方案设计阶段的成本建议》进行分析,提出修改规划设计方案的意见,经各部门经理签字,报公司领导批准后,由产品研发部(设计)负责落实调整方案;3)扩初方案提交后,产品研发部(设计)应再次组织外部专家、项目部、产品研发部(造价)、营销管理部、物业公司,召开技术经济分析会,通过与经验数据进行比较,从技术经济性角度,进行实施方案优化评审;并对实施方案是否符合《项目规划方案设计阶段的成本建议》进行分析,提出修改实施设计方案的意见;4)扩初方案确定后,产品研发部(造价)组织产品研发部(设计)、工程管理部、项目部、财务管理部对《项目全成本测算》进行细化和修订,并在此基础上编制《项目全成本概算》,经相关部门审核后报公司总经理确认。
《项目全成本概算》编制到《项目全成本测算指标》的二级成本科目;5)在下达施工图委托设计前,产品研发部(造价)应根据《项目全成本概算》,及时合理地提出分部分项工程单方造价及钢筋、混凝土等主要材料单方含量的历史经验数据,与设计、工程协商确定限额设计指标,形成《施工图设计阶段的成本控制建议》,上报相关部门审核后,作为《施工图设计任务书》的一部分发给设计院作为施工图设计阶段造价控制的依据;6)产品研发部(设计)在给设计单位下达施工图设计委托书中,应明确要求设计单位随施工图编制设计概算及计算出主要材料设备用量;应在设计合同中明确设计单位的设计责任及相应的处罚措施;初步设计进行过程中,产品研发部(设计、造价)必须随时与设计单位就设计方案、设计概算进行分析、对比,既要满足技术要求,同时还要符合造价控制要求;7)施工图初步完成后,产品研发部(设计)必须对施工图设计的合理性、技术经济性进行细致的审查,签字后,移送项目部和产品研发部(造价)进行审查,后者必须对设计院编制的设计概算的限额数据进行审查、复核,对单方造价、主要材料的单方含量与经验数据进行对比,提出书面意见反馈给产品研发部(设计);8)如有需要,产品研发部(设计)可以聘请图纸优化机构,进行施工图优化评审,对设计的合理性、结构设计的技术经济性进行分析评价,形成会审纪要并提出改进意见,反馈给设计单位以设计变更形式修改施工图;9)确定的施工图及会审纪要、会审后的设计变更应由设计院、产品研发部经理、项目部经理及工程分管副总签字后,方能移交项目部,经各方签字的施工图原件、会审纪要及设计变更,产品研发部(设计)、产品研发部(造价)、项目部必须各存一份;10)产品研发部(设计、造价)要分别对施工图的合理性、技术经济性负责;公司财务管理部可视情况进行抽查,委托社会中介机构对施工图的技术经济性进行论证;11)确定施工单位后,产品研发部(设计)、产品研发部(造价)、工程管理部、项目部、设计院、施工单位、监理单位进行图纸交底,各方应对施工图进行充分交流,达到认识一致。
3.3.4 施工图预算和目标成本控制指导书的编制1)施工图确定后,产品研发部(设计)应及时提供完整的施工图及其简要说明、特殊材料要求,经主管领导签字后,连同公司批准的交工标准给产品研发部(造价);2)所有施工项目都必须编制施工图预算。
产品研发部(造价)应在收到正式施工图及施工方案后,在30天内与工程管理部(招标采购)协商确定设备及主要材料厂家及价格,编制完施工图预算;施工图预算编制完成前,不得确定施工单位及工程发包总价;严禁任何部门单独与施工单位议价发包工程;3)若项目经营需要,确需先开工后编制施工图预算的,需项目部提出申请,经产品研发部(造价)、总经理批准后方可执行;4)如请中介单位编制施工图预算,产品研发部(造价)必须进行充分、详尽地审查,并编制工程预算核对情况增减分析,经公司分管领导批准后方能定稿;5)施工图预算原则上是工程招投标的初步标底,其工程量清单应作为招标书中的标准格式和工程量;如果是属于开工后编制的施工图预算,产品研发部(造价)和项目部应尽早与施工单位核对并确定,作为双方工程付款及将来的结算资料;6)产品研发部(造价)在施工图预算如钢筋抽量等主材计算过程中,应提高成本意识,如发现设计中经济合理性不够及不明确的,应书面提交设计问题报告,经分管领导批准后递交产品研发部(造价),产品研发部(造价)应在2天内与设计单位洽商寻求改进;7)产品研发部(造价)对施工图预算(含请外部专业机构编制的预算)的准确性负全部责任;公司财务管理部作为监督部门,应对公司编制的预算审核确认,或者视情况找其他外部专业机构进行复审。
工程预算操作详见《工程预算编审管理流程》;8)施工图预算完成后,产品研发部(造价)应组织项目部、工程管理部和财务管理部编制整个项目《项目目标成本控制指导书》,经各成本责任部门讨论通过后,上报总经理批准,作为项目目标成本,下达各部门执行;9)《项目目标成本控制指导书》的编制包括三个主要部分:1、目标成本:目标成本的分解一定达到可操作程度(应细化到《项目全成本测算指标》的三级成本科目);2、责任成本:每一项目标成本都应由责任部门负责,并定出考核方法;3、甲供、甲控材料设备的限价。
参见《项目目标成本控制指导书(样本)》。
3.4.项目建设实施阶段的成本控制3.4.1 设计变更、现场签证管理要点1)所有不需增减费用的设计变更及现场签证由项目部填制“不增减费用的设计变更及现场签证”通知,由项目部经理确认、工程副总签发后直接实施;项目部需对变更及签证事项进行认真分析,或进行实地查看,确认不需增减费用;2)需增减费用的设计变更及现场签证由主办部门填报表单,连同变更或签证草图交产品研发部(造价)进行费用估算,按相关审批权限审批后实施;3)严禁任何部门或个人自行与乙方签订设计变更及现场签证;项目部对由公司承担费用但未经审批而实施的设计变更及现场签证承担责任,产品研发部(造价)应保证在招投标文件、施工合同中明确对该类变更或签证、洽商增加的费用不予结算;4)设计院变更、公司决策或产品研发部(设计)提出变更,以产品研发部(设计)为主办部门;销售客户提出的变更,以营销管理部为主办部门;现场签证、合同洽商及施工单位提出变更,以项目部为主办单位;5)产品研发部(造价)在收到主办部门的设计变更及现场签证申请单或通知单后,应在3天内完成变更及签证图分析或到现场核对已完成的及要发生的项目及对工程量做出确认,需增减费用的按一单一编原则,完成增减费用的概算;6)主办部门必须事先明确设计变更及现场签证的费用承担单位,若由外单位(或个人)承担,必须预先收回费用或取得外单位承担变更或签证费用的承诺书;购房客户提出的、由公司承担费用的设计变更,计入销售费用进行考核;7)规划调整或重大设计方案调整(在原招标项目基础上增加新的项目)原则上不算设计变更,产品研发部(设计)必须提供可能的多种方案,进行费用测算及方案成本比较,经专题会议讨论、并上报总经理批准后方可实施;8)按程序完成审批的设计变更及现场签证,在签发完变更及签证通知后,主办部门要进行存档并编号;9)项目部在通知施工单位实施设计变更及现场签证时,应责成施工单位在接到有效的书面立项后3日内申报预算;10)产品研发部(造价)在收到乙方的预算后,应在3天内,审核完成并争取与乙方达成一致,作为最终结算的依据;项目部必须向施工单位明确,经协商一致的预算必须数字清楚,严禁涂改,涂改后的签证在完工后不能进行结算;11)产品研发部(造价)应每月汇总、统计设计变更及签证费用,每月分析其对目标成本的影响;12)设计变更和现场签证操作流程详见《设计变更管理流程》、《现场签证管理流程》。