建设项目环境影响评价审批流程图
- 格式:doc
- 大小:80.50 KB
- 文档页数:11
建设项目环评流程 址(1礁认*朴「朴:勺,卜"山血啦厂点呢勺殳旳汁诽|用坪乩不晁區輩MH U.拙上口|治詈丘核宙检甌耳I 丘电乂士」总知述:2竿駁壯丄帆空工g 总血于位抿.总K 4「协汩于达疗戍雉舒爭先*扣拥卞这上■战学品:X 二隹|爪艸沖肚班育翳迪監圈晏址] 吓住*陀掘字厢同忠川 詁・j ■担较蛊以刨 空 监科站鶴窖验醴监團才集; 茲吹业翅环保审批验收11作程序區小尼甕'二芮列.「;:“此} 附件1监韓弋弘艸毎且早住*琳评・社时乂怜更和贞忖如审4弦此益刮寿茉新建、改建.扩建、技改建设项口折闿勻办飪捉颅日自lt|[更1廿[躬甬丽甲珠弘护]良J L14加书-i卞达扌;玫此廿屮土庇4*T-L^rA 吐二 >< %丁由讯左紇鼻4A ------附件2新建、改建、扩建、技改建设项目环保审批工作程序说明“环评”执行情况检查局监察大队对辖区企、事业单位历年来“环评”情况进行全面清理检查,对未履行“环评” 手续的单位依法下达《环境行为限期改正通知书》,对限期不履行的单位和私营、个体业主,依照法律程序予以行政处罚,并督促其补办“环评” 手续。
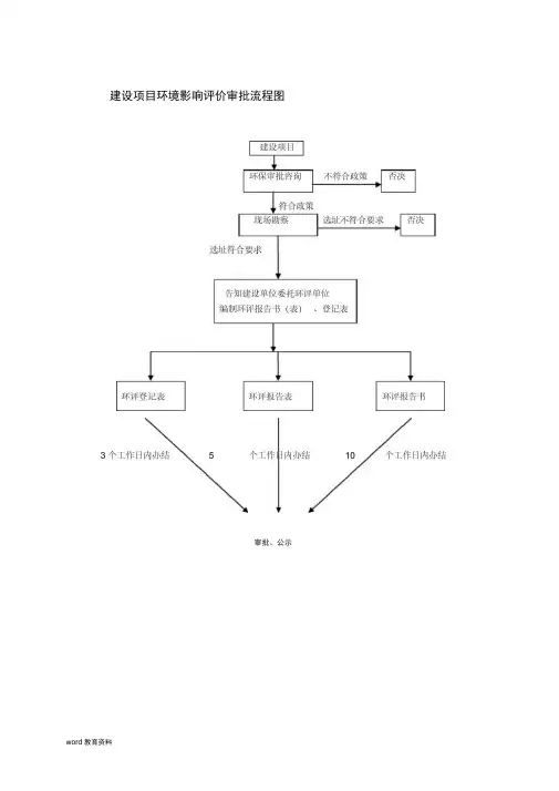
窗口申请受理建设单位申请审批需提供下列资料交区政务服务中心环保窗口:一、申请报告(含建设单位名称,拟建设地址、总投资、主要生产产品、规模等基本情况);二、项目可行性研究报告(含环保篇章);三、有关部门的立项批文。
现场勘察窗口受理申请后,当日反馈到新项目办,新项目办三个工作日完成现场勘察。
勘察容如下:一、建设项目选址、选项、布局是否符合区域、流域规划和城市总体规划;二、对处于环境敏感区,可能严重影响所在地居民生活环境质量的建设项目,须举行听证会,听取有关单位、专家和公众的意见。
项目确认根据建设项目对环境的影响程度,按照国家“建设项目环境保护分类管理名录”和淘汰落后生产工艺及设备制度,由新项目办确认环境影响评价类别,报分管局长审批认可后,由窗口通知建设单位领取项目确认单。
建设项目环境影响评价文件审批流程图
建设单位申请
建设项目环境影响登记表建设项目环境影响报告表建设项目环境影响报告书
受理材料齐全,属于省级、市级材料不全不需要踏勘现场的,由窗口人员当场确认;需要踏勘现场的,由环评股、环保主管部门审批的项目,
监察大队现场踏勘,审核、提出初审意见,在城区内1日,城区外2日。
由县环保局申报市环保局。
属于本局审批项目直接受
初审理预受理
环境影响登记表:由县环保局工作人员审查、现场环境影响报告书、报告表:现场检查、专家评审、环评单位修改完经专家评审或者内部审检查、征询公众意见(敏感项目)、3个工作日内善形成报批本送市环保局环评科。
材料齐全并符合审批要求的,查,不符合审批要求的出具拟办意见自收到批报本之日起5个工作日内出具拟办意见或预审意见。
项目,不予审批,并告
知。
同意审核
分管副局长、局长对环评文件初步批复或预审意见(省环保厅不同意,则项目中止审批。
出具批复,并发文厅审批项目)进行审核,签署意见。
归档。
事项名称:建设项目环境影响评价文件审批(环境影响报告书)事项名称:建设项目环境影响评价文件审批(环境影响报告表)事项名称:建设项目环境影响评价文件审批(环境影响登记表)事项类型:行政许可办结时限:环评报告书15个工作日,环评报告表9个工作日,环评登记表3个工作日。
设定依据:1、【法律】《环境影响评价法》第二十二条建设项目的环境影响评价文件,由建设单位按照国务院的规定报有审批权的环境保护行政主管部门审批;建设项目有行业主管部门的,其环境影响报告书或者环境影响报告表应当经行业主管部门预审后,报有审批权的环境保护行政主管部门审批。
海洋工程建设项目的海洋环境影响报告书的审批,依照《中华人民共和国海洋环境保护法》的规定办理。
审批部门应当自收到环境影响报告书之日起六十日内,收到环境影响报告表之日起三十日内,收到环境影响登记表之日起十五日内,分别作出审批决定并书面通知建设单位。
预审、审核、审批建设项目环境影响评价文件,不得收取任何费用。
2、【行政法规】《建设项目环境保护管理条例》第十条第一款建设项目环境影响报告书、环境影响报告表或者环境影响登记表,由建设单位报有审批权的环境保护行政主管部门审批;建设项目有行业主管部门的,其环境影响报告书或者环境影响报告表应当经行业主管部门预审后,报有审批权的环境保护行政主管部门审批。
:提交材料清单.一、环境影响报告书:1、请示报告2、经济主管部门意见3、土地及规划部门意见4、水利局水土保持意见5、环境影响报告书及技术评估意见6、所在地环保部门监察报告7、污染物排放总量(工业);8、专家评审意见要原件;9、环境质量现状监测报告10、环评协议11、修改清单12、法律、行政法规及规章规定的其它材料。
13、其他与环保要求相关的附件二、环境影响报告表:1、请示报告2、经济主管部门意见3、土地及规划部门意见4、水利局水土保持意见5、环境影响报告表6、所在地环保部门监察报告污染物排放总量(工业);、7.8、环境质量现状监测报告9、环评协议10、法律、行政法规及规章规定的其它材料。
项目环评手续办理流程附图1.项目初步评估:项目申请人首先需要进行项目的初步评估,包括项目的可行性分析、环境影响预测等,以确定项目是否需要进行环境评价。
2.项目申请:项目申请人需要向国家环境保护部门提交项目申请,申请中需要包括项目的基本信息、规模、地点、施工和运营的环境影响等内容。
3.环境影响评价报告编制:项目申请人根据国家环境保护部门的要求,委托具有环境影响评价资质的机构编制环境影响评价报告。
报告内容需要包括项目的环境影响分析、预防与控制对策、环境保护设施设计等内容。
4.报告审查:国家环境保护部门对编制完成的环境影响评价报告进行审查,审查内容主要包括报告的完整性、准确性以及对环境影响的预测和防控措施的合理性等。
5.公示和听证:环境影响评价报告通过审查后,国家环境保护部门会对报告进行公示,公示时间一般为30天。
公示期间,任何公民、法人及其它组织可以在规定时间内提出意见和建议。
如果有争议需要调解,国家环境保护部门可以组织听证会。
6.签发环境影响评价文件:根据公示和听证的结果,国家环境保护部门最终决定是否签发环境影响评价文件。
如果决定签发,项目环评手续办理流程进入下一步,否则项目申请人需要重新整理和修改环境影响评价报告。
7.环境保护设施验收:项目申请人提取环保设施验收报告申报表,环保执法部门进行现场环保设施验收。
需要说明的是,以上流程仅为一般性流程,不同地区和项目类型可能会有所不同,具体办理流程还需根据相关规定进行具体操作。
同时,环境评价报告的编制和审查需要专业知识和专业机构的支持,因此在实际操作中,项目申请人需要找到具备资质的环境影响评价机构进行合作。
建设项目环境影响评价审批流程图审批、公示建设项目环境保护验收审批word 教育资料受理 验收 申请 0日内办结 环保验收 意见个工作 出具三、行政处罚流程图计算额定排污费维持原决定更改原决定重 新计算排污费岀〈排污费缴纳通知单〉四、排污费征收流程图申报申报 阶段申报登记给予处罚申报登记表审核不合格责令限期改正补办审核 阶段向排污者发放审 核同意的排污申 请登记表岀排污申请登记表it审核后的每月或季的排污情况—拒报、谎报核定 阶段排污者月或季的实际排 污情核定的依据① 导入自动监控数据 ② 录入监督性监测数据 ③ 录入物料衡算数据节性 ④ 直接录入测算数据直接核定核定岀〈污染核定通知书〉 每月或季向排污者送达 〈污染核定通知书〉变更申报.按月或季计算额定排污费并公告 按排污费征收标准 征收 阶段 逾期不缴纳的 处罚日后未按规 定缴纳的,从 第8日起加收 % 的滞纳金, 并责令限期缴 纳排污者接到(通知 单)之日起7日内 到指定商业银行缴 纳排污费排污者 申请减、 缓、免缴 排污费环保行政主 管部门书面 决定并公告异议五、行政复议程序(情况复杂可延长30日)决定限期履行维持变更撤销确认违法建设项目环境影响报告书审批1、办理事项:建设项目环境影响报告书审批2、办理部门:新区规划建设环保局3、办事依据:《中华人民共和国环境影响评价法》、《国务院建设项目环境管理条例》、《江苏省太湖水污染防治条例》、《江苏省环境噪声污染防治条例》、《无锡市环境噪声污染防治管理办法》4、申报材料:1)、资质单位编制《建设项目环境影响报告书》2)、专家审查意见3)、建设项目环境影响报告书光盘5、办事程序:窗口受理-经办人现场勘察-审核-窗口发放批准文件6、核发文件:《建设项目环境影响报告书》审批意见7、办理期限:15个工作日8、收据费依据与标准:无9、办事告知:无。
建设项目环评流程附件1附件2新建、改建、扩建、技改建设项目环保审批工作程序说明“环评”执行情况检查局监察大队对辖区企、事业单位历年来“环评”情况进行全面清理检查,对未履行“环评”手续的单位依法下达《环境行为限期改正通知书》,对限期不履行的单位和私营、个体业主,依照法律程序予以行政处罚,并督促其补办“环评”手续。
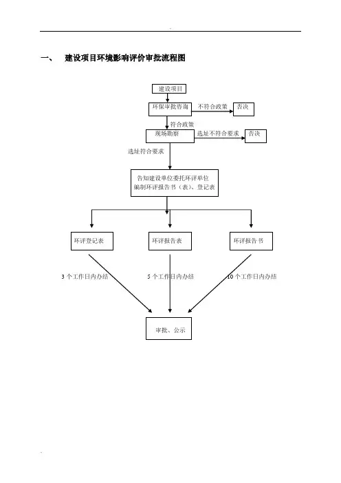
窗口申请受理建设单位申请审批需提供下列资料交区政务服务中心环保窗口:一、申请报告(含建设单位名称,拟建设地址、总投资、主要生产产品、规模等基本情况);二、项目可行性研究报告(含环保篇章);三、有关部门的立项批文。
现场勘察窗口受理申请后,当日反馈到新项目办,新项目办三个工作日完成现场勘察。
勘察容如下:一、建设项目选址、选项、布局是否符合区域、流域规划和城市总体规划;二、对处于环境敏感区,可能严重影响所在地居民生活环境质量的建设项目,须举行听证会,听取有关单位、专家和公众的意见。
项目确认根据建设项目对环境的影响程度,按照国家“建设项目环境保护分类管理名录”和淘汰落后生产工艺及设备制度,由新项目办确认环境影响评价类别,报分管局长审批认可后,由窗口通知建设单位领取项目确认单。
对不宜建设的项目,写出书面通知,由窗口通知建设单位。
环境影响评价由建设单位委托具有国家资质的“环评”机构编制《环境影响评价报告表》或《环境影响评价登记表》(建设单位填报)。
《环境影响评价报告表》应包含下列容:一、项目概况;二、周围环境现状(人文、经济、遗产、文物保护、水文、气象、环境质量现状等);三、对环境可能造成影响的分析、预测和评估;四、环境保护拟采取的措施及技术、经济论证;五、对环境影响的经济损益分析;六、评估结论。
环境风险评价对辖区工业园区、经济发展区以及化工行业、电镀业等,对环境可能产生较大影响的建设项目必须进行环境风险评价。
环境评价资料初审新项目办对环境影响评价文件进行审查,具体审查容如下:一、是否符合环境保护相关的法律、法规。
建设项目环境影响评价审批流程图审批决定并书面通知建设单位核技术利用单位《辐射安全许可证》核发、变更、延续、注销流程图申请单位提出申请区县环保局提出审批意见申请单位向市辐射环境监督监测站提交书面材料当场受理并要求网上申报单位信息告知申请单位需要补全的全部内容材料不齐全,不符合要求的市环保局审查,提出审批意见符合条件的市辐射环境监督监测站按决定进行处理向申请单位发不予许可决定书核发辐射安全许可证书对准予许可的对不准予许可的办理排污许可证核发、变更、延续、注销流程图申请前信息公开(5个工作日)后提交(网上),提交有关资料至环境保护主管部门(详见排污许可证管理暂行规定)市环保局总量控制科或区县环保局相关业务科室网上受理材料不符合要求的向申请单位提出补件要求审核通过予以公示、发放排污许可证对排污单位提交的申请材料进行审核(各部门会签、经办人汇总意见、局务会研究)和现场核查,并提出审核意见。
审核不通过向申报单位说明不予发证理由不予受理的项目,向申报单位说明不予受理的原因企业提出申请(均在国家排污许可信息公开系统填报)权限内拆除或者闲置污染物处理设施的审批不属实情况属实申请单位提出申请监察人员现场核实市环保局组织专家研究并做出决定提交书面申请报告书面通知申请单位相关材料:1、书面申请报告。
行政批文并告知申请单位从事收集、储存、处置危险废物经营活动的许可不合格合格不通过同意申请单位提出申请对申报材料进行初审污控科组织进行技术评估市环保局组织对技术评估报告进行评审和现场核查,并做出决定一次告知需要补充的全部材料提交《危险废物处置许可申请书》及证明材料书面通知申请单位相关材料:(一)《自治区危险废物经营许可证申请表》;(二)县、市环保部门初审意见;(三)符合与申请经营的危险废物类别和经营方式要求的技术人员名单及其相关证明;(四)与所申请经营危险废物的特性、数量相适应的专用运输工具及相关证明。
无自备运输工具的,应提供与专业运输单位签定的委托运输合同或运输工具租赁合同及相关证明;(五)建设项目环境保护验收批复文件;(六)堆存设施、设备的详细情况;(七)保证危险废物经营安全规章制度文本和污染防治管理措施文本及相关证明材料;(八)应急预案备案情况行政批准发证权限内转移危险废物流程图不合格合格未通过通过企业提出转移申请一次告知需要补齐的全部材料出具转移联单监察人员现场检查确认将问题反馈至企业要求企业进行整改市环保局污控科对转移申请材料进行初审危险废物转移须提交的材料:1、书面转移申请;2、接受单位的处置资质;3、运输单位的运输资质;4、转移处置合同;5、运输单位道路运输突发事件应急预案;6、危险废物转移计划表。
.
一、建设项目环境影响评价审批流程图
3个工作日内办结5个工作日内办结10个工作日内办结
.
.
二、 建设项目环境保护验收审批
三、行政处罚流程图
四、排污费征收流程图
五、行政复议程序
限期履行维持变更撤销确认违法
建设项目环境影响报告书审批
1、办理事项:建设项目环境影响报告书审批
2、办理部门:新区规划建设环保局
3、办事依据:《中华人民共和国环境影响评价法》、《国务院建设项目环境管理条例》、《江苏省太湖水污染防治条例》、《江苏省环境噪声污染防治条例》、《无锡市环境噪声污染防治管理办法》
4、申报材料:
1)、资质单位编制《建设项目环境影响报告书》
2)、专家审查意见
3)、建设项目环境影响报告书光盘
5、办事程序:窗口受理-经办人现场勘察-审核-窗口发放批准文件
6、核发文件:《建设项目环境影响报告书》审批意见
7、办理期限:15个工作日
8、收据费依据与标准:无
9、办事告知:无。
建设项目环评审批流程图
申请单位提交立项文件;项目可研及批复
环评备案
(项目建设单位和环评编制单位)
编制环评报告书、表(中介部门)
项目建设单位书面申请环评批复
环评审查及批复
区行政审批中心窗口送出
现场踏察
对污染相对较重的项目组织
专家论证、技术评估
区行政审批环保窗口受理建设项目
对敏感项目,组织专家评估,对厂址选择不合理的项目
予以否决
填报环境影响登记表
登记表审批
建设项目对环境可能造成重大影响的建设项目对环境可能造成轻度影响的
建设项目对环境影响很小,不需要进行环境影响评价的
全部审批材料目录及申请书示范文本
(1)全部审批材料目录主要有:
①项目建议书
②项目背景情况
③项目建设位置情况
④环评大纲(工作方案)
⑤建设项目环境影响报告书(表)
⑥可行性研究报告
⑦建设单位试生产申请
⑧建设单位建设项目竣工环保验收申请
(2)申请示范文本
申请书示范文本(样)
XXX环保局:
XXX公司(单位)新(改、扩)建项目,环评已经中介部门完成,请审查批复。
申请单位(个人):签字、盖章
年月日。
叮叮小文库建设项目环境影响评价审批流程图叮叮小文库建设项目环境保护验收审批受理验收申请不达要求三、行政处罚流程图四、排污费征收流程图申报 阶段 排污者申报申报?登记 -1「审核 ----申报登记表审核■> 给予处罚审核 阶段 不合格鼻责令限期改正补办核定 阶段 ' r ....... 征收 阶段 向排污者发放审 核同意的排污申 请登记表岀排污申请登记表审核后的每月或季的排污情况拒报、谎报排污者月或季的实际排 污情核定的依据 ① 导入自动监控数据 ② 录入监督性监测数据 ③ 录入物料衡算数据节性 ④ 直接录入测算数据按排污费征收标准核定核定排污者月或季 的实际排污情况岀〈污染核定通知书〉 每月或季向排污者送达 〈污染核定通知书〉计算额定排污费>按月或季计算额定排污费并公告排污者不复议、不诉讼又不履行 逾期 不缴 纳的 处罚 岀〈排污费缴纳通知单〉送达〈排污费缴纳通知单〉 7日后未按规 定缴纳的,从 第8日起加收 2%的滞纳金, 并责令限期缴 纳排污者接到(通知 单)之日起7日内 到指定商业银行缴 纳排污费1 T对账 —►复议或诉讼期满后180 日内申请法院强制执行直接核定变更申报接申请排污者10日内 7日内申做出并 请复核 复核送达复核决定异议更改原决定重 新计算排污费不服*排污者提起复排污者 申请减、 缓、免缴 排污费统计汇总维持原决定议或申诉环保行政主 管部门书面 决定并公告缴费五、行政复议程序限期履行维持变更撤销确认违法建设项目环境影响报告书审批1、办理事项:建设项目环境影响报告书审批2、办理部门:新区规划建设环保局3、办事依据:《中华人民共和国环境影响评价法》、《国务院建设项目环境管理条例》、《江苏省太湖水污染防治条例》、《江苏省环境噪声污染防治条例》、《无锡市环境噪声污染防治管理办法》4、申报材料:1)、资质单位编制《建设项目环境影响报告书》2)、专家审查意见3)、建设项目环境影响报告书光盘5、办事程序:窗口受理-经办人现场勘察-审核-窗口发放批准文件6、核发文件:《建设项目环境影响报告书》审批意见7、办理期限:15个工作日8、收据费依据与标准:无9、办事告知:无。
1-1建设项目环境影响评价登记表审批流程图建设单位申请行政审批政务服务中心窗口受理首席代表审查拟定审批意见窗口发文不予受理告知理由提交申请、登记表一式4份规划及土地部门相关文件不符合要求退回修改补正1-1建设项目环境影响评价审批流程图建设单位申请行政审批政务服务中心窗口受理审查现场踏勘专家评估内部审查受理公示(10日)拟批公示(10日)1、建设单位红头申请函;2《建设项目环境保护审批登记表》及建设项目环境影响评价技术评估结论;3、《建设项目环境影响报告书(表)》,涉及水土保持的,还需水行政主管部门审批的水土保持方案;4、项目所在地(县市区)环保部门及行业行政主管部的预审意见;5、项目建议书及有关主管部门的批复;6、建设项目排放污染物总量指标来源确认函。
1、检查产业政策相符性2、检查与规划相符性3、检查材料完整性不予通过给予说明提出整改意见退回补正未通过告知原因(特别程序)特别程序公众持较大反对意见予以退回(特别程序)1、征求科室意见2、项目审批委员会审定(30日)3、拟定审批意见决定窗口发文受理流程审批流程1-1建设项目环境保护验收审批流程图建设单位申请验收政务服务中心窗口受理审查现场检查、核实、评估1、建设单位红头申请函;2、环境保护工作执行情况报告;3、《建设项目竣工环境保护“三同时”验收登记表》及项目环保设施竣工验收技术评估结论;4、项目所(在地县市区)环保部门同意项目运行或试生产的函及预审意见;5、《建设项目环境保护竣工验收申请报表》或《建设项目环境保护竣工验收申请》或《建设项目环境保护竣工竣工验收申请登记卡》;6、《建设项目环境保护竣工验收监测表》或《建设项目环境保护竣工验收报告》(污染影响类);《建设项目环境保护竣工验收环境影响调查报告》或《建设项目环境保护竣工验收调查表》(生态影响类)。
不予通过告知理由提出整改意见退回补正(特别程序)内部审查(5日)未通过告知原因(特别程序)1、征求科室意见2、拟定审批意见拟批公示(15日)公众持较大反对意见予以退回(特别程序)决定窗口发文1-2排污许可证(大气、水)核发外部流程图建设单位申请行政审批科室审核会签拟定审批意见窗口发证排污单位按核查意见整改完毕窗口预审一次性告知需补充的资料和要求排污单位按反馈意见进一步整改1-3辐射安全许可证核发外部流程图辐射工作单位提出申请政务服务中心窗口受理材料审查公示(10日)审查、形成初审意见窗口发证1、辐射安全许可证申请表;2、企业法人营业执照证、副本或事业单位法人证书、副本及法定代表人身份证原件及其复印件,审验后留存复印件;3、经审批的环境影响评价文件;4、单位现存的和拟新增加的放射源和射线装置明细表;5、《放射性同位素与射线装置安全许可证管理办法》十六条相应规定的证明材料不予受理告知理由不符合要求退回补正特别程序未通过告知理由审批2 环境行政处罚外部流程图发现违法事实报请立案调查取证(2人以上)案件审查报告备案制作笔录、抽样取证等销 案免予处罚移送司法理由成立的批评教育改正的属法定轻微情节的结案收集书证、物证等鉴定、勘验等其他取证方式登记保全(7日内决定)告知时间、地点当事人质证辩论制作听证笔录不予或免于处罚执行行政复议决定或行政判决书执行当事人15日内到指定银行缴纳罚款,在事后难以执行的以及特殊情况下当场收缴情节较重或重大的送达结案执行行政复议决定或行政判决书执行当事人15日内到指定银行缴纳罚款,在事后难以执行的以及特殊情况下当场收缴事先告知听取陈述申辩组织听证(情节复杂或重大处罚)集体讨论听证告知听证主持人主持听证表明身份、指出违法事实说明处罚理由、听取陈述申辩填写处罚决定书、当场交付作出决定行政处罚执行3 排污费核定征收外部工作流程拒报、谎报逾期不报不合要求排污者提交申报资料初审 支队复核 局领导审签决定 向排污者送达排污核定通知书 公告排污核定结果 移交市地方税务部门 排污者提起复议或诉讼 排污者到市地税办理缴纳排污费手续排污者因不可抗力遭受重大经济损失的,申请减、免、缓缴排污费 责令限期补报 处罚审 查异议 排污者逾期不缴纳的,加收滞纳金并罚款4-1危险废物行政代处置流程图发现违法行为责令限期处置 不处置或处置不符合规定 提出行政代处置建议污防科审核审核结果 告知权利 通过听取陈述、申辩陈述 申辩 复核主管领导审批决定 审核结果同意 交付文书,指定单位代处置通知当事人承担处置费用办理结束 不同意排污者4-2 水污染物行政代处置流程图发现违法行为责令限期处置不按要求治理或不具备治理提出行政代处置建议法规处审核审核结果 告知权利 通过听取陈述、申辩 陈述 申辩 复核 主管领导审批决定 审核结果同意 交付文书,指定单位代处置通知当事人承担处置费用 办理结束 不同意不通过4-3 涉嫌违反医疗废物管理规定的场所、设备、运输工具和物品查封扣押流程图报 告 当场采取强制措施经分管领导批准告知当事人采取行政强制措施的理由、依据、救济途径以及依法享有的权利;听取当事人的陈述和申辩。
一、建设项目环境影响评价审批流程图
不符合政策
符合政策
选址符合要求
编制环评报告书(表)、登记表
3个工作日办结5个工作日办结10个工作日办结
二、建设项目环境保护验收审批
10个工作
日办结
申请告知整监测部及其它相验收改完善门监测关资料意见
事项验收
不达
要求
三、行政处罚流程图
现场执法
调查取证现场调查笔录
提出意见
立案
放弃听证或举行听证会
况向负责人提出意见
制作处罚决定书
当事人15日到指定银行缴纳罚款款的,申请人民法院强制执行
四、排污费征收流程图
维持原决定。