2020年整理工程建设项目审批流程.doc
- 格式:doc
- 大小:62.50 KB
- 文档页数:6
建设项目审批流程
标题:建设项目审批流程
引言概述:
建设项目审批流程是指在建设项目规划、设计、施工等各个阶段中,经过相关部门的审核、审批和监管,确保项目合法合规、安全高效进行的一系列程序。
建设项目审批流程的顺利进行,对于保障项目质量、安全和进度具有重要意义。
一、规划阶段
1.1 制定项目规划方案
1.2 提交规划方案进行初审
1.3 确定规划方案并公示
二、设计阶段
2.1 编制施工图纸
2.2 申请设计方案审批
2.3 完善设计方案并获得批复
三、施工准备阶段
3.1 提交施工组织设计方案
3.2 审批施工组织设计方案
3.3 确定施工组织设计方案并备案
四、施工阶段
4.1 开工前审核
4.2 施工过程监管
4.3 完工验收及竣工备案
五、竣工阶段
5.1 编制竣工验收报告
5.2 竣工验收
5.3 颁发竣工验收证书
建设项目审批流程是建设项目管理中的重要环节,惟独严格按照规定程序进行审批,才干保障项目的质量和安全,确保项目的顺利进行。
同时,建设项目审批流程的透明和高效也是提高政府效能和服务水平的重要手段。
希翼相关部门能够加强对建设项目审批流程的监管,确保其公平、公正、高效进行。
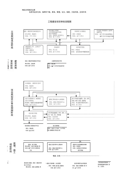
工程建设项目审批流程图立项规划选址阶段︵ 7 个 工 作 日 ︶监理、施工招标阶段︵ 11 个 工 作 日 ︶核发《建设项目选址意见书》 牵头单位:规划局 时间:7个工作日项目建议书审批 可行性研究报告审批 项目申请报告单位:发改局(经贸局) 时间:6个工作日有关部门审批意见(水利、地震等)时间:5个工作日出具初审意见,20个工作日内完成(可并联)消防预审(甲、乙类生产仓储项目) 单位:消防局 时间:5个工作日环保部门立项意见 单位:环保局 时间:5个工作日用地预审单位:国土局 时间:5个工作日环评报告审批 单位:环保局 时间:进入初步设计审批阶段之前核发《建设用地规划许可证》 牵头单位:规划局 时间:5个工作日出具规划、建筑设计条件 单位:规划局 时间:6个工作日项目规划设计审批(招标)阶段︵19个工作日 ︶设计方案招标与/或规划 设计方案审批牵头单位:规划局与/或发改(经贸)局 时间:5个工作日建设工程交易中心招投标单位:建设工程交易中心 时间:3个工作日部门审批意见(消防、人防、水利、管线、海事、航道、地震等) 单位:规划条件要求的部门 时间:4工作日监理、施工招标 牵头单位:发改(经贸)局 时间:8个工作日(同时进行)部门审批意见(消防、环保、水利、人防、气象、国土、管线等) 单位:有关单位 时间:4个工作日初步设计审批 牵头单位:规划局 时间:5个工作日核发建设工程规划许可证 单位:规划局 时间:3工作日办理用地审批手续单位:国土局 时间:16个工作日内完成(可并联)建设用地审批阶段︵ 5 个 工 作 日 ︶建设工程交易中心招投标单位:建设工程交易中心时间:3个工作日审核中介机构编制的预算 单位:财政局时间:发招标文件前完成(可并联)报︵ 3 建设施工报建、核发《建设项目 施工图审查 单位:审图中心与气象局、人防时间:进入报建施工阶段之前房屋白蚁防治合同备案 建设工程质量、安全监督 人防设备合同备案工程建设项目审批流程操作说明工程建设项目审批流程分为立项规划选址、建设用地审批、项目建设招标(审批)、监理施工招标和报建施工五个阶段。
工程建设项目详细审批流程一、工程建设项目筹备阶段审批流程:1.项目可行性研究报告编制和审批:包括项目背景、需求分析、技术方案、投资估算和预测收益等内容。
报告经项目业主审批后,提交相关行政部门进行审批。
2.环境影响评价报告编制和审批:根据国家和地方环境保护政策和法规要求,编制影响评价报告,并提交环保部门进行审批。
3.土地使用规划和土地评估:根据项目需求,编制项目用地规划方案和评估土地价值,并提交相关土地行政主管部门进行审批。
4.工程项目初步设计:依据项目技术要求和功能需求,进行项目初步设计,并提交审批部门审核和批准。
二、工程建设项目立项阶段审批流程:1.项目立项申报:项目业主将项目可行性研究报告、环境影响评价报告、土地使用规划等相关文件提交主管行政部门,并填写项目立项申请表。
2.立项审批:主管行政部门对项目立项申请进行评审,并根据相关法规和政策进行批准或驳回。
3.项目核准文件:经立项审批通过后,主管行政部门出具项目核准文件,包括核准文件编号、项目名称、业主单位、项目所在地等详细信息。
三、工程建设项目设计阶段审批流程:1.施工图设计:根据项目要求,设计单位进行详细设计,包括工程结构设计、设备选型、工程量清单等,并提交给主管设计审核部门进行审批。
2.设计文件审查:设计审核部门对施工图设计进行审核和审批,并提出修改意见和要求。
3.设计文件审批:审查部门审核通过后,出具设计文件审批意见,并将审查结果告知设计单位。
四、工程建设项目招标阶段审批流程:1.招标文件编制:根据工程设计要求和项目招标规则,编制招标文件包括招标投标邀请函、招标公告、章程等,并提交给招标主管部门进行审批。
2.招标文件审批:招标主管部门对招标文件进行审查和审批,并提出修改意见和要求。
3.中标结果批准:经招标过程,招标主管部门批准中标结果,并签发批准文件,确认中标单位。
五、工程建设项目施工阶段审批流程:1.施工方案编制:施工单位根据设计要求和招标文件,编制详细的施工方案,并提交主管施工监测部门进行审批。
工程建设项目审批流程图工程建设项目审批流程操作说明工程建设项目审批流程分为立项规划选址、建设用地审批、项目建设招标(审批)、监理施工招标和报建施工五个阶段。
每个阶段,都由牵头部门先受理审批业务,并指引申办人到其他联办部门办理相关的审批手续。
办理结果最后由牵头部门集中答复申办人(立项规划选址阶段除外)。
申办人办理报建的具体操作步骤如下:第一阶段:立项规划选址阶段一、到规划局(牵头部门)窗口办理《建设项目选址意见书》的审批:(一)提交办理《建设项目选址意见书》所需材料,并领取签收《审批跟踪监督卡》(以下简称《监督卡》)。
(二)凭《监督卡》分别到发改局、环保局、消防局、国土局等联办部门窗口提交相关审批材料,并在《监督卡》上签名确认。
(三)将全部联办部门窗口已签收确认的《监督卡》送回规划局窗口。
(四)到规划局窗口领取和签收《建设项目选址意见书》以及《监督卡》等有关材料,办理承诺时限为7个工作日。
二、到发改局(牵头部门)窗口办理建设项目立项审批(项目不需要办理《建设项目选址意见书》的,由发改局牵头)。
(一)以登记备案方式立项的项目1.提交办理《企业投资项目登记备案》所需材料,并领取《监督卡》。
2.到发改局窗口领取审批结果,并在《监督卡》上签名确认,办理承诺时限为5个工作日。
(二)以其他方式立项的项目1.提交办理《项目建议书》或《可行性研究报告》所需材料,并领取签收《监督卡》。
2.凭《监督卡》分别到环保、国土、规划等联办部门窗口提交相关审批资料,并在《监督卡》上签名确认。
3.将全部联办部门窗口已经签收确认的《监督卡》送回发改局窗口。
4.到发改窗口领取和签收立项意见,办理承诺时限为6个工作日。
第二阶段:建设用地审批阶段到规划局窗口(牵头部门)办理用地审批:(一)提交办理《建设用地规划许可证》的所需材料,并领取签收《监督卡》。
(二)到规划局窗口领取审批结果,在《监督卡》上签名确认,办理承诺时限为5个工作日。
(三)凭《监督卡》到国土局窗口提交相关审批材料,并在《监督卡》上签名确认。
工程建设项目审批流程工程建设项目审批流程是指在国家法律法规的规定下,对各类建设项目进行审批和管理的程序和要求。
该流程的合理性和高效性对于保障工程建设项目的质量和安全具有重要意义,同时也对于推动经济发展和社会进步起着关键作用。
下面将对工程建设项目审批流程进行详细介绍。
首先,工程建设项目审批流程的第一步是项目立项阶段。
在这个阶段,申请单位需要提交项目的可行性研究报告,包括项目的规划、设计、投资估算等内容。
审批部门会对报告进行评估,确定项目的可行性和必要性,从而决定是否批准立项。
接下来是项目的初步设计阶段。
在这个阶段,申请单位需要提交项目的初步设计方案,包括项目的总平面布置、主要建筑物的布置和功能分区、工艺流程、设备布置等内容。
审批部门会对设计方案进行审查,确保设计符合相关的规范和标准,同时满足工程建设的要求。
然后是项目的施工图设计阶段。
申请单位需要提交项目的施工图设计文件,包括建筑、结构、给排水、暖通、电气等专业的施工图纸和技术说明。
审批部门会对施工图设计文件进行审核,确保设计的合理性和施工的可行性,同时保障工程建设的质量和安全。
接着是施工许可阶段。
申请单位需要向审批部门提交施工许可申请,包括项目的施工组织设计、安全施工技术措施、环境保护措施等内容。
审批部门会对申请进行审查,确保项目的施工符合相关的法律法规和标准,保障施工的安全和环保。
最后是竣工验收阶段。
在工程建设项目完成后,申请单位需要向审批部门提交竣工验收申请,包括项目的竣工图纸、竣工验收报告、工程质量检测报告等内容。
审批部门会对申请进行审核,确保工程建设项目符合相关的规范和标准,保障工程的质量和安全。
综上所述,工程建设项目审批流程是一个复杂而严谨的程序,涉及到多个环节和多个方面的内容。
各个环节的审批和管理都需要严格依据国家法律法规和相关标准进行,确保工程建设项目的质量和安全。
同时,审批部门也需要不断优化流程,提高审批效率,为工程建设项目的顺利进行提供有力支持。
工程建设项目详细审批流程随着我国经济的不断发展,工程建设项目的数量和规模逐年增长。
对于工程建设项目的审批流程,我们需要谨慎对待,合理规划,以确保项目在合规和安全的情况下顺利进行。
本文将详细介绍工程建设项目的审批流程,包括立项申请、可行性研究报告、环境影响评价、设计文件审查、施工许可、竣工验收等各个环节。
一、立项申请工程建设项目的审批从立项申请开始。
项目投资单位需要提交书面申请,附上企业法人证书和项目的可行性研究报告。
根据项目的规模和属性,如果需要,还需要提交其他相关证明材料。
审批机构在收到申请后,将进行初步审查,确认申请材料是否齐全,如果不齐全,将要求企业补充完善。
如果申请材料齐全,将会进入下一步审批流程。
二、可行性研究报告可行性研究报告是项目立项的重要依据,也是项目政府审批的基础之一。
可行性研究报告需要包括项目的经济、技术、市场、环境、社会等各个方面的内容,以评估项目的可行性和在实施过程中可能面临的挑战。
经过专业的评估、论证和批准,才能确定项目的实施方案和投资计划,确保项目的可行性和经济效益。
三、环境影响评价环境影响评价是现代化建设的必要要求,是项目保证环保安全的必要环节。
环境影响评价需要综合考虑项目建设的各个方面,包括建设工程的选址、规划、设计、施工、运营和拆除等因素。
评价过程中,需要采取科学的评估工具和方法,分析和预测项目对环境的潜在影响,并提出相应的环保措施和监测方案。
四、设计文件审查设计文件审查是为了保证工程建设符合规范、满足安全要求和质量标准,并确保设计方案合理和可行。
设计文件审查需要根据国家有关标准和规范进行,由专业人员对设计文件进行技术审查、质量审查、经济审查等不同角度的评估。
审查结果将作为后续工程建设的依据和操作指南。
五、施工许可施工许可是项目进入实施阶段的必要步骤。
施工许可需要由相应的行政机关或部门进行审核和审批,并对项目的施工区域、时间、方式、施工材料等进行规定和监管。
在获得施工许可后,建设单位需要按照规定履行施工许可手续,保证工程建设的顺利进行。
建设项目审批流程建设项目审批流程是指在建设项目的前期准备阶段,经过一系列的审批程序和环节,确保项目的合法性、可行性和安全性,最终获得相关部门的批准和许可,从而正式启动和实施项目。
下面将详细介绍建设项目审批流程的各个环节和相关要求。
一、项目前期准备1.项目立项:申请人根据项目需求和市场调研,编制项目建议书,包括项目背景、目标、可行性分析等内容,并提交给相关部门进行审批。
2.土地使用规划:申请人向国土资源部门提出土地使用申请,包括土地用途、规模、位置等信息,并提供相关证明材料。
3.环境影响评价:申请人委托第三方机构进行环境影响评价,评估项目对环境的影响程度,并编制环境影响评价报告,提交给环保部门进行审批。
二、项目审批阶段1.初步审批:相关部门对项目的可行性、合规性进行初步审查,包括项目的技术、经济、环境等方面的评估,以及项目的社会效益和风险评估。
2.详细设计审查:申请人提交项目的详细设计文件,包括工程图纸、施工方案、材料清单等,相关部门对设计文件进行审查,确保其符合相关标准和规范。
3.安全审查:申请人提交项目的安全生产方案和应急预案,相关部门对其进行审查,确保项目在施工和运营过程中的安全性。
4.用地审批:国土资源部门对项目的土地使用申请进行审批,包括土地出让、租赁、划拨等手续。
5.环境审批:环保部门对项目的环境影响评价报告进行审批,确保项目符合环境保护要求。
6.资金审批:申请人向相关部门提交项目的资金计划和融资方案,相关部门对其进行审查,并决定是否给予资金支持。
7.施工许可:相关部门对项目的施工方案进行审查,并颁发施工许可证,允许项目进入施工阶段。
三、项目实施阶段1.施工过程监管:相关部门对项目的施工过程进行监督和检查,确保施工符合相关规范和标准。
2.质量验收:项目竣工后,相关部门对项目进行质量验收,包括工程结构、设备安装、工艺流程等方面的检查。
3.环境监测:相关部门对项目的环境影响进行监测和评估,确保项目的环境影响符合相关要求。
工程建设项目审批流程工程建设项目审批流程是指在进行工程建设项目前,经过一系列审批程序的过程。
审批流程的目的是为了确保投资项目的合法性、合规性和可行性,保障公共利益和环境安全。
整个审批流程一般包括项目可行性研究阶段、初步设计阶段、施工图设计阶段、环境影响评价阶段、相关部门审批阶段和项目评估报告审定阶段等。
首先,在项目可行性研究阶段,项目申请人需要提交一份详细的项目可行性研究报告,报告中应包括项目的技术可行性、经济可行性和社会可行性等方面的内容。
项目可行性研究报告需要经过技术专家、经济专家、环境专家等多个专业部门的审核和评估,以确保项目的可行性。
接下来,在初步设计阶段,项目申请人需要提交一份初步设计方案。
初步设计方案应包括项目的总体布局、主要设备和工程量的估算等内容。
初步设计方案也需要经过多个专业部门的审核和评估,以确保方案的合理性和科学性。
然后,在施工图设计阶段,项目申请人需要根据初步设计方案,制定详细的施工图设计方案。
施工图设计方案需要符合国家相关标准和规范,同时还要满足环境保护和安全生产的要求。
施工图设计方案也需要由相关部门进行审核和审批。
在环境影响评价阶段,项目申请人需要委托专业机构进行环境影响评价。
环境影响评价报告应包括项目的环境影响预测、环境保护措施和环境影响监测等内容。
环境影响评价报告也需要经过环境保护部门的审核和批准。
接下来,在相关部门审批阶段,项目申请人需要根据工程建设项目的性质和规模,向相关部门提交申请材料,包括项目申请书、项目可行性研究报告、初步设计方案、施工图设计方案、环境影响评价报告等。
相关部门会对申请材料进行审核和审批。
最后,在项目评估报告审定阶段,审批部门需要对整个项目进行全面评估。
评估报告应包括项目的经济效益、社会效益和环境效益等内容。
评估报告需要经过相关部门的审定,以决定是否批准项目的建设。
总之,工程建设项目审批流程是一个严格的程序,需要涉及多个专业部门的审核和评估。
建设项目审批流程标题:建设项目审批流程引言概述:建设项目审批流程是指在规划、设计、施工等各个阶段,政府部门对建设项目进行审批和监管的过程。
良好的审批流程能够保障建设项目的合法性和安全性,促进城市建设的有序发展。
一、前期准备阶段1.1 制定项目规划:明确项目的定位、规模、功能等,编制项目规划书。
1.2 资金筹措:确定项目资金来源,编制资金筹集方案。
1.3 土地手续:办理土地使用权手续,确保项目用地合法性。
二、设计阶段2.1 设计方案审批:提交设计方案,经相关部门审批通过。
2.2 环境影响评价:进行环境影响评价,获得环评批复。
2.3 施工图审查:提交施工图纸,经审查合格后获得审图意见。
三、施工阶段3.1 施工许可证:申请施工许可证,符合条件后获得许可。
3.2 施工合同签订:与施工单位签订合同,明确工程进度和质量要求。
3.3 安全生产监督:加强施工现场安全监督,确保施工安全。
四、竣工验收阶段4.1 竣工验收申请:工程完工后提出竣工验收申请。
4.2 竣工验收评定:相关部门对工程进行验收评定,出具验收报告。
4.3 竣工备案手续:完成竣工备案手续,办理相关手续。
五、后期监管阶段5.1 工程维护管理:建立工程维护管理制度,定期维护保养工程设施。
5.2 监督检查:政府部门定期对建设项目进行监督检查,确保项目运行正常。
5.3 整改处理:对发现的问题及时整改处理,保障建设项目的安全运行。
结语:建设项目审批流程是保障建设项目合法性和安全性的重要环节,各个阶段的审批工作都需要严格按照规定程序进行,确保建设项目的顺利进行和安全运行。
同时,政府部门应加强监管力度,提高审批效率,促进城市建设的有序发展。
工程建设项目审批流程
一、引言
工程建设项目是指为达到特定目的,经过科学可行性研究,并具有明确的技术经济指标和实施计划的工程活动。
在实施工程建设项目前,需要经过一系列审批流程,以确保项目的合法性和可行性。
二、审批流程概述
工程建设项目的审批流程是指项目申请方向有关部门提交相关申请,按照一定的程序经批准机构或专业委员会逐级审批核准的过程。
审批流程涵盖了从项目立项、规划设计、环评审批、施工批准到竣工验收等各个阶段。
三、审批流程详述
1. 项目立项阶段
•提交《工程建设项目立项申请书》•组织相关专家评审
•审查合规性,确定项目可行性
2. 规划设计阶段
•编制项目前期可行性研究报告•设计方案编制
•审查设计方案,确定合理性
3. 环境影响评价审批
•编制《环境影响报告书》
•环境影响评价机构审核
•环保部门审批
4. 施工批准阶段
•提交施工图设计文件
•相关行政部门审批
•签发施工许可证
5. 竣工验收阶段
•施工完成后提交竣工验收材料•验收单位组织验收
•签发竣工验收证明
四、相关法规规定
工程建设项目审批流程受《建设工程管理法》、《建设工程施工
规范》等法规的约束,审批单位必须严格按照相关规定办理审批手续。
五、审批流程优化建议
•建立信息化管理系统,加快审批流程
•简化审批手续,提高审批效率
•强化监督和督促,确保审批公正
六、结论
工程建设项目审批流程是保障工程建设项目合法性和经济性的重
要环节,各相关单位应依法依规进行审批,并通过不断优化流程,提
高审批效率,促进工程建设事业的可持续发展。
建设项目审批流程引言概述:建设项目审批流程是指在建设项目启动前,需要经过一系列的审批程序,以确保项目的合法性、可行性和安全性。
本文将详细介绍建设项目审批流程的五个主要部份,包括项目立项、环境评估、规划审批、建设许可和竣工验收。
一、项目立项:1.1 项目可行性研究报告的编制:项目申请方需编制项目可行性研究报告,包括项目背景、市场分析、技术方案、经济效益等内容,以证明项目的可行性。
1.2 项目初步设计的审查:审查机构对项目的初步设计进行审核,包括项目的总体布局、建造结构、设备选型等方面,以确保项目的合理性和安全性。
1.3 项目立项批复:审查机构根据项目可行性研究报告和初步设计审查结果,决定是否批准项目立项,并发出项目立项批复文件。
二、环境评估:2.1 环境影响评价报告的编制:项目申请方需编制环境影响评价报告,对项目可能产生的环境影响进行评估,包括大气、水体、土壤、噪声等方面。
2.2 环境影响评价报告的审核:环境保护部门对环境影响评价报告进行审核,评估报告的真实性和科学性,以确保项目对环境的影响在可控范围内。
2.3 环境影响评价批复:环境保护部门根据环境影响评价报告和审核结果,决定是否批准项目的环境影响评价,并发出环境影响评价批复文件。
三、规划审批:3.1 城市规划方案的编制:项目申请方需编制城市规划方案,包括项目用地规划、建造规模、道路交通等方面,以符合城市规划要求。
3.2 城市规划方案的审查:城市规划部门对城市规划方案进行审查,评估方案的合理性和符合性,以保障城市的整体规划和发展。
3.3 规划审批文件的颁发:城市规划部门根据城市规划方案和审查结果,决定是否颁发规划审批文件,并通知项目申请方。
四、建设许可:4.1 建设工程规划许可证的申请:项目申请方向建设主管部门提交建设工程规划许可证的申请,包括项目的建设规模、工程划分、施工方案等内容。
4.2 建设工程规划许可证的审查:建设主管部门对建设工程规划许可证进行审查,评估申请的合规性和符合性,以确保项目的合法性和安全性。
工程建设项目审批流程(备案制)一、企业投资项目建设的审批流程(一)立项规划选址阶段1、项目备案。
如建设项目不使用政府性资金,也不属于《政府核准的投资项目目录(XX省2004年本)》规定的范围的,则项目业主单位只需向发改委申请办理项目备案取得企业投资项目备案通知书,并附企业营业执照或者法人证书、组织机构代码证等文件复印件。
备案后,再向国土、规划、建设、环保等部门申请办理项目建设审批手续。
2、从规划部门取得建设项目选址意见书。
项目业主单位向规划部门提交建设项目选址定点申请报告、建设项目选址方案文本及建设项目预可行性阶段资料等,由规划部门核发《项目选址意见书》。
3、在国土部门办理建设项目用地预审手续。
在建设项目审批、核准、备案阶段,在建设项目办理备案手续后,由建设单位向国土管理部门提出用地预审申请,由国土部门对建设项目涉及的土地利用事项进行的审查。
4、环评审批。
项目立项后,项目业主单位向环保部门提交2014下半年教师资格证统考大备战中学教师资格考试小学教师资格考试幼儿教师资格考试教师资格证面试具备环评资质的环评单位编制的环境影响报告书,申请办理环评审批,取得环保部门对项目环境影响报告书的批复。
(二)建设用地审批阶段1、取得土地使用权证。
项目立项后,项目业主单位通过公开土地出让程序依法取得项目用地的土地使用权证。
2、取得建设用地规划许可证。
项目业主单位在项目立项后,并取得选址意见书、土地使用权证后,向规划部门提交经审定的修建性详细规划总平面设计方案等材料,办理建设用地规划许可证。
3、办理建设用地批准书。
项目业主取得建设用地规划许可证后,向国土部门办理建设用地批准书。
(三)项目规划设计审批阶段1、设计方案审批。
项目业主单位按照土地出让合同的要求,组织编制设计方案(依法需以招标方式确定设计、勘察单位的,应进行招标)并报送规划管理部门审批。
规划管理部门在收到设计方案后,审核并出具意见。
2、施工图设计文件审查。
建设项目审批流程
一、项目信息录入
1、建设性项目的项目信息首先要由建设单位填写完善;
2、填写完善后提交相关部门审核;
3、审核通过后,将项目信息录入相关信息平台,提交审批单位审核
审定。
二、项目可行性分析
1、建设单位要根据建设投资的需要,分析项目的可行性,比如资金、专业技术、后期服务等;
2、分析完毕后向相关专家进行审核;
3、相关部门收集审核结果后,审核可行性分析报告;
4、审核通过后,将可行性分析报告提交审批单位审核、审定;
三、项目审批
1、审批单位审核收集的项目信息及可行性分析报告;
2、审核后,向建设单位发出项目审批意见书或决定书;
3、审批通过后,进入下一阶段建设准备工作。
四、建设准备
1、建设单位要根据审批单位的意见,制定好建设方案,并完成建设
资料;
2、建设单位对建设资料进行审核;
3、建设单位提交建设资料,审批单位审核;
4、审核通过后,进入下一阶段建设合同审批。
五、建设合同审批
1、建设单位按照建设方案,要订立好建设合同;
2、建设单位对建设合同进行审查;。
工程建设项目审批流程图立项规划选址阶段个工作建设用地审批阶段(5个工作日)项目规划设计审莅招那阶段(1个工作日)工程建设项目审批流程操作说明工程建设项目审批流程分为立项规划选址、建设用地审批、项目建设招标(审批)、监理施工招标和报建施工五个阶段。
每个阶段,都由牵头部门先受理审批业务,并指引申办人到其他联办部门办理相关的审批手续。
办理结果最后由牵头部门集中答复申办人(立项规划选址阶段除外)。
申办人办理报建的具体操作步骤如下:第一阶段:立项规划选址阶段一、到规划局(牵头部门)窗口办理《建设项目选址意见书》的审批:(一)提交办理《建设项目选址意见书》所需材料,并领取签收《审批跟踪监督卡》(以下简称《监督卡》)。
(二)凭《监督卡》分别到发改局、环保局、消防局、国土局等联办部门窗口提交相关审批材料,并在《监督卡》上签名确认。
(三)将全部联办部门窗口已签收确认的《监督卡》送回规划局窗口。
(四)到规划局窗口领取和签收《建设项目选址意见书》以及《监督卡》等有关材料,办理承诺时限为7个工作日。
二、到发改局(牵头部门)窗口办理建设项目立项审批(项目不需要办理《建设项目选址意见书》的,由发改局牵头)。
(一)以登记备案方式立项的项目1.提交办理《企业投资项目登记备案》所需材料,并领取《监督卡》。
2.到发改局窗口领取审批结果,并在《监督卡》上签名确认,办理承诺时限为5个工作日。
(二)以其他方式立项的项目1.提交办理《项目建议书》或《可行性研究报告》所需材料,并领取签收《监督卡》2.凭《监督卡》分别到环保、国土、规划等联办部门窗口提交相关审批资料, 并在《监督卡》上签名确认。
3.将全部联办部门窗口已经签收确认的《监督卡》送回发改局窗口。
4.到发改窗口领取和签收立项意见,办理承诺时限为6个工作日。
第二阶段:建设用地审批阶段到规划局窗口(牵头部门)办理用地审批:(一)提交办理《建设用地规划许可证》的所需材料,并领取签收《监督卡》。
第一步: 编制可研报告,取得发改委“立项批复”。
第二步:取得国土局“用地预审意见”。
第三步:取得环保局“环境评估审查意见”。
第四部:取得规委给发改委的“规划意见函复"。
第五步:取得规委给建委的“规划意见函复”.第六步: 取得建委的“选址意见通知书”。
第七步:取得发改委的“招投标方式通知书”.第八步:委托招投标代理公司完成设计招投标,发出中标通知书,取得规委的“设计招投标备案回执”.第九步:取得规委的“规划意见通知书(选址)”。
第十步:完成方案设计,取得规委的“设计方案审查意见"。
第十一步:完成初步设计及概预算编制,取得发改委的“初步设计及概预算审查意见"。
第十二步:取得规委的“钉桩通知单”,委托测绘院钉桩,取得“钉桩成果通知书”。
第十三步:取得规委的“用地规划许可证”。
第十四步:取得建委的“征地计划通知书"。
第十五步:取得国土局的“建设用地批准书"。
第十六步:完成人防报批图纸设计,取得人防办的“人防设计审查意见”。
第十七步:完成消防报批图纸设计,取得消防局的“消防设计审查意见”.第十八步:完成园林报批图纸设计,取得园林局的“园林设计审查意见”。
第十九步:委托编制交通影响评估报告,取得交通委的“交通审查意见”.第二十步:委托勘察院进行地质勘探,取得“地质勘探报告”。
第二十一步:取得建委的“年度施工计划通知书”.第二十二步:设计院完成规证报批图纸设计,取得规委的“工程规划许可证“。
第二十三步:与原土地方完成安置补偿工作,签定“安置补偿协议”。
第二十四步:完成水、电、气、暖、信、路等市政供源方案设计,取得市政院的“市政供源方案”.第二十五步:取得园林局的“树木伐移许可证”。
第二十六步:取得建委的“拆迁许可证"及“渣土消纳许可证”.第二十七步:取得国土局的“国有土地划拨决定书”第二十八步:取得国土局的“国有土地使用证".第二十九步:设计院完成全套施工图设计,取得审查机构的“施工图审查合格书”。
工程建设项目审批流程图
工程建设项目审批流程操作说明
工程建设项目审批流程分为立项规划选址、建设用地审批、项目建设招标(审批)、监理施工招标和报建施工五个阶段。
每个阶段,都由牵头部门先受理审批业务,并指引申办人到其他联办部门办理相关的审批手续。
办理结果最后由牵头部门集中答复申办人(立项规划选址阶段除外)。
申办人办理报建的具体操作步骤如下:
第一阶段:立项规划选址阶段
一、到规划局(牵头部门)窗口办理《建设项目选址意见书》的审批: (一)提交办理《建设项目选址意见书》所需材料,并领取签收《审批跟踪监督卡》(以下简称《监督卡》)。
(二)凭《监督卡》分别到发改局、环保局、消防局、国土局等联办部门窗口提交相关审批材料,并在《监督卡》上签名确认。
(三)将全部联办部门窗口已签收确认的《监督卡》送回规划局窗口。
(四)到规划局窗口领取和签收《建设项目选址意见书》以及《监督卡》等有关材料,办理承诺时限为7个工作日。
二、到发改局(牵头部门)窗口办理建设项目立项审批(项目不需要办理《建设项目选址意见书》的,由发改局牵头)。
(一)以登记备案方式立项的项目
1.提交办理《企业投资项目登记备案》所需材料,并领取《监督卡》。
2.到发改局窗口领取审批结果,并在《监督卡》上签名确认,办理承诺时限为5个工作日。
(二)以其他方式立项的项目
说明:
1、整个审批流程为45个工作日。
2、圆角矩形是可选过程;虚线是指审批可跨阶段完成。
3、以上流程属市、区审批权限项目,如报省审批项目,无时间承诺。
1.提交办理《项目建议书》或《可行性研究报告》所需材料,并领取签收《监督卡》。
2.凭《监督卡》分别到环保、国土、规划等联办部门窗口提交相关审批资料,并在《监督卡》上签名确认。
3.将全部联办部门窗口已经签收确认的《监督卡》送回发改局窗口。
4.到发改窗口领取和签收立项意见,办理承诺时限为6个工作日。
第二阶段:建设用地审批阶段
到规划局窗口(牵头部门)办理用地审批:
(一)提交办理《建设用地规划许可证》的所需材料,并领取签收《监督卡》。
(二)到规划局窗口领取审批结果,在《监督卡》上签名确认,办理承诺时限为5个工作日。
(三)凭《监督卡》到国土局窗口提交相关审批材料,并在《监督卡》上签名确认。
(四)到国土局窗口领取审批结果,在监督卡上签名确认,办理承诺时限为16个工作日。
第三阶段:项目规划设计审批(招标)阶段
一、办理规划、建筑设计条件
(一)到规划局窗口提交办理规划、建筑设计条件所需材料,并在《监督卡》上签名确认。
(二)到规划局窗口领取审批结果,在《监督卡》上签名确认,办理承诺时限为6个工作日。
二、办理设计方案招标
(一)需要进行设计方案招标的项目:到发改局或经贸局(牵头部门)窗口办理设计方案招标审批:
1.到发改局或经贸局(牵头部门)窗口办理招标核准意见。
2.到发改局或经贸局窗口领取和签收招标核准意见以及《监督卡》等有关材料,办理承诺时限为3个工作日。
3.凭《监督卡》到建设工程交易中心办理委托招标手续,并在《监督卡》上签名确认(建设工程交易中心自受理委托之日起2个工作日内将招标信息上网公告)。
4.到建设工程交易中心领取中标通知书(建设工程交易中心在中标结果公示完成后1个工作日内发出中标通知书)。
(二)不需要进行设计方案招标的项目:到规划局(牵头部门)窗口办理规划设计方案和审批:
1.提交办理规划设计方案和审批的所需材料,并领取签收《监督卡》。
2.凭《监督卡》分别到环保局、人防办等联办部门窗口提交相关审批材料,并在《监督卡》上签名确认。
3.将全部联办部门窗口已经签收确认的《监督卡》送回规划局窗口。
4.到规划局窗口领取审批结果,并在《监督卡》上签名确认,办理承诺时限为5个工作日。
三、到规划局(牵头部门)窗口办理初步设计审批:
(一)提交办理初步设计审批的所需材料,并领取签收《监督卡》。
(二)凭《监督卡》分别到环保局、人防办、气象局等联办部门窗口提交相关审批材料,并在《监督卡》上签名确认。
(三)将全部联办部门窗口已经签收确认的《监督卡》送回规划局窗口。
(四)到规划局窗口领取审批结果,并在《监督卡》上签名确认,办理承诺时限为5个工作日。
四、到规划局(牵头部门)窗口办理核发《建设工程规划许可证》的审批:
(一)提交办理核发《建设工程规划许可证》的所需材料,并领取签收《监督卡》。
(二)凭《监督卡》分别到气象局、人防办等联办部门窗口提交相关审批材料,并在《监督卡》上签名确认,气象局办理承诺时限为5个工作日,凭《监督卡》领取和签收办理结果。
(三)到规划局窗口领取审批结果,并在《监督卡》上签名确认,办理承诺时限为3个工作日。
第四阶段:监理、施工招标阶段
到发改局或经贸局(牵头部门)窗口办理监理、施工招标的审批:
(一)提交办理监理、施工招标审批的所需材料,并领取签收《监督卡》。
(二)凭《监督卡》分别向财政局等联办部门窗口提交相关的审批材料,并在《监督卡》上签名确认。
(三)将已经联办部门窗口签收确认的《监督卡》送回发改局或经贸局窗口。
(四)到发改局或经贸局窗口领取和签收招标核准意见以及领取《监督卡》等有关材料,办理承诺时限为3个工作日。
(五)凭《监督卡》到审图中心领取和签收办理结果,办理承诺时限为5个工作日。
(六)凭《监督卡》到财政局窗口签收办理结果,办理承诺时限为8个工作日。
(七)凭《监督卡》到建设工程交易中心办理委托招标手续(建设工程交易中心自受理委托之日起2个工作日内将招标信息上网公告)。
(八)将《监督卡》送回发改局或经贸局窗口。
(九)到建设工程交易中心领取中标通知书(建设工程交易中心在中标结果公示后1个工作日内发出中标通知书)。
第五阶段:报建、施工阶段
到建设局(牵头部门)窗口办理工程报建、施工的审批:
(一)提交办理建设施工报建、核发《建设项目施工许可证》审批的所需材料,并领取签收《监督卡》。
(二)凭《监督卡》分别到质监站、安监站、人防办等联办部门窗口提交相关材料,并在《监督卡》上签名确认。
(三)将已经质监站、安监站、人防办等联办部门窗口签收确认的《监督卡》送回建设局窗口。
(四)到建设局窗口领取审批结果,并在《监督卡》上签名确认,办理承诺时限为3个工作日。
注意事项:
一、以上文字说明提及的大部分部门都在行政服务中心内设有受理窗口,申办者只须将相关材料按要求提交到中心内各窗口即可办理。
二、各审批部门窗口受理时须将审批过程中应提交的材料、应注意的事项和具体的办理程序一次性明确告知申办者。
三、各阶段的审批时限从最后一个收到申办者交送材料的审批部门窗口签收次日开始计算。
如申办者报送的材料不符合要求,需要修改或补交的,则审批时限从申办者修改或补交材料的次日开始重新计算。
四、报建每一阶段都设有一张《监督卡》,审批部门窗口和申办人须按要求填写交接《监督卡》,作为监督各审批部门窗口工作时效和受理申办者投诉的依据。
每一报建阶段结束后,《监督卡》交由该阶段的牵头部门窗口保存。