建设项目行政审批基本流程图
- 格式:doc
- 大小:38.02 KB
- 文档页数:2
一般社会投资工程建设项目审批服务通用流程图以下是一般社会投资工程建设项目审批服务通用流程图:1.项目前期准备阶段-项目拟定:确定项目的基本内容、计划、预算等,并进行初步可行性研究。
-相关部门协商:与相关的政府部门协商,并了解项目申请所需材料和程序。
-准备材料:准备项目申请所需的所有材料,包括项目报告、可行性研究报告、土地使用权证、环境影响评价报告等。
2.项目申请阶段-递交申请:将准备好的项目申请材料递交到相关政府部门,并按照要求缴纳相应的申请费用。
-审查材料:相关政府部门会对递交的申请材料进行审核,并核实申请人的身份和资质。
-反馈意见:如果申请材料不完整或不符合要求,政府部门会向申请人反馈,并要求补充或修改相应的材料。
3.审批过程阶段-评估项目:政府部门会对申请的项目进行评估,包括项目的可行性、经济效益、环境影响等方面。
-许可证发放:如果项目评估通过,政府部门会发放相应的许可证,即批准项目进行建设的法定证书。
-批复文件:政府部门会根据评估结果发出批复文件,明确项目建设的条件和要求。
4.施工阶段-建设准备:根据批复文件的要求,项目建设单位开始进行具体的建设准备工作,包括项目招标、选址、施工队伍组建等。
-建设监督:政府部门会对项目进行监督和检查,确保项目的建设按照批复文件的要求进行,并及时解决建设过程中的问题和风险。
-完工验收:项目建设完成后,政府部门会进行验收,核实项目是否按照批复文件的要求建设完成。
5.运营阶段-开业运营:项目经过验收合格后开始运营,提供相应的服务和产品。
-运营监管:政府部门会对项目的运营进行监管,确保项目符合相关法规和政策,并保障消费者的权益。
-中期评估:一段时间后,政府部门会对项目的运营情况进行评估,包括经济效益、社会效益、环境影响等方面。
以上是一般社会投资工程建设项目审批服务的通用流程图。
实际流程可能会因地区、项目性质等因素略有差异,但整体流程与步骤大致相似。
该流程图可以作为投资者和项目建设单位了解项目审批过程的参考,以便对项目的可行性和风险进行评估和决策。
建设工程施工许可流程图(承诺件)建设工程施工许可办事指南一、审批依据《中华人民共和国建筑法》第7条,《建筑工程施工许可证管理办法》第2条二、审批范围日照市城市规划区范围内三、申报材料1、《建筑工程施工许可申请表》(一式二份)2、投资50万元以上的建设工程项目已完成的报建登记3、资金证明:提供银行出具的到位资金证明(工期不足一年的,不少于工程合同价的50%,超过一年的,不少于30%)4、经审查的施工图文件一套5、建设工程规划许可证6、建设单位清欠证明7、人防费缴纳证明8、经审核的安全防护、文明施工措施费的支付计划及预存证明9、招标的工程提供中标通知书一份10、施工企业资质证书(副本)11、施工合同副本、《廉政责任书》,应当实行监理的工程提供监理合同副本12、提供施工组织设计一份(有保证工程质量和安全的具体措施)13、山东省建设工程质量保证金合同14、施工企业清欠证明15、办理了建设工程质量监督、安全报监等手续(包括安全防护、环境污染防护措施,专项安全技术方案等)16、建筑垃圾处置许可手续17、法律、法规规定的其他条件四、审批程序窗口审查资料,现场勘察,缴纳费用,发放施工许可证五、承诺时限5个工作日六、收费标准及其依据1、卫生押金标准:2元/平方米。
依据:《日照市城市规划建设管理暂行规定》2、工程定额测定费标准:工程造价的0。
09%.依据:山东省物价局、财政厅《转发国家计委、财政部〈关于全面整顿住房建设收费取消部分收费项目的通知>的通知》(鲁价费发〔2001〕301号)法定依据1、《中华人民共和国建筑法》第七条:建筑工程开工前,建设单位应当按照国家有关规定向工程所在地县级以上人民政府建设行政主管部门申请领取施工许可证。
2、《建筑工程施工许可证管理办法》第二条:在中华人民共和国境内从事各类房屋建筑及其附属设施的建造、装修装饰和与其配套的线路、管道、设备的安装,以及城镇市政基础设施工程的施工,建设单位在开工前应当依照本办法的规定,向工程所在地的县级以上人民政府建设行政主管部门申请领取施工许可证。
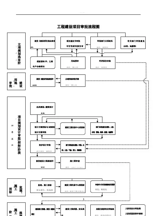
工程建设项目审批流程图工程建设项目审批流程操作说明工程建设项目审批流程分为立项规划选址、建设用地审批、项目建设招标(审批)、监理施工招标和报建施工五个阶段.每个阶段,都由牵头部门先受理审批业务,并指引申办人到其他联办部门办理相关的审批手续.办理结果最后由牵头部门集中答复申办人(立项规划选址阶段除外).申办人办理报建的具体操作步骤如下:第一阶段:立项规划选址阶段一、到规划局(牵头部门)窗口办理《建设项目选址意见书》的审批:(一)提交办理《建设项目选址意见书》所需材料,并领取签收《审批跟踪监督卡》(以下简称《监督卡》)。
(二)凭《监督卡》分别到发改局、环保局、消防局、国土局等联办部门窗口提交相关审批材料,并在《监督卡》上签名确认。
(三)将全部联办部门窗口已签收确认的《监督卡》送回规划局窗口.(四)到规划局窗口领取和签收《建设项目选址意见书》以及《监督卡》等有关材料,办理承诺时限为7个工作日.二、到发改局(牵头部门)窗口办理建设项目立项审批(项目不需要办理《建设项目选址意见书》的,由发改局牵头).(一)以登记备案方式立项的项目1。
提交办理《企业投资项目登记备案》所需材料,并领取《监督卡》。
2.到发改局窗口领取审批结果,并在《监督卡》上签名确认,办理承诺时限为5个工作日.(二)以其他方式立项的项目1.提交办理《项目建议书》或《可行性研究报告》所需材料,并领取签收《监督卡》。
2.凭《监督卡》分别到环保、国土、规划等联办部门窗口提交相关审批资料,并在《监督卡》上签名确认。
3.将全部联办部门窗口已经签收确认的《监督卡》送回发改局窗口。
4。
到发改窗口领取和签收立项意见,办理承诺时限为6个工作日。
第二阶段:建设用地审批阶段到规划局窗口(牵头部门)办理用地审批:(一)提交办理《建设用地规划许可证》的所需材料,并领取签收《监督卡》。
(二)到规划局窗口领取审批结果,在《监督卡》上签名确认,办理承诺时限为5个工作日.(三)凭《监督卡》到国土局窗口提交相关审批材料,并在《监督卡》上签名确认。
工程建设项目审批流程图工程建设项目审批流程操作说明工程建设项目审批流程分为立项规划选址、建设用地审批、项目建设招标(审批)、监理施工招标和报建施工五个阶段。
每个阶段,都由牵头部门先受理审批业务,并指引申办人到其他联办部门办理相关的审批手续。
办理结果最后由牵头部门集中答复申办人(立项规划选址阶段除外)。
申办人办理报建的具体操作步骤如下:第一阶段:立项规划选址阶段一、到规划局(牵头部门)窗口办理《建设项目选址意见书》的审批: (一)提交办理《建设项目选址意见书》所需材料,并领取签收《审批跟踪监督卡》(以下简称《监督卡》)。
(二)凭《监督卡》分别到发改局、环保局、消防局、国土局等联办部门窗口提交相关审批材料,并在《监督卡》上签名确认。
(三)将全部联办部门窗口已签收确认的《监督卡》送回规划局窗口。
(四)到规划局窗口领取和签收《建设项目选址意见书》以及《监督卡》等有关材料,办理承诺时限为7个工作日。
二、到发改局(牵头部门)窗口办理建设项目立项审批(项目不需要办理《建设项目选址意见书》的,由发改局牵头)。
(一)以登记备案方式立项的项目1.提交办理《企业投资项目登记备案》所需材料,并领取《监督卡》。
2.到发改局窗口领取审批结果,并在《监督卡》上签名确认,办理承诺时限为5个工作日。
(二)以其他方式立项的项目 1.提交办理《项目建议书》或《可行性研究报告》所需材料,并领取签收《监督卡》。
说明:1、整个审批流程为45个工作日。
2.凭《监督卡》分别到环保、国土、规划等联办部门窗口提交相关审批资料,并在《监督卡》上签名确认。
3.将全部联办部门窗口已经签收确认的《监督卡》送回发改局窗口。
4.到发改窗口领取和签收立项意见,办理承诺时限为6个工作日。
第二阶段:建设用地审批阶段到规划局窗口(牵头部门)办理用地审批:(一)提交办理《建设用地规划许可证》的所需材料,并领取签收《监督卡》。
(二)到规划局窗口领取审批结果,在《监督卡》上签名确认,办理承诺时限为5个工作日。
青岛市工程建设项目审批流程图
青岛市工程建设项目审批流程图
青岛市工程建设项目审批流程图是一个复杂的过程,涉及到多个部门和环节。
为了更好地了解这个过程,我们绘制了以下的审批流程图。
青岛市工程建设项目审批流程图
审批流程图说明:
1、工程建设项目申报单位需先在工程建设项目审批系统(EPS系统)进行项目申报。
2、市行政审批局负责接收、核对、转办、送达审批结果。
3、审批过程中,涉及到的规划、土地、住建、消防、环保等相关部门需积极配合。
4、审批流程中涉及到的每个环节都有相应的审核标准和审核时间,具体审核标准和审核时间由相关责任部门确定。
5、审批流程图中的各个环节如有未达到审核标准的,将由相关责任部门提出退件、补正等处理意见。
6、审批流程图中各个环节的审核时间计算从接收申报材料开始,到最终审批结束。
7、审批流程图中各个环节的具体办理时间应当在法定办理期限内完成。
总结:
通过以上的审批流程图,我们可以清晰地了解青岛市工程建设项目审批的整个过程。
这个过程涉及到多个部门和环节,需要各部门的积极配合和严格审核。
在审批过程中,每个环节都有相应的审核标准和审核时间,以确保整个审批过程的公正、透明和高效。
基本建设项目审批服务流程图(镇)一、办理一般基本建设项目立项审批手续基本建设项目立项审批是指对各类基本建设投资项目的项目建议书、可行性研究报告等的申报、论证、审查、批复(批准、备案、转报)的过程。
(一)领取投资建设项目申请表1、受理地址:发改局窗口,联系电话:879719762、在发改局窗口领取投资建设项目申请表3、前置部门意见:在填写投资建设项目申请表的过程中,发改局窗口会根据申报项目的情况向建设单位提出需前置的部门(如:城市规划行政主管部门出具的规划选址意见;国土资源行政主管部门出具的项目用地预审意见;环境保护行政主管部门出具的环境影响评价文件的审批意见)。
建设单位到有关窗口和部门在投资建设项目申请表上盖章。
(二)领取基本建设项目立项批复在前置部门意见签署同意后,即去申领基本建设项目立项批复。
1、受理地址:发改局窗口,联系电话:879719762、申报资料:(1)投资建设项目申请表(前置部门签署同意意见的);(2)项目建议书或可行性报告;(3)项目建设规划总平面图。
3、承诺时限:5个工作日4、收费标准:散装水泥专项基金:生产企业销售袋装水泥预收为1元/吨;使用单位使用袋装水泥为4元/吨(农民建房除外)注意事项:1、需新增土地的新办工业企业,按照工业向园区集中的要求,在企业申报材料上注明项目性质、建设地址,在发改局窗口立项审批前发放的投资建设项目申请表上必须由所在镇的分管领导签署项目是否在工业园区内建设的核实意见,并加盖政府公章后上报。
2、复杂性项目,须报批项目建议书、报批可行性报告、报批扩充设计方案、报批开工报告二、办理村镇规划选址意见书在村镇规划区内,需要择址进行建设的建设项目(建造个人住宅除外),必须办理建设项目选址意见书。
在办理规划选址意见书前,必须经镇人民政府审核同意后,由建设单位委托本镇代办员向规划处提供申请,经规划处同意后到宜兴市行政服务中心规划窗口办理选址意见书。
1、受理地址:规划窗口,联系电话:879719812、申报资料(1)、经镇建管所及中心镇规划办审批受理的申请表一份;(2)、批准的项目建议书或可行性论证;(3)、拟选地点的1:500-1:1000的实测地形图三份;(4)、其他指定材料:总平方案3、承诺时限:5个工作日注意事项:1、在领取建设项目选址意见书的同时,规划部门会同时向建设单位发放建设项目选址红线图;2、申请人携带项目批文、项目建议书或可行性报告、规划红线图到有地形测绘资质的单位测绘地形图(复制到软盘);3、申请人携选址意见书、项目批文、规划红线图到所在镇的国土资源管理所登记,安排测绘地籍图。
工程建设项目审批服务流程图
社会投资类工程建设项目审批服务流程图
(一般项目审批时间控制在35个工作日以内、政府技术审查时间控制在40个工作日以内)
社会投资类工程建设项目审批服务流程图
(不带方案出让用地的产业区块范围内工业项目审批时间控制在27个工作日以内、政府技术审查时间控制在15个工作日以内)
社会投资类工程建设项目审批服务流程图
(中小型建设项目审批时间控制在23个工作日以内、政府技术审查时间控制在15个工作日以内)
社会投资类工程建设项目审批服务流程图
(带方案出让用地的产业区块范围内工业项目审批时间控制在21个工作日以内、政府技术审查时间控制在15个工作日以内)。
南昌市建设工程项目审批流程图
(试行)
注:
1、图中所有日均指工作日;
2、在审批过程中严格执行超时、缺席默认制,出现问题将追究相关部门责任;
3、划拨用地审批时间共需67日;
4、以上均不含中介机构时间;
5、不含报省以上部门审批时间;
6、不含项目单位准备材料时间;
7、不含政府投入的重大、重点项目开工报告。
南昌市建设工程项目审批流程图
(试行)
出让用地项目
注:
1、图中所有日均指工作日;
2、在审批过程中严格执行超时、缺席默认制,出现问题将追究相关部门责任;
3、出让后中标人签约至开工审批时间共需52日;
4、以上均不含中介机构时间;
5、不含报省以上部门审批时间;
6、不含项目单位准备材料时间。
南昌市外商投资企业申办审批流程图
(试行)
(审批时间共需19.5个工作日)
注:
1、涉及前置审批的项目共112项;
2、前置审批时间按各单位承诺时限;
3、不含海关、外管等省直部门审批事项。