供应商管理评定考核流程
- 格式:docx
- 大小:21.92 KB
- 文档页数:6
供应商评估流程引言概述:供应商评估是企业采购管理中的重要环节,通过对供应商进行评估,可以确保企业选择到合适的供应商,提高采购效率和产品质量。
本文将介绍供应商评估的流程及其五个关键部份。
一、确定评估指标1.1 产品质量:评估供应商的产品质量,包括产品的性能、可靠性、耐久性等方面。
1.2 交货能力:评估供应商的交货能力,包括交货时间的准确性、交货数量的稳定性等。
1.3 价格竞争力:评估供应商的价格竞争力,包括产品价格的合理性、与市场价格的比较等。
二、采集供应商信息2.1 市场调研:通过市场调研了解供应商的基本情况,包括公司规模、经营范围、产品种类等。
2.2 供应商背景调查:对供应商进行背景调查,包括了解其信誉度、资质认证情况、过往合作经验等。
2.3 供应商现场考察:对供应商进行现场考察,了解其生产设备、质量控制体系、员工素质等。
三、评估供应商能力3.1 产品样品测试:要求供应商提供产品样品进行测试,评估其产品的性能和质量。
3.2 供应商管理能力评估:评估供应商的管理能力,包括供应链管理、质量管理、风险管理等方面。
3.3 供应商稳定性评估:评估供应商的稳定性,包括了解其财务状况、供应能力、合作火伴关系等。
四、制定评估报告4.1 综合评估结果:根据评估指标和供应商能力评估结果,综合评估供应商的综合能力。
4.2 风险评估:对供应商存在的风险进行评估,包括财务风险、供货风险等。
4.3 建议和决策:根据评估结果,提出建议和决策,选择合适的供应商或者对供应商进行改进指导。
五、供应商绩效管理5.1 监督和跟踪:对已选择的供应商进行监督和跟踪,确保其持续符合评估标准。
5.2 绩效考核:定期对供应商进行绩效考核,评估其在合作过程中的表现。
5.3 持续改进:根据绩效考核结果,与供应商共同制定改进计划,推动供应商的持续改进。
总结:供应商评估流程是一个系统性的过程,通过确定评估指标、采集供应商信息、评估供应商能力、制定评估报告和进行供应商绩效管理,可以匡助企业选择到合适的供应商,提高采购效率和产品质量。
零星工程合格供应商评定标准和流程下载提示:该文档是本店铺精心编制而成的,希望大家下载后,能够帮助大家解决实际问题。
文档下载后可定制修改,请根据实际需要进行调整和使用,谢谢!本店铺为大家提供各种类型的实用资料,如教育随笔、日记赏析、句子摘抄、古诗大全、经典美文、话题作文、工作总结、词语解析、文案摘录、其他资料等等,想了解不同资料格式和写法,敬请关注!Download tips: This document is carefully compiled by this editor. I hope that after you download it, it can help you solve practical problems. The document can be customized and modified after downloading, please adjust and use it according to actual needs, thank you! In addition, this shop provides you with various types of practical materials, such as educational essays, diary appreciation, sentence excerpts, ancient poems, classic articles, topic composition, work summary, word parsing, copy excerpts, other materials and so on, want to know different data formats and writing methods, please pay attention!1. 引言在零星工程采购中,选择合格的供应商至关重要。
供应商绩效考核流程供应商绩效考核是指企业对供应商的供应能力、供应质量、供应服务以及供应商与企业的合作关系等方面进行定期评估的过程。
通过绩效考核,企业能够了解供应商的绩效表现,为改进供应链管理、优化供应商体系提供依据。
下面是一个供应商绩效考核的流程。
一、确定考核指标和权重首先,企业需要明确绩效考核的目标和侧重点,确定考核指标和相应的权重。
考核指标应包括供应能力、供应质量、供应服务和合作关系等方面,每个指标分配不同的权重,以体现企业的重要关注点。
同时,还应制定考核标准和绩效等级,明确不同等级对应的分数范围,以便评估供应商的表现。
二、收集评估数据收集评估数据是供应商绩效考核的重要环节。
企业可以通过多种途径获取数据,包括与供应商的定期沟通与交流、实地考察、供应商自评报告和客户反馈等。
同时,还可以采用问卷调查、案例分析等方式,获取更全面的评估数据。
在收集数据时,企业要确保数据的准确性和可靠性,并及时反馈给供应商作为改进的依据。
三、评估供应商绩效评估供应商绩效是根据考核指标和权重,对收集到的评估数据进行分析和评估的过程。
企业可以采用定量和定性相结合的方法,对供应商的绩效进行综合评定。
定量评估可通过对收集的数据进行统计分析和计算,得出供应商绩效的分数。
定性评估可以针对一些关键指标进行判定,如供应能力、供应质量和供应服务的好坏等。
同时,还可以从客观角度对供应商的绩效进行评价,如与其他供应商的对比和行业标准的参考等。
四、制定改进计划根据评估结果,企业要与供应商共同制定改进计划。
改进计划应根据评估结果提出改进的方向和措施,并制定具体的时间节点和责任人。
同时,还应明确改进计划的具体目标和预期效果,并与供应商达成一致。
改进计划的实施过程中,企业要与供应商保持密切合作,共同解决问题,确保改进效果的实现。
五、跟踪和评估改进效果改进计划的实施后,企业要定期跟踪和评估改进效果。
通过定期的检查和绩效评估,企业可以了解改进措施的实施情况和效果,并根据实际情况进行调整。
供应商的监督考核管理办法及流程一、背景介绍供应商的监督考核管理是指组织对供应商在合作过程中的履约情况进行定期、综合性的评估与考核。
通过对供应商的监督考核,可以及时发现供应商的问题,保障采购质量、交货期和供应速度,提高采购效率和合作成本效益。
下面将介绍供应商的监督考核管理的办法及流程。
二、供应商的监督考核管理办法1.建立评估指标体系:建立一套完整、科学、客观的评估指标体系,包括供应商的质量管理能力、价格竞争力、交货能力、服务水平等方面的指标。
评估指标应符合公司采购目标,并与供应商实际情况相匹配,考核指标具有可操作性和可衡量性。
2.设立考核周期:根据供应商的合作周期和采购计划,确定供应商的考核周期,例如每年或每半年进行一次考核评估。
考核周期要有足够的时间对供应商的表现进行全面评估,并及时得出评估结果。
3.收集评估数据:通过采购人员的实地考察、供应商自评、相关部门反馈等多种方式,收集评估数据。
采购人员应严格按照评估指标对供应商的履约情况进行记录,并及时反馈给评估部门。
4.综合评估结果:评估部门将收集到的评估数据进行整理和分析,得出供应商的综合评估结果。
评估结果应以科学、客观、公正的方式进行评定,并通过多角度的考核方式进行综合得分。
5.确定考核等级:评估结果根据综合得分,将供应商划分为优秀、合格、待改进和不合格等等级,或采用ABCDE等级分类法,将供应商进行分类管理。
等级评定标准应与评估指标体系相匹配,并与公司的采购策略相一致。
6.制定奖惩机制:根据供应商的考核等级,采取相应的奖惩措施。
对于考核优秀的供应商,可以给予奖励,比如加大采购力度、提高合作优先权;对待改进和不合格的供应商,要制定整改措施,并加大监督力度,直至取得改进或终止合作。
三、供应商的监督考核管理流程1.制定监督考核计划:根据供应商的合作周期,制定监督考核的计划,并明确相关的评估指标和考核细则。
2.数据收集与整理:采购人员和相关部门按照评估指标,收集供应商的履约情况等相关数据,并整理归档。
供应商审核与评估管理制度一、目的和适用范围本制度的目的在于规范企业供应商的审核与评估工作,确保选取到质量稳定、可靠可连续发展的供应商,提高采购效果和供应链可靠性。
该制度适用于企业全体员工和供应商。
二、审核与评估流程2.1 供应商审核1.供应商供应基本信息:供应商提交公司基本信息、企业资质证书、质量管理体系认证等相关料子。
2.初步评估:企业采购部门依据供应商供应的料子,进行初步评估,并筛选出合格的供应商。
3.现场考察:企业组织相关部门及时对合格供应商进行现场考察,了解其生产工艺、质量管理体系、生产本领等情况。
4.风险评估:依据供应商的财务情形、信用评估、法律纠纷记录等,进行供应商风险评估,确保与企业合作的供应商经济稳定可靠。
5.审核结果:审核结束后,企业将评估结果进行记录,并以书面形式告知供应商审核结果。
2.2 供应商评估1.评估指标确认:企业依据自身业务需求和供应链管理要求,订立供应商评估指标,明确考核内容和标准。
2.数据收集:依据评估指标,企业收集供应商的相关数据,包含但不限于质量指标、交付按时率、售后服务等。
3.数据分析和评估:企业采购部门对收集的供应商数据进行分析和评估,订立评估报告。
4.评估结果反馈:将评估结果以书面形式告知供应商,并商定改进措施和时间节点。
5.定期评估:企业将定期对供应商进行评估,并连续监控供应商的绩效表现。
2.3 供应商管理1.合作协议:企业与供应商签订合作协议,明确双方的权利和义务。
2.售后服务:企业要求供应商在售后服务方面供应及时、有效的支持,确保产品质量和服务质量。
3.供应商培训:针对供应商存在的问题和不足,企业可以组织培训活动,提升供应商的专业技能和管理水平。
4.奖惩机制:依据供应商的绩效表现,企业建立奖惩机制,激励优秀供应商,并对不合格供应商采取相应的惩罚措施。
三、责任和义务3.1 企业责任1.企业管理层要高度重视供应商审核与评估工作,确保该工作的顺利进行。
供应商现场评估管理制度第一部分:总则为了加强公司对供应商的质量管理和监督,提高供应链管理水平,确保供应商的产品和服务质量达到公司的要求,特制定本管理制度。
第二部分:评估管理流程1. 评估计划制定公司采购部门根据不同供应商的重要性和风险程度,制定评估计划,并将计划报批公司管理层,确定评估范围、方式、周期和负责人。
2. 评估对象确定评估计划确定后,采购部门确定具体评估对象,并主动通知供应商,确定评估时间和地点,要求供应商提供相关资料。
3. 评估准备工作采购部门根据评估对象的具体情况进行准备工作,包括评估表格的设计与准备、评估流程的安排、评估人员的选拔与培训等。
4. 现场评估评估人员根据评估计划进行现场评估,并按照评估表格的要求,收集相关信息、观察供应商的生产现场和管理现状,与供应商进行沟通交流,了解其质量管理体系和生产制度的具体情况。
5. 评估报告编制评估人员根据评估情况,编制评估报告,将评估结果以及存在的问题和建议反馈给供应商,并报送采购部门。
6. 评估结果分析与处理采购部门对评估结果进行分析,针对存在的问题和建议,制定整改措施和时间表,要求供应商进行整改,并对整改情况进行跟踪和监督。
第三部分:评估内容1. 供应商的资质和信誉情况评估对象的公司注册资质、质量管理体系认证情况、近期经营状况、市场口碑等方面的情况。
2. 供应商的生产环境和设备评估对象的生产车间、生产设备、操作程序和操作人员的技术水平等情况。
3. 供应商的质量管理体系评估对象的质量管理体系的建立与运行情况,是否符合ISO9001等相关标准的要求,是否建立了有效的质量管理文件和记录。
4. 供应商的产品质量及服务水平对供应商提供的产品样品进行检测和评估,对供应商提供的服务进行评估,包括交货期、售后服务等。
第四部分:评估标准1. 质量管理体系是否符合ISO9001等相关标准的要求2. 产品和服务是否符合公司要求和合同约定3. 供应商的经营状况和信誉情况4. 生产环境和设备是否符合相关要求5. 供应商的质量管理人员和技术人员的素质和水平第五部分:评估结果的使用1. 评估结果在供应商资格认证、采购决策、合同签订等方面起到重要参考作用。
供应商评估考核程序一、背景介绍供应商评估考核程序是为了确保公司能够选择到合适的供应商,并对现有供应商进行定期评估和考核,以保证供应链的稳定性和质量可控性。
该程序旨在评估供应商的能力、质量控制体系、交付准时性、服务水平等方面的表现,并根据评估结果采取相应的措施,以提高供应商的整体绩效和满足公司的需求。
二、评估考核流程1. 评估指标的确定根据公司的需求和供应链管理的要求,制定评估指标,包括但不限于供应商的质量管理体系、交付准时性、服务水平、价格竞争力、创新能力等方面。
2. 供应商信息收集通过市场调研、供应商推荐、网络搜索等方式,收集潜在供应商的基本信息,包括公司背景、产品质量、生产能力、认证资质等。
3. 供应商初步筛选根据收集到的供应商信息,对潜在供应商进行初步筛选,排除不符合要求的供应商,留下符合要求的供应商作为候选供应商。
4. 供应商现场考察对候选供应商进行现场考察,了解其生产设备、生产工艺、质量控制体系等情况,并与供应商的管理人员进行沟通,了解其管理理念、团队能力等。
5. 供应商评估表的填写根据评估指标,对供应商进行评估,并填写评估表。
评估表包括供应商基本信息、质量管理体系、交付准时性、服务水平、价格竞争力、创新能力等方面的评分。
6. 评估结果的分析根据评估表中的评分,对供应商的绩效进行分析,识别供应商的优势和不足,并形成评估报告。
7. 评估结果的反馈将评估报告反馈给供应商,与供应商进行沟通,明确改进方向和要求,并与供应商达成改进协议。
8. 改进措施的跟踪和落实监督供应商改进措施的落实情况,确保供应商按照改进协议进行改进,并定期进行跟踪评估。
9. 定期评估考核根据公司的规定,对现有供应商进行定期评估和考核,以确保供应商的绩效持续改进,并根据评估结果决定是否继续合作。
三、评估考核结果的应用1. 供应商分类管理根据评估结果,将供应商进行分类管理,如A类供应商、B类供应商、C类供应商等,以便对不同类别的供应商采取不同的管理策略。
供应商考核管理流程规定在当今的商业环境中,供应商的表现对于企业的成功运营至关重要。
为了确保供应商能够持续提供高质量的产品和服务,满足企业的需求,建立一套科学、合理、有效的供应商考核管理流程是必不可少的。
以下将详细介绍供应商考核管理流程的规定。
一、考核目的供应商考核的主要目的是评估供应商的表现,识别其优势和不足,为企业与供应商的合作决策提供依据,促进供应商改进和提升,从而保障供应链的稳定和高效。
二、考核原则1、客观性原则考核应以客观事实和数据为依据,避免主观判断和个人偏见的影响。
2、全面性原则考核应涵盖供应商的各个方面,包括产品质量、交货准时性、价格合理性、服务水平等。
3、动态性原则考核应定期进行,及时反映供应商的最新表现,以便企业能够做出相应的调整。
4、公正性原则考核过程应公平、公正、透明,对所有供应商一视同仁。
三、考核指标1、质量指标(1)产品合格率:衡量供应商提供的产品符合质量标准的比例。
(2)质量稳定性:观察供应商产品质量在一段时间内的波动情况。
(3)质量改进能力:评估供应商针对质量问题采取改进措施的效果和能力。
2、交货指标(1)交货准时率:供应商按时交付货物的比例。
(2)交货提前期:从订单下达至货物交付的时间间隔。
(3)交货灵活性:供应商应对紧急订单或变更订单的响应能力。
3、价格指标(1)价格合理性:对比市场价格,评估供应商报价的合理性。
(2)成本降低能力:供应商在保证质量的前提下降低成本的能力。
4、服务指标(1)售后服务响应速度:对客户反馈问题的响应时间。
(2)服务态度:供应商与企业沟通、合作的态度和配合程度。
(3)技术支持能力:供应商提供技术支持和解决方案的能力。
5、其他指标(1)创新能力:供应商在产品设计、工艺改进等方面的创新能力。
(2)财务状况:供应商的财务稳定性和偿债能力。
(3)环保和社会责任:供应商在环境保护、员工权益等方面的表现。
四、考核周期供应商考核应定期进行,通常分为季度考核和年度考核。
供应商管理(评定、考核)流程1、目的选择合格的供应商并对其进行持续监视,以确保其能为公司提供合格的产品与服务.2、适用范围本程序适用于给公司提供产品和服务的所有供应商。
3、权责3。
1 物流部、质量管理部、设计部负责对供应商进行评价。
3。
2 物流部、质量管理部负责对供应商进行考核。
3.3 总经理负责合格供应商的审批工作。
4、定义供应商分类:总的来说,供应商分类是对供应商系统管理的重要一部分.它决定着哪些供应商你想开展战略合作关系,哪些你想增长生意,哪些是维持现状,哪些是积极淘汰,哪些是身份未定。
所以相应的,供应商可分为战略供应商(Strategic Suppliers)、优先供应商(Preferred Suppliers)、一般普通供应商(Ordinary Suppliers)考察供应商(Provisional Suppliers)、淘汰供应商(Passive Suppliers)。
当然,在不同公司的分法和定义可能略有不同。
5 流程5.1 供应商评定流程5。
1。
1 供应商初步评价5.1。
1。
1物流部、设计部及其他部门视企业实际需求寻找适合的供应商,同时收集多方面的资料,如以质量、服务、交货期、价格作为筛选的依据,形成供应商基本资料档案,同时要求供应商根据公司的《供应商能力评估表》进行自评。
5.1。
1.2物流部对《供应商能力评估表》自评项目进行初步评审,挑选出值得进一步评审的供应商,召集本部门、品质管理部及设计部相关人员对供应商进行再次评审,并将评审结果记录于《供应商能力评估表》中.再次评审得分与供应商自评得分差额超过20分的供应商不予选用。
5。
1。
1。
3在对供应商进行初步评审时,物流部须确定采购的物资是否符合政府法律法规的要求和安全要求,对于有毒品、危险品,应要求供应商提供相关证明文件。
5。
1。
2 再次评审方式5。
1。
2.1根据所采购材料对产品质量的影响程度及供应商路程的远近程度,对不同的供应商实施不同的评审等级。
食堂供应商的评定与淘汰管理规程1. 目的为了确保食堂供应食品安全、健康、营养、美味,满足员工的就餐需求,提高食堂服务质量,特制定本规程。
本规程主要对食堂供应商的评定标准、淘汰机制进行规定。
2. 适用范围本规程适用于公司内部食堂供应商的评定与淘汰管理。
3. 评定与淘汰管理规程3.1 供应商评定1. 初步筛选:根据供应商的资质、口碑、地域等因素进行初步筛选。
2. 实地考察:对初步筛选出的供应商进行实地考察,了解其经营状况、卫生环境、食品安全管理等。
3. 样品试吃:邀请供应商提供样品,组织员工试吃,收集员工反馈意见。
4. 综合评估:根据实地考察、样品试吃及员工反馈,对供应商进行综合评估。
5. 签订合同:与综合评估得分最高的供应商签订合同,确保食堂供应的正常进行。
3.2 供应商淘汰1. 定期评估:每季度对供应商进行一次综合评估,包括食品安全、服务质量、价格等方面。
2. 设立淘汰标准:设定明确的淘汰标准,如评分低于一定分值、发生食品安全事故、员工满意度低等。
3. 淘汰机制:根据评估结果,对不符合要求的供应商进行淘汰,并重新进行供应商评定。
4. 通知与整改:对淘汰的供应商发出通知,告知其原因,并要求其在规定时间内进行整改。
5. 整改后重新评定:供应商完成整改后,可申请重新评定,通过评定后可重新恢复供应资格。
4. 管理与监督1. 设立食堂管理小组:负责食堂供应商的评定、管理、监督工作。
2. 定期检查:食堂管理小组定期对供应商进行现场检查,确保其遵守规程。
3. 员工反馈:鼓励员工积极反馈食堂供应问题,提供改进建议。
4. 应急预案:针对食品安全事故等突发事件,制定应急预案,确保迅速应对。
5. 培训与指导1. 供应商培训:定期对供应商进行食品安全、卫生、服务等方面的培训。
2. 技术指导:为供应商提供技术指导,帮助其提高食品质量、降低成本。
3. 信息交流:建立供应商信息交流平台,分享优秀经验,促进共同进步。
6. 保密与信息安全1. 签订保密协议:与供应商签订保密协议,确保双方商业秘密不被泄露。
供方评定管理制度一、总则为了规范供方评定工作,提高供方评定效率和质量,保障公司采购工作正常运转,特制定本制度。
二、适用范围本制度适用于公司所有涉及供方评定的采购活动,包括对供应商的资质审查和绩效评估。
三、评定标准1. 供方资质评定:供方应具备合法经营资格,产品质量符合国家相关标准,供方在业内信誉良好。
2. 供方绩效评估:供方的交货准时率、产品质量稳定性、售后服务等方面表现良好。
3. 供方价格评定:供方的价格合理公正,与市场价相符或优于市场价。
四、评定流程1. 申请评定:采购部提出供方评定申请,包括供方资质评定和绩效评估。
2. 资质审核:采购部对供方的企业资质、产品质量认证等进行初步审核。
3. 绩效调查:采购部通过电话、邮件等方式对供方的绩效进行调查。
4. 绩效评估:采购部综合供方的交货准时率、产品质量稳定性、售后服务等方面对其绩效进行评估。
5. 价格比较:根据市场价格情况,对供方的价格进行评定。
6. 决定评定结果:采购部根据资质、绩效和价格等方面的评定结果,决定供方的评定等级。
7. 评定等级通知:采购部向供方发送评定等级通知,同时将评定结果存档。
五、管理要求1. 供方评定周期:公司每年进行一次供方评定,评定结果作为采购决策的重要参考。
2. 评定结果重要性:供方评定结果作为采购合同签订、履行的重要依据,供应商评定结果与公司绩效考核挂钩。
3. 评定结果公示:公司将供方评定结果在公司内部公示,提高供方的信誉度和市场竞争力。
4. 评定结果监督:公司建立供方评定结果监督制度,对供方绩效进行跟踪和监督。
六、附则1. 本制度由采购部负责解释。
2. 本制度自颁布之日起生效。
制度负责人:XXXXX制度审批人:XXXXX制度生效日期:XXXXX。
上游供应商的考核及管理工作上游供应商的考核及管理对于企业的稳定运营和产品质量具有重要影响。
以下是一套上游供应商考核及管理的工作流程:1.供应商选择与审查:•制定供应商选择标准,包括质量、交货准时性、价格、服务水平等。
•进行初步筛选,考虑供应商的信誉、资金实力、生产能力等。
•进行实地审查,了解供应商的生产设备、质量控制体系、员工素质等。
2.合同签订与条款明确:•制定清晰的合同条款,包括交货时间、质量标准、价格、付款方式等。
•明确双方责任,建立合同执行的法律框架。
•引入供应链风险管理机制,明确应对突发事件的应急预案。
3.供应商绩效考核指标设定:•制定供应商绩效考核指标,包括质量合格率、交货准时率、售后服务等。
•按照业务需求和重要性确定权重,确保关键指标更受关注。
•确保考核指标能够客观、量化地反映供应商的表现。
4.实施供应商绩效考核:•定期进行供应商绩效评估,收集数据并进行评分。
•可以采用定期会议、问卷调查、现场检查等方式进行考核。
•对于低绩效供应商,及时采取措施,如协助改进、提供培训,甚至替换。
5.供应商沟通与协作:•建立定期的沟通渠道,促进信息流畅、问题及时解决。
•与供应商建立战略合作伙伴关系,共同发展、共担风险。
•进行定期的供应商评估会议,双方分享经验、提出改进建议。
6.技术支持和培训:•提供必要的技术支持,确保供应商了解并能够满足产品质量标准。
•提供培训机会,使供应商的员工具备必要的技能和知识。
7.供应商持续改进:•鼓励供应商进行持续改进,参与产品创新和工艺改善。
•提供激励措施,如奖励计划,以促使供应商积极改进。
8.风险管理与备份计划:•制定供应链风险管理计划,评估潜在的风险,并制定相应的风险缓解计划。
•建立备用供应商列表,确保在紧急情况下能够迅速切换供应商。
9.信息技术支持:•利用信息技术建立供应链管理系统,实现信息的实时共享和协同。
•推行电子化采购和供应商管理,提高工作效率。
10.定期审核与改进:•定期进行供应链管理的内部审核,确保流程的有效性。
欢迎阅读供应商管理考核制度
第1章总则
第1条目的
为控制采购的质量,满足产品质量的要求,规范对供应商的考核,特制定本制度。
第2条权责部门
1.商品中心负责本制度的制定、修改、废止起草工作。
2.总经理负责本制度的制定、修改、废止的核准。
第4章考核结果应用
第8条考核等级确定
根据月度和年度考核绩效标准,将供应商分为A类、B类、C类、D类、E类五类。
l.A类厂商为优秀厂商,予以付款、订单、检验等优惠奖励。
2.B类厂商为良好厂商,由采购部提请厂商改善不足。
3.C类厂商为合格厂商,由品管、采购等部门予以必要的辅导。
4.D类厂商为辅导厂商,由品管、采购等部门予以辅导,——个月内未能达到C 类以上者,予以淘汰。
5.E类厂商为不合格厂商,予以淘汰。
6.被淘汰厂商如欲再向本公供货,需再经过供应商调查评估。
第5章所需表格
附表1供应商月度考核表
供应商编号:考核周期:
编号:日期:。
供应商的监督考核管理规定及流程一、供应商的监督考核管理规定1.供应商选择与评估:公司根据自身业务需求和产品特点,制定供应商选择与评估的标准和程序,包括对供应商的资质、信誉、技术能力、质量管理体系等方面的要求。
2.合同管理:公司与供应商签订合同,在合同中明确双方的权责和要求,包括产品质量、交货期限、售后服务等方面的内容,并明确违约责任和解决纠纷的方式。
3.加工进度监控:公司建立供应商加工进度监控制度,定期对供应商的加工进度进行监控和评估,确保供应商按时交货,避免对公司生产计划的影响。
4.产品质量监督:公司对供应商提供的产品进行质量监督,包括进货验收、生产过程抽检、出货检验等环节的质量控制,以确保供应商提供的产品符合公司的质量要求。
5.售后服务评估:公司对供应商的售后服务进行评估,包括对供应商对产品质量问题的处理能力、客户投诉的处理效率等方面进行评估,以确保供应商能够及时、有效地解决售后问题。
6.供应商信息管理:公司需对供应商的信息进行管理和更新,包括供应商资质证书、合作合同、供应商评估报告等信息进行归档和管理,以方便后续的评估和参考。
7.供应商培训与改进:公司可以根据供应商的实际情况和需求,组织培训和指导,帮助供应商提升技术水平、质量管理能力和服务水平,以达到公司要求的标准。
二、供应商的监督考核管理流程1.供应商评估:公司对潜在供应商进行评估,包括对供应商的资质、信誉、技术能力等方面进行初步的筛选和评估。
2.合同签订:公司与选定的供应商签订合同,明确双方的权责和要求。
3.加工进度监控:公司定期对供应商的加工进度进行监控和评估,确保供应商按时交货。
4.产品质量监督:公司对供应商提供的产品进行质量监督,包括进货验收、生产过程抽检、出货检验等环节的质量控制。
5.售后服务评估:公司对供应商的售后服务进行评估,包括供应商对产品质量问题的处理能力、客户投诉的处理效率等方面进行评估。
6.绩效评估和考核结果:根据评估和考核结果,公司对供应商的绩效进行评估和打分,确保与供应商的合作达到预期效果。
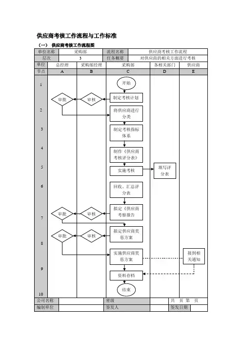
供应商管理(评定、考核)流程
1、目的
选择合格的供应商并对其进行持续监视,以确保其能为公司提供合格的产品与服务。
2、适用范围
本程序适用于给公司提供产品和服务的所有供应商。
3、权责
3.1 物流部、质量管理部、设计部负责对供应商进行评价。
3.2 物流部、质量管理部负责对供应商进行考核。
3.3 总经理负责合格供应商的审批工作。
4、定义
供应商分类:总的来说,供应商分类是对供应商系统管理的重要一部分。
它决定着哪些供应商你想开展战略合作关系,哪些你想增长生意,哪些是维持现状,哪些是积极淘汰,哪些是身份未定。
所以相应的,供应商可分为战略供应商(Strategic Suppliers)、优先供应商(Preferred Suppliers)、一般普通供应商(Ordinary Suppliers)考察供应商(Provisional Suppliers)、淘汰供应商(Passive Suppliers)。
当然,在不同公司的分法和定义可能略有不同。
5 流程
5.1 供应商评定流程
5.1.1 供应商初步评价
5.1.1.1物流部、设计部及其他部门视企业实际需求寻找适合的供应商,同时收集多方面的资料,如以质量、服务、交货期、价格作为筛选的依据,形成供应商基本资料档案,同时要求供应商根据公司的《供应商能力评估表》进行自评。
5.1.1.2物流部对《供应商能力评估表》自评项目进行初步评审,挑选出值得进一步评审的供应商,召集本部门、品质管理部及设计部相关人员对供应商进行再次评审,并将评审结果记录于《供应商能力评估表》中。
再次评审得分与供应商自评得分差额超过20分的供应商不予选用。
5.1.1.3在对供应商进行初步评审时,物流部须确定采购的物资是否符合政府法律法规的要求和安全要求,对于有毒品、危险品,应要求供应商提供相关证明文件。
5.1.2 再次评审方式
5.1.2.1根据所采购材料对产品质量的影响程度及供应商路程的远近程度,对不同的供
应商实施不同的评审等级。
5.1.2.2对于提供关键与重要材料的供应商,物流部组织品质管理部、设计部对供应商进行现地评审,并填写“供应商能力评估表”,质量管理部、设计部签署意见。
5.1.2.3对于急需/普通材料或路程较远的供应商,要求供应商提供相应资料进行资料评审,无须现地评审。
5.1.2.4 现地评审范围根据公司政策,实时修正。
5.1.3 《供应商质量保证协议》的签订
5.1.3.1物流部负责与重要材料的供应商和普通材料供应商签订《供应商质量保证协议》。
5.1.3.2《供应商质量保证协议》一式两份,双方各执一份,作为供应商提供合格材料的一种契约。
5.1.4 提出样品需求
5.1.4.1如公司有样品需求,由物流部采购人员通知供应商送交样品,品质管理部相关人员需对样品提出详细的技术质量要求,如品名、规格、包装方式等。
5.1.4.1样品应为供应商在正常生产情况下生产出的代表性产品,数量应多于两件。
5.1.5 样品的质检
5.1.5.1样品在送达公司后,由品质管理部负责完成样品的材质、性能、尺寸、外观质量等方面的检验工作,并填写《进料验收单》。
5.1.5.2经确认合格的样品,需在样件上贴上样品标识,并注明合格。
5.1.5.3合格的样件至少为两件,一件返还供应商,作为供应商生产的依据;一件留在质量管理部,作为今后检验的依据。
5.1.6 确定合格供应商的名单
5.1.
6.1在《供应商能力评估表》、《供应商质量保证协议》和《进料验收单》三份资料完成后,物流部将供应商列入《合格供方目录》,交公司总经理批准。
5.1.
6.2原则上一种材料需暂定三家或三家以上的合格供应商,以供采购时选择。
5.1.
6.3对于唯一供应商或独占市场的供应商,可直接列入《合格供方目录》。
5.1.
6.4接单生产时,如果客户指定供应商名单,物流部采购人员必须按顾客提供的供应商名单进行采购。
客户提供的供应商名单直接列入《合格供方目录》,如需从非客户指定的供应商处采购时,必须事先得到客户的书面批准。
5.1.
6.5每月定期对供应商进行考核,并根据考核结果修订《合格供方目录》,删除不合格供应商。
修订后的《合格供方目录》由公司总经理批准生效。
5.1.7战略供应商
根据公司的运营策略,公司与某些供应商建立战略合作伙伴关系,对其实施培养与考核,但不参与与其他供应商的评比,此类供应商作为公司的战略供应商,由总经理办公室定案后列入《合格供方目录》,无需进行供应商评价。
5.2 供应商的监督与考核
5.2.1 考核对象
供应商考核对象为列入《合格供方目录》的所有供应商。
5.2.2 考核方法
公司对供应商实行评分分级制度,供应商的考核项目包括质量、交期、服务、价格水平等方面的内容,每月实施考核;
5.2.3 考核内容
5.2.4 考核结果的处理
5.2.4.1 物流部每月汇总供应商考核得分信息,制成《供应商每月得分评价等级表》,并将得分明细书面发至供应商确认;
5.2.4.2 建立供应商申诉机制,供应商若对得分存在异议,可提出申诉并书面提交证明材料,经公司各部门审核后进行修正;
5.2.4.3 《供应商每月得分评价等级表》经修正后每月对外公告。
5.3 供应商的等级划分
5.3.1公司根据供应商来源类别分为A、B两大类;A类为战略供应商,B类为经评定合格供应商,B类供应商按照公司每月供应商考核结果纵向划分为:1级,2级,3级,4级。
5.3.2一级供应商,优先采购,同类采购增加其订单量,放宽检验或免检,同时在付款评定中给予优待措施;
5.3.3二级供应商,维持正常的采购,要求其对不足部分进行整改,并将整改结果以书面形式提交,对其提交的纠正措施和结果进行确认。
5.3.4三级供应商,维持正常的采购,公司给予重点辅导,要求其对不足部分进行整改,并通过一定时间的考察确认其整改效果,决定是否继续采购,或减少采购量。
5.3.5对于四级供应商,在第二供应具备的情况下,该供应商供货资格予以淘汰,或对其物料保持最低状态或停止用量直至其改善为止。
6、相关表单
6.1 《供应商能力评估表》
6.2 《供应商质量保证协议》
6.3 《合格供方目录》
6.4 《供应商每月得分评价等级表》
附录:流程图
物流部、技术部寻求新供应商,对新供应商进行筛选
要求有意向的供应商根据《供应商能力评审表》进行自评
物流、技术和品质部门对非重要、较远供应商进行资料审核
物流、技术和品质部门对重要、较近供应商进行现场审核
评审合格,签订相关协议的供应商,物流部建立合格目录
根据评审/考核分数分级,按供应商分级进行采购
每月根据品质、生产月报数据对供应商进行考核评分,品质
部、物流部对供应商的品质交期进行监督;
每月考核结果书面通知供应商,经供应商确认或申诉判定后
进行公告
定期对供应商名录及等级进行调整,实施优胜劣汰。