磁控溅射设备构造及其沉积薄膜原理
- 格式:doc
- 大小:28.50 KB
- 文档页数:2
磁控溅射镀膜原理及工艺摘要:真空镀膜技术作为一种产生特定膜层的技术,在现实生产生活中有着广泛的应用。
真空镀膜技术有三种形式,即蒸发镀膜、溅射镀膜和离子镀。
这里主要讲一下由溅射镀膜技术发展来的磁控溅射镀膜的原理及相应工艺的研究。
关键词:溅射;溅射变量;工作气压;沉积率。
绪论溅射现象于1870年开始用于镀膜技术,1930年以后由于提高了沉积速率而逐渐用于工业生产。
常用二极溅射设备如右图。
通常将欲沉积的材料制成板材-靶,固定在阴极上。
基片置于正对靶面的阳极上,距靶一定距离。
系统抽至高真空后充入(10~1)帕的气体(通常为氩气),在阴极和阳极间加几千伏电压,两极间即产生辉光放电。
放电产生的正离子在电场作用下飞向阴极,与靶表面原子碰撞,受碰撞从靶面逸出的靶原子称为溅射原子,其能量在1至几十电子伏范围内。
溅射原子在基片表面沉积成膜。
其中磁控溅射可以被认为是镀膜技术中最突出的成就之一。
它以溅射率高、基片温升低、膜-基结合力好、装置性能稳定、操作控制方便等优点,成为镀膜工业应用领域(特别是建筑镀膜玻璃、透明导电膜玻璃、柔性基材卷绕镀等对大面积的均匀性有特别苛刻要求的连续镀膜场合)的首选方案。
1磁控溅射原理溅射属于PDV(物理气相沉积)三种基本方法:真空蒸发、溅射、离子镀(空心阴极离子镀、热阴极离子镀、电弧离子镀、活性反应离子镀、射频离子镀、直流放电离子镀)中的一种。
磁控溅射的工作原理是指电子在电场E的作用下,在飞向基片过程中与氩原子发生碰撞,使其电离产生出Ar正离子和新的电子;新电子飞向基片,Ar正离子在电场作用下加速飞向阴极靶,并以高能量轰击靶表面,使靶材发生溅射。
在溅射粒子中,中性的靶原子或分子沉积在基片上形成薄膜,而产生的二次电子会受到电场和磁场作用,产生E(电场)×B(磁场)所指的方向漂移,简称E×B漂移,其运动轨迹近似于一条摆线。
若为环形磁场,则电子就以近似摆线形式在靶表面做圆周运动,它们的运动路径不仅很长,而且被束缚在靠近靶表面的等离子体区域内,并且在该区域中电离出大量的Ar正离子来轰击靶材,从而实现了高的沉积速率。
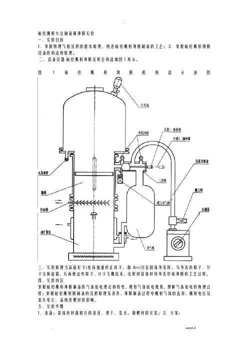
磁控溅射方法制备铜薄膜实验一、实验目的1.掌握物理气相沉积的根本原理,熟悉磁控溅射薄膜制备的工艺;2.掌握磁控溅射镀膜设备的构造和原理。
二、设备仪器磁控溅射薄膜沉积台构造如图1所示。
图1磁控溅射镀膜机构造示意图三、实验原理当高能粒子(电场加速的正离子,如Ar+)打在固体外表时,与外表的原子、分子交换能量,从而使这些原子、分子飞溅出来,沉积到基体材料外表形成薄膜的工艺过程。
四、实验内容掌握磁控溅射薄膜制备的气体放电理论和特性,观察气体放电现象,理解气体放电的物理过程;掌握磁控溅射膜制备的沉积原理及条件,薄膜制备过程中溅射气体的选择、溅射电压及基片电位、高纯度靶材的影响。
五、实验步骤1.准备:基体材料载玻片的清洗、烘干、装夹,铜靶材的安装;2.方案:a.描述低真空的抽气回路:真空室三通阀位置2低真空管道电磁阀机械泵大气。
b.描述高真空的抽气回路:真空室蝶阀挡油器油扩散泵储气罐三通阀位置1低真空管道电磁阀机械泵大气c.铜薄膜的沉积工艺参数:本底真空度、溅射电流、溅射电压、沉积时间、薄膜厚度。
3.步骤:本底真空获得后,进展氩气充气量的控制,溅射过程中电流、电压和时间的控制,薄膜制备完成后,充入大气,取出试样。
六.撰写实验报告1.真空系统的组成及作用,简述旋片泵、分子泵的工作原理。
2.真空测量系统的组成,简述电离真空规的工作原理。
3.气体放电理论的物理模型。
4.铜薄膜沉积原理与影响参数的关系。
简介真空镀膜在真空中制备膜层,包括镀制晶态的金属、半导体、绝缘体等单质或化合物膜。
虽然化学汽相沉积也采用减压、低压或等离子体等真空手段,但一般真空镀膜是指用物理的方法沉积薄膜。
真空镀膜有三种形式,即蒸发镀膜、溅射镀膜和离子镀。
蒸发镀膜通过加热蒸发某种物质使其沉积在固体外表,称为蒸发镀膜。
这种方法最早由M.法拉第于1857年提出,现代已成为常用镀膜技术之一。
蒸发镀膜设备构造如图1。
蒸发物质如金属、化合物等置于坩埚内或挂在热丝上作为蒸发源,待镀工件,如金属、陶瓷、塑料等基片置于坩埚前方。
磁控溅射薄膜淀积工艺原理
磁控溅射薄膜淀积工艺是一种物理气相沉积(PVD)的方法,其工作原理可以简要概述为以下几个步骤:
1. 电子加速和电离: 在高真空的环境下,入射离子(通常为氩离子,Ar+)
在电场的作用下轰击靶材。
与此同时,电子在飞向基片的过程中与氩原子发生碰撞,使其电离产生新的Ar+离子和电子。
2. 电子束缚和二次电子发射: 新产生的电子在电场和磁场的作用下产生漂移,形成一种类似于摆线的运动轨迹。
在环形磁场的情况下,这些电子会在靶表面附近做圆周运动。
这个过程中,二次电子被束缚在靠近靶表面的等离子体区域内,并且在该区域中电离出大量的Ar+来轰击靶材。
3. 靶材溅射和薄膜形成: Ar+离子在电场的作用下加速飞向阴极靶,并以高
能量轰击靶表面,使靶材发生溅射。
溅射出的中性靶原子或分子沉积在基片上形成薄膜。
4. 温度控制: 由于二次电子的能量很低,传递给基片的能量很小,因此基片
的温升较低。
这使得磁控溅射工艺具有沉积温度低、基片温升低的优点。
磁控溅射的优点包括沉积温度低、沉积速度快、所沉积的薄膜均匀性好,成分接近靶材成分等。
这种工艺在高精度、高性能薄膜制备领域具有广泛应用。
磁控溅射镀膜机原理磁控溅射技术是一种用于镀膜的先进技术。
磁控溅射镀膜机是利用电子束的动能将固体材料从靶层中剥离并沉积在基板上的一种镀膜设备。
本文将为您介绍磁控溅射镀膜机的原理及其应用。
一、磁控溅射镀膜机的原理磁控溅射镀膜机又称磁控离子镀膜机,是一种利用外部电场和磁场激发离子束并蒸发靶材料形成镀层的设备。
这种技术源于20世纪60年代初期的物理研究。
它的基本原理是利用电子束加速器向金属靶材料表面注入精细定位的、高能单元电子束,从而促使靶材料发生电子冲击下物质的剥离,形成离子束,进而被磁场聚拢并加速击打在待镀基材料表面,从而沉积成膜。
这种技术对材料的选择范围较广,可使用的原材料包括各种无机材料和合金,如氧化物、硅、合金、氟化物等。
而磁控溅射技术也因此被广泛应用于各种领域,如电子、计算机、晶体管、固态照明、太阳能电池、生物医学、汽车、航空航天、建筑室内装修等领域。
二、磁控溅射镀膜机的类型及分类根据靶材料种类和制备过程条件的不同,磁控溅射镀膜机可以分为多种类型。
下面我们介绍一下主要的几种类型。
1、平板离子源平板离子源是最基本的离子源类型,通常由一个平板放电电极和一个屏蔽靶组成。
它的靶材料为物质的块状,可将注入的能量转换成游离原子形成高能离子束,使其透过向靶和基板之间发射的离子束,再到达基板表面。
由于靶和基板之间的角度限制,使该装置产生较低的折射率,从而制造较低的细节图案。
因此,平板离子源多用于制造器件外壳全面涂层。
2、圆柱形偏心离子源圆柱形偏心离子源由两极电源和一个圆柱形靶台制成。
表面不平整的靶材料块在高速离子束的作用下被剥离,形成离子束并沉积在基板上。
该离子源的形状和设计使得离子束方向发散,从而可以与表面平面的材料相交,产生均匀的涂层。
此外,偏心离子源具有抗污染能力强、精度高和效率高等特点,适用于工业和商业应用。
3、环柱形偏心离子源环柱形偏心离子源由一个圆筒形壳体、一个中央靶、四组电极和一个基板组成。
中央靶材料在离子束的作用下形成薄膜,并沉积在基板上。
磁控溅射工作原理磁控溅射是一种常用的薄膜沉积技术,广泛应用于半导体、光学薄膜、导电膜、装饰膜等领域。
在磁控溅射过程中,通过磁场控制等离子体的运动,使靶材表面的原子或分子被溅射出来,沉积在基板上形成薄膜。
下面将详细介绍磁控溅射的工作原理。
首先,磁控溅射系统主要由真空室、靶材、基板、磁控装置和电源等部分组成。
在工作时,首先将真空室抽成高真空状态,排除其中的气体,以确保溅射过程在无氧或低氧环境中进行。
然后,在真空室中加入惰性气体,如氩气,作为溅射过程中的靶材表面的溅射气体。
其次,通过外加电场和磁场,使靶材表面产生等离子体。
在磁控溅射系统中,通常采用环形磁场,通过磁控装置在靶材表面形成较为均匀的等离子体。
这些等离子体受到磁场的作用,沿着磁力线运动,撞击靶材表面,将靶材表面的原子或分子溅射出来。
随后,溅射出的原子或分子沉积在基板表面,形成薄膜。
在溅射过程中,可以通过调节靶材和基板的相对位置、溅射功率、溅射时间等参数,控制薄膜的厚度、成分和结构。
同时,磁控溅射系统还可以采用多靶材溅射、旋转靶材和旋转基板等技术,实现多层薄膜的沉积和复合薄膜的制备。
最后,磁控溅射工艺具有高沉积速率、较好的薄膜致密性和成膜均匀性等优点,广泛应用于半导体器件、光学镀膜、导电膜、装饰膜等领域。
同时,磁控溅射系统还可以与其他薄膜沉积技术相结合,如离子束溅射、化学气相沉积等,实现多种功能薄膜的制备。
总的来说,磁控溅射工作原理是通过磁场控制等离子体的运动,使靶材表面的原子或分子被溅射出来,沉积在基板上形成薄膜。
通过精确控制工艺参数,可以实现对薄膜厚度、成分和结构的调控,满足不同领域对薄膜材料的需求。
这种工艺在材料科学和工程领域具有重要的应用前景。
吉林平衡磁控溅射原理一、前言吉林平衡磁控溅射技术是一种新型的表面处理技术,其在表面涂覆、金属化、陶瓷化等方面有着广泛的应用。
本文将从吉林平衡磁控溅射原理的基本概念、设备构造、工艺流程和应用等方面进行详细介绍。
二、基本概念1. 磁控溅射磁控溅射是利用高能离子轰击靶材表面,使靶材原子或分子脱离并沉积在基板上形成薄膜的一种表面处理技术。
在磁场作用下,靶材表面被电子轰击后,释放出的原子或分子被加速并沉积在基板上。
2. 平衡磁控溅射平衡磁控溅射是指通过调节气体流量、功率密度和靶材距离等参数来实现稳定沉积速率和均匀沉积厚度的一种磁控溅射技术。
相比传统的磁控溅射技术,平衡磁控溅射技术具有更高的沉积速率和更好的膜层均匀性。
三、设备构造吉林平衡磁控溅射设备主要由真空室、气体供给系统、靶材支架、基板支架、磁控系统和电源等组成。
1. 真空室真空室是吉林平衡磁控溅射设备的核心部分,其主要作用是提供一个高度真空的环境,以保证沉积过程中的稳定性。
真空室一般采用不锈钢材料制作,内部表面光洁度高,以避免对沉积膜层产生影响。
2. 气体供给系统气体供给系统主要提供工艺所需的气体,并通过调节气体流量来实现沉积速率和膜层均匀性的控制。
气体供给系统一般包括气源、流量计和阀门等组件。
3. 靶材支架靶材支架是将靶材固定在真空室内并与电源相连的装置。
靶材支架一般采用铜或铝制作,其表面必须保持光洁度,以保证沉积膜层的质量。
4. 基板支架基板支架是将待处理的基板固定在真空室内的装置。
基板支架一般采用不锈钢材料制作,其表面必须保持光洁度,以避免对沉积膜层产生影响。
5. 磁控系统磁控系统主要是通过调节磁场强度和方向来控制离子轰击靶材表面的能量和方向。
磁控系统一般由永磁体和电磁体组成,其结构复杂,需要精确调节。
6. 电源电源主要是为靶材提供高频或直流电能,并通过调节功率密度来控制沉积速率和膜层均匀性。
电源一般采用高频或直流电源,其输出功率可达数千瓦。
四、工艺流程吉林平衡磁控溅射工艺流程包括预处理、真空抽气、气体灌注、沉积、退火和后处理等步骤。
磁控溅射镀膜原理及工艺摘要:真空镀膜技术作为一种产生特定膜层的技术,在现实生产生活中有着广泛的应用。
真空镀膜技术有三种形式,即蒸发镀膜、溅射镀膜和离子镀。
这里主要讲一下由溅射镀膜技术发展来的磁控溅射镀膜的原理及相应工艺的研究。
关键词:溅射;溅射变量;工作气压;沉积率。
绪论溅射现象于1870年开始用于镀膜技术,1930年以后由于提高了沉积速率而逐渐用于工业生产。
常用二极溅射设备如右图。
通常将欲沉积的材料制成板材-靶,固定在阴极上。
基片置于正对靶面的阳极上,距靶一定距离。
系统抽至高真空后充入(10~1)帕的气体(通常为氩气),在阴极和阳极间加几千伏电压,两极间即产生辉光放电。
放电产生的正离子在电场作用下飞向阴极,与靶表面原子碰撞,受碰撞从靶面逸出的靶原子称为溅射原子,其能量在1至几十电子伏围。
溅射原子在基片表面沉积成膜。
其中磁控溅射可以被认为是镀膜技术中最突出的成就之一。
它以溅射率高、基片温升低、膜-基结合力好、装置性能稳定、操作控制方便等优点,成为镀膜工业应用领域(特别是建筑镀膜玻璃、透明导电膜玻璃、柔性基材卷绕镀等对大面积的均匀性有特别苛刻要求的连续镀膜场合)的首选方案。
1磁控溅射原理溅射属于PDV(物理气相沉积)三种基本方法:真空蒸发、溅射、离子镀(空心阴极离子镀、热阴极离子镀、电弧离子镀、活性反应离子镀、射频离子镀、直流放电离子镀)中的一种。
磁控溅射的工作原理是指电子在电场E的作用下,在飞向基片过程中与氩原子发生碰撞,使其电离产生出Ar正离子和新的电子;新电子飞向基片,Ar正离子在电场作用下加速飞向阴极靶,并以高能量轰击靶表面,使靶材发生溅射。
在溅射粒子中,中性的靶原子或分子沉积在基片上形成薄膜,而产生的二次电子会受到电场和磁场作用,产生E(电场)×B(磁场)所指的方向漂移,简称E×B漂移,其运动轨迹近似于一条摆线。
若为环形磁场,则电子就以近似摆线形式在靶表面做圆周运动,它们的运动路径不仅很长,而且被束缚在靠近靶表面的等离子体区域,并且在该区域中电离出大量的Ar正离子来轰击靶材,从而实现了高的沉积速率。
第1篇一、实验目的本次实验旨在通过磁控溅射技术制备不同材料薄膜,研究其制备过程中的工艺参数对薄膜质量的影响,并对薄膜的表面形貌、晶体结构、成分及性能进行分析。
二、实验原理磁控溅射技术是一种物理气相沉积方法,通过将靶材加热至一定温度,使其表面产生自由电子,然后在电场的作用下,自由电子与气体分子发生碰撞,产生等离子体,等离子体中的离子和电子被加速并轰击靶材表面,使靶材表面原子蒸发并沉积在衬底上形成薄膜。
三、实验设备与材料1. 实验设备:- 磁控溅射系统- 扫描电子显微镜(SEM)- X射线衍射仪(XRD)- X射线光电子能谱仪(XPS)- 红外光谱仪(IR)- 薄膜厚度测量仪2. 实验材料:- 靶材:Al、TiO2、ZnO等- 衬底:玻璃、硅等- 氩气、氮气等惰性气体四、实验步骤1. 清洗衬底:使用丙酮、乙醇、蒸馏水等清洗剂对衬底进行清洗,并在烘箱中干燥。
2. 装置准备:将靶材安装在磁控溅射系统上,设置靶材与衬底的距离、溅射气压、溅射时间等参数。
3. 磁控溅射:启动磁控溅射系统,进行溅射实验,制备薄膜。
4. 薄膜性能测试:使用SEM、XRD、XPS、IR等设备对薄膜的表面形貌、晶体结构、成分及性能进行分析。
五、实验结果与分析1. 薄膜表面形貌:SEM结果表明,Al、TiO2、ZnO等薄膜表面均匀,无明显缺陷。
2. 晶体结构:XRD分析表明,薄膜具有良好的晶体结构,晶粒尺寸较小。
3. 成分分析:XPS结果表明,薄膜中各元素含量符合预期。
4. 薄膜性能:- 硬度:Al、TiO2、ZnO等薄膜的硬度较高,具有良好的耐磨性能。
- 导电性:Al薄膜具有良好的导电性,适用于电子器件。
- 介电性能:TiO2、ZnO等薄膜具有良好的介电性能,适用于电容器等器件。
六、实验讨论1. 溅射气压对薄膜质量的影响:溅射气压越高,薄膜密度越大,晶粒尺寸越小,但溅射气压过高会导致薄膜表面出现缺陷。
2. 溅射时间对薄膜质量的影响:溅射时间越长,薄膜厚度越大,但溅射时间过长会导致薄膜内部应力增大,影响薄膜性能。
磁控溅射设备构造及其沉积薄膜原理1. 实验目的:了解磁控溅射设备的构造,熟悉磁控溅射沉积薄膜的基本原理。
2. 实验内容:2.1 了解磁控溅射设备的构造总体来讲,磁控溅射薄膜沉积系统包括:气路、真空系统、循环水冷却系统、控制系统。
其中(1) 气路系统:与PECVD系统类似,磁控溅射系统应包括一套完整的气路系统。
但是,与PECVD系统不同的是,PECVD系统中,气路中为反应气体的通道。
而磁控溅射系统气路中一般为Ar、N2等气体。
这些气体并不参与成膜,而是通过发生辉光放电现象将靶材原子轰击下来,使靶材原子获得能量沉积到衬底上成膜。
(2) 真空系统:与PECVD系统类似,磁控溅射沉积薄膜前需要将真空腔室抽至高真空。
因此,其真空系统也包括机械泵、分子泵这一高真空系统。
(3) 循环水冷却系统:工作过程中,一些易发热部件(如分子泵)需要使用循环水带走热量进行冷却,以防止部件损坏。
(4) 控制系统:综合控制PECVD系统各部分协调运转完成薄膜沉积,一般集成与控制柜。
2.2 磁控溅射沉积薄膜原理在阳极(除去靶材外的整个真空室)和阴极溅射靶材(需要沉积的材料)之间加上一定的电压,形成足够强度的静电场。
然后再在真空室内通入较易离子化的惰性Ar气体,在静电场E的作用下产生气体离子化辉光放电。
Ar气电离并产生高能的Ar+离子和二次电子e。
高能的Ar+阳离子由于电场E的作用会加速飞向阴极溅射靶表面,并以高能量轰击靶表面,使靶材表面发生溅射作用。
被溅射出的靶原子(或分子)沉积在基片上形成薄膜。
由于磁场B的作用,一方面在阴极靶的周围,形成一个高密度的辉光等离子区,在该区域电离出大量的Ar+离子来轰击靶的表面,溅射出大量的靶材粒子向工件表面沉积;另一方面,二次电子在加速飞离靶表面的同时,受到磁场的洛伦兹力作用,以摆线和螺旋线的复合形式在靶表面作圆周运动。
随着碰撞次数的增加,电子的能量逐渐降低,到达基片后的能量很小,故基片的温升较低。
磁控溅射法制备薄膜原理
磁控溅射法是一种常用的薄膜制备技术,其原理是利用高速带电粒子轰击靶材表面,使其原子或离子脱离靶材并沉积在衬底上形成薄膜。
其中,磁控溅射技术在制备过程中使用了外加磁场,可强化带电粒子在空间中的运动轨迹,提高沉积效率和薄膜质量。
磁控溅射法制备过程中,首先将待制备的靶材置于真空室中,并维持高真空度。
然后通过高能量电子束、离子束等方式激发靶材表面的原子或离子,使其脱离靶材并运动到衬底表面,在外加磁场的作用下沉积形成薄膜。
在制备过程中,可以通过调节靶材的材料、形状和厚度、电子束或离子束的能量和流强、工作气体的种类和流量等参数来控制薄膜的组成、结构和性能。
磁控溅射技术在制备多种功能性薄膜方面具有广泛应用,如光学薄膜、导电薄膜、磁性薄膜、防腐蚀薄膜等。
在电子工业、光学工业、信息技术等领域,磁控溅射法制备的功能性薄膜已成为一种重要的制备手段。
- 1 -。
磁控溅射仪原理磁控溅射仪是一种常用的薄膜制备设备,通过磁场控制离子轰击金属靶材,使其表面的原子或分子脱离并沉积在基底上,形成薄膜。
本文将从磁控溅射仪的工作原理、设备结构和应用领域等方面进行介绍。
一、工作原理磁控溅射仪的工作原理基于磁场对离子的控制作用,主要分为两个步骤:离子轰击和薄膜沉积。
1.离子轰击:磁控溅射仪中的离子源会通过电弧加热金属靶材,将其表面的原子或分子释放出来。
同时,通过在靶材周围设置磁场,可以使电弧产生的离子在磁力的作用下形成一个束流,并加速到高能量状态。
这些高能量的离子会轰击靶材表面,使其表面的原子或分子脱离。
2.薄膜沉积:离子轰击靶材表面释放的原子或分子会在真空中飞行一段距离,然后沉积在基底上形成薄膜。
为了控制薄膜的厚度和均匀性,通常在离子轰击和薄膜沉积过程中会控制离子束的能量和轰击时间。
二、设备结构磁控溅射仪通常由离子源、靶材、基底和真空室等组件构成。
1.离子源:离子源是磁控溅射仪中最关键的组件之一,它通过电弧加热靶材,产生离子束。
离子源的设计和选择会直接影响到薄膜的质量和性能。
2.靶材:靶材是被溅射的金属材料,通常是高纯度的金属靶材。
靶材的选择取决于所需薄膜的成分和性质。
3.基底:基底是薄膜沉积的载体,可以是玻璃、金属或其他材料。
基底的选择和处理也会对薄膜的质量和性能产生影响。
4.真空室:真空室是磁控溅射仪中的一个重要部分,用于提供高真空环境,防止氧气等杂质对薄膜的影响。
三、应用领域磁控溅射仪广泛应用于各个领域的薄膜制备,具有以下几个优点:1.多种材料可溅射:磁控溅射仪可以处理多种材料,包括金属、合金、氧化物、硅、硫化物等,因此在材料选择上具有较大的灵活性。
2.薄膜质量高:磁控溅射制备的薄膜具有良好的致密性和平坦度,可以满足高质量薄膜的需求。
3.控制精度高:通过调节离子束的能量和轰击时间,可以对薄膜的厚度和成分进行精确控制。
4.应用广泛:磁控溅射仪制备的薄膜在光学、电子学、磁学、显示器件等领域都有广泛的应用,如光学薄膜、导电薄膜、磁性薄膜等。
磁控溅射1、磁控溅射仪器介绍:2、磁控溅射原理:用高能粒子(大多数是由电场加速的正离子)撞击固体表面,在与固体表面的原子或分子进行能量交换后,从固体表面飞出原子或分子的现象称为溅射。
按照溅射理论的级联碰撞模型如图所示,当入射离子与靶原子发生碰撞时把能量传给靶原子,在准弹性碰撞中,通过动量转移导致晶格的原子撞出,形成级联碰撞。
当级联碰撞延伸到靶表面,使表面粒子的能量高压电场的加速作用下高速飞向作为阴极的靶材,,足以克服结合能时,表面粒子逸出成为溅射粒子。
溅射粒子沉积到基底或工件表面形成薄膜的方法称为溅射镀膜法。
对于直流溅射,靶材是需要溅射的材料,它作为阴极,相对于基底有数千伏的电压。
对系统预抽真空以后,充入适当压力的惰性气体。
例如Ar作为气体放电的载体,压力一般为1~10Pa 的范围内。
在正负极高压的作用下,极间的气体原子将被大量电离。
电离过程使Ar原子电离成为Ar+离子和可以独立运动的电子e。
其中电子飞向阳极,而带正电荷的Ar+离子则在高压电场的加速作用下高速飞向作为阴极的靶材,并与靶材原子发生级联碰撞而使靶表面粒子逸出,沉积在基底上而形成薄膜。
直流溅射只能沉积金属膜,而不能沉积绝缘介质膜。
其原因是由于,当溅射绝缘介质靶材时,轰击绝缘介质靶材表面的正离子和电荷无法中和,于是导致靶面电位升高,外加电压几乎都加在靶(绝缘介质)上,极间的粒子加速与电离就会变小,以至于溅射不能维持。
如果在靶和基底之间加一射频电压,那么溅射将可以维持。
这是因为在溅射靶电极处于高频电压的负半周时,正离子对靶材进行轰击引起溅射。
与此同时,在介质靶面积累了大量的正电荷。
当溅射靶电极处于高频电压的正半周时,由于电子对靶材进行轰击中和了积累在介质靶面的正电荷,就为下一周期的溅射创造了条件。
这样,在一个周期内正离子和电子可以交替地轰击靶子,从而实现溅射材料实质的目的。
一般溅射镀膜的最大缺点是溅射速率较低和电子使基片温度升高。
而磁控溅射正好弥补了这一缺点。
磁控溅射镀膜原理及工艺摘要:真空镀膜技术作为一种产生特定膜层的技术,在现实生产生活中有着广泛的应用。
真空镀膜技术有三种形式,即蒸发镀膜、溅射镀膜和离子镀。
这里主要讲一下由溅射镀膜技术发展来的磁控溅射镀膜的原理及相应工艺的研究。
关键词:溅射;溅射变量;工作气压;沉积率。
绪论溅射现象于1870年开始用于镀膜技术,1930年以后由于提高了沉积速率而逐渐用于工业生产。
常用二极溅射设备如右图。
通常将欲沉积的材料制成板材- 靶,固定在阴极上。
基片置于正对靶面的阳极上,距靶一定距离。
系统抽至高真空后充入(10~1)帕的气体(通常为氩气),在阴极和阳极间加几千伏电压,两极间即产生辉光放电。
放电产生的正离子在电场作用下飞向阴极,与靶表面原子碰撞,受碰撞从靶面逸出的靶原子称为溅射原子,其能量在1至几十电子伏范围内。
溅射原子在基片表面沉积成膜。
其中磁控溅射可以被认为是镀膜技术中最突出的成就之一。
它以溅射率高、基片温升低、膜-基结合力好、装置性能稳定、操作控制方便等优点,成为镀膜工业应用领域(特别是建筑镀膜玻璃、透明导电膜玻璃、柔性基材卷绕镀等对大面积的均匀性有特别苛刻要求的连续镀膜场合)的首选方案。
1磁控溅射原理溅射属于PDV(物理气相沉积)三种基本方法:真空蒸发、溅射、离子镀(空心阴极离子镀、热阴极离子镀、电弧离子镀、活性反应离子镀、射频离子镀、直流放电离子镀)中的一种。
磁控溅射的工作原理是指电子在电场E的作用下,在飞向基片过程中与氩原子发生碰撞,使其电离产生出Ar正离子和新的电子;新电子飞向基片,Ar正离子在电场作用下加速飞向阴极靶,并以高能量轰击靶表面,使靶材发生溅射。
在溅射粒子中,中性的靶原子或分子沉积在基片上形成薄膜,而产生的二次电子会受到电场和磁场作用,产生E(电场)×B(磁场)所指的方向漂移,简称E×B漂移,其运动轨迹近似于一条摆线。
若为环形磁场,则电子就以近似摆线形式在靶表面做圆周运动,它们的运动路径不仅很长,而且被束缚在靠近靶表面的等离子体区域内,并且在该区域中电离出大量的Ar正离子来轰击靶材,从而实现了高的沉积速率。
实验一磁控溅射法制备薄膜材料一、实验目的1.详细掌握磁控溅射制备薄膜的原理和实验程序;2、制备出一种金属膜, 如金属铜膜;3.测量制备金属膜的电学性能和光学性能;二、 4、掌握实验数据处理和分析方法, 并能利用 Origin 绘图软件对实验数据进行处理和分析。
三、实验仪器磁控溅射镀膜机一套、万用电表一架、紫外可见分光光度计一台;玻璃基片、金属铜靶、氩气等实验耗材。
四、实验原理1.磁控溅射镀膜原理(1)辉光放电溅射是建立在气体辉光放电的基础上, 辉光放电是只在真空度约为几帕的稀薄气体中, 两个电极之间加上电压时产生的一种气体放电现象。
辉光放电时, 两个电极间的电压和电流关系关系不能用简单的欧姆定律来描述, 以气压为1.33Pa 的 Ne 为例, 其关系如图 5 -1 所示。
图 5-1 气体直流辉光放电的形成当两个电极加上一个直流电压后, 由于宇宙射线产生的游离离子和电子有限,开始时只有很小的溅射电流。
随着电压的升高, 带电离子和电子获得足够能量, 与中性气体分子碰撞产生电离, 使电流逐步提高, 但是电压受到电源的高输出阻抗限制而为一常数, 该区域称为“汤姆森放电”区。
一旦产生了足够多的离子和电子后, 放电达到自持, 气体开始起辉, 出现电压降低。
进一步增加电源功率, 电压维持不变, 电流平稳增加, 该区称为“正常辉光放电”区。
当离子轰击覆盖了整个阴极表面后, 继续增加电源功率, 可同时提高放电区内的电压和电流密度, 形成均匀稳定的“异常辉光放电”, 这个放电区就是通常使用的溅射区域。
随后继续增加电压, 当电流密度增加到~0.1A/cm 2时, 电压开始急剧降低, 出现低电压大电流的弧光放电, 这在溅射中应力求避免。
(2)溅射通常溅射所用的工作气体是纯氩, 辉光放电时, 电子在电场的作用下加速飞向基片的过程中与氩原子发生碰撞, 电离出大量的氩离子和电子, 电子飞向基片。
氩离子在电场的作用下加速轰击靶材, 溅射出大量的靶材原子, 这些被溅射出来的原子具有一定的动能, 并会沿着一定的方向射向衬底, 从而被吸附在衬底上沉积成膜。
mrc溅射台工作原理磁控溅射(Magnetron Sputtering)溅射台是一种在薄膜制备领域广泛应用的设备,它有着独特而迷人的工作原理呢。
首先呢,我们得知道溅射是一种物理气相沉积(PVD)技术。
在mrc溅射台中,有一个非常关键的部分就是靶材。
这个靶材是由我们想要沉积的材料制成的,比如说,如果我们想要制备一层金属薄膜,那靶材可能就是相应的金属,像铜、铝之类的。
在溅射台内部,有一个强大的电场被建立起来。
这个电场是怎么来的呢?是通过给靶材加上一个负的高电压而形成的。
然后呢,在这个电场的作用下,溅射台内部的气体就开始发生奇妙的变化啦。
通常我们会在溅射台中充入氩气这种惰性气体。
氩原子在电场中被电离,变成氩离子。
氩离子在电场的加速下,就像一群精力充沛的小战士,朝着带负电的靶材高速冲过去。
当这些氩离子撞击到靶材表面的时候,就会把靶材表面的原子给撞出来呀。
这就好像是用小弹珠去击打一堆积木,把积木中的一些小木块给打飞出来一样。
被撞出来的靶材原子呢,就会在溅射台内自由地飞行。
这个时候,如果我们在溅射台内有一个基底,也就是我们想要在上面沉积薄膜的材料,比如说硅片之类的。
这些自由飞行的靶材原子就会飞向基底,然后在基底上逐渐沉积下来,一层一层地,就像盖房子一样,慢慢地形成一层薄膜。
在这个过程中,磁控的作用可不能忽视哦。
磁控溅射之所以叫这个名字,就是因为有磁场在其中起到了巧妙的控制作用。
在靶材后面,有一个磁场发生器。
这个磁场是垂直于电场方向的。
磁场的存在使得氩离子在飞向靶材的过程中,运动轨迹变得更加复杂和集中。
它会让氩离子在靶材表面附近形成一个高密度的等离子体区域。
这个区域就像是一个氩离子的聚集区,更多的氩离子在这里聚集并且撞击靶材。
这样做有很多好处呢。
一方面,它提高了溅射的效率,让更多的靶材原子被撞出来;另一方面,它也使得溅射的过程更加均匀。
就好比是一群工人在盖房子,如果他们分布得很均匀,工作效率又高,那房子盖起来就又快又好。
磁控溅射设备构造及其沉积薄膜原理
1. 实验目的:
了解磁控溅射设备的构造,熟悉磁控溅射沉积薄膜的基本原理。
2. 实验内容:
2.1 了解磁控溅射设备的构造
总体来讲,磁控溅射薄膜沉积系统包括:气路、真空系统、循环水冷却系统、控制系统。
其中
(1) 气路系统:与PECVD系统类似,磁控溅射系统应包括一套完整的气路系统。
但是,与PECVD系统不同的是,PECVD系统中,气路中为反应气体的通道。
而磁控溅射系统气路中一般为Ar、N2等气体。
这些气体并不参与成膜,而是通过发生辉光放电现象将靶材原子轰击下来,使靶材原子获得能量沉积到衬底上成膜。
(2) 真空系统:与PECVD系统类似,磁控溅射沉积薄膜前需要将真空腔室抽至高真空。
因此,其真空系统也包括机械泵、分子泵这一高真空系统。
(3) 循环水冷却系统:工作过程中,一些易发热部件(如分子泵)需要使用循环水带走热量进行冷却,以防止部件损坏。
(4) 控制系统:综合控制PECVD系统各部分协调运转完成薄膜沉积,一般集成与控制柜。
2.2 磁控溅射沉积薄膜原理
在阳极(除去靶材外的整个真空室)和阴极溅射靶材(需要沉积的材料)之间加上一定的电压,形成足够强度的静电场。
然后再在真空室内通入较易离子化的惰性Ar气体,在静电场E的作用下产生气体离子化辉光放电。
Ar气电离并产生高能的Ar+离子和二次电子e。
高能的Ar+阳离子由于电场E的作用会加速飞向阴极溅射靶表面,并以高能量轰击靶表面,使靶材表面发生溅射作用。
被溅射出的靶原子(或分子)沉积在基片上形成薄膜。
由于磁场B的作用,一方面在阴极靶的周围,形成一个高密度的辉光等离子区,在该区域电离出大量的Ar+离子来轰击靶的表面,溅射出大量的靶材粒子向工件表面沉积;另一方面,二次电子在加速飞离靶表面的同时,受到磁场的洛伦兹力作用,以摆线和螺旋线的复合形式在靶表面作圆周运动。
随着碰撞次数的
增加,电子的能量逐渐降低,到达基片后的能量很小,故基片的温升较低。
当溅射量达到一定程度后,靶表面的材料也就被消耗掉,形成拓宽的溅蚀环凹状区。