2019年最新辽宁省沈阳市大东区征地补偿标准
- 格式:docx
- 大小:13.61 KB
- 文档页数:3
辽政办发〔2010〕2号辽宁省人民政府办公厅关于实施征地区片综合地价标准的通知各市人民政府,省政府各厅委、各直属机构:为做好土地征收工作,维护被征地农民合法权益,根据《》(国发〔2004〕28号)要求,省国土资源厅会同有关部门制定了《辽宁省征地区片综合地价标准》。
经省政府同意,现就实施征地区片综合地价标准有关问题通知如下:一、本征地区片综合地价标准,是指征收一般农用地土地补偿费与安置补助费之和,其他地类以综合地价标准为基础按以下系数调整:建设用地1.0;未利用地0.8。
未经批准任何单位和个人不得擅自改变或降低征地区片综合地价标准。
二、被征收土地上有附着物和青苗的,对地上附着物和青苗的所有权人要另行补偿。
具体补偿标准(林木补偿费除外)由各设区的市政府制订,报省政府备案。
青苗补偿费按征地时当季作物的产值价计算。
三、依法征收农民家庭承包土地的,征地补偿费的80%归被征地农户,20%归集体经济组织;征收土地集体经济组织未发包以及实行其他方式承包的土地,征地补偿费归集体经济组织,依法分配或使用。
四、建设项目施工和地质勘查等需要临时使用农村集体土地或国有土地,使用期为1年的,补偿标准为征地区片综合地价的15%;使用期限为2年的,补偿标准为征地区片综合地价的20%。
五、建设项目经批准使用国有农用地和未利用地的,比照该区域内集体农用地和未利用地区片综合地价标准补偿。
六、《辽宁省征地区片综合地价标准》自发布之日起执行。
凡过去省及省以下各级政府制定的有关征地补偿标准与本通知不一致的,以本通知为准。
1七、对《辽宁省征地区片综合地价标准》实施以前,已按法定程序和权限批准征收的土地(含2009年经批准新开工建设的国家、省重点基础设施项目用地),仍按原批准的征地补偿方案执行。
八、征地区片综合地价标准每3年调整一次,由省国土资源厅提出调整方案,报省政府批准后组织实施。
附件:辽宁省征地区片综合地价标准二○一○年一月七日沈阳市征地区片综合地价表23456大连市征地区片综合地价表7891011鞍山市征地区片综合地价表121314抚顺市征地区片综合地价表151617本溪市征地区片综合地价表1819丹东市征地区片综合地价表20212223锦州市地区片综合地价表242526营口市征地区片综合地价表2728阜新市征地区片综合地价表293031辽阳市征地区片综合地价表323334铁岭市征地区片综合地价表353637朝阳市征地区片综合地价表38394041盘锦市区征地区片综合地价表42葫芦岛市征地区片综合地价表43444546。
沈阳市城市房屋拆迁住宅房屋补偿区域级别划分图沈阳市城市房屋拆迁住宅房屋补偿区域级别划分图时间:10-07-12 11:18:52沈阳市城市房屋拆迁住宅房屋补偿区域级别划分图一级区域:起青年大街与浑河北水涯线交汇处——浑河北水涯线——南京南大街——砂阳路——铁路线——北跨线桥——胜利北街——市府大路——南京北街——昆山中路——长江街——泰山路——北陵大街——崇山东路——黑龙江街——昆山东路——敬宾街——惠工街——友好街——广宜街——北顺城路——东顺城街——魁星楼路——万泉街——万柳塘路——文化东路——天坛一街——中环路——青年大街——青年大街与浑河北水涯线交汇处止。
二级区域:起浑河北水涯线与长大铁桥交汇处——铁路——砂阳路——南京南街——浑河北水涯线——浑河北水涯线与长大铁桥交汇处止。
起北跨线桥与铁路交汇处——北虹桥路——珠江街——华山路——怒江街——北运河——长江北街——香炉山路——黄河大街——白山路——陵东街——银山路——陵园街——崇山东路——北运河——小北关街——天后宫路——草仓路——铁路——滂江街——莲花街——泉园二路——富民街——浑河北水涯线——浑河北水涯线与浑河桥交汇处止。
三级区域:起沈阳站铁路线与中环路交汇处——中环路——铁路线——卫工南街——建设西路——保工北街——北二中路——兴华北街——天山路——昆山西路——塔湾街——北运河——水渠——怒江北街——白山路——大韩屯东侧路——黑山路——黄河北大街——莲花三路——陵北街——陵北街与白山路交汇处止。
起陵东街与金山路交汇处——金山路——鸭绿江街——北海街——珠林路——北运河——和睦路——凌云街——长安路——小河沿路——江东街——长青路——文萃路210巷——中环路——浑河北水涯线——浑河北水涯线与富民街交汇处止。
四级区域:起铁路线与玄武湖街交汇处——铁路线——重工南街、重工北街——白山路——小韩屯东侧路——西江街——沙万路——塔北村西侧路——千山路——黄河北大街——区界线——省牛肉繁育中心南侧路——铁路——观泉路——高官台街——中环路——浑河隧道——浑河北水涯线——长青桥与北水涯线交汇处止。
2019年最新辽宁省沈阳市于洪区征地补偿标准辽宁省人民政府公布《关于开展征地区片综合地价调整工作的通知》,由省国土资源厅统一印制下发,自2016年1月1日起执行。
专业拆迁律师就将辽宁省沈阳市于洪区最新征地补偿标准分享给大家:辽宁省沈阳市于洪区土地共有七类:一类区片区片范围:北陵街道(沙河子村、小韩村、塔湾村、下坎子村)。
补偿标准:区片价:360000元/亩;建设用地:360000元/亩;未利用地:288000元/亩。
二类区片区片范围:北陵街道(包道村、八家子村)。
补偿标准:区片价:260000元/亩;建设用地:260000元/亩;未利用地:208000元/亩。
三类区片区片范围:造化街道(小转村)。
补偿标准:区片价:160000元/亩;建设用地:160000元/亩;未利用地:128000元/亩。
四类区片区片范围:城东湖街道、南阳湖街道、于洪街道(北李官村)。
补偿标准:区片价:104000元/亩;建设用地:104000元/亩;未利用地:83200元/亩。
五类区片区片范围:于洪街道(红旗台村、丁香村、姚家村)、造化街道(大转村、后丁香村、造化村)。
补偿标准:区片价:81000元/亩;建设用地:81000元/亩;未利用地:66560元/亩。
六类区片区片范围:造化街道(关家村、刘家村、旺牛村、明星村、白家村、郭大桥村、闸上村、高力村)、于洪街道(东民村、前民村、西和平村)、平罗街道(三家子村、上蒲河村、前辛台村、后辛台村、平罗一村、平罗二村、平罗三村、秋家村、黄土坎村)、马三家街道(兰屯村、小三家村、永安桥村、马三家村)、大兴街道。
补偿标准:区片价:57000元/亩;建设用地:57000元/亩;未利用地:45600元/亩。
七类区片区片范围:沙岭街道、平罗街道(二台子村、北三台子村、富强村、王家村、白辛台村、误兵林村、陆家村、青堆子村)、马三家街道(东三十家、东大林村、东甸子村、北甸子村、古城子村、大房身村、岔路村、拉马台村、教养院、曹台村、皮台村、范屯村、西三十家村、西大林村、边台村、静安村)、光辉街道。
沈阳市人民政府关于公布实施沈阳市征地区片综合地价的通知文章属性•【制定机关】沈阳市人民政府•【公布日期】2020.09.10•【字号】沈政发〔2020〕20号•【施行日期】2020.09.10•【效力等级】地方规范性文件•【时效性】现行有效•【主题分类】土地资源正文沈阳市人民政府关于公布实施沈阳市征地区片综合地价的通知各区、县(市)人民政府,市政府有关部门,有关直属单位:为做好土地征收工作,保障建设用地需要,维护被征地农民的合法权益,根据《中华人民共和国土地管理法》和辽宁省自然资源厅《关于调整完善征地区片综合地价的通知》(辽自然资发〔2020〕11号)、《关于公布实施征地区片综合地价的通知》(辽自然资发〔2020〕63号),经省政府批准,现将我市实施征地区片综合地价有关事项通知如下:一、本征地区片综合地价适用于沈阳市行政区域范围内(沈抚改革创新示范区管理范围除外)的土地征收补偿。
二、本征地区片综合地价是征收农民集体农用地的土地补偿费和安置补助费标准,不包括法律规定用于社会保险缴费补贴的被征地农民社会保障费用、地上附着物和青苗等的补偿费用。
基准对象为一般农用地。
以此为基础,按照基本农田1.2、建设用地1.0、未利用地0.8进行调整。
在实施征收中不得降低补偿标准。
三、被征收土地上有附着物和青苗的,对地上附着物和青苗的所有权人另行补偿,补偿标准按照有关规定执行。
四、本征地区片综合地价按照主要用于被征地农民的原则,土地补偿费和安置补助费的比例为4:6。
五、依法收回国有农场土地使用权的补偿和职工安置按照《国土资源部农业部关于加强国有农场土地使用管理的意见》(国土资发〔2008〕202号)有关规定执行。
六、建设项目施工和地质勘查等需要临时使用集体土地、国有农用地和未利用地,每年按照本征地区片综合地价的15%给予补偿。
七、各区、县(市)人民政府应当通过多种方式公布本征地区片综合地价,加强政策宣传解释工作,妥善解决实施过程中的有关问题。
辽宁省人民政府办公厅关于实施征地区片综合地价标准的通知辽政办发〔2010〕2号各市人民政府,省政府各厅委、各直属机构:为做好土地征收工作,维护被征地农民合法权益,根据《国务院关于深化改革严格土地管理的决定》(国发〔2004〕28号)要求,省国土资源厅会同有关部门制定了《辽宁省征地区片综合地价标准》。
经省政府同意,现就实施征地区片综合地价标准有关问题通知如下:一、本征地区片综合地价标准,是指征收一般农用地土地补偿费与安置补助费之和,其他地类以综合地价标准为基础按以下系数调整:建设用地1.0;未利用地0.8。
未经批准任何单位和个人不得擅自改变或降低征地区片综合地价标准。
二、被征收土地上有附着物和青苗的,对地上附着物和青苗的所有权人要另行补偿。
具体补偿标准(林木补偿费除外)由各设区的市政府制订,报省政府备案。
青苗补偿费按征地时当季作物的产值价计算。
三、依法征收农民家庭承包土地的,征地补偿费的80%归被征地农户,20%归集体经济组织;征收土地集体经济组织未发包以及实行其他方式承包的土地,征地补偿费归集体经济组织,依法分配或使用。
四、建设项目施工和地质勘查等需要临时使用农村集体土地或国有土地,使用期为1年的,补偿标准为征地区片综合地价的15%;使用期限为2年的,补偿标准为征地区片综合地价的20%。
五、建设项目经批准使用国有农用地和未利用地的,比照该区域内集体农用地和未利用地区片综合地价标准补偿。
六、《辽宁省征地区片综合地价标准》自发布之日起执行。
凡过去省及省以下各级政府制定的有关征地补偿标准与本通知不一致的,以本通知为准。
七、对《辽宁省征地区片综合地价标准》实施以前,已按法定程序和权限批准征收的土地(含2009年经批准新开工建设的国家、省重点基础设施项目用地),仍按原批准的征地补偿方案执行。
八、征地区片综合地价标准每3年调整一次,由省国土资源厅提出调整方案,报省政府批准后组织实施。
二〇一〇年一月七日辽国土资发[2010] 16号关于公布辽宁省征地区片地价表的通知各市国土资源(规划和国土资源、国土资源和房屋)局:《辽宁省征地区片综合地价标准》已经省政府批准实施。
2019年农村征地补偿价格表(完整版)随着经济的发展和乡村振兴战略的推进,各项基础设施不断建设,⼟地的利⽤率在不断升⾼。
在这个背景下,农村⼟地在被征⽤时,也被赋予了更⾼的价值。
对于农民来讲,有征地,就要有相应的补偿,这也是农民⼗分关⼼的问题。
那么,今年的补偿会有多少?是怎么补的?咱们⼀起来看看。
⼀、补偿价格表征地补偿价格表具体可以划分以下⼏个补贴项⽬,补贴标准仅供参考。
1、耕地:我们都知道耕地可以分为两种类型,⼀种是旱地,⼀种是⽔⽥,旱地每亩的补偿标准是5.3万元,⽔⽥每亩地的补偿标准是9万元。
2、菜⽥:菜⽥征收每亩平均补偿15万元。
3、基本农⽥:我们都知道农⽥可以分为旱⽥和⽔⽥,两种征地补偿标准不⼀样,其中旱⽥征收每亩补偿5.8万元,⽔⽥征收每亩补偿9.9万元,菜⽥征收每亩补偿15.6万元。
4、林地:征收林地每亩补偿13.8万元。
5、农⽤地:征收农⽤地每亩补偿13.8万元。
6、集体建设⽤地:农村集体建设⽤地包括⼯矿建设⽤地、村民住宅、道路等,如果这类⼟地被征收,每亩补偿13.6万元。
7、未利⽤地:农村未利⽤地包括空闲地、荒⼭、荒地、荒滩、荒沟等,如果这类⼟地被征收,每亩补偿2.1万元。
注意:以上只是经济发达地区的补偿价格,供参考,具体请按照所在地区的相关补偿⽂件来确定。
⼆、征地补偿标准⼆、征地补偿标准1、⼟地补偿费:⼟地有很多类型,不同类型的⼟地在征收时,补偿费是不⼀样的,具体如下:(1)耕地,⼟地补偿费按照征⽤前三年平均年产值的8-10倍来进⾏补偿计算。
(2)养殖鱼塘,⼟地补偿费按照邻近耕地前三年平均年产值的4-8倍来进⾏计算。
(3)果园或者其他经济林地,⼟地补偿费按照邻近耕地前三年平均年产值的8-12倍来进⾏计算;(4)其他农⽤地,⼟地补偿费按照邻近耕地前三年平均年产值的6-10倍来进⾏计算;(5)未利⽤地,⼟地补偿费按照邻近耕地前三年平均年产值的3-5倍来进⾏计算;(6)⾮农业建设⽤地,⼟地补偿费按照邻近耕地前三年平均年产值的6-10倍来进⾏计算。
辽宁省征地补偿标准2019年新规定有那些?(一)征地补偿、征收耕地补偿标准旱田平均每亩补偿5.3万元。
2、征收基本农田补偿标准旱田平均每亩补偿5.8万元。
3、征收林地及其他农用地平均每亩补偿13.8万元。
4、征收工矿建设用地、村民住宅、道路等集体建设用地平均每亩补偿13.6万元。
征地补偿标准是每年都在发生着变化,甚至每个省份的征地补偿标准也都有不同,那辽宁省征地补偿标准2017年新规定有那些?有些是沿用以前的征地补偿标准,有些是修改过的甚至是新增上去的。
小编就为你总结出辽宁省2017年关于征地补偿标准的新规定。
▲一、征地补偿新标准及政策(一)征地补偿1、征收耕地补偿标准旱田平均每亩补偿5.3万元。
2、征收基本农田补偿标准旱田平均每亩补偿5.8万元。
3、征收林地及其他农用地平均每亩补偿13.8万元。
4、征收工矿建设用地、村民住宅、道路等集体建设用地平均每亩补偿13.6万元。
5、征收空闲地、荒山、荒地、荒滩、荒沟和未利用地平均每亩补偿2.1万元。
(二)其他税费1、耕地占用税,按每平方米2元计算。
2、商品菜地开发建设基金,按每亩1万元计算。
3、征地管理费,按征地总费用的3%计算。
由国土资源部门严格按有关规定使用。
4、耕地占补平衡造地费,平均每亩4000元,统筹调剂使用,省国土资源厅负责监督验收。
(四)房屋地上物补偿标准1、房屋补偿标准楼房(二层以上)每平方米补偿3300元。
2、其他地上(下)附着物补偿标准仓房每平方米补偿920元。
3、异地安置补助费(包括宅地、配套设施、租房费等)每户2万元。
(五)征占林木补偿标准1、林木补偿标准⑴杨、柳、榆、槐树林木补偿费1—3年平均每亩补偿6000元;2、森林植被恢复费用材林、经济林、薪炭林、苗圃地每亩120000元;未成林每亩86600元4、林业设计费按林地、林木和森林植被恢复费总和的3%收取。
(六)果树补偿标准苹果树培育期(1-5年)平均每株补偿150-220元;梨树培育期(1-5年)平均每株补偿45-120元;桃树培育期(1-3年)平均每株补偿45-90元;葡萄树培育期(1-2年)平均每株补偿30-55元;枣树培育期(1-3年)平均每株补偿30-80元;杏树培育期(1-3年)平均每株补偿45-185元;杂果树培育期(1-3年)平均每株补偿25-50元;(七)电力设施动迁补偿标准1、低压线路改移(0.4KV)每公里补偿30000元;线路加高木杆平均每根1000元,砼杆平均每根1500元(含金具、线、占地、税金等费用)2、高压线路改移(10KV)每公里补偿47000元;线路加高砼单杆平均每根6000元,砼H杆平均每基8000元(含金具、线、占地、税金等费用)3、高压线路加高(66KV)砼单杆平均每根5500元,砼H 杆平均每基8000元,砼A杆平均每基10000元,铁塔平均每基10万元(含金具、线、占地、税金等费用)4、高压线路加高(220KV以上)砼双杆平均每基2万元,铁塔平均每基20万元(含金具、线、占地、税金等费用)(八)邮电通讯设施动迁补偿标准1、电话线路木杆平均每根(含话线横担瓷瓶等)1000-2000元;砼杆平均每根(含话线横担瓷瓶等)1500-3000元。
2019年最新辽宁省沈阳市浑南区征地补偿标准辽宁省人民政府公布《关于开展征地区片综合地价调整工作的通知》,由省国土资源厅统一印制下发,自2016年1月1日起执行。
专业拆迁律师就将辽宁省沈阳市浑南区最新征地补偿标准分享给大家:辽宁省沈阳市浑南区土地共有七类:一类区片区片范围:五三街道(除下深沟村、上深沟村、塔北村和鸡冠屯村以外)、营城子街道(南大甸子村、前桑林子村、后桑林子村、营城子村、张沙布村)、浑河站东街道。
补偿标准:区片价:104000元/亩;建设用地:104000元/亩;未利用地:83200元/亩。
二类区片区片范围:白塔街道(大羊安村、毡匠堡村)、营城子街道(王宝石寨村、王起寨村、施家寨村、收兵台村、南井村、高力村)、东湖街道。
补偿标准:区片价:92000元/亩;建设用地:92000元/亩;未利用地:73600元/亩。
三类区片区片范围:英达街道(东沟村、公家村、英达村)、祝家街道(沙河子村)、王滨街道(中华寺村、荒地沟村、尖山子村、后沟村、大乐村)、深井子街道、汪家街道。
补偿标准:区片价:85000元/亩;建设用地:85000元/亩;未利用地:68000元/亩。
四类区片区片范围:白塔街道(除大羊安村、毡匠堡村以外)、五三街道(下深沟村、上深沟村、塔北村和鸡冠屯村)、李相街道(孙家寨村、南岭村、下泉水浴村、元科村、保和村、上泉水浴村)、桃仙街道。
补偿标准:区片价:81000元/亩;建设用地:81000元/亩;未利用地:64800元/亩。
五类区片区片范围:李相街道(除孙家寨村、南岭村、下泉水浴村、元科村、保和村、上泉水浴村以外)、祝家街道(除沙河子村以外)、王滨街道(王滨村、富家村、魏家村、兴盛村、东八家子村)。
补偿标准:区片价:65000元/亩;建设用地:65000元/亩;未利用地:52000元/亩。
六类区片区片范围:满堂街道(新屯村、莲花村)。
补偿标准:区片价:55000元/亩;建设用地:55000元/亩;未利用地:44000元/亩。
2019年最新辽宁省辽阳市辽阳县征地补偿标准标准:征收土地的,按照被征收土地的原用途给予补偿。
征收耕地的补偿费用包括土地补偿费、安置补助费以及地上附着物和青苗的补偿费。
征收其他土地的土地补偿费和安置补助费标准,由省、自治区、直辖市参照征收耕地的土地补偿费和安置补助费的标准规定。
被征收土地上的附着物和青苗的补偿标准,由省、自治区、直辖市规定。
辽宁省人民政府公布《关于开展征地区片综合地价调整工作的通知》,由省国土资源厅统一印制下发,自2016年1月1日起执行。
专业拆迁律师就将辽宁省辽阳市辽阳县最新征地补偿标准分享给大家:辽宁省辽阳市辽阳县土地共有三类:一类区片区片范围:首山镇(首山镇村、向阳寺村、马伊屯村、土台子村、黑牛庄村、响山子村、马家新村、东王庄村)。
补偿标准:区片价:45000元/亩;建设用地:45000元/亩;未利用地:36000元/亩。
二类区片区片范围:兴隆镇(小赵村、前杠村、王罗村、夏台村、郎二村、大赵村、立开村、后杠村、红光村、兴隆台村、朱家村、祁尔村、腰老村、下洼村)、穆家镇(东穆家村、落虎庄村、郑家村、胜利村、接官堡村、南穆家村、南台口村、新台子村、六间房村、鲁家村、黎起村、黄青堆村、徐家营村、曹家村、曾家村、横道子村、古树村)、刘二堡镇(高庄村、河北村、河南村、大沟村、中心村、东堡村、山东村、喇叭村、西地村、杜家村、孟甲村、后堡村、大张村、陆家村、朱家村、五道村、三岔村、王家村)、寒岭镇(唐家村、二道村、黄泥村、松树沟村、蒿甸子村、九口峪村、栗子园村、梨庇峪村)。
补偿标准:区片价:40000元/亩;建设用地:40000元/亩;未利用地:32000元/亩。
三类区片区片范围:小北河镇(相家村、小北河村、三龙湾村、马家村、高台子村、淤泥湖村、小林子村、通气湾村、树林子村、西月河村、前蒲村、将军坊村、东月河村、蒲河村、房身泡村、杏树沱村、长沟沿村、三棵树村、兴胜台村、郭家村)、下达河乡(下涧村、大牛岭村、东新堡村、庙尔沟村、下达河村、大西沟村、炮手沟村、下柳林子村)、甜水满族乡(王家村、三道岭村、古家子村、腰堡村、李家村、河沿村、甜水村、庙沟村、杨木村、湾沟村、水泉村、韩家村、陈家村、鸡爪村)、唐马寨镇(黄坨子村、长林子村、唐马寨村、蚂蜂泡村、康明村、大背村、运粮河村、翟家村、老背河村、乔坨子村、吕塘坊村、南坨子村、鱼窖子村、三块石村、刘坨子村、沙岗子村、西泗河村)、隆昌镇(隆昌村、得胜村、吉祥村、郭家村、邱家村、祁家村、兰凤村)、柳壕镇(蛤蜊村、柳壕村、孟柳村、往户村、南教村、黄套村、转轴村、北教村、川城村、青鱼弯村、西腰村、罗套村、高力村、常家村)、吉洞峪满族乡(赵家村、五间村、吉洞村、大安村、兴隆村、塔子村、翁家村、刚家村、杨家村、礼备村、六道村、粉城村)、黄泥洼镇(伙食仓村、黄金屯村、烟台村、付五道村、黄泥洼村、头台子村、关口门村、三道岗村、中泗河村、二台子村、马泉村、代耳湾村、南甸子村、西岔子村)、河栏镇(河栏村、小东村、黄岗村、詹家村、鸡鸣村、玉石村、后台村、上堡村、算盘村、稠林村、下麻村、侯家村、刘家村、张家村、上麻村)、八会镇(金厂村、八会村、八股村、通明村、华严寺村、文官村、连河村、西庄村、八盘村、长沟村、宽厂村、榆树村)。
沈阳市人民政府关于公布实施沈阳市征地区片综合地价的通知正文:----------------------------------------------------------------------------------------------------------------------------------------------------沈阳市人民政府关于公布实施沈阳市征地区片综合地价的通知沈政发〔2015〕65号各区、县(市)人民政府,市政府各部门、各直属单位:按照《辽宁省人民政府关于取消调整一批行政职权事项的决定》(辽政发〔2015〕21号)要求,各区、县(市)完成了征地区片综合地价的调整工作,现予以批准。
调整后的沈阳市征地区片综合地价自2016年1月1日起实施。
附件:1.沈阳市征地区片综合地价标准2.沈阳市征地区片综合地价表3.沈阳市征地区片综合地价图沈阳市人民政府2015年12月31日附件1沈阳市征地区片综合地价标准单位:万元/亩序号平均价区片Ⅰ区片Ⅱ区片Ⅲ区片Ⅳ区片Ⅴ区片Ⅵ区片Ⅶ沈阳市3.701和平区9.4310.4 9.22沈河区45.00 45.03大东区18.5 12.5 9.76.24皇姑区22.83 40.0 36.0 26.5 18.5 12.55铁西区3.734.43.16苏家屯区4.99 10.0 7.05.04.07浑南区7.13 10.4 9.28.58.16.55.55.08沈北新区4.77 8.15.54.49于洪区5.21 36.0 26.0 16.0 10.4 8.15.74.410新民市4.43.53.011辽中县3.054.53.012康平县3.003.53.013法库县3.013.63.0附件2 沈阳市征地区片综合地价表地区地价(万元/亩)乡、镇、街道办事处(村名称)和平区Ⅰ10.4长白街道、沈水湾街道Ⅱ9.2浑河站西街道沈河区Ⅰ45.0东陵街道(榆树屯村、马官桥村、凌云村、东塔村、新立堡村、榆树屯苗圃、八家子村、高官台村)、丰乐街道、马官桥街道、南塔街道、泉园街道大东区Ⅰ18.5前进街道(二台子村、东山村、沈海村、望花村、畜牧场、榆林村)Ⅱ12.5前进街道(王家村、赵家村、辛家村、山梨村、后陵村)Ⅲ9.7前进街道(大洼村、大志村、皮台村)、文官街道(朱尔村、木匠村)Ⅳ6.2文官街道(柳岗屯村、前占屯村)皇姑区40.0北陵农场Ⅱ36.0陵东街道(上岗子村、东窑村、柳条湖村、西窑村、陵东村)Ⅲ26.5陵东街道(观音村、田义村)Ⅳ18.5陵东街道(文官村)Ⅴ12.5三台子街道(北四台子村、方溪湖村)铁西区Ⅰ4.4翟家街道、大潘街道、彰驿镇、高花镇、大青中朝友谊街道(除西和平村、兰台村、沙岭村以外)、西三环街道(张士村、宁官村)、胡台镇(大牤牛村、二牤牛村、南山村、徐家林子村)Ⅱ3.1长滩镇、四方台镇、新民屯镇、杨士岗镇(八三堡村、火石岗村)、刘二堡镇(罗圈泡村)苏家屯区Ⅰ10.0湖西街道、解放街道、民主街道、中兴街道、临湖街道(前谟家堡村、东谟家堡村、大淑堡村)、浑河农场7.0临湖街道(除前谟家堡村、东谟家堡村、大淑堡村以外)、林盛街道(文成堡村、四方台村、大古家子村、达连屯村、林盛堡村)、沙河街道、佟沟街道Ⅲ5.0林盛街道(除文成堡村、四方台村、大古家子村、达连屯村、林盛堡村以外)、陈相街道、八一街道Ⅳ4.0红菱街道、十里河街道、姚千街道、王纲街道、白清街道、大沟街道、永乐街道浑南区Ⅰ10.4五三街道(除下深沟村、上深沟村、塔北村和鸡冠屯村以外)、营城子街道(南大甸子村、前桑林子村、后桑林子村、营城子村、张沙布村)、浑河站东街道Ⅱ9.2白塔街道(大羊安村、毡匠堡村)、营城子街道(王宝石寨村、王起寨村、施家寨村、收兵台村、南井村、高力村)、东湖街道Ⅲ8.5英达街道(东沟村、公家村、英达村)、祝家街道(沙河子村)、王滨街道(中华寺村、荒地沟村、尖山子村、后沟村、大乐村)、深井子街道、汪家街道Ⅳ8.1白塔街道(除大羊安村、毡匠堡村以外)、五三街道(下深沟村、上深沟村、塔北村和鸡冠屯村)、李相街道(孙家寨村、南岭村、下泉水浴村、元科村、保和村、上泉水浴村)、桃仙街道Ⅴ6.5李相街道(除孙家寨村、南岭村、下泉水浴村、元科村、保和村、上泉水浴村以外)、祝家街道(除沙河子村以外)、王滨街道(王滨村、富家村、魏家村、兴盛村、东八家子村)Ⅵ5.5满堂街道(新屯村、莲花村)Ⅶ5.0满堂街道(除新屯村、莲花村以外)、高坎街道、望滨街道沈北新区Ⅰ8.1虎石台街道(虎石台社区)、道义街道(正良社区、郭七社区、道义一社区、道义二社区)Ⅱ5.5虎石台街道(除虎石台社区、前詹社区、柳岗社区以外)、道义街道(除正良社区、郭七社区、道义一社区、道义二社区以外)、辉山街道、沈北街道Ⅲ4.4清泉街道、财落街道、兴隆台街道、马刚街道、尹家街道、石佛寺街道、黄家街道于洪区Ⅰ36.0北陵街道(沙河子村、小韩村、塔湾村、下坎子村)Ⅱ26.0北陵街道(包道村、八家子村)Ⅲ16.0造化街道(小转村)Ⅳ10.4城东湖街道、南阳湖街道、于洪街道(北李官村)Ⅴ8.1于洪街道(红旗台村、丁香村、姚家村)、造化街道(大转村、后丁香村、造化村)Ⅵ5.7造化街道(关家村、刘家村、旺牛村、明星村、白家村、郭大桥村、闸上村、高力村)、于洪街道(东民村、前民村、西和平村)、平罗街道(三家子村、上蒲河村、前辛台村、后辛台村、平罗一村、平罗二村、平罗三村、秋家村、黄土坎村)、马三家街道(兰屯村、小三家村、永安桥村、马三家村)、大兴街道于洪区Ⅶ4.4沙岭街道、平罗街道(二台子村、北三台子村、富强村、王家村、白辛台村、误兵林村、陆家村、青堆子村)、马三家街道(东三十家、东大林村、东甸子村、北甸子村、古城子村、大房身村、岔路村、拉马台村、教养院、曹台村、皮台村、范屯村、西三十家村、西大林村、边台村、静安村)、光辉街道新民市Ⅰ4.4胡台镇Ⅱ3.5东城街道、辽滨街道、西城街道、新柳街道、新城街道、法哈牛镇、前当堡镇、大民屯镇、张家屯镇、兴隆堡镇、兴隆镇Ⅲ3.0金五台子乡、红旗乡、大红旗镇、柳河沟镇、卢家屯乡、姚堡乡、梁山镇、周坨子镇、于家窝堡乡、高台子镇、大柳屯镇、新农乡、公主屯镇、三道岗子镇、东蛇山子镇、陶家屯镇、罗家房镇辽中县Ⅰ4.5蒲西街道、蒲东街道(年家屯村、吴家屯)、城郊镇(小龙湾村)、茨榆坨镇(第一社区、第二社区、第三社区、第四社区、第五社区、第六社区)、六间房镇(马三家子村)Ⅱ3.0城郊镇(除小龙湾村以外)、茨榆坨镇(除第一社区、第二社区、第三社区、第四社区、第五社区、第六社区以外)、六间房镇(除马三家子村以外)、蒲东街道(徐家屯村、乌伯牛村、勾刘村、达子营村、东荒地村、腰荒地村)、杨士岗镇、于家房镇、朱家房镇、养士堡镇、刘二堡镇、肖寨门镇、潘家堡镇、冷子堡镇、老大房镇、大黑岗子镇、满都户镇、牛心坨镇康平县Ⅰ3.5胜利街道(康平镇、镇西村、前进村、胜利村)、新城区(苏家岗村、顺山屯村)Ⅱ3.0胜利街道(文华村、孔家窝堡村、高家窝堡村、哈拉户硕村)、东关街道、三台子畜牧场、郝官屯镇、张强镇、小城子镇、方家屯镇、二牛所口镇、东升满族蒙古族乡、海州窝堡乡、两家子乡、柳树屯蒙古族满族乡、沙金台蒙古族满族乡、北三家子街道、北四家子乡、西关屯蒙古族满族乡、辽宁康平经济开发区、康平县农业经济技术开发区、康平县示范场、张家窑林场、卧龙湖、孙家店林场、四道号水库、三台子水库、花古水库、大辛林场法库县Ⅰ3.6法库镇(石桥社区、东门村、北门村、东农村、建设村、果子园村、南门社区、西门社区、周地沟社区、马家店社区)、五台子镇(四台子村、团山子村、秋皮沟村、陶屯社区、石岗子社区、魏家楼村、阎家窝堡社区)法库县Ⅱ3.0柏家沟镇、包家屯镇、慈恩寺乡、大孤家子镇、登仕堡子镇、丁家房镇、四家子蒙古族乡、卧牛石乡、叶茂台镇、冯贝堡镇、和平乡、孟家镇、三面船镇、双台子乡、秀水河子镇、依牛堡子镇、十间房镇、五台子镇(除四台子村、团山子村、秋皮沟村、陶屯社区、石岗子社区、魏家楼村、阎家窝堡社区以外)、法库镇(东沟村、红土砬子村、种畜场、蛇山沟村、郝家沟村)附件3——结束——。
2019年最新辽宁省兴城市征地补偿标准辽宁省兴城市土地共有三类:一类区片补偿标准:区片价:70000元/亩;建设用地:70000元/亩;未利用地:56000元/亩。
二类区片补偿标准:区片价:60000元/亩;建设用地:60000元/亩;未利用地:48000元/亩。
三类区片补偿标准:区片价:55000元/亩;未利用地:44000元/亩。
辽宁省人民政府公布《关于开展征地区片综合地价调整工作的通知》,由省国土资源厅统一印制下发,自2016年1月1日起执行。
专业拆迁律师就将辽宁省兴城市最新征地补偿标准分享给大家:辽宁省兴城市土地共有三类:一类区片区片范围:古城街道、宁远街道、城东街道、温泉街道、钓鱼台街道、四家屯街道。
补偿标准:区片价:70000元/亩;建设用地:70000元/亩;未利用地:56000元/亩。
二类区片区片范围:菊花街道、曹庄镇、临海街道、沙后所镇、东辛庄镇、红崖子镇、徐大堡镇、高家岭镇、羊安满族乡、元台子满族乡、望海满族乡、刘台子满族乡、大寨满族乡。
补偿标准:区片价:60000元/亩;建设用地:60000元/亩;未利用地:48000元/亩。
三类区片区片范围:华山街道、郭家镇、白塔满族乡、南大满族乡、围屏满族乡、碱厂满族乡、三道沟满族乡、旧门满族乡、药王满族乡。
补偿标准:区片价:55000元/亩;建设用地:55000元/亩;未利用地:44000元/亩。
以上补偿标准仅包含土地补偿费、安置补助费,不包含被征收土地青苗及地上附着物补偿费用,地上附着物和青苗补偿费标准由各省辖市、省直管县(市)政府调整并公布,与征地区片综合地价配套实施。
如您对这一补偿标准还有不理解的地方,欢迎咨询专业拆迁律师,我们的律师将会为您提供专业的法律意见。
▲2017年最新甘肃省庆阳市环县征地补偿标准▲▲2017年最新辽宁省盖州市征地补偿标准。
2019年辽宁征地补偿新标准是什么?现在征地已经是很普遍的现象了,国家为了发展,带动相关地区经济和产业的发展,会征用土地,征用土地国家会给予相应的征地补偿,国家的征地补偿是有国家的标准的,不是随意进行补偿的,对不同的东西的补偿标准是不一样的,对不同省市的不同地区的补偿标准也是不一样的,我们就以辽宁省为例,那么2017年辽宁征地补偿新标准是什么?下面我们来听听小编的看法。
现在征地已经是很普遍的现象了,国家为了发展,带动相关地区经济和产业的发展,会征用土地,征用土地国家会给予相应的征地补偿,国家的征地补偿是有国家的标准的,不是随意进行补偿的,对不同的东西的补偿标准是不一样的,对不同省市的不同地区的补偿标准也是不一样的,我们就以辽宁省为例,那么2017年辽宁征地补偿新标准是什么?下面我们来听听小编的看法。
▲《辽宁省征地补偿标准》▲第二十三条征用耕地的土地补偿费和安置补助费按下列标准进行补偿:(一)在城市规划区外单独选址的属于公益事业和城市基础设施的建设项目,征用耕地的土地补偿费为该耕地被征用前3年平均年产值的6至7倍;其他项目征用耕地的土地补偿费为该耕地被征用前3年平均年产值的8至10倍。
(二)征用耕地的,每一个需要安置的农业人口的安置补助费,为该耕地被征用前3年平均年产值的4至6倍,但每公顷被征用土地的安置补助费最高不得超过被征用前3年平均年产值的15倍。
依照上述规定支付的土地补偿费和安置补助费,尚不能使需要安置的农民保持原有生活水平的,经省人民政府批准,可增加安置补助费。
但土地补偿费和安置补助费的总和不得超过土地被征用前3年平均年产值的30倍。
▲第二十四条征用其他土地的土地补偿费和安置补助费按下列标准进行补偿:(一)征用林地、草地、苇塘、养殖水面、农田水利用地等农用地,按照邻近一般旱地被征用前3年平均年产值的4至6倍补偿。
(二)征用乡(镇)、村公共设施或者公益事业、乡镇企业和农村村民住宅占用的集体所有土地,按照邻近一般旱地被征用前3年平均年产值的5至7倍补偿。
2019国家征地补偿标准是什么1、征收耕地补偿标准旱田平均每亩补偿5.3万元。
水田平均每亩补偿9万元。
菜田平均每亩补偿15万元。
2、征收基本农田补偿标准旱田平均每亩补偿5.8万元。
水田平均每亩补偿9.9万元。
菜田平均每亩补偿15.6万元。
3、征收林地及其他农用地平均每亩补偿13.8万元。
不管是国家因为什么原因进行土地征收的,此时都需要对被征地人作出相应的补偿。
而根据相关法律中的规定,在补偿没有到位之前,一般是不允许进行土地征收的。
但对很多人而言其实都不是很清楚国家征地补偿标准。
下面小编带来相关资料,就来告诉大家2017国家征地补偿标准是什么。
▲一、2017国家征地补偿标准是什么1、土地补偿费用地单位依法对被征地的农村集体经济组织因其土地被征用造成经济损失而支付的一种经济补偿。
2、青苗补偿费用地单位对被征用土地上的青苗因征地受到毁损,向种植该青苗的单位和个人支付的一种补偿费用。
3、附着物补偿费用地单位对被征用土地上的附着物,如房屋、其它设施,因征地被毁损而向该所在人支付的一种补偿费用。
4、安置补助费、用地单位对被征地单位安置因征地所造成的富余劳动力而支付的补偿费用。
征地补偿标准主要为:1、各项征地补偿费用的具体标准、金额由市、县政府依法批准的征地补偿安置方案规定。
2、土地被征用前3年平均年产值的确定(有关土地补偿费、安置补助费的补偿标准):按当地统计部门审定的最基层单位统计年报和经物价部门认可的单价为准。
3、按规定支付的土地补偿费、安置补助费尚不能使需要安置的农民保持原有生活水平的,可增加安置补助费。
原土地补偿费和安置补助费的总和不得超过土地被征用前三年平均年产值的30倍的土地管理规定,已经在2013年3月26日《土地管理法》中删除。
▲二、征地补偿费如何管理现实中很多征用土地的行为的程序虽然合法,但是在支付、管理征地补偿费的时候有履行瑕疵。
我国规定,市、县人民政府土地行政主管部门应在土地征用批准后三个月内,将征地补偿费用支付给被征用土地的农村集体组织或村民委员会。
2019年新的征地补偿1、土地补偿费用地单位依法对被征地的农村集体经济组织因其土地被征用造成经济损失而支付的一种经济补偿。
2、青苗补偿费用地单位对被征用土地上的青苗因征地受到毁损,向种植该青苗的单位和个人支付的一种补偿费用。
3、附着物补偿费。
这几年,国家的经济发展速度非常快,城市化进程也加快了。
现有的土地就不能满足社会发展的需要了,很多地方都在进行征地拆迁。
今年的征地补偿与以前相比有了一定的改变,所以官员,房地产商等对此都表现出了高度的重视。
介绍一下2017年新的征地补偿的标准是什么?▲一、2017最新征地补偿新标准1、各项征地补偿费用的具体标准、金额由市、县政府依法批准的征地补偿安置方案规定。
2、土地被征用前3年平均年产值的确定(有关土地补偿费、安置补助费的补偿标准):按当地统计部门审定的最基层单位统计年报和经物价部门认可的单价为准。
3、按规定支付的土地补偿费、安置补助费尚不能使需要安置的农民保持原有生活水平的,可增加安置补助费。
原土地补偿费和安置补助费的总和不得超过土地被征用前三年平均年产值的30倍的土地管理规定,已经在2013年3月26日《土地管理法》中删除。
政府征收农民土地,应有合法项目,按照法定程序,给予被征收人合理补偿,先补偿,再征收,任何违反以上基本原则的征收行为都属于违法征收。
被征收人可以拒绝签订征地补偿安置协议,以申请信息公开,提起行政复议,行政诉讼等方式争取自己的合法权利。
现行法律规定,按照被征收土地的原用途给予补偿,土地补偿费和安置补助费的总和不得超过被征收前三年平均年产值的30倍。
然而在现实中,时常出现招拍挂交易后的土地出让金,远远高于征地补偿款的情况,也正是巨大的价差,导致了征地矛盾的频发。
集体土地征收,是指国家为公共利益的需要,通过法定程序,将原属于农民集体所有的土地征为国有的行为。
现行法律规定,按照被征收土地的原用途给予补偿,土地补偿费和安置补助费的总和不得超过被征收前三年平均年产值的30倍。
沈阳市政府令第46号——沈阳市国有土地上房屋征收与补偿办法正文:----------------------------------------------------------------------------------------------------------------------------------------------------沈阳市政府令第46号《沈阳市国有土地上房屋征收与补偿办法》业经2014年12月5日市人民政府第17次常务会议讨论通过,现予以发布,自2015年2月1日起施行。
市长陈海波二○一四年十二月九日沈阳市国有土地上房屋征收与补偿办法第一章总则第一条为了规范国有土地上房屋征收与补偿活动,维护公共利益,保障被征收房屋所有权人的合法权益,根据《国有土地上房屋征收与补偿条例》等有关规定,结合本市实际,制定本办法。
第二条在本市行政区域内国有土地上实施房屋征收与补偿,适用本办法。
第三条市房产行政管理部门是本市国有土地上房屋征收与补偿工作的行政主管部门,其所属的市国有土地房屋征收管理机构负责日常管理工作,并对区、县(市)房屋征收部门的工作进行监督指导。
区、县(市)人民政府负责本行政区域内房屋征收与补偿工作。
区、县(市)人民政府确定的房屋征收部门,负责组织实施本行政区域内的房屋征收与补偿工作。
发展改革、规划和国土资源、建设、行政执法、工商、审计、财政、民政、税务、监察等部门应当按照职责分工,做好房屋征收与补偿工作。
第四条市房屋征收主管部门应当对全市从事房屋征收工作的人员进行法律、法规和相关知识的培训和考核。
第二章征收决定第五条根据相关法律、法规规定,因公共利益需要,确需征收房屋的,由区、县(市)人民政府作出房屋征收决定。
第六条确需征收房屋的各项建设活动,区、县(市)人民政府应当向发展改革、规划和国土资源等部门提出申请,有关部门应当出具相关证明文件:(一)发展改革部门应当出具项目符合国民经济和社会发展规划的证明文件;(二)规划和国土资源部门应当出具项目符合土地利用总体规划的证明文件;(三)规划和国土资源部门应当出具项目符合城乡规划的证明文件;(四)需要出具的其他相关材料。
沈阳市规划和国土资源局关于印发城区土地级别基准地价和出让金租金标准的通知各区、开发区规划和国土资源分局:为加强地价管理,规范土地交易行为,促进房地产市场健康发展,依据国家《城镇土地分等定级规程》、《城镇土地估价规程》,结合实际情况,对我市城区及三环以外部分地区进行了土地分等定级和基准地价评估测算,指定了新的土地出让金、租金标准。
经市政府同意,现将《关于沈阳市城区土地级别\基准地价标准及出让金、租金标准使用有关问题的说明》、《沈阳市城区土地级别图及范围说明》、《沈阳市城区基准地价标准》、《沈阳市城区出让金、租金标准》、《容积率修正系数》、《沈阳市三环以外乡镇分等及基准地价、出让金标准》一并予以公布,并就有关事项通知如下:一、凡通过土地市场以招标、拍卖、挂牌等方式供应的房地产开发的经营性建设项目用地,出让底价应根据新的基准地价标准,综合宗地区位和规划条件等因素进行评估测算后,按规定程序确定,不再单独套用出让金标准。
对其它建设项目等用地办理协议出让时,执行新的土地出让金标准,并按规定进行容积率、用途等修正。
二、对已经以划拨方式取得土地使用权的用地,因不再符合《划拨用地目录》和国家政策规定需要补办出让、租赁手续的,收取出让金、租金的具体办法另行制定。
三、土地等级和基准地价是制定土地有偿使用政策和地价评估及管理的重要依据。
根据国家有关规定,我局将对地价实施动态监测,定期测算地价指数,调整和更新基准地价标准和出让金、年租金标准。
四、本通知发布的土地级别、基准地价标准和出让金、年租金标准、修正系数自2003年1月1日起执行,《关于调整沈阳市城区国有土地级别和使用权出让金标准的通知》(沈土发[1994]67号)同时废止。
2002年11月20日沈阳市规划和国土资源局关于沈阳市城区土地级别基准地价标准及出让金租金标准使用有关问题的说明一、关于商业、住宅、工业三类以外其它通途土地级别图及有关地价标准的适用。
按照《城镇土地分等定级规程》的要求,本次按商业、住宅、工业三类用途分别定级。
2019年最新辽宁省沈阳市大东区征地补
偿标准
辽宁省人民政府公布《关于开展征地区片综合地价调整工作的通知》,由省国土资源厅统一印制下发,自2016年1月1日起执行。
专业拆迁律师就将辽宁省沈阳市大东区最新征地补偿标准分享给大家:
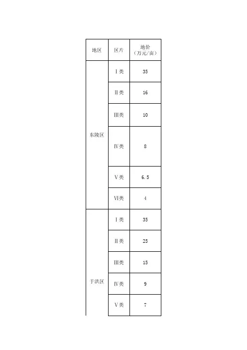
辽宁省沈阳市大东区土地共有四类:
一类区片区片范围:前进街道(二台子村、东山村、沈海村、望花村、畜牧场、榆林村)。
补偿标准:区片价:185000元/亩;建设用地:185000元/亩;未利用地:148000元/亩。
二类区片区片范围:前进街道(王家村、赵家村、辛家村、山梨村、后陵村)。
补偿标准:区片价:125000元/亩;建设用地:125000
元/亩;未利用地:100000元/亩。
三类区片区片范围:前进街道(大洼村、大志村、皮台村)、文官街道(朱尔村、木匠村)。
补偿标准:区片价:97000元/亩;建设用地:97000元/亩;未利用地:77600元/亩。
四类区片区片范围:文官街道(柳岗屯村、前占屯村)。
补偿标准:区片价:62000元/亩;建设用地:62000元/亩;未利用地:49600元/亩。
以上补偿标准仅包含土地补偿费、安置补助费,不包含被征收土地青苗及地上附着物补偿费用,地上附着物和青苗补偿费标准由各省辖市、省直管县(市)政府调整并公布,与征地区片综合地价配套实施。
如您对这一补偿标准还有不理解的地方,欢迎咨询专业拆迁律师,我们的律师将会为您提供专业的法律意见。
▲
2017年最新甘肃省平凉市崆峒区征地补偿标准
▲▲。