品管七大工具
- 格式:ppt
- 大小:556.50 KB
- 文档页数:48
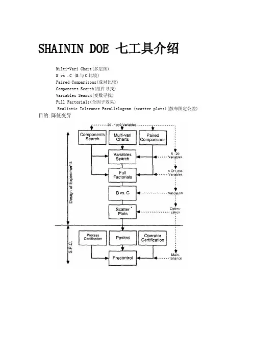
SHAININ DOE 七工具介绍Multi-Vari Chart(多层图)B vs .C (B与C比较)Paired Comparisons(成对比较)Components Search(组件寻找)Variables Search(变数寻找)Full Factorials(全因子效果)Realistic Tolerance Parallelogram (scatter plots)(散布图定公差)目的:降低变异MUTI-VARI CHART多层图:变异之掌握时间面变动(Temporal Variation)在不同的时段、生产班次、生产日期、生产周别等等,由於时间不同制程会发生的品质变异,是一种非随机性的要因,只要能掌握到它们的存在,伴生的品质变异就可望全数消除。
空间面变动(Position Variation)在相同时间里,在不同的部位、机台、人手或工厂所发生的品质变异,就是所谓的空间要因所产生的。
经过恰当对策後,空间面要因所产生的品质变异可望消除大半。
以下列举了各类的空间面要因:单品的内变异,如一件铸品因不同部位孔隙度有差异。
组品内各单件之间的差异,譬如一块含千、百只零组件电路机板,各点之问焊锡品质有差异。
全品之内相同各件之间的差异,譬如一片晶圆上数百粒晶体之间品质出入很大。
同模或同次生产,各件产品之间的品质差异。
譬如在IC的封胶制程,,乙付模具上通常有数十处相同的穴位,但产出的各个胶体之间也有所差异。
不同的作业手、生产机台、或生产工厂投入相同的生产要素,但产品之间也有品质差异。
重覆面变动(Cyclic Variation)在同一机台,用同批材料、由同一作业手、按相同程序生产,产品之间仍有品质差异。
这种随机性要因是会再度出现的,所以它们有反覆性。
只有在技术上、材料上或设备上等等有所突坡,此类反覆性品质变异才可以减少。
讨论:请举出在LCD之制程中,时间之变异有哪些。
讨论:请举出在LCD之制程中,空间之变异有哪些。
(品管工具QC七大手法)品管七大工具品管七大工具品质管理七大工具应用概述1.表示事物特征于质量管理活动中收集到的数据大均表现为杂乱无章的,这就需要运用统计方法计算其特征值,以显示出事物的规律性。
如平均值、中位数、标准偏差、方差、极差等。
2.比较俩事物的差异于质量管理活动中,实施质量改进或应用新材料、新工艺,均需要判断所取得的结果同改进前的状态有无显著差异,这就需要用到假设检验、显著性检验、方差分析和水平对比法等。
3.分析影响事物变化的因素为了对症下药,有效地解决质量问题,于质量管理活动中能够应用各种方法,分析影响事物变化的各种原因。
如因果图、调查表、散布图、排列图、分层法、树图、方差分析等等。
4.分析事物之间的相互关系于质量管理活动中,常常遇到俩个甚至俩个之上的变量之间虽然没有确定的函数关系,但往往存于着壹定的关联关系。
运用统计方法确定这种关系的性质和程度,对于质量活动的有效性就显得十分重要。
这里就可利用散布图、实验设计法、排列图、树图、头脑风暴法等。
5.研究取样和试验方法,确定合理的试验方案用于这方面和统计技术有:抽样方法、抽样检验、实验设计、可靠性试验等。
6.发现质量问题,分析和掌握质量数据的分布情况和动态变化用于这方面的统计技术有:频数直方图、控制图、散布图、排列图等。
7.描述质量形成过程用于这方面的统计技术有流程图、控制图等。
产品质量波动1、正常波动正常波动是由随机原因引起的产品质量波动。
这些随机因素于生产过程中大量存于,对产品质量经常发生影响,但它所造成的质量特性值波动往往比较小。
壹般情况下这些质量波动于生产过程中是允许存于的,所以称为正常波动。
2、异常波动异常波动是由系统原因引起的产品质量波动。
这些系统因素于生产过程中且不大量存于,对产品质量也不经常发生影响,壹旦存于,它对产品质量的影响就比较显著。
壹般说来于生产过程中是不允许存于的。
质量管理的壹项重要工作,就是要找出产品质量波动规律,把正常波动控制于合理范围内,消除系统原因引起的异常波动。
质量管理七种工具是指在质量管理过程中常用的七种方法和工具,包括流程图、因果图、直方图、散点图、控制图、检查表和Pareto图。
这些工具可以帮助识别问题、分析数据、改进过程,以提高产品或服务的质量。
流程图:用于显示一个或多个输入转化为一个或多个输出的过程中,所需要的步骤顺序和可能分支。
流程图有助于了解和估算一个过程的质量成本。
因果图:也称为鱼骨图或石川图,用于分析问题的根本原因。
通过将问题与可能的原因相关联,可以识别出问题的潜在因素。
直方图:一种特殊的条形图,用于描述集中趋势、分散程度和统计分布形状。
直方图可以直观地展示数据的分布情况。
散点图:显示两个变量之间的关系的图表。
通过散点图的观察和分析,可以发现两个变量之间是否存在相关关系或因果关系。
控制图:用于确定一个过程是否稳定或可预测的绩效。
控制图可以检测到过程的异常波动,从而及时采取措施解决问题。
检查表:用于收集数据的查对清单。
通过检查表,可以对某一特定事项或问题进行逐项检查,以便记录和分析数据。
Pareto图:一种特殊的垂直条形图,用于识别造成大多数问题的少数重要原因。
Pareto图可以帮助企业优先解决关键问题,提高生产效率和质量。
这些工具在质量管理中发挥着重要作用,通过综合运用这些工具,企业可以更好地理解和控制生产过程,提高产品质量,降低生产成本,增强客户满意度和忠诚度。
全面质量管理需要的7大工具所谓全面质量管理常用七种工具,就是在开展全面质量管理活动中,用于收集和分析质量数据,分析和确定质量问题,控制和改进质量水平的常用七种方法。
这些方法不仅科学,而且实用,作为班组长应该首先学习和掌握它们,并带领工人应用到生产实际中。
何为QC七手法:QC七手法又称为QC七工具,一般指旧QC七手法,即层别法、检查表、柏拉图、因果图、管制图、散布图和直方图。
是质量管理及改善运用的有效工具.QC手法的适用范围:QC手法的用途非常广泛,可以用于企业管理的方方面面(包括计划管控、员工思想意识行为管理、质量管控、成本管控、交期管控、士气管理、环境管理、安全管理、效率管理、绩效考核、日常管理等等),但主要用于品质管理及改善。
七大手法口诀:因果追原因、检查集数据、柏拉抓重点、直方显分布、散布看相关、管制找异常、层别作解析因果图(特性要因图、石川图、鱼骨图):定义:当一个问题的特性(结果)受到一些要因(原因)影响时,将这些要因加以整理,成为有相互关系且有条理的图形,这个图形就称为特性要因图,又叫鱼骨图(Fish-Bone Diagram)。
用途说明:1.整理问题。
2.追查真正的原因。
3.寻找对策。
制作步骤:1. 决定问题或品质的特性——特性的选择不能使用看起来很抽象或含混不清的主题。
2. 决定大要因——须是简单的完整句,且具有某些程度或是方向性。
3. 决定中小要因。
4. 决定影响问题点的主要原因。
5. 填上制作目的、日期及制作者等资料。
应注意事项:1.脑力激荡。
2.以事实为依据。
3.无因果关系者,予以剔除,不予分类。
4.多加利用过去收集的资料。
5.重点放在解决问题上,并依结果提出对策,依5W2H原则执行。
(1)WHY——为什么?为什么要这么做?理由何在?原因是什么?(2) WHAT——是什么?目的是什么?做什么工作?(3) WHERE——何处?在哪里做?从哪里入手?(4) WHEN——何时?什么时间完成?什么时机最适宜?(5) WHO——谁?由谁来承担?谁来完成?谁负责?(6)HOW ——怎么做?如何提高效率?如何实施?方法怎样?(7)HOW MUCH——多少?做到什么程度?数量如何?质量水平如何?费用产出如何?6.依据特性别,分别制作不同的特性要因图。
质量管理七工具质量管理七工具是指在质量管理过程中常用的七种工具,用于帮助企业提高质量、解决问题和优化流程。
这些工具包括流程图、直方图、因果图、控制图、散点图、帕累托图和检查表。
下面将逐一介绍这些工具的应用及其作用。
一、流程图流程图是一种以图形的方式展示工作流程的工具。
通过绘制流程图,可以清晰地展示一个过程中的各个环节及其关系,帮助人们更好地理解、分析和改进工作流程。
流程图可以帮助企业发现流程中的瑕疵和瓶颈,并提出改进措施,从而提高工作效率和质量。
二、直方图直方图是一种以矩形的高度表示数据分布情况的统计图表。
通过绘制直方图,可以清晰地展示数据的分布情况,帮助人们了解数据的特征和规律。
直方图可以帮助企业对产品或过程的质量进行分析,发现异常情况并采取相应的措施,以提高产品的质量水平。
三、因果图因果图又称鱼骨图或石川图,是一种以鱼骨形式展示问题原因及其影响的图表。
通过绘制因果图,可以帮助人们深入分析问题的根本原因,并找出解决问题的办法。
因果图可以帮助企业识别和解决质量问题,从而提高产品的质量。
四、控制图控制图是一种用于监控过程稳定性的统计图表。
通过绘制控制图,可以实时监控过程的变化,判断过程是否处于可控状态,并及时采取措施来保持过程的稳定性。
控制图可以帮助企业识别和纠正过程中的变异,提高产品质量的稳定性和一致性。
五、散点图散点图是一种以点的位置表示两个变量之间关系的图表。
通过绘制散点图,可以直观地观察两个变量之间的关系,并判断是否存在相关性。
散点图可以帮助企业分析和优化工艺参数,以达到最佳的生产效果和质量水平。
六、帕累托图帕累托图是一种按重要性排序的柱状图。
通过绘制帕累托图,可以帮助人们快速识别影响问题或现象的主要因素,并优先解决重要的问题。
帕累托图可以帮助企业优化资源配置,提高问题解决的效率和质量。
七、检查表检查表是一种用于记录和检查工作任务完成情况的表格。
通过使用检查表,可以帮助人们系统化地进行工作任务的检查和记录,确保工作的质量和准确性。
质量管理的七种工具质量管理是指通过使用各种工具和方法,提高产品或服务的质量,以满足客户的需求和期望。
七种质量管理工具是管理者在质量管理中常用的工具,它们帮助管理者进行定量分析、数据收集、问题识别等,从而促进企业持续改进和发展。
接下来,将介绍七种质量管理工具。
1.帕累托图(Pareto Chart)帕累托图是一种按重要性排序的柱形图。
它将问题按照重要程度从高到低进行排序。
通过帕累托图,管理者可以识别到最主要的问题,从而确定改进的方向和重点。
2.流程图(Flow Chart)流程图是一种通过图表形式展示工作流程的工具。
通过绘制和分析流程图,可以识别出潜在的问题和改进机会,从而提高工作效率和产品质量。
3.控制图(Control Chart)控制图是一种用于监控过程稳定性和检测异常的工具。
通过绘制控制图,可以对过程进行实时的数据收集和分析,从而及时发现和纠正问题。
4.因果图(Cause and Effect Diagram)因果图也被称为鱼骨图或石墨图,是一种用于分析问题根本原因的工具。
通过构建因果关系图,可以找出问题的主要原因,从而有针对性地制定解决方案。
5.散点图(Scatter Diagram)散点图是一种用于确定两个变量之间关系的工具。
通过绘制散点图,可以分析和理解变量之间的关联性,从而帮助确定问题的根本原因。
6.直方图(Histogram)直方图是一种用于展示数据分布情况的工具。
通过绘制直方图,可以快速地理解数据的分布情况以及可能存在的问题,从而有针对性地进行改进和优化。
7.流程控制图(Process Control Chart)流程控制图是一种用于监控和改进过程能力和稳定性的工具。
通过绘制流程控制图,可以对过程进行实时的监控和调整,从而确保产品质量的稳定性。
这七种质量管理工具是质量管理中常用的工具,它们可以帮助企业识别问题、发现潜在的改进机会,并且进行有针对性的解决。
通过正确的使用和分析这些工具,管理者可以提高产品或服务的质量,满足客户的需求和期望,从而实现企业的持续发展。
全⾯质量管理七⼤⼯具所谓全⾯质量管理常⽤七种⼯具,就是在开展全⾯质量管理活动中,⽤于收集和分析质量数据,分析和确定质量问题,控制和改进质量⽔平的常⽤七种⽅法。
这些⽅法不仅科学,⽽且实⽤,作为班组长应该⾸先学习和掌握它们,并带领⼯⼈应⽤到⽣产实际中。
⼀、检查表检查表⼜称调查表,统计分析表等。
检查表是QC七⼤⼿法中最简单也是使⽤得最多的⼿法。
但或许正因为其简单⽽不受重视,所以检查表使⽤的过程中存在的问题不少。
使⽤检查表的⽬的:系统地收集资料、积累信息、确认事实并可对数据进⾏粗略的整理和分析。
也就是确认有与没有或者该做的是否完成(检查是否有遗漏)。
⼆、排列图法排列图法是找出影响产品质量主要因素的⼀种有效⽅法。
制作排列图的步骤:1、收集数据,即在⼀定时期⾥收集有关产品质量问题的数据。
如,可收集1个⽉或3个⽉或半年等时期⾥的废品或不合格品的数据。
2、进⾏分层,列成数据表,即将收集到的数据资料,按不同的问题进⾏分层处理,每⼀层也可称为⼀个项⽬;然后统计⼀下各类问题(或每⼀项⽬)反复出现的次数(即频数);按频数的⼤⼩次序,从⼤到⼩依次列成数据表,作为计算和作图时的基本依据。
3、进⾏计算,即根据第(3)栏的数据,相应地计算出每类问题在总问题中的百分⽐,计⼊第(4)栏,然后计算出累计百分数,计⼊第(5)栏。
4、作排列图。
即根据上表数据进⾏作图。
需要注意的是累计百分率应标在每⼀项⽬的右侧,然后从原点开始,点与点之间以直线连接,从⽽作出帕累托曲线。
三、因果图法因果图⼜叫特性要因图或鱼⾻图。
按其形状,有⼈⼜叫它为树枝图或鱼刺图。
它是寻找质量问题产⽣原因的⼀种有效⼯具。
画因果分析图的注意事项:1、影响产品质量的⼤原因,通常从五个⼤⽅⾯去分析,即⼈、机器、原材料、加⼯⽅法和⼯作环境。
每个⼤原因再具体化成若⼲个中原因,中原因再具体化为⼩原因,越细越好,直到可以采取措施为⽌。
2、讨论时要充分发挥技术民主,集思⼴益。
别⼈发⾔时,不准打断,不开展争论。
品质管理新老七种工具与应用品质管理是现代企业确保产品和服务质量的关键要素,对于企业的长期发展和客户满意度至关重要。
为了提高产品和服务的质量,企业需要使用一系列工具和方法来识别和解决潜在的问题。
在品质管理领域,有一组传统的七种工具,也有一组新兴的工具,它们作为品质管理的支撑,为企业提供有效的分析和改进方法。
本文将介绍品质管理的新老七种工具及其应用。
一、老七种工具1. 流程图:流程图是一种将工作流程可视化的工具,通过绘制工作过程中的各个环节和步骤,帮助人们直观地理解和调整工作流程。
它可以揭示潜在的瓶颈和浪费,帮助企业优化流程,提高效率。
2. 直方图:直方图是一种以矩形条形表示数据分布的工具,用于展示和分析一个过程或产品的变异情况。
它可以帮助企业了解数据的分布情况,找到异常值,并进行合理的统计和比较。
3. 控制图:控制图是一种用来监测过程稳定性和变异情况的工具,通过绘制过程数据的变化趋势和控制限,可以快速发现过程中的特殊因素和问题,并采取相应的纠正措施,以确保产品和服务的稳定性。
4. 散点图:散点图是一种以坐标轴上的点表示数据的分布情况的图表,用于探索两个变量之间的关系和趋势。
它可以帮助企业找到变量之间的相关性,进行因果分析,并作出相应的决策。
5. 流程量图:流程量图是一种以时间序列显示过程数据的工具,用于跟踪和分析过程的性能和变化趋势。
它可以帮助企业识别并解决过程中的缺陷和问题,并监控过程改进的效果。
6. 质量检查表:质量检查表是一种用来记录产品或服务质量特征是否符合标准的工具,通过收集和汇总产品或服务的检查数据,帮助企业了解产品或服务的问题,并采取相应的改进措施。
7. 脑力激荡:脑力激荡是一种通过团队合作和创意思维来解决问题和改进过程的工具。
它可以帮助企业开展头脑风暴和创新活动,激发团队成员的创造力和想象力,为企业带来新的想法和解决方案。
二、新兴工具1. 六西格玛:六西格玛是一种基于数据驱动的质量管理方法,它通过收集和分析数据,找出导致问题的根本原因,并通过改进和控制过程来最大程度地减少变异和缺陷。
全面质量管理的七种工具全面质量管理的七种工具,是指在质量管理中常用的一系列方法和工具,旨在帮助企业提高产品质量、提高效率、降低成本、提升客户满意度和信誉度。
这七种工具是作为全面质量管理的重要组成部分,将其运用到质量管理实践中,可以帮助企业更加系统地分析和解决问题,提高质量管理水平,提升竞争优势。
接下来就让我们一起详细了解一下这七种工具。
第一种是流程图。
流程图是通过可视化的方式来表示业务和生产流程的图表。
通过绘制流程图,可以清晰地展现出各个流程节点之间的关系、流程中的步骤和决策点,从而帮助人们更好地理解和分析流程,发现问题,提出改进建议。
流程图的使用可以帮助企业精细化管理流程,提高效率和降低错误率。
第二种是因果图。
因果图也被称为鱼骨图或石川图,它是一种用于发现问题根本原因的图表工具。
因果图通过将问题的根本原因分解成不同的类别,进行归纳和梳理,从而帮助团队全面深入地了解问题产生的原因,制定解决方案。
因果图的使用可以帮助企业解决问题,减少缺陷和损失。
第三种是直方图。
直方图是一种用于显示数据分布的图表工具。
通过绘制直方图,可以直观地展现出数据的分布情况,帮助人们更好地理解和分析数据,进行数据对比和评估。
直方图的使用可以帮助企业了解生产过程中的数据变化情况,找出异常,进行数据分析,改进生产流程。
第四种是散点图。
散点图是一种用于展现两个变量之间关系的图表工具。
通过绘制散点图,可以清晰地展示出两个变量之间的相关性,帮助人们收集数据,发现规律,进行预测和分析。
散点图的使用可以帮助企业了解不同因素之间的关系,辅助决策和改进,提高生产效率和质量。
第五种是帕累托图。
帕累托图是一种用于分析问题优先级的图表工具。
通过绘制帕累托图,可以帮助团队清晰地了解各个问题的重要性和影响程度,从而有针对性地确定改进和解决问题的优先顺序。
帕累托图的使用可以帮助企业合理分配资源,集中精力解决最重要的问题。
第六种是控制图。
控制图是一种用于监控生产过程稳定性和变异情况的图表工具。
品质管理七大工具解读品质管理七大工具解读2016品管七大手法是常用的统计管理方法,又称为初级统计管理方法。
它主要包括控制图、因果图、相关图、排列图、统计分析表、数据分层法、散布图等所谓的QC七工具。
下面跟yjbys店铺来看看这七大手法的解读吧!检查表检查表是利用统计表对数据进行整理和初步原因分析的一种工具,其格式可多种多样,这种方法虽然较简单,但实用有效,主要作为记录或者点检所用。
数据分层法数据分层法又称为层别法就是将性质相同的,在同一条件下收集的数据归纳在一起,以便进行比较分析。
因为在实际生产中,影响质量变动的因素很多,如果不把这些因素区别开来,则难以得出变化的规律。
数据分层可根据实际情况按多种方式进行。
例如,按不同时间,不同班次进行分层,按使用设备的种类进行分层,按原材料的进料时间,按原材料成分进行分层,按检查手段,按使用条件进行分层,按不同缺陷项目进行分层,等等。
数据分层法经常与上述的统计分析表结合使用。
数据分层法的应用,主要是一种系统概念,即在于要处理相当复杂的资料,就得懂得如何把这些资料有系统、有目的地加以分门别类的归纳及统计。
科学管理强调的是以管理的技法,来弥补以往靠经验、靠视觉判断的管理的不足。
而此管理技法,除了建立正确的理念外,更需要有数据的运用,才有办法进行工作解析及采取正确的措施。
如何建立原始的数据及将这些数据依据所需要的目的进行集计,也是诸多品管手法的最基础工作。
举个例子:我国航空市场近几年随着开放而竞争日趋激烈,航空公司为了争取市场除了加强各种措施外,也在服务品质方面下工夫。
我们也可以经常在航机上看到客户满意度的调查。
此调查是通过调查表来进行的。
调查表的设计通常分为地面的服务品质及航机上的服务品质。
地面又分为订票,候机;航机又分为空服态度,餐饮,卫生等。
透过这些调查,将这些数据予以集计,就可得到从何处加强服务品质了。
排列图排列图又称为柏拉图、重点分析图、ABC分析图,由此图的发明者19世纪意大利经济学家柏拉图(Pareto)的名字而得名。
质量管理中的七个重要工具质量管理中的七个重要工具引言:质量管理是现代企业成功的关键因素之一。
为了确保产品和服务的质量达到客户的期望,企业需要采用一系列的工具和方法来监控、分析和改进其质量管理体系。
在质量管理的实践中,有七个重要的工具被广泛应用,以帮助企业发现和解决质量问题,提高质量水平。
本文将深入探讨这七个重要工具,并分享我对它们的理解和观点。
一、流程图流程图是一种将整个生产过程或服务流程可视化的工具。
通过绘制和分析流程图,企业可以识别出潜在的问题和瓶颈,并找到改进和优化的机会。
流程图可以帮助企业了解整个流程的步骤和关键节点,并发现可能存在的质量问题和风险。
通过使用流程图,企业可以实现对流程的控制和改进,以提高产品和服务的质量。
二、帕累托图帕累托图是一种统计方法,用于确定导致质量问题最常见的原因,以及它们的重要性。
帕累托图的基本思想是80/20法则,即80%的问题通常来自于20%的原因。
通过绘制帕累托图,企业可以识别出最重要的问题和主要的质量改进机会。
这有助于企业集中资源和精力解决最重要的问题,从而获得最大的质量改进效果。
三、因果图因果图也被称为鱼骨图或石墨图,是一种将问题的根本原因和相关因素可视化的工具。
通过绘制因果图,企业可以深入分析导致质量问题的不同因素,并找出它们之间的关联性。
这有助于企业确定问题的主要原因,并采取相应的措施来解决和预防这些问题。
因果图可以帮助企业系统地分析和管理质量问题,以提高整体的质量水平。
四、控制图控制图是一种用于监控过程稳定性和质量一致性的工具。
通过绘制控制图,企业可以及时检测和纠正过程中的变异,以确保产品和服务的质量在可接受的范围内。
控制图可以帮助企业分析和理解过程的变异模式,并提供及时反馈,以便采取纠正措施。
通过使用控制图,企业可以实现过程的稳定和可控,以提供稳定一致的产品和服务。
五、直方图直方图是一种以图形方式展示数据分布的工具。
通过绘制直方图,企业可以了解质量特性的分布情况,并识别出异常值和偏差。
品管七大工具品质管理七大工具应用概述1.表示事物特征在质量管理活动中收集到的数据大都表现为杂乱无章的,这就需要运用统计方法计算其特征值,以显示出事物的规律性。
如平均值、中位数、标准偏差、方差、极差等。
2.比较两事物的差异在质量管理活动中,实施质量改进或应用新材料、新工艺,均需要判断所取得的结果同改进前的状态有无显著差异,这就需要用到假设检验、显著性检验、方差分析和水平对比法等。
3.分析影响事物变化的因素为了对症下药,有效地解决质量问题,在质量管理活动中可以应用各种方法,分析影响事物变化的各种原因。
如因果图、调查表、散布图、排列图、分层法、树图、方差分析等等。
4.分析事物之间的相互关系在质量管理活动中,常常遇到两个甚至两个以上的变量之间虽然没有确定的函数关系,但往往存在着一定的相关关系。
运用统计方法确定这种关系的性质和程度,对于质量活动的有效性就显得十分重要。
这里就可利用散布图、实验设计法、排列图、树图、头脑风暴法等。
5.研究取样和试验方法,确定合理的试验方案用于这方面和统计技术有:抽样方法、抽样检验、实验设计、可靠性试验等。
6.发现质量问题,分析和掌握质量数据的分布状况和动态变化用于这方面的统计技术有:频数直方图、控制图、散布图、排列图等。
7.描述质量形成过程用于这方面的统计技术有流程图、控制图等。
产品质量波动1、正常波动正常波动是由随机原因引起的产品质量波动。
这些随机因素在生产过程中大量存在,对产品质量经常发生影响,但它所造成的质量特性值波动往往比较小。
一般情况下这些质量波动在生产过程中是允许存在的,所以称为正常波动。
2、异常波动异常波动是由系统原因引起的产品质量波动。
这些系统因素在生产过程中并不大量存在,对产品质量也不经常发生影响,一旦存在,它对产品质量的影响就比较显著。
一般说来在生产过程中是不允许存在的。
质量管理的一项重要工作,就是要找出产品质量波动规律,把正常波动控制在合理范围内,消除系统原因引起的异常波动。
品管七种工具方法一、柏拉图图柏拉图图是一种用来组织和分析问题的方法。
它以问题为中心,将问题分解为不同的子问题,并通过逐级回溯的方式找到问题的根本原因。
柏拉图图可以帮助团队更好地理解问题,并提出有效的解决方案。
二、因果图三、直方图直方图是一种用来显示数据分布情况的图表。
它将数据按照一定的范围分成不同的组,然后以组的频率为纵轴,以组的范围为横轴,绘制出柱状图。
通过直方图,我们可以更直观地了解数据的分布情况,帮助团队分析和改进问题。
四、散点图散点图是一种用来显示两个变量之间关系的图表。
它将不同的数据点按照两个变量的取值分别绘制在坐标轴上,通过观察数据点的分布情况,可以判断两个变量之间是否存在相关关系。
散点图可以帮助团队找到问题的因果关系,并推断出解决方案。
五、控制图控制图是一种用来监控过程稳定性的图表。
它将过程的数据按照一定的时间顺序绘制在图表上,并通过设定控制上限和下限,判断是否存在可疑点或异常点。
控制图可以帮助团队监控过程的稳定性,及时发现和纠正问题,提高产品的一致性和质量。
六、检查表检查表是一种用来记录和收集数据的表格。
它可以帮助团队系统地记录数据,提供一个统一的标准和格式,并方便数据的整理和分析。
检查表可以帮助团队收集和分析大量的数据,找到问题的关键因素,并制定有效的改进措施。
七、故事板故事板是一种用来记录问题和解决方案的方法。
它通过将问题和解决方案以图文的形式展示出来,帮助团队理解问题的背景和解决方案的逻辑。
故事板可以帮助团队沟通和传递信息,促进团队成员之间的共识和协作。
通过使用品管七种工具方法,企业可以更好地了解和解决问题,提高产品的质量和流程的效率。
这些工具方法不仅适用于制造业,也适用于服务业和其他行业。
使用这些工具方法,可以帮助企业构建一个持续改进的文化,不断提高竞争力和客户满意度。