经典:各种滑块设计经验结构
- 格式:ppt
- 大小:4.86 MB
- 文档页数:15
滑块设计经验要点,全图解案例说明!滑块的设计过程包括:确定滑出距离→设计滑出方式(斜导柱、油缸)→设计压板→设计限位方式(弹簧、限位夹)→设计水路。
确定需要设计滑块的区域与滑出距离, 滑块实际滑出距离要>产品到扣距离5~10MM。
确定需要设计滑块的区域与滑出距离。
设计滑块与滑出方式,首选斜导柱滑出方式,其次选油缸滑出方式。
滑块一般分为:•成型部分•定位部分•锁模部分•导向部分选用斜导柱滑出的:•斜导柱角度要小于滑块锁模角度2度•斜导柱尺寸一般为20~30MM•最小不能小与12MM一般斜导柱固定最滑块顶部,对于高度超过100的滑块,导柱固定在滑块下部,可以使滑块滑出更加平稳。
滑块宽度超过200的要设计2只斜导柱,2只斜导柱的尺寸、大小、角度等多要一致,一般情况下滑块的锁模面和底面多要设计耐磨板。
斜导柱的固定方式,首选斜导柱固定块固定。
对于滑出距离超过40的可使用油缸滑出,油缸一般使用前法兰的安装方式。
油缸一般选用标准油缸,前面用工字套连接滑块;出口模选用君帆、太阳派克油缸等进口油缸;国产模选用黄岩本地油缸。
所有的滑块都要设计压条(工字)。
滑块宽度超过200MM的,在滑块中间要增加导向条。
对与长度超过400的滑块,除了增加导向条还要在中间增加工字条。
对与长度超过400的滑块,除了增加导向条还要在中间增加工字条。
设计滑块的限位方式:使用斜导柱滑出的滑块要用弹簧+限位块或限位夹+限位块的限位方式。
使用弹簧限位的滑块重量超过的15KG的滑块要使用2个弹簧限位。
使用限位夹限位的滑块重量超过的40KG的滑块要使用2个限位夹。
斜度特别大的滑块,可在下面增加工字块,用工字块的滑动带动滑块往下滑。
使用油缸滑出的滑块要安装行程开关。
成型面积多的滑块要设计冷却水冷却。
滑块在天侧的,水路要先接到模板上,再从模板的反操作侧接出。
倒勾處理(滑塊)OK一‧斜撐銷塊的動作原理及設計要點是利用成型的開模動作用,使斜撐梢與滑塊產生相對運動趨勢,使滑塊沿開模方向及水平方向的兩種運動形式,使之脫離倒勾。
如下圖所示:上圖中:β=α+2°~3°(防止合模產生干涉以及開模減少磨擦)α≦25°(α為斜撐銷傾斜角度)L=1.5D (L為配合長度)S=T+2~3mm(S為滑塊需要水平運動距離;T為成品倒勾)S=(L1xsina-δ)/cosα(δ為斜撐梢與滑塊間的間隙,一般為0.5MM;L1為斜撐梢在滑塊內的垂直距離)二‧斜撐梢鎖緊方式及使用場合三‧拔塊動作原理及設計要點是利用成型機的開模動作,使拔塊與滑塊產生相對運動趨勢,撥動面B撥動滑塊使滑塊沿開模方向及水平方向的兩種運動形式,使之脫離倒勾。
如下圖所示:上圖中:β=α≦25°(α為拔塊傾斜角度)H1≧1.5W (H1為配合長度)S=T+2~3mm (S為滑塊需要水平運動距離;T為成品倒勾)S=H*sinα-δ/cosα(δ為斜撐梢與滑塊間的間隙,一般為0.5MM;H為拔塊在滑塊內的垂直距離)C為止動面,所以撥塊形式一般不須裝止動塊。
(不能有間隙)四‧滑塊的鎖緊及定位方式由于制品在成型機注射時產生很大的壓力,為防止滑塊與活動芯在受到壓力而位移,從而會影響成品的尺寸及外觀(如跑毛邊),因此滑塊應采用鎖緊定位,通常稱此機構為止動塊或后跟塊。
常見的鎖緊方式如下圖:五.滑塊的定位方式滑塊在開模過程中要運動一定距離,因此,要使滑塊能夠安全回位,必須給滑塊安裝定位裝置,且定位裝置必須靈活可靠,保證滑塊在原位不動,但特殊情況下可不采用定位裝置,如左右側跑滑塊,但為了安全起見,仍然要裝定位裝置.常見六‧滑塊入子的連接方式滑塊頭部入子的連接方式由成品決定,不同的成品對滑塊入子的連接方式可能不同,具體入子的連接方式大致如下:滑塊采用整體式結構,一般適用于型芯較大,強度較好的場合. 采用螺釘固定,一般型芯或圓形,且型芯較小場合.采用螺釘的固定形式,一般型芯成方形結構且型芯不大的場合下. 采用壓板固定適用固定多型芯.七‧滑塊的導滑形式塊在導滑中,活動必須順利、平穩,才能保證滑塊在模具生產中不發生卡滯或跳動現象,否則會影響成品質品,模具壽命等。
倒勾处理(滑块)一‧斜撑销块的动作原理及设计要点是利用成型的开模动作用,使斜撑梢与滑块产生相对运动趋势,使滑块沿开模方向及水平方向的两种运动形式,使之脱离倒勾。
如下图所示:上图中:β=α+2°~3°(防止合模产生干涉以及开模减少磨擦)α≦25°(α为斜撑销倾斜角度)L=1.5D (L为配合长度)S=T+2~3mm(S为滑块需要水平运动距离;T为成品倒勾)S=(L1xsina-δ)/cosα(δ为斜撑梢与滑块间的间隙,一般为0.5MM;L1为斜撑梢在滑块内的垂直距离)二‧斜撑梢锁紧方式及使用场合简图说明适宜用在模板较薄且上固定板与母模板不分开的情况下配合面较长,稳定较好适宜用在模板厚、模具空间大的情况下且两板模、三板板均可使用配合面L≧1.5D(D为斜撑销直径)稳定性较好适宜用在模板较厚的情况下且两板模、三板板均可使用,配合面L≧1.5D(D为斜撑销直径)稳定性不好,加工困难.适宜用在模板较薄且上固定板与母模板可分开的情况下配合面较长,稳定较好三‧拔块动作原理及设计要点是利用成型机的开模动作,使拔块与滑块产生相对运动趋势,拨动面B拨动滑块使滑块沿开模方向及水平方向的两种运动形式,使之脱离倒勾。
如下图所示:上图中:β=α≦25°(α为拔块倾斜角度)H1≧1.5W (H1为配合长度)S=T+2~3mm(S为滑块需要水平运动距离;T为成品倒勾)S=H*sinα-δ/cosα(δ为斜撑梢与滑块间的间隙,一般为0.5MM;H为拔块在滑块内的垂直距离)C为止动面,所以拨块形式一般不须装止动块。
(不能有间隙)四‧滑块的锁紧及定位方式由于制品在成型机注射时产生很大的压力,为防止滑块与活动芯在受到压力而位移,从而会影响成品的尺寸及外观(如跑毛边),因此滑块应采用锁紧定位,通常称此机构为止动块或后跟块。
常见的锁紧方式如下图:简图说明简图说明滑块采用镶拼式锁紧方式,通常可用标准件.可查标准零件表,结构强度好.适用于锁紧力较大的场合.采用嵌入式锁紧方式,适用于较宽的滑块滑块采用整体式锁紧方式,结构刚性好但加工困难脱模距小适用于小型模具.采用嵌入式锁紧方式适用于较宽的滑块.采用拔动兼止动稳定性较差,一般用在滑块空间较小的情况下采用镶式锁紧方式,刚性较好一般适用于空间较大的场合.五.滑块的定位方式滑块在开模过程中要运动一定距离,因此,要使滑块能够安全回位,必须给滑块安装定位装置,且定位装置必须灵活可靠,保证滑块在原位不动,但特殊情况下可不采用定位装置,如左右侧跑滑块,但为了安全起见,仍然要装定位装置.常见的定位装置如下:简图说明利用弹簧螺钉定位,弹簧强度为滑块重量的1.5~2倍,常用于向上和侧向抽芯.利用弹簧钢球定位,一般滑块较小的场合下,用于侧向抽芯.利用弹簧螺钉和挡板定位,弹簧强度为滑块重量的1.5~2倍,适用于向上和侧向抽芯利用弹簧挡板定位,弹簧的强度为滑块重量的1.5~2倍,适用于滑块较大,向上和侧向抽芯.六‧滑块入子的连接方式滑块头部入子的连接方式由成品决定,不同的成品对滑块入子的连接方式可能不同,具体入子的连接方式大致如下:简图说明简图说明滑块采用整体式结构,一般适用于型芯较大,强度较好的场合. 采用螺钉固定,一般型芯或圆形,且型芯较小场合.采用螺钉的固定形式,一般型芯成方形结构且型芯不大的场合下. 采用压板固定适用固定多型芯.七‧滑块的导滑形式块在导滑中,活动必须顺利、平稳,才能保证滑块在模具生产中不发生卡滞或跳动现象,否则会影响成品质品,模具寿命等。
六?滑块入子的连接方式滑块头部入子的连接方式由成品决定,不同的成品对滑块入子的连接方式可能不同,具体入子的连接方式大致如下:简图说明简图说明滑块采用整体式结构,一般适用于型芯较大,强度较好的场合. 采用螺钉固定,一般型芯或圆形,且型芯较小场合.采用螺钉的固定形式,一般型芯成方形结构且型芯不大的场合下. 采用压板固定适用固定多型芯.七?滑块的导滑形式块在导滑中,活动必须顺利、平稳,才能保证滑块在模具生产中不发生卡滞或跳动现象,否则会影响成品质品,模具寿命等。
(压板规格超级链接)常用的导滑形式如下图所示。
简图说明简图说明采用整体式加工困难,一般用在模具较小的场合。
采用压板,中央导轨形式,一般用在滑块较长和模温较高的场合下。
用矩形的压板形式,加工简单,强度较好,应用广泛,压板规格可查标准零件表. 采用”T”形槽,且装在滑块内部,一般用于容间较小的场合,如跑内滑块.采用”7”字形压板,加工简单,强度较好,一般要加销孔定位. 采用镶嵌式的T形槽,稳定性较好,加工困难.八?倾斜滑块参数计算由于成品的倒勾面是斜方向,因此滑块的运动方向要与成品倒勾斜面方向一致,否侧会拉伤成品。
1.滑块抽芯方向与分型面成交角的关系为滑块抽向动模.如下图所示:α°=d°-b°d°+b°≦25°c°=α°+(2°-3°)H=H1-S*sinb°S=H1*tgd°/cosb°L4=H1/cosd°2.滑块抽芯方向与分型面成交角的关系为滑块抽向定模. 如下图所示:α1°=d°-b°d-b°≦25°c°=a°+(2°+3°)H=H1+S*sinb°S=H1+tgd°/cosb°L4=H/cosd°九?母模遂道滑块1.应用特点a.制品倒勾成型在母模侧b.制品外观有允许有痕迹c.滑块成型面积不大如下图所示:2.母模遂道块简图如下:(超级链接2183动画)合模状态第一次开模第二次开模及顶出状态。
25类滑块经典结构:滑块滑块、滑块斜顶、滑块顶针!1.滑块+滑块的结构,通过斜导柱孔位进行二次抽芯,这种结构是对于侧面抽芯时还存在0.5~2mm的倒扣时可以套用此结构,使用过程中安全可靠。
2.采用滑块侧向抽芯的力,通用T型槽带动,进行产品内部斜度运动,达到抽芯的效果,此抽芯结构比较巧妙,能适用于产品内部的斜度倒扣,但设计完成后需要进行反复运动仿真。
3.此结构又是滑块上加滑块的结构,先通用斜导柱进行侧向运动,向侧向内部倒扣进行抽芯脱离,再通过油压缸进行二次抽芯,达到完全的脱模状态。
4.滑块带动滑块的经典结构。
通用将滑块上设计一个弯销结构,使第一滑块运动时,由于滑块上自身的弯销带动第二个滑块运动,达到二次抽芯的效果。
5.滑块用有滑块的结构,运动原理先采用T槽带动T槽进行抽芯,再进行整体抽芯的原理。
6.滑块延时抽芯,采用斜导柱避空位加大,再加有铲基追加一段直身位来达到滑块延时抽芯的效果。
7.滑块中进行强制脱模的结构。
8.前模滑块的抽芯样式:19.前模抽芯滑块样式:210.油压缸斜抽芯机构原理:11.母模侧斜抽芯原理:12.后模斜抽芯机构原理:13.母模斜抽芯机构14.母模隧道滑块结构原理:15.母模双T槽抽芯结构原理:16.滑块液压缸抽芯延时结构:17.斜导柱带运T型槽二次抽芯结构:18.滑块上追加顶针延时抽芯机构,主要是对于大型胶位面,或者侧面抽芯存在包紧力的区域。
19.T槽+弯销抽芯结构工作原理:20.模仁里滑块抽芯机构:21.一个滑块进行多个方向抽芯机构原理:22.液压缸带动杠杆进行弧形抽芯机构原理:123.液压缸带动杠杆进行弧形抽芯机构原理:224.母模仁抽芯机构原理:25.母模侧斜顶机构原理:。
编码
版
01累计篇数013序模具设计滑块结构技巧
页次7/20
作。
如果不加弹簧3,内缩滑块1由于与契块5长时间磨擦而咬伤。
加了弹簧3后,由于在每次运动时内缩滑块1都与契块5贴合接触,
接触面积较大,就不易咬伤。
特点﹕在内缩滑块侧向增加一弹簧会使内缩滑块动作更加顺畅﹐
且内缩滑块不容易咬伤。
2.1.7.使用范例(七):
动作原理:BLOCK3固定在母模板1上,当PL面打开时,BLOCK4
在弹簧的作用下往内往下运动,带动HOOK PIN往内往下运动,实
现
母模顶出。
合模时,回位梢5首先与公模仁接触,使BLOCK4往上运
动,从而带动HOOK PIN回退。
注意事项:
这种母模顶出机构设计的优点是:设计的空间比较小;限制是斜角梢不。
模具设计滑块结构技巧————————————————————————————————作者:————————————————————————————————日期:1用途ﻫ倒勾处理设计是帮助成品于离型方向产生倒勾,造成成品无法离型时,能让成型品顺利离型的一种设计方式。
2作业内容:内缩滑块结构、外张滑块结构、斜梢(HOOKPIN)结构。
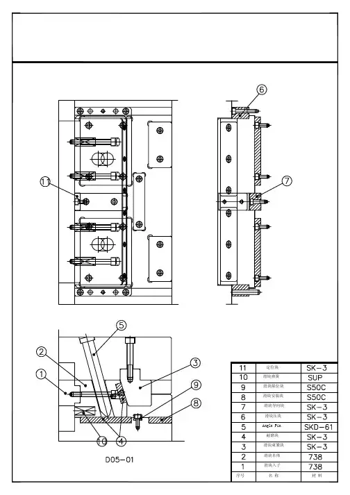
2.1内缩滑块结构:主要零件及功能:ﻫ束块(定位件):控制内缩滑块的行程与位置束块材质使用范围:材质硬度NAK80HRC38SKD61 HRC48滑块(滑动件):在顶出动作之前,先将成品倒勾离型。
滑块材质使用范围:材质硬度NAK80 HRC38SKD61 HRC48STA V AX HRC52使用规则:固定件,定位件,滑动件之间的配合,在材质与硬度的选用上,可依加工的难易度予以适当的调配。
对象与对象之间的滑动配合需选用不同的材质或相同的材质,不同的硬度来搭配使用。
为使损耗公差偏重于单一对象,滑配间的对象其材质与硬度不可相同。
2.1.1使用范例(一):ﻫ动作原理:A束块往下拉,鸠尾槽或T型槽带动BSLIDE往内缩达到脱模目的注意事项:ﻫ鸠尾槽上方是成品时,鸠尾槽勿贯穿到成品,因为贯穿会造成合模困难;而合模不良会使塑料流入滑动面造成模具损坏。
开模后SLIDE脱模距离两边加起来要小于D。
尺寸C的强度要足够2.1.2使用范例(二):ﻫ动作原理:ﻫ当PL面打开时,利用SPRING的力量透过COREPIN推动DISCINSERT,顺着DISINSERT的圆心转动,达到脱模目的。
ﻩﻩ注意事项:COREPIN与DISCINSERT配合的A间隙不要过大,避免ﻩDISCINSERT旋转角度>45度,而造成模具合模时压坏DISC INSERTﻩ机构此机构仅适用于小距离的倒勾;在倒勾处的脱模角度,需注意是否足够ﻫﻫﻫﻫﻫﻫﻫﻫﻫﻫ2.1.3使用范例(三):ﻫ当PL1开模时A束块往下拉,突出空间,公母模板(PL2)再打开,利用斜梢(PIN),将SLIDE拨向内侧,达到脱模目的。
倒勾处理(滑块)一‧斜撑销块的动作原理及设计要点是利用成型的开模动作用,使斜撑梢与滑块产生相对运动趋势,使滑块沿开模方向及水平方向的两种运动形式,使之脱离倒勾。
如下图所示:上图中:β=α+2°~3°(防止合模产生干涉以及开模减少磨擦)α≦25°(α为斜撑销倾斜角度)L=1.5D (L为配合长度)S=T+2~3mm(S为滑块需要水平运动距离;T为成品倒勾) S=(L1xsina-δ)/cosα(δ为斜撑梢与滑块间的间隙,一般为0.5MM;L1为斜撑梢在滑块内的垂直距离)二‧斜撑梢锁紧方式及使用场合简图说明适宜用在模板较薄且上固定板与母模板不分开的情况下配合面较长,稳定较好适宜用在模板厚、模具空间大的情况下且两板模、三板板均可使用配合面L≧1.5D(D为斜撑销直径)稳定性较好适宜用在模板较厚的情况下且两板模、三板板均可使用,配合面L≧1.5D(D为斜撑销直径)稳定性不好,加工困难.适宜用在模板较薄且上固定板与母模板可分开的情况下配合面较长,稳定较好三‧拔块动作原理及设计要点是利用成型机的开模动作,使拔块与滑块产生相对运动趋势,拨动面B 拨动滑块使滑块沿开模方向及水平方向的两种运动形式,使之脱离倒勾。
如下图所示:上图中:β=α≦25°(α为拔块倾斜角度)H1≧1.5W (H1为配合长度)S=T+2~3mm (S为滑块需要水平运动距离;T为成品倒勾)S=H*sinα-δ/cosα(δ为斜撑梢与滑块间的间隙,一般为0.5MM;H为拔块在滑块内的垂直距离)C为止动面,所以拨块形式一般不须装止动块。
(不能有间隙)四‧滑块的锁紧及定位方式由于制品在成型机注射时产生很大的压力,为防止滑块与活动芯在受到压力而位移,从而会影响成品的尺寸及外观(如跑毛边),因此滑块应采用锁紧定位,通常称此机构为止动块或后跟块。
常见的锁紧方式如下图:简图说明简图说明滑块采用镶拼式锁紧方式,通常可用标准件.可查标准零件表,结构强度好.适用于锁紧力较大的场合. 采用嵌入式锁紧方式,适用于较宽的滑块滑块采用整体式锁紧方式,结构刚性好但加工困难脱模距小适用于小型模具. 采用嵌入式锁紧方式适用于较宽的滑块.采用拔动兼止动稳定性较差,一般用在滑块空间较小的情况下采用镶式锁紧方式,刚性较好一般适用于空间较大的场合.五.滑块的定位方式滑块在开模过程中要运动一定距离,因此,要使滑块能够安全回位,必须给滑块安装定位装置,且定位装置必须灵活可靠,保证滑块在原位不动,但特殊情况下可不采用定位装置,如左右侧跑滑块,但为了安全起见,仍然要装定位装置.常见的定位装置如下:简图说明利用弹簧螺钉定位,弹簧强度为滑块重量的1.5~2倍,常用于向上和侧向抽芯.利用弹簧钢球定位,一般滑块较小的场合下,用于侧向抽芯.利用弹簧螺钉和挡板定位,弹簧强度为滑块重量的1.5~2倍,适用于向上和侧向抽芯利用弹簧挡板定位,弹簧的强度为滑块重量的1.5~2倍,适用于滑块较大,向上和侧向抽芯.六‧滑块入子的连接方式滑块头部入子的连接方式由成品决定,不同的成品对滑块入子的连接方式可能不同,具体入子的连接方式大致如下:简图说明简图说明滑块采用整体式结构,一般适用于型芯较大,强度较好的场合. 采用螺钉固定,一般型芯或圆形,且型芯较小场合.采用螺钉的固定形式,一般型芯成方形结构且型芯不大的场合下. 采用压板固定适用固定多型芯.七‧滑块的导滑形式块在导滑中,活动必须顺利、平稳,才能保证滑块在模具生产中不发生卡滞或跳动现象,否则会影响成品质品,模具寿命等。
倒勾处理(滑块)一‧斜撑销块的动作原理及设计要点是利用成型的开模动作用,使斜撑梢与滑块产生相对运动趋势,使滑块沿开模方向及水平方向的两种运动形式,使之脱离倒勾。
如下图所示:上图中:β=α+2°~3°(防止合模产生干涉以及开模减少磨擦)α≦25°(α为斜撑销倾斜角度)L=1.5D (L为配合长度)S=T+2~3mm(S为滑块需要水平运动距离;T为成品倒勾)S=(L1xsina-δ)/cosα(δ为斜撑梢与滑块间的间隙,一般为0.5MM;L1为斜撑梢在滑块内的垂直距离)二‧斜撑梢锁紧方式及使用场合三‧拔块动作原理及设计要点是利用成型机的开模动作,使拔块与滑块产生相对运动趋势,拨动面B拨动滑块使滑块沿开模方向及水平方向的两种运动形式,使之脱离倒勾。
如下图所示:上图中:β=α≦25°(α为拔块倾斜角度)H1≧1.5W (H1为配合长度)S=T+2~3mm(S为滑块需要水平运动距离;T为成品倒勾)S=H*sinα-δ/cosα(δ为斜撑梢与滑块间的间隙,一般为0.5MM;H为拔块在滑块内的垂直距离)C为止动面,所以拨块形式一般不须装止动块。
(不能有间隙)四‧滑块的锁紧及定位方式由于制品在成型机注射时产生很大的压力,为防止滑块与活动芯在受到压力而位移,从而会影响成品的尺寸及外观(如跑毛边),因此滑块应采用锁紧定位,通常称此机构为止动块或后跟块。
常见的锁紧方式如下图:五.滑块的定位方式滑块在开模过程中要运动一定距离,因此,要使滑块能够安全回位,必须给滑块安装定位装置,且定位装置必须灵活可靠,保证滑块在原位不动,但特殊情况下可不采用定位装置,如左右侧跑滑块,但为了安全起见,仍然要装定位装置.常见六‧滑块入子的连接方式滑块头部入子的连接方式由成品决定,不同的成品对滑块入子的连接方式可能不同,具体入子的连接方式大致如下:滑块采用整体式结构,一般适用于型芯较大,强度较好的场合. 采用螺钉固定,一般型芯或圆形,且型芯较小场合.采用螺钉的固定形式,一般型芯成方形结构且型芯不大的场合下. 采用压板固定适用固定多型芯.采用整体式加工困具形强度压板规格可查标准零压强度销八‧倾斜滑块参数计算由于成品的倒勾面是斜方向,因此滑块的运动方向要与成品倒勾斜面方向一致,否侧会拉伤成品。
倒勾处理(滑块)一‧斜撑销块的动作原理及设计要点是利用成型的开模动作用,使斜撑梢与滑块产生相对运动趋势,使滑块沿开模方向及水平方向的两种运动形式,使之脱离倒勾。
如下图所示:上图中:β=α+2°~3°(防止合模产生干涉以及开模减少磨擦)α≦25°(α为斜撑销倾斜角度)L=1.5D (L为配合长度)S=T+2~3mm(S为滑块需要水平运动距离;T为成品倒勾)S=(L1xsina-δ)/cosα(δ为斜撑梢与滑块间的间隙,一般为0.5MM;L1为斜撑梢在滑块内的垂直距离)二‧斜撑梢锁紧方式及使用场合三‧拔块动作原理及设计要点是利用成型机的开模动作,使拔块与滑块产生相对运动趋势,拨动面B拨动滑块使滑块沿开模方向及水平方向的两种运动形式,使之脱离倒勾。
如下图所示:上图中:β=α≦25°(α为拔块倾斜角度)H1≧1.5W (H1为配合长度)S=T+2~3mm(S为滑块需要水平运动距离;T为成品倒勾)S=H*sinα-δ/cosα(δ为斜撑梢与滑块间的间隙,一般为0.5MM;H为拔块在滑块内的垂直距离)C为止动面,所以拨块形式一般不须装止动块。
(不能有间隙)四‧滑块的锁紧及定位方式由于制品在成型机注射时产生很大的压力,为防止滑块与活动芯在受到压力而位移,从而会影响成品的尺寸及外观(如跑毛边),因此滑块应采用锁紧定位,通常称此机构为止动块或后跟块。
常见的锁紧方式如下图:五.滑块的定位方式滑块在开模过程中要运动一定距离,因此,要使滑块能够安全回位,必须给滑块安装定位装置,且定位装置必须灵活可靠,保证滑块在原位不动,但特殊情况下可不采用定位装置,如左右侧跑滑块,但为了安全起见,仍然要装定位装置.常见六‧滑块入子的连接方式滑块头部入子的连接方式由成品决定,不同的成品对滑块入子的连接方式可能不同,具体入子的连接方式大致如下:简图说明简图说明滑块采用整体式结构,一般适用于型芯较大,强度较好的场合. 采用螺钉固定,一般型芯或圆形,且型芯较小场合.采用螺钉的固定形式,一般型芯成方形结构且型芯不大的场合下. 采用压板固定适用固定多型芯.七‧滑块的导滑形式块在导滑中,活动必须顺利、平稳,才能保证滑块在模具生产中不发生卡滞或跳动现象,否则会影响成品质品,模具寿命等。
滑块木板模型类型归纳
滑块木板模型是一种经典的物理实验模型,有多种不同类型,有助于探究材料物理特性、摩擦力变化和动力学。
大致可以归纳如下:
一、拉拔滑块模型:
1、简单拉拔滑块模型,主要拉动木板,检测滑动阻力的变化;
2、可倾斜的拉拔滑块模型,可在上方安装杆状物,可以同时考察滑动阻力和偏角对摩擦的影响;
三、扭矩滑块模型:
1、简单扭矩滑块模型,涉及木板因不同重量加载而产生向前滑动,以及力矩与木板滑动距离之间的关系;
2、旋转扭矩滑块模型,主要研究向木板施加不同旋转扭矩量时,运动学能量如何变化,以及木板的惯性对原理检测的影响;
3、滚动扭矩滑块模型,既可以研究质量变化以及容积变化带来的动能改变,还可以检测施加扭矩后,滑块木板的运动过程;
四、弹性滑块模型:
1、简单弹性滑块模型,用来直接测量木板受压、胀板受力等行为;
2、变形弹性滑块模型,除了可用于观察板材弯曲变形效果,也可以检
测板材两头轴线之间的弹性力;
3、板材充放空弹性滑块模型,涉及木板进行充放空行程的情况的检测,以及材料特性,动态力学和应力分析的探究;
五、仿生滑块模型:
1、仿生模型的特点在于可以模仿自然界中动物体对滑动阻力的主动控制,更加接近实际环境的物理现象;
2、仿生滑块模型主要是探究木板与仿生表面之间的摩擦力关系,除此
之外,还可以分析表面参数对摩擦力系数的影响规律。
倒勾处理(滑块)一‧斜撑销块的动作原理及设计要点是利用成型的开模动作用,使斜撑梢与滑块产生相对运动趋势,使滑块沿开模方向及水平方向的两种运动形式,使之脱离倒勾。
如下图所示:上图中:β=α+2°~3°(防止合模产生干涉以及开模减少磨擦)α≦25°(α为斜撑销倾斜角度)L=1.5D (L为配合长度)S=T+2~3mm(S为滑块需要水平运动距离;T为成品倒勾)S=(L1xsina-δ)/cosα(δ为斜撑梢与滑块间的间隙,一般为0.5MM;L1为斜撑梢在滑块内的垂直距离)二‧斜撑梢锁紧方式及使用场合简图说明适宜用在模板较薄且上固定板与母模板不分开的情况下配合面较长,稳定较好适宜用在模板厚、模具空间大的情况下且两板模、三板板均可使用配合面L≧1.5D(D为斜撑销直径)稳定性较好适宜用在模板较厚的情况下且两板模、三板板均可使用,配合面L≧1.5D(D为斜撑销直径)稳定性不好,加工困难.适宜用在模板较薄且上固定板与母模板可分开的情况下配合面较长,稳定较好三‧拔块动作原理及设计要点是利用成型机的开模动作,使拔块与滑块产生相对运动趋势,拨动面B拨动滑块使滑块沿开模方向及水平方向的两种运动形式,使之脱离倒勾。
如下图所示:上图中:β=α≦25°(α为拔块倾斜角度)H1≧1.5W (H1为配合长度)S=T+2~3mm (S为滑块需要水平运动距离;T为成品倒勾) S=H*sinα-δ/cosα(δ为斜撑梢与滑块间的间隙,一般为0.5MM;H为拔块在滑块内的垂直距离)C为止动面,所以拨块形式一般不须装止动块。
(不能有间隙)四‧滑块的锁紧及定位方式由于制品在成型机注射时产生很大的压力,为防止滑块与活动芯在受到压力而位移,从而会影响成品的尺寸及外观(如跑毛边),因此滑块应采用锁紧定位,通常称此机构为止动块或后跟块。
常见的锁紧方式如下图:简图说明简图说明滑块采用镶拼式锁紧方式,通常可用标准件.可查标准零件表,结构强度好.适用于锁紧力较大的场合. 采用嵌入式锁紧方式,适用于较宽的滑块滑块采用整体式锁紧方式,结构刚性好但加工困难脱模距小适用于小型模具.采用嵌入式锁紧方式适用于较宽的滑块.采用拔动兼止动稳定性较差,一般用在滑块空间较小的情况下采用镶式锁紧方式,刚性较好一般适用于空间较大的场合.五.滑块的定位方式滑块在开模过程中要运动一定距离,因此,要使滑块能够安全回位,必须给滑块安装定位装置,且定位装置必须灵活可靠,保证滑块在原位不动,但特殊情况下可不采用定位装置,如左右侧跑滑块,但为了安全起见,仍然要装定位装置.常见的定位装置如下:简图说明利用弹簧螺钉定位,弹簧强度为滑块重量的1.5~2倍,常用于向上和侧向抽芯.利用弹簧钢球定位,一般滑块较小的场合下,用于侧向抽芯.利用弹簧螺钉和挡板定位,弹簧强度为滑块重量的1.5~2倍,适用于向上和侧向抽芯利用弹簧挡板定位,弹簧的强度为滑块重量的1.5~2倍,适用于滑块较大,向上和侧向抽芯.六‧滑块入子的连接方式滑块头部入子的连接方式由成品决定,不同的成品对滑块入子的连接方式可能不同,具体入子的连接方式大致如下:简图说明简图说明滑块采用整体式结构,一般适用于型芯较大,强度较好的场合. 采用螺钉固定,一般型芯或圆形,且型芯较小场合.七‧滑块的导滑形式块在导滑中,活动必须顺利、平稳,才能保证滑块在模具生产中不发生卡滞或跳动现象,否则会影响成品质品,模具寿命等。