变量泵变量调节和控制技术恒功率专题培训课件
- 格式:ppt
- 大小:1.84 MB
- 文档页数:8
液压变量泵(马达)变量调节原理与应用
液压变量泵(马达)是液压传动中一种常用的液压元件,它有着广泛的应用范围和较高的性能指标。
液压变量泵(马达)的可变容积能力是其最大的特点之一,而其变量调节原理与应用则是实现这一特点的关键。
一、变量调节原理
液压变量泵(马达)的可变容积主要通过改变工作腔内有效容积实现。
这种有效容积的变化可以通过机械、液压或电控手段来实现,形成了不同的变量调节方式。
目前主要有以下几种方式:
1. 机械式变量调节
机械式变量调节主要通过改变可变容积泵或马达的偏心距或液压缸路程,实现泵或马达的输出流量调节。
此种方式调节简单,但调节范围较小、调节量不稳定,适用范围较窄。
以上三种方式各有优劣,应根据液压传动系统的实际需要选择适合的变量调节方式。
二、应用
液压变量泵(马达)是液压传动中实现定量供油的重要元件,其可变容积的特点使得其能够适应不同的负载需求,进而实现更高的效率和更低的能耗。
液压变量泵(马达)广泛应用于各种液压传动系统中,如工程机械、农业机械、船舶、飞机和机床等领域。
液压变量泵(马达)的特点决定了其在液压传动中具有广泛的应用前景。
未来,液压变量泵(马达)会更加普及化,应用范围更加广泛,同时为了适应能源的节约和减排等要求,高性能、高效率、节能的液压变量泵(马达)将成为液压传动领域的主流趋势。
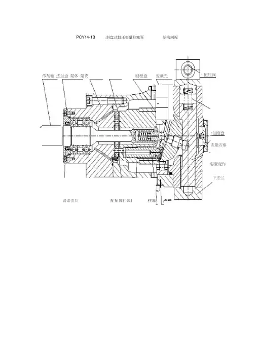
、恒压阀晋梁由封 配抽盘缸体| 柱塞/刻度盘 变量活塞娈童竟作 下法兰传刼轴 法兰盘 泵体 泵壳 回程盘-变童先PCT恒压变量动轴中心线转动,通过中心弹簧将柱滑组件中的滑靴压在变量头(或斜盘)上。
这样,柱塞 随着缸体的旋转而作往复运动,完成吸油和压油动作。
这种变量型式的泵, 输出压力小于调定恒压力时,全排量输出压力油, 即定量输出,在输出油液的压力达到调定压力时,就自动地调节泵流量,以保证恒压力,满足系统的要求。
泵的输出恒压值,根据需要,在调压范围内可以无级调定,泵的结构见图6,该结构将输出的压力油同时通至变量活塞下腔和和恒压阀的控制油入口,当输出压力小于调定恒压力时, 作用在恒压阀芯上的油压推力小于调定弹簧力,恒压阀处于开启状态, 压力油进入变量活塞上腔,变量活塞压在最低位置, 泵全排量输出压力油;当泵在调定恒压力工作时, 作用在恒 压阀芯上的油压推力等于调定弹簧力,恒压阀的进排油口同时处于开启状态,使变量活塞上下腔的油压推力相等,变量活塞平衡在某一位置工作,若液压阻尼(负载)加大,油压瞬时 升高,恒压阀排油口开大、进油口关小,变量活塞上腔比较下腔压力降低、变量活塞向上移动,泵的流量减小,直至压力下降到调定恒压力,这时变量活塞在新的平衡位置工作。
反之,若液压阻尼(负载)减小,油压瞬时下降,恒压阀进油口开大,排油口关小,变量活塞上腔 比较下腔油压升高,变量活塞向下移动,泵的流量增大,直至压力上升至调定恒压力。
液压原理符号10Q5010调压范围P (MP 弟 3175~云$主体部分(参见结构剖)由传动轴带动缸体旋转, 使均匀分布在缸体上的七个柱塞绕传YCY14-1B :斜盘式压力补偿变量(恒功率)柱塞泵 /马达结构剖视YCY14-1B :斜盘式压力补偿变量柱塞泵 /马达法兰盘传动轴 n儆艮活塞h1〜刻度盘 变量活塞h下法兰d.弹簧套 内弹賛卯弹賓g上4兰卜、封师V 限位s 钉回程盘喪量头就翩母II 1\口工作原理变量倚性曲线 櫃压原理符号5 812主体部分(参见结构剖)由传动轴带动缸体旋转, 使均匀分布在缸体上的七个柱塞绕传动轴中心线转动,通过中心弹簧将柱滑组件中的滑靴压在变量头(或斜盘)上。
恒功率变量泵与恒压变量泵[整理] 恒功率泵所实现的功能就时保证电机不会超功率,低压时大流量,高压时小流量;恒压泵能够实现零流量保压。
1)恒压泵一般用于这样的液压系统:开始阶段要求低压快速前进,而后转为慢速靠近,最后停止不动并保压,像油压机就是这样。
这里,恒压泵设定的压力就是系统保压所需要的压力。
这里,对“液压系统压力由负载决定,而由溢流阀加于限定”的基本原则应该讲是符合的。
为了更好理解泵控系统,可以考虑修改为“系统压力由负载决定,而由恒压泵加于限定”。
像压机的例子,压制件的反力可以很大,具体施加多少由恒压泵调节。
2)恒流泵主要用于工程机械这种设备上就一台发动机,要充分利用其功率。
对液压系统就可以在低压时大流量,高压时小流量。
这表面上与恒压泵相似,其实不然。
恒功率泵在压力流量变化时,遵循恒功率,而恒压泵在未达到调定值之前,是最大排量的定量泵,不存在开始恒功率的拐点。
而进入恒压工况后,原则上可以根据系统的需要提供流量而保持压力不变。
3)恒压变量泵是在达到泵平身的设定压力后才开始变量,此时流量下降成陡线下降.恒功率变量泵是几乎全压力阶段都在变量,基本保证输出的功率恒定在一定范围内,但是在泵设定的功率范围内,压力上升,流量是全流量输出,当超过这个压力,流量开始下降,以保证输出功率恒定(这也就是说在低于额定功率时,实际使用功率不是恒定的).还有电控变量泵,它的变量曲线由电控部份决定,与实际压力无关.不管如何,电机与油泵的功率匹配,是必须考虑的. )恒压泵更重要的一点是:在压力不变的情况下更节约能源。
恒功率泵是能根4据负载变化改变运动速度,也主要用于这种负载变化要求速度能变化的情况。
5)1)一般情况下,固定工业液压选用恒功率的案例较少,多数是行走机械(工程机械)动力是发动机的,为了充分利用功率,选用恒功率泵的情况较多。
当然天下之大,不能一概而论。
6)对于一个在反复循环过程中,或者随机操作过程中,压力与流量两个参数都有比较大差异的系统,人们往往采用“一把钥匙开一把锁”的模式灵活处理。
动轴中心线转动,通过中心弹簧将柱滑组件中的滑靴压在变量头(或斜盘)上。
这样,柱塞随着缸体的旋转而作往复运动,完成吸油和压油动作。
这种变量型式的泵,输出压力小于调定恒压力时,全排量输出压力油,即定量输出,在输出油液的压力达到调定压力时,就自动地调节泵流量,以保证恒压力,满足系统的要求。
泵的输出恒压值,根据需要,在调压范围内可以无级调定,泵的结构见图 6 ,该结构将输出的压力油同时通至变量活塞下腔和和恒压阀的控制油入口,当输出压力小于调定恒压力时,作用在恒压阀芯上的油压推力小于调定弹簧力,恒压阀处于开启状态,压力油进入变量活塞上腔,变量活塞压在最低位置,泵全排量输出压力油;当泵在调定恒压力工作时,作用在恒压阀芯上的油压推力等于调定弹簧力,恒压阀的进排油口同时处于开启状态,使变量活塞上下腔的油压推力相等,变量活塞平衡在某一位置工作,若液压阻尼(负载)加大,油压瞬时升高,恒压阀排油口开大、进油口关小,变量活塞上腔比较下腔压力降低、变量活塞向上移动,泵的流量减小,直至压力下降到调定恒压力,这时变量活塞在新的平衡位置工作。
反之,若液压阻尼(负载)减小,油压瞬时下降,恒压阀进油口开大,排油口关小,变量活塞上腔比较下腔油压升高,变量活塞向下移动,泵的流量增大,直至压力上升至调定恒压力。
主体部分(参见结构剖)由传动轴带动缸体旋转,使均匀分布在缸体上的七个柱塞绕传YCY14-1B :斜盘式压力补偿变量(恒功率)柱塞泵/ 马达结构剖视YCY14-1B :斜盘式压力补偿变量柱塞泵/ 马达工作原理主体部分(参见结构剖)由传动轴带动缸体旋转,使均匀分布在缸体上的七个柱塞绕传动轴中心线转动,通过中心弹簧将柱滑组件中的滑靴压在变量头(或斜盘)上。
这样,柱塞随着缸体的旋转而作往复运动,完成吸油和压油动作。
压力补偿变量泵的出口流量随出口压力的大小近似地在一定范围内按恒功率曲线变化。
当来自主体部分的高压油通过通道(a)、(b)、(c)进入变量壳体下腔(d)后,油液经通道(e)分别进入通道(f)和(h),当弹簧的作用力大于由油道(f )进入伺服活塞下端环形面积上的液压推力时,则油液经(h)到上腔(g),推动变量活塞向下运动,使泵的流量增加。
恒功率变量泵调速回路1. 哎,说起恒功率变量泵调速回路,这玩意儿听起来就像是工程师们的黑话,但其实它跟我们的生活息息相关,尤其是在那些大型机械和工业设备上。
让我给你慢慢道来,这玩意儿到底是怎么一回事。
2. 首先,咱们得搞清楚什么是恒功率。
想象一下,你手里拿着一个锤子,不管你用多大力气挥舞,锤子的重量是不变的,这就是恒定的“功率”。
在机械的世界里,恒功率意味着不管你怎么调整,输出的功率都是固定的。
3. 然后,咱们再聊聊变量泵。
这玩意儿就像是个聪明的水阀,可以根据需要调整水流的大小。
在机械系统中,变量泵可以根据负载的变化调整液压油的流量,以保持系统的压力稳定。
4. 我记得有一次,我在工厂里看到一台巨大的液压机,它就用到了恒功率变量泵调速回路。
那机器看起来就像是个钢铁巨兽,但是它的动作却异常精准和平稳。
5. 我站在旁边观察,看到操作员轻轻一推控制杆,那机器的液压缸就开始缓缓移动。
我注意到,尽管机器的动作很慢,但是它的力量却非常强大,这都得归功于恒功率变量泵的调节。
6. 你可能会问,这玩意儿怎么就能保持恒功率呢?其实,这跟变量泵的调节有关。
当负载增加时,变量泵会自动减少流量,以保持压力和功率的恒定。
反之,负载减少时,流量就会增加,但功率依然保持不变。
7. 我还记得,那天操作员给我展示了一个实验。
他把一个重物放在液压机下,然后慢慢增加重量。
我注意到,尽管重量在增加,但是液压机的动作依然平稳,没有出现任何吃力的迹象。
8. 这让我想到了生活中的很多事情,有时候我们也需要像恒功率变量泵一样,面对不同的挑战和压力,要学会调整自己的节奏和力度,以保持最佳的工作状态。
9. 但是,这玩意儿也不是没有缺点。
我注意到,当负载突然变化时,恒功率变量泵需要一点时间来调整,这可能会导致机器的动作出现短暂的停顿或者不稳定。
10. 我记得有一次,操作员突然移除了重物,液压机的液压缸迅速上升,但是很快就稳定了下来。
这是因为变量泵迅速调整了流量,以适应新的负载条件。