煤矿项目核准程序及工作流程2016.7.8
- 格式:doc
- 大小:38.00 KB
- 文档页数:5
资料1煤矿项目在发改委核准程序一、项目核准的依据《国务院关于投资体制改革的决定》(国发〔2004〕20号)、《企业投资项目核准暂行办法》(发展改革委令第19号)等二、项目核准程序和相关条件(一)根据《政府核准的投资项目目录》,企业投资建设规划矿区的煤矿项目应报发展改革委核准,其余一般煤矿项目应报地方政府投资主管部门核准。
(二)煤矿项目申请报告应由具备相应工程咨询资格的机构编制,其中由发展改革委核准的项目,其项目申请报告应由具备甲级工程咨询资格的机构编制。
(三)煤矿项目申请报告经项目所在地省级政府投资主管部门初审并提出意见,向发展改革委报送项目申请报告(省级政府规定具有投资管理职能的经委、经贸委应与发展改革委联合报送)。
计划单列企业集团和中央管理企业可直接向国务院投资主管部门提交煤矿项目申请报告,提交时要附上项目所在地省级政府投资主管部门的意见。
(四)项目申报单位报送煤矿项目申请报告时,需按照有关规定附送以下文件:1、煤井田储量1亿吨(含)以上,其中焦煤井田储量5000万吨(含)以上,由国土资源部出具划定矿区围批复;其余由国土资源部授权省级人民政府国土资源主管部门出具划定矿区围批复(国土资源部《关于规勘查许可证采矿许可证权限有关问题的通知》规定);2、国土资源部出具的项目用地预审意见,或土地管理部分核发的土地使用证(国土资源部《建设项目用地预审管理办法》第四条规定);3、省级以上城乡规划行政主管部门出具的选址意见书(建设部、计委《建设项目选址规划管理办法》第七条规定);4、规划矿区年产150万吨及以上的煤炭开发项目由环境保护部出具环境影响评价文件的审批意见,规划矿区年产150万吨以下的煤炭开发项目由环境保护部委托省级环境保护部门出具环境影响评价文件的审批意见(环境保护部2009年第7号公告);5、征占地面积在五十公顷以上或者挖填土石方总量在五十万立方米以上的开发建设项目或者限额以上技术改造项目,由水利部出具水土保持意见;其余煤矿项目由省级水行政主管部门出具水土保持意见(水利部《开发建设项目水土保持方案编报审批管理规定》第七条规定);6、流域管理机构出具的项目取水意见(国务院第460号令《取水许可和水资源费征收管理条例》第十四条规定);7、县级以上供电公司出具的供电协议;8、煤炭产品销售协议;9、银行出具的贷款承诺函、企业自有资金承诺函(证明材料)、投资协议等;10、根据有关法律法规应提交的其他文件。
煤炭建设项目的基本流程1.前期准备在前期准备阶段,主要任务是确定建设项目的类型和规模,包括确定煤矿的产能和选址。
同时,需要进行项目可行性研究,评估项目的经济、技术和环境可行性,并编制项目可行性研究报告。
2.立项审核在立项审核阶段,需要向相关行政部门递交项目申请报告,经过与相关部门的沟通和审查,获取项目的核准文件,包括环境影响评价证书和建设用地规划许可证等。
3.项目设计在项目设计阶段,需要进行煤矿工程设计、施工图设计和环境保护措施设计等工作。
这一阶段的主要目标是确保设计方案的可行性和安全性,明确建设项目的各项指标和技术要求。
4.建设实施建设实施阶段是整个项目的核心阶段,包括土地征地、招投标、施工管理等工作。
在土地征地阶段,需要与相关农民协商并达成补偿协议。
在招投标阶段,需要发布招标公告,接收各方投标,并最终确定承包商。
在施工管理阶段,需要监督施工进度、质量和安全等方面的工作。
5.运营管理运营管理阶段是项目运营的关键阶段。
该阶段的主要任务是进行煤矿生产、设备维护、质量管理和安全管理等工作。
同时,还需要进行环境保护和科学技术创新等工作,确保煤炭生产的可持续发展。
在整个煤炭建设项目的流程中,还需要进行相关的法律法规遵循、环境监测和工程验收等工作。
同时,需要与相关政府部门和社会各界保持沟通和协调,确保项目的顺利进行。
此外,还应加强对项目风险的管理和控制,确保项目的安全和可靠性。
总的来说,煤炭建设项目的基本流程是从前期准备开始,经过立项审核、项目设计、建设实施和运营管理等阶段,最终实现项目的运营和发展。
在每个阶段中,都需要进行相关的工作和管理措施,以确保项目的安全、可行和可持续发展。
煤矿项目核准手续申报程序一、项目申请报告1、编制单位: ##工程咨询有限责任公司。
2、目前进度:报告正在编制中。
3、预计报告完成时间:11 月 10 日。
4、尚短缺的支撑性文件:《环评》中有关矸石总量、如何排污的数据5、申报程序:根据项目可行性研究报告编制,完成后由集团公司启文(附社会稳定风险评估报告、项目选址意见书、用地预审意见)向##县发改委申请项目核准,同意后由 ###县发改委向山西省发改委申请,同意后再由省发改委向国家发改委申请。
最后由国家发改委组织专家评审,评审通过后发项目核准批文。
二、项目选址意见书1、编制单位: #####建筑设计有限公司。
2、目前进度:报告已经编制完成。
目前正在省住房和城乡建设厅走程序。
3、申报程序:省住房和城乡建设厅走完程序后由编制单位传到 ###省政务大厅,受理后住建厅负责找专家评审给出项目选址意见。
三、用地预审意见1、编制单位: #####咨询服务有限公司。
2、目前进度:用地预审申请报告正在编制中。
3、预计报告完成时间:11 月 10 日。
4、尚短缺的支撑性文件:购买土地增减挂钩指标、《###县###镇土地利用总体规划( 2006-2020 年)修改方案》、《###县 2018 年第一批增减挂钩建新区项目实施方案》、六部委核查文件。
具体情况如下:1)购买土地增减挂钩指标事宜委托单位: ###市土地整治有限公司目前进度:( 1)###市土地整治有限公司已经同意增减挂钩指标的交易协议,但要求 ##于 10 月 15 日前一次性将交易款项打到其账上。
(2)保证 11 月底可以拿到经省国土厅批复的节余指标。
( 3)##所购买 173.312 亩指标已报省国土厅“ ###县 2018 年度城乡建设用地增减挂钩 ###镇等三乡镇项目区”节余指标。
2)《 ###县###镇土地利用总体规划(2006-2020 年)修改方案》编制单位: #####咨询服务有限公司。
目前进度:报告正在编制中。
煤矿项目程序一、项目申请所需各种支撑性文件如下:1、可行性研究报告,由发改委审批。
2、矿界范围划定批文,国土厅。
3、矿产资源综合利用方案,国土厅。
4、地质灾害评价报告,国土厅。
5、矿业权评估报告,国土厅批文。
6、建设用地预审,由国土厅审批。
7、省级以上城乡规划行政主管部门出具的选址意见书。
8、水土保持方案,水利厅审批。
9、水资源论证(取水),水利厅审批。
10、项目环境影响评价报告,节能专篇,省环保局审批。
11、安全预评价(安全专篇),省安监局审批。
12、矿山土地复垦方案,省国土厅审批。
13、矿山地质环境保护方案,省国土厅审批。
14、供电协议,与地、县供电局或省电网公司签定。
15、贷款承诺函,省级银行。
资信证明,由开户银行出。
16、开办煤矿准入条件,省能源局17、项目核准报告,省发改委审批。
18、采矿权(采矿许可证)手续,国土厅发。
19、初步设计,由省能源局、发改委审批。
20、安全设施设计,省煤监局审批。
二、矿井可行性研究报告矿井可行性研究的主要任务是确定矿井开发的必要性和可行性,以勘探(精查)等地质资料为基础,委托有资质的设计单位按有关标准开展工作,编写报告,一般需取得以下有关协议或文件: 政府主管部门同意用地、地价、用电、用水和选址的文件,文物保护主管部门的同意文件,银行部门出具的贷款承诺函,通讯部门同意安装通讯设施的文件等。
矿井可行性研究需同时开展以下专题报告的编制和审批:矿区及矿井环境影响评价报告、水土保持方案报告、安全预评价报告、地质灾害危险性评估报告和水资源评价报告等。
三、项目核准支持性文件1、国土资源厅划定矿区范围批复。
2、煤炭行业准入文件(新建矿井),省能源局。
3、环境影响评价批复文件。
4、水土保持方案批复文件。
5、安全预评价批复文件。
6、地质灾害批复文件。
7、储量核实报告(详查以上,改扩),地质勘探报告(详查以上,新建)。
8、国土资源行政主管部门出具的项目用地预审意见;(临时土地使用证)。
煤矿项目核准审批制度范本第一章总则第一条为了规范煤矿项目核准审批工作,保障煤矿项目的安全、环保和质量,根据《中华人民共和国矿产资源法》、《中华人民共和国环境影响评价法》、《中华人民共和国安全生产法》等法律法规,制定本制度。
第二条本制度适用于我国境内新建、改建、扩建的煤矿项目核准审批工作。
第三条煤矿项目核准审批工作应当遵循依法依规、公开透明、科学合理、严格把关的原则。
第四条国家发展和改革委员会(以下简称国家发展改革委)负责全国煤矿项目的核准审批工作。
地方各级人民政府发展和改革部门(以下简称地方发展改革委)负责本行政区域内煤矿项目的核准审批工作。
第二章核准审批权限和程序第五条煤矿项目核准审批权限如下:(一)新建、改建、扩建煤矿项目,总投资额在100亿元以下的,由国家发展改革委核准;(二)新建、改建、扩建煤矿项目,总投资额在100亿元以上的,由国家发展改革委提出核准意见,报国务院决定。
第六条煤矿项目核准审批程序如下:(一)项目单位应当根据法律法规,编制煤矿项目申请报告,提交相关材料;(二)地方发展改革委收到项目申请报告后,应当在5个工作日内提出初审意见,报国家发展改革委;(三)国家发展改革委收到项目申请报告和相关材料后,应当在20个工作日内作出核准或者不予核准的决定;(四)项目单位获得核准决定后,应当依法办理相关手续,开展项目建设。
第三章核准审批内容和要求第七条煤矿项目申请报告应当包括以下内容:(一)项目单位的基本情况;(二)项目的基本情况,包括项目名称、建设地点、建设规模、投资估算、建设周期等;(三)项目的安全评估报告;(四)项目的环境影响评价报告;(五)项目的安全生产条件评估报告;(六)项目单位资金来源证明;(七)法律法规规定的其他材料。
第八条煤矿项目应当符合以下要求:(一)符合国家煤矿产业政策和发展规划;(二)符合矿产资源规划、环境影响评价、安全生产条件等方面的法律法规要求;(三)项目设计、施工和运营管理应当符合国家标准和行业规范;(四)项目单位应当具备相应的资金、技术和管理能力。
煤矿扩建、改建项目核准及竣工验收程序(试行)根据省政府办公厅《关于印发吉林省能源局主要职责内设机构和人员编制规定的通知》(吉政办发…2009‟45号)规定,为规范煤矿新建项目申报核准及竣工验收程序,依据国家发改委颁布《企业投资项目核准暂行办法》(国家发改委令第19号)、国家计划委员会关于印发《建设项目(工程)竣工验收办法》的通知(计建设…1990‟1215号)、吉林省计委关于印发《吉林省建设项目竣工验收管理办法》的通知(吉计重字…1996‟490号)和省发改委关于印发《吉林省发展和改革委员会与吉林省能源局职能关系及工作流程的通知》(吉发改办字…2009‟395号)等文件有关规定,制定本程序。
一、项目类别扩建项目:指现合法生产煤矿通过技术改造等手段,使生产能力增加的煤矿建设项目。
扩建后的矿井设计生产能力,应在原设计生产能力或核定生产能力的基础上,按设计规范规定升2级级差及以上。
改建项目:指现合法生产煤矿通过技术改造增加生产能力在原设计生产能力或核定生产能力的基础上未达到设计规范2级级差,或没有增加生产能力但改变了煤矿原有主要生产系统及安全设施的煤矿建设项目。
未增加生产能力的改建项目主要包括:增加井筒数目或者改变井筒功能的,扩大煤层开采范围的,矿井延深水平开拓方式与原设计不一致的项目等。
二、扩建、改建煤矿基本条件1.“六证”(采矿许可证、安全生产许可证、煤炭生产许可证、矿长安全资格证、矿长资格证、工商营业执照)齐全的合法生产矿井;2.矿井扩建、改建后服务年限要符合《煤炭工业矿井设计规范》、《煤炭工业小型矿井设计规范》有关规定。
三、项目核准程序(一)核准、审批权限1.凡是企业使用政府补助、转贷、贴息投资的煤矿改、扩建项目核准,省属煤矿由省煤业公司、其它煤矿由所在市(州)发改委上报申请核准文件,主送省发改委,抄送省能源局。
省能源局提出核准意见,由省发改委核准。
同时报送企业编制的资金申请报告,省能源局提出安排意见,由省发改委审核后上报国家发改委或省政府。
煤矿审批流程煤矿是我国能源工业的重要组成部分,对于国民经济的发展起着至关重要的作用。
然而,煤矿的开发和审批过程需要经过严格的程序和程序。
下面将介绍煤矿审批的流程。
首先,申请单位需要向相关部门提交煤矿开发申请书,申请书中需要包括煤矿的位置、规模、开发方案、环境影响评价报告等相关资料。
这些资料需要经过严格的审查和评估,确保煤矿开发的合法性和可行性。
接下来,相关部门将对申请资料进行初步审查,对煤矿的位置、规模、环境影响等进行评估。
如果初步审查通过,将组织专家进行现场考察和评估,以确保煤矿开发不会对周边环境和居民造成严重影响。
在专家评估通过后,申请单位需要向国土资源部门提交煤矿开发的申请文件,包括矿业权申请、地质勘查报告、矿区规划设计等相关资料。
国土资源部门将对这些资料进行审核,确保申请符合相关法律法规,并且不会对国土资源造成严重损害。
一旦国土资源部门审核通过,申请单位需要向安全监管部门提交煤矿安全生产许可申请,包括矿井设计、安全设施规划、职业健康评估等相关资料。
安全监管部门将对这些资料进行严格审查,确保煤矿的安全生产设施完善,符合国家相关标准。
最后,申请单位需要向环保部门提交煤矿开发的环境影响评价报告,并申请环境保护手续。
环保部门将对煤矿开发对周边环境的影响进行评估,确保煤矿开发不会对生态环境造成严重破坏。
一旦环保部门审核通过,申请单位将获得煤矿开发的环境保护手续。
总的来说,煤矿审批流程需要经过多个部门的严格审核和评估,确保煤矿开发符合国家相关法律法规,并且不会对环境和居民造成严重影响。
这一系列的程序和程序,是为了保障煤矿开发的合法性和可持续发展,也是为了维护国家的生态环境和公共利益。
煤炭建设项目核准工作流程一、前期准备1.项目意向确定:确定项目投资规模、用地需求、技术路线、环保要求等基本信息。
2.可行性研究:进行项目可行性分析,评估项目在政策、资金、市场、技术、环保等方面的可行性。
3.环境影响评价:进行项目的环境影响评价,评估项目对环境的潜在影响,并提出相关环境保护措施。
4.土地取得:申请用地,并获取土地使用权证书。
二、申请核准1.项目申请书:编制项目申请书,包括项目背景、投资规模、技术路线、环保要求等信息。
2.相关材料准备:准备项目规划、用地规划、环境影响评价报告、经济效益评价报告等相关材料。
3.申报审批机构:将项目申请书及相关材料提交给相关审批机构或部门,如国家发展和委员会、国家能源局等。
三、审核评估1.初审:审查申请材料是否齐全,符合相关法规政策要求,初步评估项目可行性。
2.现场核查:核查项目所在地的土地、环境等情况,并对环境影响评价报告的真实性进行验证。
3.专家评审:组织专家对项目进行评审,分析项目的技术可行性、经济效益、社会影响等因素。
4.意见征询:征询相关部门、单位对项目的意见,了解对项目可能引发的问题及处理建议。
四、决策批复1.决策会议:召开项目决策会议,对项目申请材料、评审结果及征询意见进行综合评定和研究。
2.决策批复:通过项目审议及决策,形成核准决议,由审批机构或领导签批。
3.签发批复文件:颁发项目核准批复文件,明确项目核准结果及相关要求。
五、备案1.备案申请:申请备案,并提交项目核准批复文件及其他相关材料。
2.备案审查:备案机构对备案申请材料进行审查,验证核准批复文件的合法性和真实性。
3.备案登记:将项目备案信息登记在相关备案系统中,并颁发备案证书。
通过以上的工作流程,煤炭建设项目能够按照规定程序完成核准工作,确保项目在法律法规的框架内合法有效地进行,保证项目的可行性和环境保护要求得到充分考虑和落实。
煤矿项目发改委备案预审核准流程下载温馨提示:该文档是我店铺精心编制而成,希望大家下载以后,能够帮助大家解决实际的问题。
文档下载后可定制随意修改,请根据实际需要进行相应的调整和使用,谢谢!并且,本店铺为大家提供各种各样类型的实用资料,如教育随笔、日记赏析、句子摘抄、古诗大全、经典美文、话题作文、工作总结、词语解析、文案摘录、其他资料等等,如想了解不同资料格式和写法,敬请关注!Download tips: This document is carefully compiled by theeditor.I hope that after you download them,they can help yousolve practical problems. The document can be customized andmodified after downloading,please adjust and use it according toactual needs, thank you!In addition, our shop provides you with various types ofpractical materials,such as educational essays, diaryappreciation,sentence excerpts,ancient poems,classic articles,topic composition,work summary,word parsing,copy excerpts,other materials and so on,want to know different data formats andwriting methods,please pay attention!煤矿项目发改委备案预审核准流程详解在煤炭产业中,新建或扩建煤矿项目需要经过一系列严谨的审批流程,其中发改委(发展和改革委员会)的备案预审核准是至关重要的环节。
煤矿建设项目核准后办事流程图一、项目初步设计报批(省煤管局、省发改委)项目初步设计报批办事指南一、主要依据1、国家发改委《关于加强煤矿建设项目管理的通知》(发改能源[2006]1039号);2、《关于加强煤矿建设项目安全设施设计查与竣工验收工作的通知》煤安监监察〔2007〕44号;二、申请人应提交的资料:1、项目核准批复(复印件);2、地质勘查报告(1套);3、采矿证(复印件);4、初步设计5套(审查用);三、办理程序1、上报材料;2、组织专家或中介机构会审;3、设计单位补充修改设计;4、修改上报5、下发批文。
二、煤矿安全设施设计报批(省煤监局)煤矿安全设施设计报批办事指南(信息来源:贵州煤监局)一、主要依据:1、《中华人民共和国安全生产法》;2、《关于加强煤矿建设项目安全设施设计查与竣工验收工作的通知》煤安监监察〔2007〕44号;3、《煤矿安全监监察条例》;4、《煤矿建设项目安全设施监察规定》;5、国家发改委、国家安监总局《关于加强建设项目安全设施“三同时”工作的通知》(发改投资[2003]1346号);二、申请人应提交的资料(报件份数:纸质1套):1、安全设施设计审查申请文件及申请表2、政府有关部门对该建设项目核准(或批准)文件3、采矿许可证或者划定矿区范围批复文件;4、安全预评价报告书;5、井田勘探(精查)地质报告(小型煤矿必须符合《煤炭工业小型矿井设计规范》要求);6、煤矿初步设计;7、煤矿初步设计安全设施设计;8、其他需要说明的材料(有效期内《采矿许可证(正副本)》、《工商营业执照》、《煤矿主要负责人(包括法人或投资人和矿长)安全资格证书》的复印件、并加盖公章);三、办理程序1、窗口受理;2、组织处室、专家会审;3、返回修改;4、修改上报5、下发批文。
三、土地征用手续省政府批准的“圈外”单独选址和“圈内”具体建设项目用地(省国土资源厅)土地征用手续办事指南(信息来源:省国土厅网站)一、适用范围1、土地利用总体规划确定的城市(含建制镇)建设用地范围内的具体建设项目;2、土地利用总体规划确定的城市(含建制镇)、村庄及集镇建设用地范围外的单独选址建设项目二、主要依据1、《中华人民共和国宪法》;2、《中华人民共和国土地管理法》;3、《中华人民共和国土地管理法实施条例》;4、《建设用地审查报批管理办法》;5、《贵州省土地管理条例》;6、《关于进一步规范我省建设用地审查报批工作有关问题的通知》(黔国土资发[2005]62号)。
新建煤矿建设项目审批流程新建煤矿建设项目的审批流程包括以下步骤:1. 矿区总体规划:确定矿区开发布局、煤矿项目开展前期准备工作、办理核准和建设生产的基本依据。
大型煤炭矿区的总体规划由国家发展改革委审批,其他矿区由省级煤炭矿区总体规划管理部门审批,并报国家发展改革委备案。
2. 矿区规划环评:评估煤矿项目对环境的影响,并制定相应的保护措施。
3. 矿业权设置区划:确定矿区的范围和资源量,并确定矿业权的设置和分配。
4. 煤矿项目核准:根据矿区总体规划和矿业权设置区划,对具体的煤矿项目进行核准。
5. 办理采矿许可证:在获得核准后,办理采矿许可证,获得合法的采矿权。
6. 压覆矿产审批:评估煤矿项目对其他矿产资源的影响,并制定相应的保护措施。
7. 建设用地审批:获得建设用地使用权,开始矿区建设。
8. 地质灾害危险性评估:评估煤矿项目对地质灾害的影响,并制定相应的预防措施。
9. 取水许可审批:评估煤矿项目对水资源的影响,并制定相应的保护措施。
10. 节能审查:评估煤矿项目的能效,确保符合节能要求。
11. 水保方案审批:制定水土保持方案,确保符合水土保持要求。
12. 项目环境影响评价:评估煤矿项目对环境的影响,并制定相应的保护措施。
13. 矿山地质环境保护与土地复垦方案:制定矿山地质环境保护方案和土地复垦方案,确保矿山建设和生产过程中的环境保护和土地复垦工作得到落实。
14. 初步设计和安全专篇审查:对煤矿项目的初步设计和安全专篇进行审查,确保符合相关标准和规定。
15. 项目安全预评价:评估煤矿项目的安全风险,并制定相应的预防措施。
16. 职业病危害预评价:评估煤矿项目对职业病的影响,并制定相应的预防措施。
17. 煤矿开工备案:向相关部门备案,获得开工许可。
18. 煤矿安全设施竣工验收:在项目完工后,对煤矿的安全设施进行验收,确保符合相关标准和规定。
19. 煤矿竣工验收:对整个煤矿项目进行验收,确保符合设计要求和相关标准。
煤电核准流程下载温馨提示:该文档是我店铺精心编制而成,希望大家下载以后,能够帮助大家解决实际的问题。
文档下载后可定制随意修改,请根据实际需要进行相应的调整和使用,谢谢!并且,本店铺为大家提供各种各样类型的实用资料,如教育随笔、日记赏析、句子摘抄、古诗大全、经典美文、话题作文、工作总结、词语解析、文案摘录、其他资料等等,如想了解不同资料格式和写法,敬请关注!Download tips: This document is carefully compiled by theeditor. I hope that after you download them,they can help yousolve practical problems. The document can be customized andmodified after downloading,please adjust and use it according toactual needs, thank you!In addition, our shop provides you with various types ofpractical materials,such as educational essays, diaryappreciation,sentence excerpts,ancient poems,classic articles,topic composition,work summary,word parsing,copy excerpts,other materials and so on,want to know different data formats andwriting methods,please pay attention!煤电核准流程1.立项申请:电力企业在计划建设煤电项目时,首先需要向相关主管部门提交立项申请。
煤矿新建项目申报核准及竣工验收程序(试行)根据省政府办公厅《关于印发吉林省能源局主要职责内设机构和人员编制规定的通知》(吉政办发〔2009〕45号)规定,为规范煤矿新建项目申报核准及竣工验收程序,依据国家发改委颁布《企业投资项目核准暂行办法》(国家发改委令第19号)、国家计划委员会关于印发《建设项目(工程)竣工验收办法》的通知(计建设〔1990〕1215号)、吉林省计委关于印发《吉林省建设项目竣工验收管理办法》的通知(吉计重字〔1996〕490号)和省发改委关于印发《吉林省发展和改革委员会与吉林省能源局职能关系及工作流程》的通知(吉发改办字〔2009〕395号)等文件有关规定,制定本程序。
一、前期工作(一)申报条件1.有符合煤炭产业开发建设和生产要求的法人主体,具有完成项目建设要求的资金能力,并具备煤矿建设、生产的技术、生产、安全管理能力,保证建设项目按期建成投产;2.有明确的井田范围和可靠的煤炭资源,具有矿产资源管理部门评审(备案)的地质报告;3.符合全省和所在地区煤炭工业发展规划;4.“十一五”期间矿井建设规模30万吨/年及以上;5.国务院第169号令颁发《乡镇煤矿管理条例》第九条规定范围之外的煤炭资源。
(二)工作程序1.建设单位到拟建煤矿所在地工商行政管理部门办理企业名称预核准登记手续;2.建设单位委托具有相应资质工程设计咨询单位编制项目可行性研究报告,并委托有相应资质工程咨询单位对可行性研究报告进行评估;3.建设单位向主管单位(省属煤矿)或所在县(区)发改委提出项目建设前期工作申请;4.省属煤矿由省煤业公司、其它煤矿由所在县(区)、市(州)发改委逐级初审并提出项目申请。
按国务院《政府核准的投资项目目录》,我省不属于国家规划矿区,煤矿建设属于省级政府投资主管部门核准的项目,申请文件主送省能源局,抄送省发改委。
5.省能源局提出开展前期工作的意见,省发改委统筹研究后,由省发改委出具开展前期工作的通知,并函告省能源局。
煤矿项目核准程序及工作流程
一、项目启动阶段
(一)取得探矿权:
1.直接向矿产资源主管部门申请取得,此种方式遵循申请在先的原则,先申请先得;
2.通过招标拍卖挂牌方式竞争取得;
3.通过其他探矿权人转让探矿权而取得,探矿权人在完成规定的最低勘查投入后,经依法批准,可以将探矿权转让他人。
(二)项目法人组建(成立公司):由煤矿建设业主按照公司法要求成立公司并组织实施。
——《公司法》
(三)矿界范围划定批文——由省国土资源厅进行批复申请人应提交的资料(报件份数:纸质1套)
1、划定矿区范围申请书(原件,另附电子版本1套);
2、申请人的主体资格证明材料(企业法人营业执照或工商营业执照,或企业名称预先核准通知);
3、地质勘查报告(含附图)及审查意见(原件,另附电子版本1套);储量核实报告?(普查、详查、精查?)
4、资料汇交凭证;
5、有效期内的勘查许可证;
6、涉及压占测量标志的,附国土资源部门审核意见(原件);
7、矿区范围图(比例尺1:10000或更大)(原件)
8、申请范围拐点坐标(原件,另附国家直角坐标三度带,
Excel格式1套);
(四)获得开办煤矿准入条件——由省能源局进行审查通过的开办煤矿准入批文。
准入条件的核查文件?办煤矿的企业必备条件?
(五)项目建议书:企业初步可行性研究报告(企业内部决策)——报能发改委批复
二、项目第一阶段:矿井可行性研究报告——由发改委审批
矿井可行性研究的主要任务是确定矿井开发的必要性和可行性,以勘探(精查)等地质资料为基础,委托有资质的设计单位编写矿井可行性研究报告,并经有资质的咨询机构评估、通过;一般需取得以下有关协议或文件: 政府主管部门同意用地、地价、用电、用水和选址的文件,文物保护主管部门的同意文件,银行部门出具的贷款承诺函,通讯部门同意安装通讯设施的文件等。
矿井可行性研究需同时开展以下专题报告的编制和审批: 矿区及矿井环境影响评价报告、水土保持方案报告、安全预评价报告、地质灾害危险性评估报告和水资源评价报告等。
三、项目第二阶段——办理相关批复文件
(一)建设项目用地预审批文,由国土资源厅审批(临时土地使用证)。
1.建设用地评估;
2.规划调整方案论证;
3.测量勘界;
4.林地使用可行性研究;
5.补偿安置方案;
6.土地预审;
7.规划调整;
8.实物清点及丈量;9林地使用许可;10.建设用地批复。
(二)开采方案批文——省煤炭局
(三)城市规划选址批文——省建设厅
(四)项目环境影响评价报告,节能专篇批文——省环保局(五)水土保持方案批文——省水利厅
(六)水资源论证(取水)批文——省水利厅
(七)资信证明——开户银行
(八)贷款承诺函——省级银行
(九)招投标初步方案——省发改委(项目核准同时上报)(十)供电系统(双回路)、协议——地、县供电局或省电网公司签订
(十一)安全预评价——由具有相应资质的单位分别编制、审查
(十二)矿井三维地震方案——由具有相应资质的单位编制、实施
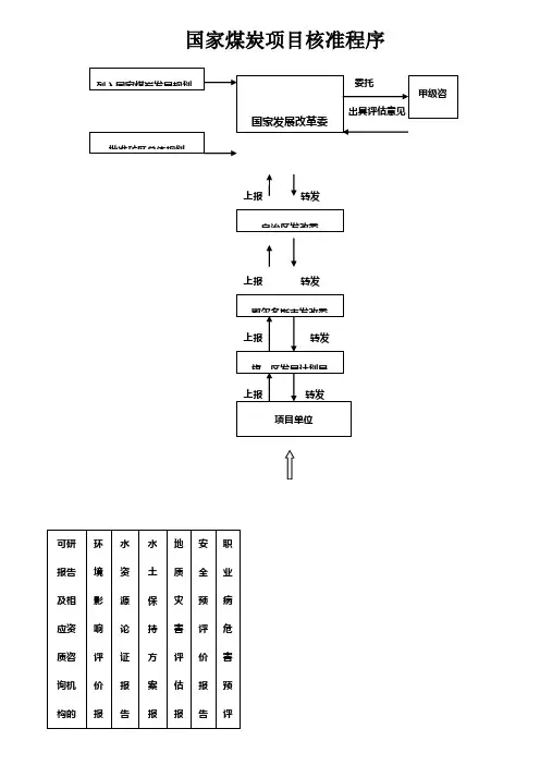
四、项目第三阶段——项目核准上报
在以上工作完成的基础上,由煤矿建设业主委托具有资质的设计单位编制项目核准申请报告,内容包括;项目申报单位情况、拟建项目情况、建设用地与相关规划、资源利用规划和能源耗用
分析、生态环境影响分析、经济和社会效果分析。
申请报告附件:
1、下级发改部门项目申请文件
2、项目法人组建方案;
3、省级国土资源行政主管部门出具的矿界范围划定批文;
4、省级能源主管部门审查通过的开办煤矿准入批文;
5、有资质的设计单位编制项目可行性研究报告,并经有资质的咨询机构评审、通过的评估报告;
6、省级国土资源行政主管部门出具的建设用地预审批文;
7、省级能源行政主管部门出具的开采方案批复;
8、省级环境保护行政主管部门出具的环境影响评价批文;
9、省级水利行政主管部门出具的水土保持方案批文;
10、省级水利行政主管部门出具的水资源论证(取水)批文;
11、依法应当核发选址意见书的,出具省级城乡规划主管部门核发的选址意见书;
12、开户银行出具的资信证明或金融机构出具的贷款承诺函;
13、招投标初步方案;
14、所在地县(市)供电局或省电网公司出具的双回路供电系统方案;
15、具有相应资质的单位分别编制、评估的安全预评价报告;
16、年综合能源消费量3000吨标准煤及以上的项目,应出具相应资质的咨询机构对节能分析篇(章)的评估意见;
17、根据有关法律法规应提交的其他文件。
按程序(县、地发改部门)报省发改委核准出批文。
项目申请报告上报发改委后,由发改委委托咨询机构进行评估,并根据评估结果进行批复。
目前,能够承担国家发改委委托进行煤炭投资咨询评估任务的咨询机构有:中国国际工程咨询公司、中投咨询有限公司和中国煤炭工业发展研究咨询中心。
五、项目第四阶段——项目核准后须办理的手续
(一)采矿权(采矿许可证)办理——省国土资源厅
1.县地两级审查意见;
2.矿产资源综合开发利用方案;
3.地质灾害评价报告;
4.矿山土地复垦方案;
5.矿山地质环境保护与综合治理方案等批文手续
(二)矿井初步设计批复——省能源局、发改委
(三)矿井安全设施设计批复(安全专篇)——省煤监局
取得上述相关批文后按初设及安专要求进行施工。