煤矿项目审批流程图
- 格式:doc
- 大小:80.00 KB
- 文档页数:1
矿上工程审批流程一、准备阶段1.项目立项(1)立项申请①编写项目立项报告②确定项目负责人(2)立项审核①提交立项申请至管理层②召开立项审核会议2.收集审批资料(1)相关法律法规①矿产资源法②环境保护法(2)项目技术文件①项目可行性研究报告②技术方案和设计图纸(3)环境影响评估①环境影响报告书②环评专家意见二、提交审批申请1.确定提交方式(1)在线提交①登录相关审批系统②上传申请资料(2)纸质提交①准备纸质申请材料②前往相关审批机关递交2.申请材料审核(1)初审①材料完整性检查②申请信息的合规性审核(2)复审①技术审核②环境影响评估审核三、现场核查1.现场检查安排(1)选择检查时间①通知相关部门②确定检查人员(2)准备现场材料①项目资料副本②现场安全措施文件2.进行现场检查(1)检查项目现场①评估施工条件②检查环保措施落实情况(2)记录检查结果①撰写现场检查报告②收集现场照片和证据四、审批结果反馈1.审批意见(1)通过审批①发放审批通知书②通知项目负责人(2)不通过审批①反馈不通过原因②提供整改建议2.处理反馈(1)整改措施①根据反馈进行整改②提交整改报告(2)复审申请①重新提交审批申请②进行复审流程五、项目实施阶段1.施工准备(1)制定施工计划①确定施工时间表②分配施工资源(2)安全培训①对施工人员进行安全教育②发放安全生产手册2.施工过程监管(1)定期检查①进行施工质量检查②确保环保措施落实(2)记录施工进展①撰写施工日志②收集施工照片和相关证据六、项目验收1.验收准备(1)提交验收申请①准备验收资料②提交验收申请至相关部门(2)验收小组组建①确定验收小组成员②确定验收时间2.验收实施(1)现场验收①进行项目现场检查②核对工程资料(2)验收结果反馈①撰写验收报告②通知项目负责人验收结果。
审批流程图模板流程说明Instructions?of?Process流程名称Process?Name办公费用预算管理流程流程编号Process?No.业务模块Business?Module业务类别Business?Category流程层次Process?level3流程密级security?classification机密流程责任人Process?Owner徐正雄生效日期Effective?Date流程简述Process本流程描述新吉克矿业办公费用年度、月度预算的详细过程。
流程目的Objective确保办公费用预算合理、充足。
关键控制点(CCP)编制年度预算计划,审核,审批,形成阅读费用预算。
相关部门/人员矿长、人力资源总监、办公室、财务部信息输入Input年度预算计划信息输出Output用款项目版本管理Version办公室负责解释和修改。
相关流程?Correlative?Process流程编号Process?No流程名称Process?Name办公用品管理流程记录的保存Retention?of?Record记录名称Record?Name保存责任者Owner保存场所Retention?Place归档日期Filling?Date保存期限Retention?Period办公室月度费用预算表办主任办公室月底3年文档历史History?of?Document版本号Version编制/修改责任人Develop/Change?Owener编制/修改日期Develop/Change?Date修改内容及理由Change?and?Reason批准者Approved?by新吉克煤矿?办公费用预算管理流程本流程由办公室负责制定,由办公室主任负责汇总审核,矿长审批通过后正式执行,第?1新吉克煤矿?办公费用预算管理流程本流程由办公室负责制定,由办公室主任负责汇总审核,矿长审批通过后正式执行,流程编号流程名称新吉克矿业办公费用预算管理流程次3概要办公费用预算单位矿?长人力总监月办公室财务部节点AB?度生产计划制CD12345678审批审批订审核流程开始编制年度预算计划形成年度正式预算编制月度费用预算形成月度费用预算申请拨款设立用款项目结束配合拨款配合编制单位:通防部版?本:编制:徐正雄审核:签发人:签发日期:云南新吉克矿业有限公司办公费用预算管理流程第云南新吉克矿业有限公司办公费用预算管理流程新吉克煤矿办公费用预算管理流程任务名称节点任务程序、重点和标准完成时间支持性文件办公费用预算管理程序C2由通防部编制出年度资金预算计划关于进一步规范办公用品及办公费用管理的通知B2人力资源总监审核A2矿长审批C3经审批后形成年度正式预算计划C4D4根据年度预算计划编制出月度费用预算。
一、煤矿建设项目安全设施设计审查程序流程图
二、煤矿建设项目安全设施设计审查申请应提交的资料
(一)新建、扩建项目:
1、安全设施设计审查申请文件及申请表
2、政府有关部门对该建设项目核准(或批准)文件
3、采矿许可证或者划定矿区范围批复文件
4、安全预评价报告书
5、井田勘探(精查)地质报告(小型煤矿必须符合《煤炭工业小型矿井设计规范》要求)
6、煤矿初步设计
7、安全设施设计
8、其它需要说明的材料
(二)改建项目:
1、安全设施设计审查申请文件及申请表
2、采矿许可证或者划定矿区范围批复文件
3、高瓦斯、煤与瓦斯突出矿井延伸水平开拓方式与原设计不一致的项目要进行安全预评价,并提出安全预评价报告书
4、煤矿初步设计
5、安全设施设计
6、其它需要说明的材料。
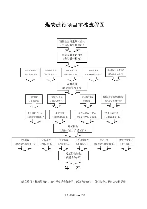
最新可编辑word 文档 煤炭建设项目审核流程图
生 产
[此文档可自行编辑修改,如有侵权请告知删除,感谢您的支持,我们会努力把内容做得更好]
项目业主组建项目法人 (工商行政管理部门) 编制项目申请报告
(咨询设计机构)
划定矿区范围 (国土资源部门) 环评批复
(环保部门)
土地预审意见 (国土资源部门) 节能评估意见 (发展改革部门) 社会稳定性风险评估 (地方政府或部门) 根据有关法律法规的规定应当提交的其他文件 项目核准 (国家发展改革委) 安全设施设计审查 (煤矿安全监察部门) 土地审批 (国土资源部门) 申办采矿许可证 (国土资源部门) 初步设计审查 (发展改革部门) 开工报告 (煤炭行业、安监部门) 消防验收 (消防部门) 环保验收 (环保部门) 安全验收 (煤矿安全监察部门) 竣工决算审计 (审计部门) 竣工综合验收 (发展改革部门) 职业卫生 (煤矿安全监察部门) 水保设施验收 (水保部门) 水土保持批复 (水保部门) 取水审批文件 (水行政主管部门) 选址意见书 (城乡规划主管部门)。
煤矿建设项目核准后办事流程图一、项目初步设计报批(省煤管局、省发改委)项目初步设计报批办事指南一、主要依据1、国家发改委《关于加强煤矿建设项目管理的通知》(发改能源[2006]1039号);2、《关于加强煤矿建设项目安全设施设计查与竣工验收工作的通知》煤安监监察〔2007〕44号;二、申请人应提交的资料:1、项目核准批复(复印件);2、地质勘查报告(1套);3、采矿证(复印件);4、初步设计5套(审查用);三、办理程序1、上报材料;2、组织专家或中介机构会审;3、设计单位补充修改设计;4、修改上报5、下发批文。
二、煤矿安全设施设计报批(省煤监局)煤矿安全设施设计报批办事指南(信息来源:贵州煤监局)一、主要依据:1、《中华人民共和国安全生产法》;2、《关于加强煤矿建设项目安全设施设计查与竣工验收工作的通知》煤安监监察〔2007〕44号;3、《煤矿安全监监察条例》;4、《煤矿建设项目安全设施监察规定》;5、国家发改委、国家安监总局《关于加强建设项目安全设施“三同时”工作的通知》(发改投资[2003]1346号);二、申请人应提交的资料(报件份数:纸质1套):1、安全设施设计审查申请文件及申请表2、政府有关部门对该建设项目核准(或批准)文件3、采矿许可证或者划定矿区范围批复文件;4、安全预评价报告书;5、井田勘探(精查)地质报告(小型煤矿必须符合《煤炭工业小型矿井设计规范》要求);6、煤矿初步设计;7、煤矿初步设计安全设施设计;8、其他需要说明的材料(有效期内《采矿许可证(正副本)》、《工商营业执照》、《煤矿主要负责人(包括法人或投资人和矿长)安全资格证书》的复印件、并加盖公章);三、办理程序1、窗口受理;2、组织处室、专家会审;3、返回修改;4、修改上报5、下发批文。
三、土地征用手续省政府批准的“圈外”单独选址和“圈内”具体建设项目用地(省国土资源厅)土地征用手续办事指南(信息来源:省国土厅网站)一、适用范围1、土地利用总体规划确定的城市(含建制镇)建设用地范围内的具体建设项目;2、土地利用总体规划确定的城市(含建制镇)、村庄及集镇建设用地范围外的单独选址建设项目二、主要依据1、《中华人民共和国宪法》;2、《中华人民共和国土地管理法》;3、《中华人民共和国土地管理法实施条例》;4、《建设用地审查报批管理办法》;5、《贵州省土地管理条例》;6、《关于进一步规范我省建设用地审查报批工作有关问题的通知》(黔国土资发[2005]62号)。
煤矿启闭审批流程图煤矿一、责任单位和责任人责任单位:鸡东煤炭工业局各煤监分局煤炭局矿山抢救队责任人:承办人A、承办人B、各分局长、队长、总工程师二、权利行使依据依据鸡西市人民政府办公室,鸡政办发[2021]30号《鸡西市地方煤矿隐蔽工程专项整治工作方案》的通知要求和鸡煤局发[2021]58号关于印发《关于进一步加强煤矿井下密闭管理工作的通知》。
煤矿必需依据通风系统要求,合理设置密闭;井下全部密闭必需统一管理、刷白、编号、建档。
密闭分临时和永久两种。
启闭必需有平安措施,并形成报告上报给煤炭协会、煤矿技术服务站总工;再转煤监分局长签字、县局领导上会签字,最终上报县政府主管县长签字同意后由抢救队监护启闭。
三、密闭设置条件和管理标准(一)设置条件合理通风系统、封闭采空区。
(二)管理标准1、煤矿必需依据通风系统要求,合理设置密闭。
2、井下全部密闭必需统一管理,密闭必需刷白分类编号标注在通风系统图上,并建立管理台帐,写明施工地点、日期、材料、规格、用途和管理负责人、验收人员姓名等内容,并有施工记录和验收记录,密闭管理台帐要经煤炭协会服务站和所在分局审核,认定后上报县局通风科备案。
3、凡是已经开采过的巷道和需停工3个月以上的巷道必需施工永久密闭,其它状况必需施工临时密闭。
永久密闭内有水的,必需设反水池或反水管。
4、已经形成的备采面必需在切割上山或采煤上巷设置带有调整风窗的临时密闭调整风量,在车场设置栅栏。
分局负责做好工作面压道点位置状况记录。
四、启闭审批程序(一)煤矿企业提报启闭申请报告、井下密闭管理台帐及通风系统图;(二)煤监分局确认启闭合理;(三)煤炭局总工程师签字;(四)煤炭局副局长签字;(五)煤炭局局长签字;(六)县政府主管副县长签字;(七)由煤炭局抢救队负责监护启闭工作。
五、受理煤炭局总工程师接到煤矿启密闭申请材料后,进行审查、核实,经确认符合平安条件后进行受理。
六、审查与打算煤矿启密闭必需逐级上报,总工程师、主管副局长、局长,最终由主管副县长签字并作出打算。
晋城市生产煤矿反顺序开采审批流程图 (法定办结时限20个工作日、承诺办结时限20个工作日)
申请人提出申请
资料审核 (5个工作日) 作出不予受理决定,并
告知向有关单位申请 一次性告知申请人补正的全部内容
现场核查(专家评审)
(9个工作日)
窗口送达
(1个工作日) 决定 (4个工作日内)
对于不同意批准的
项目,书面书面不予
批准的理由(盖章) 不属于本单位职权范围 申请材料齐全、符合法定形
式
申请材料不齐全,
不符合法定形式 否
是
不予受理,并出具说明
窗口受理
(1个工作日)。