资金管理系统总体流程图
- 格式:doc
- 大小:149.77 KB
- 文档页数:14
资产管理流程图说明该固定资产管理信息系统流程图主要分三部分:一是原始数据的导入及新增资产业务,二是已经形成资产账户的部分资产的变动及处置业务,三是资产账务及有关账表。
下面分别予以说明:一、原始数据导入及新增资产业务(一)原始数据的导入业务1。
原始数据录入工作:由固定资产管理人员录入。
通过主菜单“资产管理”下的“原始数据录入"完成。
资产信息项填写完毕后,通过系统提交给资产管理部门、财务管理部门审核.提交之后的资产信息原则上不允许修改,如确需修改,先撤销提交,再修改,然后再提交。
一旦资产管理部门审核通过,该资产的资料在本地机录入窗口中便不能再看到,因此,也不能再被修改。
2。
为了保证本系统资料的可靠性与严肃性,“原始数据录入"工作只允许进行一次,之后不能再使用这一功能。
(二)新增资产业务1.新增资产验收单数据录入:由学校使用部门资产管理人员录入新增加的固定资产资料。
具体操作为:“资产管理”→“固定资产增加”→“资产管理单位”→“资产类别”→“添加"→“完成”。
2。
新增固定资产验收单的信息项包括:资产分类号(分类名称)、资产名称、现状、国别、单价、数量、计量单位、资产来源、资金来源、申购单位、采购(经手)人、购置日期、货到日期、验收日期.(三)生成固定资产卡片1。
新增资产资料录入(录入验收单资料)完毕,确认无误后可通过菜单栏的“建卡"按钮生成卡片信息;已经导入的数据自动生成卡片,没有验收单。
对生成的卡片分别填写使用单位、使用人、使用方向、存放地点等信息项;如果有图片可以在此时把资产的图片插入到卡片信息项中。
当信息项填写不完整时不能生成卡片信息。
2。
对于使用人、使用方向、使用单位、存放地点等信息只能用菜单选择,不能汉字输入。
3。
提交:当生成资产卡片之后,就可以提交了。
如信息项填写不完整便不能提交成功.4.验收单被审核通过后,就可以打印出来。
打印的验收单一式四份。
此时可以同时打印出资产卡片和条形码,此项打印工作由资产管理部门负责。
以下是一个简化的内部控制流程图,描述了资金管理业务的一般流程和相关内部控制措施:
资金申请阶段:
部门或员工需要资金时,填写资金申请单,包括申请金额、用途和预期效益等信息。
资金申请单需经过主管审批,确保申请符合预算和业务需求。
资金审批阶段:
资金申请单经过财务部门审批,核实申请的合理性和可行性。
审批过程需要确保申请单的真实性、完整性和准确性。
资金发放阶段:
审批通过的资金申请单,财务部门将相应金额转账或支付给申请人或相关部门。
发放资金时需记录相关的支付信息,如支付日期、受益方等,确保支付的准确性和完整性。
资金使用阶段:
资金接收方需按照预算和申请用途使用资金,确保符合规定和业务需要。
资金使用过程需要记录支出明细,包括收据、发票等,以便后续核对和审计。
资金核对与监控:
财务部门进行资金核对和账务记录,确保发放和使用的资金与账簿一致。
定期进行资金监控和对账,确保资金的安全性和合规性。
资金报告与分析:
财务部门生成资金报告,包括资金使用情况、余额等,为管理层提供决策依据。
进行资金分析,评估资金使用效果和经济效益,发现问题并提出改进建议。
以上流程图仅为示例,实际的资金管理业务流程和内部控制措施可能因组织的规模、业务特点和财务政策等而有所不同。
在实际应用中,建议根据组织的具体情况和要求,制定适合的内部控制流程和措施,以确保资金管理的有效性、准确性和合规性。
内部控制流程图资金管理业务引言内部控制是企业管理的重要环节,它对于资金管理业务尤为重要。
良好的内部控制能够有效地确保企业的资金安全和合规性。
本文将以Markdown文本格式输出内部控制流程图,重点关注资金管理业务的内部控制措施。
流程图内部控制流程图资金管理业务内部控制流程图资金管理业务流程描述以下是资金管理业务的内部控制流程图的详细描述:1.资金领用申请–员工向财务部门提交资金领用申请单。
–财务部门审核申请单的完整性和合规性。
–如果申请单存在问题,财务部门将退回给员工进行修改。
–如果申请单通过审核,进入下一步骤。
2.资金审批–财务部门将资金领用申请单交给相关部门领导进行审批。
–领导对资金领用申请进行审查,确保申请的合理性和准确性。
–如果申请存在问题,领导可要求员工修改申请。
–如果申请通过审批,进入下一步骤。
3.资金发放–财务部门根据批准的申请,进行资金发放。
–资金发放前,财务部门核对申请单和资金发放金额的准确性。
–财务部门将资金发放记录在资金发放台账中。
–完成资金发放后,进入下一步骤。
4.资金使用监控–财务部门定期检查资金使用情况。
–财务部门与相关部门联系,核对资金使用的合规性。
–如果发现资金使用不合规或异常情况,财务部门将及时采取相应的措施。
–财务部门记录并报告资金使用情况,以确保资金的安全和合规性。
5.资金结算–财务部门负责进行资金结算。
–财务部门核实相关部门的结算请求,并核对结算金额的准确性。
–财务部门将结算记录在资金结算台账中。
–完成资金结算后,进入下一步骤。
6.资金监督审计–内部审计部门对资金管理业务进行审计。
–内部审计部门检查资金管理业务的合规性和有效性。
–如果发现问题或改进的空间,内部审计部门向财务部门提出建议和改进意见。
–财务部门根据审计报告进行改进,以优化资金管理业务。
结论资金管理业务的内部控制流程图提供了企业内部对资金管理的详细流程和控制措施。
通过严格执行这些流程和控制措施,企业能够有效地管理和监控资金的使用,并确保资金安全和合规性。
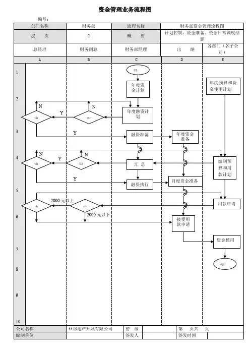
资金管理业务流程图部门名称 财务部 流程名称 财务部资金管理流程图层 次 2 概 要 计划控制、资金准备、资金日常调度结算总经理 财务副总财务部经理出 纳 各部门(各子公司)ABCDE1 2 3 4 5 6 7 8 9 10公司名称 **房地产开发有限公司 密 级 第 页共 页 编制单位签发人签发时间审审开 年度资 金计划编制预算和用款计划接受用 款申请结用款申请融资执行融资准备年度融资计划审审审年度预算和资金使用计划审年度资金 准备汇 总月度资金准备资金使用YYYYNNN N2000元以上2000元以下资金管理业务流程图节点说明节点B2,资金计划1.财务部经理收到经过总经理审批的公司年度预算和资金使用计划。
节点C3,融资计划1.财务部经理根据年度资金使用计划、预测现金流量表制定年度融资计划;2.本项工作在收到审批后的年度资金计划、预测现金流量表后5个工作日完成;3.年度融资计划交财务副总审批;节点B3,审批1.财务副总审批财务经理递交的融资计划,就融资时间、融资方式、融资成本进行审核;2.对于融资计划中不合理部分退回财务部经理重新制定融资计划;3.将审批通过的融资计划交总经理审批;4.本项工作在收到财务部经理递交的融资计划后2个工作日完成。
节点A3,审批1.总经理审批副总递交的年度融资计划;2.对于融资计划中不合理部分退回财务部经理重新制定融资计划;3.将审批通过的融资计划交财务部经理进行融资准备;4.本项工作在收到财务副总递交的融资计划后2个工作日完成。
节点C4 D4 融资资金准备1.财务部经理根据总经理审批后的融资计划进行融资准备;2.将资金计划和融资计划交出纳备份,以便出纳进行资金准备;3.出纳根据财务部经理指示进行资金准备。
节点E5,编制预算和资金使用计划1.各职能部门和各子公司根据审批后的年度预算和资金使用计划编制本部门(子公司)月度预算和用款计划。
(此时限为:每月24日前)2.将预算和资金使用计划交至财务部。
资产管理流程图说明该固定资产管理信息系统流程图主要分三部分:一是原始数据的导入及新增资产业务,二是已经形成资产账户的部分资产的变动及处置业务,三是资产账务及有关账表。
下面分别予以说明:一、原始数据导入及新增资产业务(一)原始数据的导入业务1.原始数据录入工作:由固定资产管理人员录入。
通过主菜单“资产管理”下的“原始数据录入”完成。
资产信息项填写完毕后,通过系统提交给资产管理部门、财务管理部门审核。
提交之后的资产信息原则上不允许修改,如确需修改,先撤销提交,再修改,然后再提交。
一旦资产管理部门审核通过,该资产的资料在本地机录入窗口中便不能再看到,因此,也不能再被修改。
2.为了保证本系统资料的可靠性与严肃性,“原始数据录入”工作只允许进行一次,之后不能再使用这一功能。
(二)新增资产业务1.新增资产验收单数据录入:由学校使用部门资产管理人员录入新增加的固定资产资料。
具体操作为:“资产管理”→“固定资产增加”→“资产管理单位”→“资产类别”→“添加”→“完成”。
2.新增固定资产验收单的信息项包括:资产分类号(分类名称)、资产名称、现状、国别、单价、数量、计量单位、资产来源、资金来源、申购单位、采购(经手)人、购置日期、货到日期、验收日期。
(三)生成固定资产卡片1.新增资产资料录入(录入验收单资料)完毕,确认无误后可通过菜单栏的“建卡”按钮生成卡片信息;已经导入的数据自动生成卡片,没有验收单。
对生成的卡片分别填写使用单位、使用人、使用方向、存放地点等信息项;如果有图片可以在此时把资产的图片插入到卡片信息项中。
当信息项填写不完整时不能生成卡片信息。
2.对于使用人、使用方向、使用单位、存放地点等信息只能用菜单选择,不能汉字输入。
3.提交:当生成资产卡片之后,就可以提交了。
如信息项填写不完整便不能提交成功。
4.验收单被审核通过后,就可以打印出来。
打印的验收单一式四份。
此时可以同时打印出资产卡片和条形码,此项打印工作由资产管理部门负责。
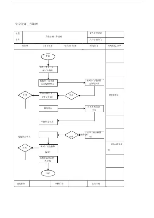
资金管理工作流程流程
名称
总经理
审批
资金管理工作流程
财务管理部相关部门经理
开始
明确《资金计划》
编制的期限
编制并下发各部
门资金计划样表
汇总并编制企业
审核
《资金计划》
划拨资金
平衡资金使用
文件受控状态
文件管理部门
相关部门相关制度 /表单
根据部门用款情
况填写表单
《资金计划》
开展各类资金
业务
审批填写《资金核算
进行资金核算审核《资金核算表》
表》
《资金核算报
编制《资金核算
报告》
告》
收集汇总资金管
理资料
结束
编制日期审核日期生效日期。
风险防控表股室:经建股
项目资金管理流程图
股室:经建股
流程
省财政厅会同项目主管部门下发项目申报指南 下发项目申报指南
筛选项目
申报项目
县财政局联合项目主管部门向省财政厅及相关部门报送资金申请报告和相关材料。
财政厅、项目主管部门组织专家评审
省财政厅下达资金
由项目主管单位依照项目申报指南,对本行业内的项目进行初步筛选,审核上报。
县财政局根据项目申报情况、依据项目实施情况等资料拨付资金。
需提供资料:项目批复、招投标手续、项目进度表、预(决)算、资金支付凭证、项目主管单位意见、项目验收资料等。
资金拨付
对资金监督管理
项目单位
分管股室审核用
款计划
分管领导
提出用款计划
主管股室
预算股 国库集中支付中心支付
审签 县财政局、项目主管部门、评审中心组织专家联合评审
主要领导 股员 股长
初审
审核不通过
审签 审核
审核
审核通过
项目资金管理防控制度
省财政厅会同项目主管部门下发项目申报指南,由项目主管单位依照项目申报指南,对本行业内的项目进行初步筛选、审核。
县财政局、项目主管部门、评审中心组织专家联合对上报项目进行评审,评审通过后由县财政局联合项目主管部门向省财政厅及相关部门报送资金申请报告和相关材料。
财政厅、项目主管部门组织专家评审,对评审通过的项目下达资金。
县财政局根据项目申报情况、依据项目实施情况等资料拨付资金。
需提供资料:项目批复、招投标手续、项目进度表、预(决)算、资金支付凭证、项目主管单位意见、项目验收资料等。
对项目资金进行监督管理。