项目变更控制流程图
- 格式:pdf
- 大小:289.30 KB
- 文档页数:1
项目变更管理流程图在项目管理中,变更管理是一项至关重要的任务。
随着项目逐渐推进,难免会涌现出新的需求或问题,这时候需要通过变更管理来解决。
但是如果没有一个清晰的变更管理流程,变更管理就会变得混乱不堪,给项目带来不必要的风险和成本。
因此,本文将介绍一种简单的、易于理解的项目变更管理流程图。
1. 变更请求首先,一个变更的产生通常是由于项目团队、客户或利益相关者发现了问题或需要满足新的需求。
他们需要向项目经理或变更管理人员提交变更请求。
变更请求应当包含以下信息:- 变更请求人的姓名和联系方式- 变更的原因和目的- 变更的范围和影响- 需要采取的措施- 对进度、成本和质量的影响评估2. 分析变更请求接下来,变更管理人员需要对变更请求进行分析,以确定它的影响和可行性。
这包括:- 评估变更的影响范围和程度- 评估变更对项目的进度、成本和质量的影响- 确定采取何种措施来实现变更请求- 决定是否需要额外的资源和成本在确定了变更请求的可行性和影响后,变更管理人员应该将其记录在变更请求表中,并准备提交给变更委员会审核。
3. 审核变更请求变更委员会是一个由项目经理、客户代表和利益相关者组成的团队。
他们的职责是审查变更请求,并决定是否批准它。
变更委员会应该按照以下方式进行审查:- 对变更请求进行评估,确认其合理性- 确定变更对项目的风险和影响- 确定变更是否符合项目目标和范围- 确定是否需要额外的资源和成本- 确定变更是否需要进一步的评估和测试如果变更委员会批准变更请求,变更管理人员将正式通知相关方,并制定变更实施计划。
4. 实施变更请求一旦变更请求被批准,变更管理人员需要制定实施计划,并将其通知给项目团队、客户和利益相关者。
实施计划应该包括以下内容:- 实施变更的时间和地点- 实施所需的资源和成本- 变更后的新进度、成本和质量评估- 实施变更的风险和影响变更管理人员应该与项目团队和利益相关者保持密切的沟通,确保变更实施进展顺利。
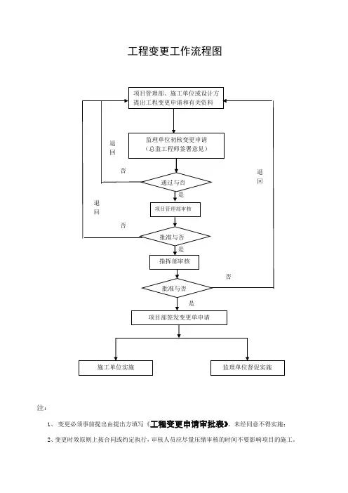
工程变更签证管理办法及流程第一章设计变更管理规定第一条目的1.1为了加强设计变更管理,规范工作流程,有效地控制成本,确保工程质量和工程进度,特制定本流程。
1.2 通过对设计变更申报资料进行审查、审批,确保设计变更的及时性、合理性和经济性,消除设计变更对工程成本和进度带来的消极影响。
第二条设计变更是对设计内容进行完善、修改及优化,一般需要设计单位的签字、盖章, 或者发包单位的有关职能部门〔规划设计部代签。
设计变更共分为三类:〔一一般设计变更:不改变设计原则,不影响使用功能,不影响工程的质量和安全,不影响美观,变更发生费用在5000元〔含人民币以下的;〔二较大设计变更:变更发生费用在5000元以上,100000元〔含以下的;〔三重大设计变更:对原方案、原系统、主要结构布置、主要尺寸、坐标、主要标高、主要设备及主要使用功能改变及变更发生费用在100000元以上的。
第三条设计变更的体现形式分为四类:〔一由设计单位提出的设计变更;〔二由建设单位、监理单位提出的设计变更;〔三由施工单位提出的设计变更;〔四由客户提出的变更申请。
第三条对上述提出的工程设计变更,提出部门备齐相关原始资料,工程部〔森林湖工程部、新都汇工程部、规划设计部和成本控制部应认真审查,确定是否进行变更。
第四条设计变更应将工程变更内容描述清楚。
如:工程名称、变更原因、变更时间、变更部位、图纸比例、图示尺寸、规格型号、材料材质等,应达到根据变更单可准确计算工程量。
第五条设计变更单由规划设计部按楼号分专业依发生先后顺序进行编号。
〔如怡丰森林湖项目18号楼建筑第一次变更,变更页数为1页,编号应为YF-SLH-18-JZ-1-1 ,并与后附的设计院出具的变更单内容对照。
第六条设计变更的控制1.设计变更控制原则:1.1 符合国家规范:设计变更应是对原设计中不满足国家规范、法规的部分进行变更,使之满足国家相关规范、法规;1.2 保证使用功能:设计变更应是对原设计中不合理的部分进行变更,变更后应比原设计更合理、更满足使用功能;1.3 降低建造成本:在不影响使用功能、满足国家规范的前提下,变更方案应更加节约成本;1.4 保证建造工期:在不影响使用功能、满足国家规范的前提下,变更方案应更缩短施工周期;2.变更内容:2.1 原设计中不符合国家规范、法规的内容;2.2 原设计中某些施工工艺做法现场难以实现、改进后更加合理的内容;2.3 原设计中某些功能要求不能达到或违背销售承诺而需要进行改进的内容;2.4 原设计中存在的遗漏、缺陷等内容;2.5 由于某种需要公司提出的对原设计的更改内容;2.6 客户提出的变更;3.相关部门职责:3.1 工程部:办理工程部、监理公司和施工单位提出的设计变更申请手续;对设计变更的施工工艺进行把控;负责变更的实施;3.2 市场营销部:办理客户提出的设计变更的申请手续;跟踪变更的落实情况;3.3 规划设计部:办理设计单位提出的设计变更的前期手续;〔包括协调设计院协助出具变更方案办理根据施工图审查和消防审查意见进行的变更;办理由于规划、功能、立面调整等重大技术方案调整的变更;3.3.4 受理工程部和市场营销部提出的设计变更申请手续;3.3.5 办理正式变更手续并下发工程部或市场营销部;3.4 成本控制部:对拟发生的设计变更进行经济分析;估算变更成本;3.4.2 变更实施后,核算变更实际发生额是否在估算范围内;3.4.3 跟踪、调整工程动态成本并每月向公司汇报;3.5 总经济师:3.5.1 审核变更技术和经济的合理性;3.5.2 审批较大设计变更;3.5.3 审核重大设计变更;3.6 工程总工;审核变更技术的合理性;3.6.2 审批较大设计变更;3.6.3 审核重大设计变更;3.7.总经理:3.7.1 审核变更技术和经济的合理性;3.7.2�审批重大设计变更;4.相关流程:4.1工程部、规划设计部、市场营销部在遇到需要对设计进行调整和补充,即要发生设计变更时,要求在0.5天内填写办理《设计变更审批、通知单》并提交下一受理部门,确定该变更费用承担单位,出具变更初步方案〔物业公司出具现状描述及最终效果描述和可能情况下的技术方案,市场营销部出具现状描述及结果描述,其它要求由工程部、规划设计部帮助完善,〔如附有变更图纸请作为本审批单附件一并提交。
程序四沥青项目变更管理与控制程序卷内目录:1.适用范围 (1)2.定义 (1)3.变更总原则 (1)4.业主变更执行程序 (2)5.承包商变更程序 (4)6.设计变更执行程序 (5)7.由施工单位要求现场设计变更的处理程序 (5)8.变更管理 (6)1.适用范围本程序适用于沥青项目的变更管理与控制。
2.定义在本项目的实施过程中,对原定的装置范围、工作内容、技术要求、工程进度、工程质量等方面的内容进行调整,称为项目变更。
按变更事宜的提出者来划分,项目变更分为业主变更、设计变更和承包商变更。
2.1业主变更由业主或监理单位要求(或同意)修改合同装置的范围、内容、技术要求等,导致合同总费用和/或进度计划发生变化,称为业主变更。
在合同履行期间,业主有权对承包商工作范围内的工程进行变更(包括要求增设备台数,更改规格型号、材质、增加本合同约定的工程量,增加承包商的工作内容等)。
业主变更应以书面形式通知承包商,如业主变更影响到合同价款或工期,应按合同规定的调整合同价款或工期的方法调整合同总价和工期。
合同履行期间,因设计基础条件变化导致施工图设计不能按本合同确定的基础进行,初步设计审批文件要求或业主要求承包商变更工程质量标准或内容导致合同价款变化或工期影响,视为业主变更。
2.2设计变更由设计单位提出的现场设计变更称为设计变更,此类设计变更只要设计方案不变,设备功能不变,则所引起的材料和工程量变化,以及由此产生的工期延误和费用均包含在工程项目合同总报价之中,不再另记。
2.3承包商内部变更不是由业主提出的变更,而是项目中进行的变更,承包商在项目实施过程中,为了生产操作和安全的需要,或者为了符合规范、规程的要求或其它类似原因提出的变更,属于承包商变更。
3.变更总原则3.1从合同生效日起至颁发临时接受证书止的任何时候,业主有权对工作进行变更,总包商应认真执行。
3.2对于总包商:(1)未经事先批准,总包商不得做任何变更,包括更改规范,对于任何预计的与规范的偏差应立即提交业主事先批准。
XX NUCLEAR POWER ENGINEERING CORPORATION程序会签和修改记录目录1 . 目的2 . 适用范围3 . 引用文件4 . 定义5 . 职责6 . 程序7 . 记录8 . 附录1 目的本程序描述了现场变更申请(FCR)的管理过程,其目的是为加强XX核电工程建设过程中现场变更申请(FCR)的管理工作。
2 适用范围本程序仅适用于现场设计管理部对XX核电工程建设过程中现场变更申请(FCR)的控制和管理,涉及的文件为CPWD各设计所和各设计分包单位(指华东院,动力院等)所出版的设计文件。
3 引用文件CPWD-XX-1-DMB-206 土建施工设计变更管理程序EMPQ-303 安装施工设计文件的变更管理CPWD-MSW-2080-004 设计人员资格管理程序ENGQ-203 厂房、构筑物、层位及房间的标识总则CPWD-XX-1-01-005 现场设计管理部组织机构与职责CPWD-XX-1-03-004 XX核电工程项目通讯代码规则CPWD-XX-1-05-006施工设计文件问题澄清管理程序CPWD-XX-1-05-008 现场设计变更管理程序CPWD-XX-1-05-011 设代工作管理程序4 定义4.1 FCR 单现场施工承包商对设计文件提出的变更要求。
4.2 DIPS码1) DIPS码用来表示变更对设计、接口、价格、进度的直接或潜在影响。
2) FCR单的DIPS码由发起单位标出。
3)DIPS码分别代表:D(设计)、I(接口)、P(价格)、S(进度)具体内容见附录1。
4.3 一般现场变更申请DIPS=00004.4 重要现场变更申请当DIPS不全为0且P和S不同时为2和1时。
4.5 重大现场变更申请DIPS中当P=2且S=1时。
5 职责5.1现场施工承包商1)当现场施工承包商需要对设计文件进行修改时,发起FCR单。
2)现场施工承包商有责任在现场变更申请(FCR)中,按照DIPS编码的定义进行填写。
设计变更管理操作流程编制日期修订记录施工单位提出的变更由工程部接收NYYYNYNY影响报批报建不影响报批报建Y设计变更信息需及时通知工程部技术可行性论证未通过的,需向变更方提出说明,报备分管领导和总经理确认变更并与客户沟通接收变更图纸接收变更图纸接收变更图纸审核/审批设计变更经济论证CP提出现场施工因素变更管理层提出变更终止重新报建审核法律风险审核/审批审核提出客户因素变更CP提出设计优化变更申请是否影响销售承诺组织技术可行性论证出设计变更提出错漏类设计变更设计变更实施、验证是否产生签证CP现场签证管理流程CP发放设计变更图纸设计变更实施跟踪整理设计变更要求填写设计变更审批表提出设计变更初步方案设计变更月度汇总设计审核按《组织权责手册》执行综合管理中心法务岗施工单位、监理单位接收设计变更分1.目的对设计变更的内容、方案进行审查,使设计变更按规范程序进行。
2.适用范围适用于公司项目施工图完成后,施工管理阶段的所有各方面因素引起的有关设计方面的变更控制。
一般技术答疑(包括图纸会审、澄清)不适用设计变更。
3.术语和定义3.1设计变更是指:可以在竣工图上反映出来且形成工程实体的设计图纸变更。
是对原设计的错漏及欠合理、欠经济的地方进行修改完善,或根据工程施工过程提出的及销售招商环节客户提出或公司管理层提出的变更要求,对设计进行修改完善及优化,一般需要设计单位出变更图纸和对设计变更的签字、盖章。
3.2重大变更包括以下几种情况:涉及到建筑外立面、建筑面积、建筑功能布局、装饰装修方案、景观设计方案、结构型式、给排水方案、暖通方案、电气方案、智能化方案,对质量、工期、客户承诺和政府规划设计要求有较大影响的变更,或者设计变更费用在10万元以上的变更。
3.3一般变更:除重大变更外的变更都是一般变更。
4.职责4.1设计管理中心4.1.1负责收集受理设计变更信息。
4.1.2组织设计变更的技术可行性论证。
4.1.3负责设计变更图纸发放。
变更流程图变更流程图是一种用来描述变更管理流程的图形化表示方法,通过图形化展示不同阶段的流程和环节之间的关系,便于人们理解和执行变更管理的步骤。
变更流程图的主要目的是确保变更能够得到适当的评审、授权和实施,同时保证变更的影响得到充分的评估和最小化。
下面是一个描述变更流程的例子:首先,变更的提议需要由变更请求者提交,包括详细说明变更的原因、目的和所需的变更范围。
变更请求者可以是项目经理、团队成员或其他相关人员。
接下来,变更请求需要经过变更评审委员会的评审。
变更评审委员会由相关的专家和管理人员组成,他们会根据变更的重要性和影响评估变更请求的合理性和可行性。
如果变更请求被评审通过,委员会会决定是否需要进行更详细的变更讨论和决策。
在变更讨论和决策阶段,变更经理会组织相关的会议,与团队成员和相关方一起讨论变更的细节和可能的影响。
会议的目的是确保变更计划和实施方案得到全面的评估和确认,并能够在变更实施前得到必要的授权和支持。
一旦变更讨论和决策得到批准,变更经理会组织变更实施团队,负责变更的实施和监督。
实施团队根据变更计划和变更控制程序,逐步实施变更,并确保变更的过程和结果符合预期。
在变更实施过程中,变更经理会不断进行变更的监督和控制,包括变更的跟踪、记录和报告。
变更的监督和控制的目的是及时发现并解决可能出现的问题和风险,确保变更能够按计划和预期进行。
最后,变更的实施和结果需要进行验证和确认。
变更经理会与相关方进行确认和验收,在变更的实施过程达到预期结果后,变更管理流程结束。
通过变更流程图,可以清晰地了解变更管理的每个阶段和环节之间的关系,帮助人们更好地理解和执行变更管理的步骤。
同时,变更流程图也可以作为一个参考和指导,帮助组织和团队实施有效的变更管理,从而提高项目的成功率和绩效。
需求变更流程
图1 - 需求变更流程图
甲方由于各种原因提出需求变更,如果提出的需求改动较大,对项目的开发成本、进度有明显的影响,必须走需求变更流程,流程如下:
1、甲方向乙方提出需求变更的请求;
2、乙方项目负责人对甲方提出的变更请求进行分析,如果不同意变更,与客户友好协商。
如果同意变更,协助客户填写《项目需求变更申请表》,明确变更阶段、变更原因、变更优先级及变更内容,进行需求决策;
3、乙方项目负责人根据此次变更评估对开发的影响,包括增加的工作量、项目基线影响、项目进度等,并将相关数据填写在《项目需求变更申请表》;
4、填写完成《项目需求变更申请表》后,与甲方进行沟通,如果没意见,双方负责人签字确认;
5、乙方产品人员根据甲方提出的需求进行需求调研,并绘制原型图,如有必要,与甲方确认,确保与甲方需求保持一致;
6、甲方确认后,进入开发阶段,一切工作严格按照《研发流程》步骤执行。
附件1:项目需求变更申请表。
Standard Management Procedure1.1制定公司变更评价和控制的程序,确保任何变更处于受控制状态;1.2严格管理与产品质量和生产条件有关的任何变更,维护产品的质量、安全和功效。
2. 范围1.原料变更及供应商的变更;2.质量规格和包装规格的变更;3.分析方法变更;4.厂房、设备与设施的变更;5.工艺变更;6.包材和标签的变更;7. 其他涉及生产过程的变更。
3. 职责3.2.1变更申请部门:(1)向主管部门提出变更申请;(2)负责提供变更申请所需的支持性材料;(3)变更批准后,实施变更前培训及执行变更;(4)变更实施后的跟踪;(5)收集相关的数据并送QA归档。
3.2.2变更所属系统主管部门:(1)组织相关部门人员进行变更前的对比试验及评估;(2)填写评价报告;(3)负责变更项目的审核;(4)变更批准后,监督执行部门进行变更的实施;(5)组织进行变更实施后的再评价。
变更控制管理程序3.2.4质量保证部(QA):(1)审核评定变更申请的类型(微小变更、一般变更、重大变更);(2)参与变更的评估;(3)审核变更项目;(4)监督变更的实施过程及部分变更后的跟踪确认;(5)变更相关资料的归档保存。
(6)批准变更3.2.5主管质量、技术、生产、设备等的部门经理:(1)参与重大变更的变更评估;(2)进行所管理系统的变更的审批;(3)总经理最终批准变更实施。
3.2.6变更相关部门:(1)对变更的风险以及成本和效益进行评估(2)涉及到的部门有权利终止该变更的申请(3)积极参与已批准变更的行动实施和改善4. 定义变更:为了改进之目的而提出的对药品生产和管理全过程的某项内容的变化。
变更控制系统最重要的质量管理系统之一,贯穿药品生产的整个生命周期,与企业内各管理系统紧密的联系。
紧急变更:由于对人员安全,设备功能、运行或立即会对产品质量造成危害的危险,而做出的未预先批准的更改。
变更控制管理程序5. 规程5.1 变更分类根据变更的性质和深度以及这些更改对生产工艺影响程度,将变更分为重大、一般。
修改记录1.目的对公司所有新产品开发过程、量产产品生产过程中发生的变更进行控制,确保所有的变更处于有效、受控状态。
2.范围客户要求变更、公司永久项目工程工艺变更及临时项目工程工艺变更事项、供应商提出的工程变更申请均属之。
3.定义3.1 ECR:工程变更申请;3.2 ECN:工程变更命令;4.权责4.1销售部4.1.1所有内外部工程变更所涉及到的与客户沟通、协调工作;4.1.2客户工程变更信息的接受;4.1.3客户工程变更的信息内部传达、文件、图纸传达;4.2项目工程部4.2.1所有内外部工程变更的审核;4.2.2向客户提出工程变更申请,并向内部下达变更要求;4.2.3工程变更前状态的库存产品处理方案提出,向客户提出处理申请或建议;4.2.4工程变更后样品的送样确认及PPAP资料的更新、提交;4.3质量部4.3.1因工艺/设计等影响生产效率或产品质量时,提出内部工程变更申请;4.3.2对工程变更后产品材料、产品质量进行验证;4.3.3对工程变更后的相关PPAP资料的更新;4.3.4执行项目部下达的工程变更通知要求;4.4生产部4.4.1因工艺/设计等影响生产效率或产品质量时,提出内部工程变更申请;4.4.2执行项目部下达的工程变更通知要求;4.5依据工程变更单通知内部,落实内部生产计划,以满足生产及客户需求;4.5.1配合相关部门对工程变更前库存物料的清查、数据提供与参与仓库处理;5 流程图无6 内容6.1变更分类:6.1.1从变更发生的来源可以区分为:a.客户变更;b.组织内部发生的过程变更;c.供方发生的过程变更;6.1.2 从变更的类型可以区分为:a.设计变更或工程更改;b.工艺变更;6.1.3 从变更阶段来区分a.新品策划或开发阶段发生的变更;b.量产阶段发生的变更;6.2客户变更时的流程:6.2.1 项目工程部在接到客户变更信息或销售部转达的客户变更信息时,项目工程部工程人员应认真核对客户提供的变更资料是否有效、正确,同时对可行性进行评估,必要时应组织相关部门人员开会讨论,并形成会议纪要;6.2.2当工程变更会增加公司制造成本或造成大批量产品报废时,项目工程部应协同销售部及时与客户进行有效沟通,并向公司总经理进行反馈,最终向客户提供祥细的变更建议;6.2.3项目工程部应及时根据变更要求进行工艺方案的调整、模具的修整、工装的修整,提供工艺、工装修改周期及费用估价、库存品处理损失费用估价给客户或通过销售部估价给客户,与客户协商后确认;6.2.4 经与客户沟通确认工程变更方案后,由项目部下发“工程变更单”,通知生产、销售、质量等相关部门,而且《工程变更通知单》中要详细注明变更原因、变更内容、是否需要PPAP的重新提交、提交的内容和时间以及变更前产品的处置方式等;6.2.5经与客户沟通确认工程变更方案后,由项目部下发“工程变更单”,经权责主管批准后分发相关部门,同时修改相关PPAP文件,分发相关部门,同时做好变更产品重新送样或量产的项目工程服务。
1目的制定公司变更评价和控制的程序,确保任何变更处于受控制状态;严格管理与产品质量和生产条件有关的任何变更,维护产品质量的安全性、有效性和可靠性。
2适用范围本规程适用下列方面的变更控制:(1) 原辅料变更及供应商的变更;(2) 包装容器和包装规格的变更;(3) 质量标准和分析方法变更;(4) 厂房、设备与设施的变更;(5) 工艺变更;(6) 包材和标签的变更;(7) 法规变化的变更;(8) 文件变更;(9) 其他涉及生产过程的变更;(10) 关键的人员的变动。
3职责3.1总体职责:3.1.1QA 负责变更的管理和审核,品质科主管负责变更的批准,质管部负责人负责重大变更的批准;3.1.2生产部门负责生产相关变更的申请及实施:如工艺变更和生产部相关文件修订;3.1.3QC 负责质量标准和分析方法变更的申请及实施;3.1.4设备部负责厂房、设备与设施的变更申请及实施;3.1.5采购科负责物料及供应商变更的申请;3.1.6QA负责向国内外药政机构(如SFDA、FDA)传递相关信息;3.1.7销售部门负责向其他客户提供变更的有关信息;3.1.8变更评估小组负责对变更进行评估。
3.2具体职责3.2.1变更申请部门:(1)向QA提出变更申请;(2)负责提供变更申请所需的支持性材料;(3)变更批准后,实施变更前培训及执行变更;(4)变更实施后的跟踪;(5)收集相关的数据,整理变更所有资料并送文控归档。
3.2.2变更涉及部门:(1)组织相关部门人员进行变更前的对比试验及评估:如工艺变更,QC需要有分析方法及数据的收集,并出具变更评价报告;(2)负责变更项目的评估和审核;(3)变更批准后,监督执行部门进行变更的实施。
3.2.3质管部(QA):(1)审核评定变更申请的类型(微小变更、主要变更、重大变更);(2)参与变更的评估;(3)审核变更项目;(4)监督变更的实施过程及所有变更后的跟踪确认;(5)变更相关资料的归档保存;(6)品质科主管负责批准微小变更和主要变更;(7)质管部负责人负责批准影响质量体系的重大变更。