炮孔布置装药量计算
- 格式:doc
- 大小:16.00 KB
- 文档页数:4
浅谈人工挖孔桩爆破参数选择与药量控制摘要:本文通过杭州至瑞丽高速公路思南至遵义段人工挖孔桩的施工,对爆破参数的选择及装药量的控制进行了分析计算。
关键词:公路桥梁;人工挖孔桩;爆破;药量爆破工程简介本爆破设计主要针对桥梁人工挖孔桩施工。
沿线基础岩性分布有块石土、粗砾石土、泥灰岩、粉砂岩等,地基承载力在150kpa~800kpa之间,爆破地质主要为泥灰岩、粉沙岩。
二、爆破参数的选择与装药量一)、设计原则1、根据实际经验,炮孔深度L=0.9~1.0m之间为宜,炮孔直径为Ф42mm,药卷直径Ф32mm,选用乳化炸药。
起爆顺序为先掏槽孔,后周边孔。
2、挖孔桩平均单位耗药量与桩径大小、岩石可爆性有关,应通过现场试验选定。
单孔装药设计:掏槽孔最多,辅助孔次之,周边孔最少,其比例一般取8:6:5。
3、钻孔分掏槽孔,周边孔。
掏槽孔一般呈锥形布孔,孔深比周边孔深10~20cm;周边孔向外倾斜,其孔底一般到达开挖线(软岩)或超过开挖线10cm左右(硬岩)。
4、循环进尺一般控制在1m之内,炮孔利用率按75%~85%考虑。
5、炮孔间距布置要考虑周边孔内最小抵抗线不大于邻桩石壁厚度的2/3。
二)、爆破参数计算1、1.2m桩径爆破参数计算1)、爆破开挖桩基及炮眼直径爆破开挖桩基直径D为D=1.5m,炮眼直径d为d=42mm2)、炮眼深度L=1m3)、光面爆破参数①周边眼最小抵抗线W按经验,本设计取Wmin=55cm②周边眼间距a按经验公式a=(0.8~1.0) Wmin确定a=(0.8~1.0)×60cm=48~60cm,本设计取50③光爆层面积及炮眼数A=3.14×0.752-3.14×0.152=1.69m23.14×1.5/0.5=9.42个3.14×1.5/9≈0.52m周边炮眼间距的尺寸应在52cm左右,布置时按大致均匀、局部适当调整的原则布置。
④周边眼单孔装药量根据经验数值装药密度q为(0.2~0.3)Kg/mQ=ql=(0.2~0.3)×(1.0)=(0.2~0.3) Kg,本设计取Q=0.225Kg4)、掏槽炮眼单孔装药量掏槽区面积及炮眼数掏槽采用契形布置,见下图A=0.07 m2N =4(个)Q=Lnq=1.2×0.8×(0.2~0.3)=0.19~0.29Kg 本设计取Q=0.3Kg5)、炮眼布置如下图:桩径1.25m爆破布置图2、1.0m桩径直径爆破参数计算1)、爆破开挖桩基及炮眼爆破开挖桩基直径D为D=1.2m,炮眼直径d为d=42mm2)、炮眼深度L=1m3)、光面爆破参数①周边眼最小抵抗线W按经验,本设计取Wmin=50cm②周边眼间距a按经验公式a=(0.8~1.0) Wmin确定a=(0.8~1.0)×60cm=48~60cm,本设计取50 ③光爆层面积及炮眼数A=3.14×0.62-3.14×0.152=1.06m23.14×1.2/0.5=7.54个3.14×1.2/8≈0.47m周边炮眼间距的尺寸应在47cm左右,布置时按大致均匀、局部适当调整的原则布置。
露天矿爆破装药量如何计算一、浅孔爆破每孔装药量可按体积公式计算:q=kW3或q=kV-kaHW 式中:a—孔距q-每孔装药量,kg;k-炸药单耗,kg/m3;V-单孔爆破岩石体积。
W-最小抵抗线,m。
一次爆破总量按下式进行计算:Q=Nq-kV总式中:Q-一次爆破炸药总量;kg;N-一次爆破炮孔总数;V-一次炮孔爆破总方量;m3。
二、深孔爆破装药量计算:(一)单个深孔爆破时装药量计算:正常情况下:Q=qaHWd当a≥Wd时,以底盘抵抗线代替孔距;Q=qHWd2当台阶坡面角小于55°时,应将底盘抵抗线用最小抵抗线代替:Q=qaHW,当Wd与段高H相差悬殊时,Q=qaWd H1式中:H1-换算标高,m。
H1=Wd/(0.7~0.8)在用上述公式计算每孔装药量时,还需用每孔最大可能装药量G进行验算。
G=g(L-Lr)式中:G-炮孔可能最大装药量,kg;g-每米炮孔的可能装药量,kg/m;L-炮孔长度;Lr-填塞长度。
应满足:G≥Q即:G(L-Lr)≥qWdaH(二)多排孔爆破时装药量的计算:多排孔爆破时,第一排孔装药量计算同上,第二排起,装药量应有所增加。
Q1=kqabH 式中:Q1-第二排以后的各排每孔装药量,kg;k-岩石阻力夹制系数,采用微差爆破时,取k=1.0~1.2,采用齐发爆破时,取k=1.2~1.5,第二排孔取下限,最后一排孔取上限。
(三)倾斜台阶深孔装药量计Q′=qWaL 式中:Q′-倾斜孔每孔装药量;q-炸药单耗;L-斜孔(不包括超深)长度,m。
倾斜深孔,超深部分药量应单独计算:Qc=ph 式中:Qc-超深部分炮孔装药量,kg;p-每米炮孔的装药量,kg/m;h-超深。
(四)分段装药:分段装药各分段装药量单独计算:Q1=q1aW12Q2=q2aW22Q3=q3aW32…式中:W1,W2,W3-各分段的最小抵抗线,m。
工程爆破药量计算的基本公式
爆破作业是施工中最为重要的一项作业,有利于施工进度,也有利于节约施工成本。
程爆破药量计算是施工中一项重要环节,该计算反映了药量计算的准确性和施工安全。
以,爆破药量计算的准确性和安全性越高,爆破成果越理想。
爆破药量的计算理论和方法是工程爆破学中很重要的内容,其中基本公式和计算方法能够帮助我们准确快速地计算出爆破药量。
基本公式:
工程爆破药量计算:药量V =F*L*H*B*D)/(ρP*Vt)
其中,F为爆破孔数;L为单个孔深度;H(Height)为爆破孔距杆端距离;B(Bore)为爆破孔直径;D(Depth)为每一孔的椭圆深度;ρP为装药密实度;Vt为有效药量。
药量计算方法:
(1)搞清楚爆破作业的某些基本要求,如孔距、孔深等;
(2)准确测量破坏区域的高度、宽度等;
(3)根据爆破作业内容确定爆破药量及药量规模;
(4)根据爆破工艺施工图,确定爆破孔数、深度、宽度、高度和角度;
(5)根据爆破药量计算基本公式,计算爆破孔每孔装药量;
(6)根据实际施工情况,调整爆破孔每孔装药量;
(7)根据上述结果,确定实施爆破的药量种类和总量。
为了提高爆破的效果,工程爆破药量的选择在施工中也是至关重
要的。
据爆破工艺施工图上的爆破要求,结合实际情况,选择合适的爆破药量,有利于更好地实现爆破工艺施工图规定的目标。
综上所述,工程爆破药量计算的基本公式和计算方法是爆破施工的重要环节,只有准确计算出爆破药量,才能够更好地实现施工进度和施工安全。
此,在爆破施工中,应把工程爆破药量的计算放在重要的位置,着重提高工程爆破药量计算的准确性和安全性,以保证施工质量。
一、装药密度(克每立方厘米):2号岩石乳化0.95-1.3、粉状乳化0.85-1.05、1号粉状铵油0.9-1.0、多孔粒状铵油0.8-0.9、岩石改性铵油0.9-1.1、岩石膨化铵油0.8-1.0、重铵油0.85-1.3线装药密度(千克每米):圆周率*(d的平方)*装药密度/4000二、钻机直径(多孔铵油炸药时取装药密度0.85克每立方厘米)对应的线装药主要有:40mm-1.07千克每米、50-1.67千克每米、65-2.82千克每米、70-3.27千克每米、76-3.85千克每米、90-5.41千克每米、100-6.67千克每米、110-8.07千克每米、120-9.6千克每米三、常用药卷(2号岩石乳化炸药)型号:1、直径32mm 长度20cm药量150g;2、直径35mm长度20cm药量200g四、各个爆破单耗(千克每立方米):光面线装药密度0.15-0.2、预裂线装药密度为0.25-0.4、台阶(深)0.4-0.6、台阶(浅)0.5-1.2、基坑0.3-0.35、沟槽一般取0.5、井巷掘进1.2-2.4(一般取1)、隧道同井巷一般取1左右、拆除砖混1-1.5、拆除混凝土1.5-2、混泥土基础一般取1、桩井2-3、立井2-4、水下钻孔(0.45+(0.05-0.15)H)五、台阶(深孔)爆破:H台阶高度已知,钻机直径D 一般取H/100,底盘抵抗线W=KD其中K取(30-40),超深h=(8-12)D,孔距a=mW其中m取(1-1.25),排距b=(0.6-1.0)W,若三角形布孔则b=asin60,孔深L=(H+h)/sin,堵塞长度L2=(20-30)D,单耗q(0.4-0.6)一般取0.5左右,q1线装药密度根据公式核算具体见第一项,根据线装药算出单孔装药量与根据单耗算出的单孔装药量(Q=qHaW)对比,调整a或者b或者q单耗,从而保持结果一致。
安全校核:v=K(立方根Q/R)括号开a次方,其中K系数(50-350)一般取150,a系数(1.3-2)一般取1.5,v一般民用建筑屋为1.5-3cm/s。
湖北水利水电职业技术学院教师授课教案课程名称:水利水电工程施工技术200 年至200 年第学期第38 次课授课班级:03级水工编制日期:年月日图11-2 全断面开挖机械化程序台阶掌子掘进是将整个断面分为上下两层,上层超前于下层一定距离掘进。
为了方便出渣,上层超前距离不宜超过2~3.5m,且上下层应同时爆破,通风散烟后,迅速清理上台阶并向下台阶扒渣,下台阶出渣的同时,上台阶可以进行钻孔作业。
由于下台阶爆破是在两个临空面情况下进行的,可以节省炸药。
当隧洞断面面积较大,但又缺乏钻孔台车等大型施工机械时,可以采用这种开挖方式。
(一)导洞开挖法导洞开挖法就是在开挖断面上先开挖一个小断面洞(即导洞)作为先导,然后再扩大至设计要求的断面尺寸和形状。
这种开挖方式,可以利用导洞探明地质情况、解决施工排水问题,导洞贯通后还有利于改善洞内通风条件,扩大断面时导洞可以起到增加临空面的作用,从而提高爆破效果。
根据导洞与扩大部分的开挖次序,有导洞专进和导洞并进两种方法。
导洞专进法是将导洞全部贯通后,再进行扩大部分开挖,有利于通风和全面了解地质情况,但洞内施工设施一般要进行二次铺设,费工费事。
除地质情况复杂外,一般不采用。
导洞并进法是将导洞开挖一段距离(一般为10~15m)后,导洞与断面扩大同时并进。
导洞开挖法一般是在工程地质条件恶劣、断面尺寸较大、不利于全断面开挖时才采用的开挖方法。
导洞开挖,根据导洞位置不同,有上导洞、下导洞、中间导洞和双导洞等不同方式。
1、上导洞开挖法导洞布置在隧洞的顶部,断面开挖对称进行,开挖与衬砌程序如图11-3 所示。
这种方法适用于地质条件较差,地下水不多,机械化程度不高的情况。
其优点是安全问题比较容易解决,如顶部围岩破碎,开挖后可先行衬砌,以策安全。
缺点是出渣线路需二次铺设,施工排水不方便,顶拱衬砌和开挖相互干扰,施工速度较慢。
筑,待其强度达到设计强度的70%时,再开挖和浇筑另一个马口。
各段马口的开挖可交叉进行。
路基石方开挖爆破方法本工程石方开挖涉及两种:半挖半填断面的开挖和全挖断面的开挖,采用深孔(浅孔)松动爆破为主,在设计边坡外预留光爆层采用光面爆破,确保边坡平顺,避免扰动和破坏边岩体。
1、深孔松动爆破法采用梯段爆破,用9m3潜孔钻机钻孔,孔径90mm ,炮孔按梅花型布置,炸药选用2号岩石硝铵炸药,一般台阶高度H=8.0m 。
1.1爆破参数计算公式⑴最小抵抗线长度计算:H m q e l D W •••••∆••=τ785.0式中:D 为炮孔直径△为装药密度(kg/m3),一般取900; H 为阶梯高度(m);l 为预计炮孔深度(m),l =H+h (h 为钻根长度[m]);h 对于岩石取(0.15~0.35)W ,岩石较硬时取上限;τ为装药长度系数(当H<10m 时,τ=0.6;当H=10~15m 时,τ=0.5m;当H>15m 时,τ=0.4m )eq 为炸药单位消耗量(kg/m3),按下表取值:⑵每一炮孔的装药量Q (kg )计算:Q=0.33.e.q.ν=0.33.e.q.a.H.W 式中:ν为每一深孔药包所爆破的岩石体积(m3)。
1.2本项目爆破设计参数(以K29+800-K30+000段为例)该段95%属于Ⅳ类石方爆破。
采用9m3潜孔钻机钻孔,75°孔径90mm ,台阶高度H=4.0m 。
岩层为次坚石,用2#岩石硝铵炸药,各参数计算如下:⑴最小抵抗线长度确定:假定钻根长h=0.5m,预计炮孔深度l=4+0.5=4.5m.取△=900kg/m3, τ=0.6,m=1.1,e=1.0,次坚石为六类土,查表得知q 取1.7kg/m3,则抵抗线为W=0.09x(0.0785x900x4.5x0.6/1x1.7x1.1x4)1/2=1.437 ⑵钻根长:h=0.2W=0.3m= ⑶炮孔深:l=4+0.3=4.3 ⑷炮孔间距:a=W=1.437m ⑸每孔需用药:Q=0.33*e*q*a*H*W=0.33*1*1.437*4*1.437=2.73kg 1.3最大安全用药量根据爆破震速控制测算确定最大一段安全用药量。
露天爆破设计参数确定一、深孔台阶控制爆破参数(没有振动速度要求)一般情况下,深孔垂直布放,深孔平面布置成方型或梅花型,其爆破参数按以下各式计算:底盘抵抗线W=(20~40)d钻孔超深h=(0.15~0.35)W炮孔深度L=H+h堵塞长度l′=(0.7~1.0)W装药长度l=L-l′孔间距a=1.25W排间距b=W单孔药量Q=q·a·b·H或Q=q·W·a·H(第一排、单排起爆)(kg)单孔药量Q=k·q·a·b·H或Q= k·q·W·a·H炸药单耗q=(0.35~0.45)(kg/m3)(注:单孔药量算出后要进行核算,看孔内是否能装下计算的药量)。
上述各式中H为台阶高度,d为钻孔直径。
按上述公式计算得到的不同台阶高度时钻孔直径d=76mm和d=115mm的爆破参数值列下表注:单位长度装药量4.0kg/m(铵油炸药)注:单位长度装药量9.3kg/m(铵油炸药)二、低台阶钻孔控制爆破(没有振动速度要求)炮孔垂直钻凿,平面成梅花形,钻孔直径d=76mm,其它爆破参数按以下各式计算:底盘抵抗线W=(40~50)d钻孔超深h=(0.1~0.15)W堵塞长度l′=(1.0~1.2)W装药长度l=L-l′钻孔深度L=H+h孔间距a=(1.0~1.5)W排间距b=W单孔药量Q=H·a·b·q或Q=q·W·a·H(kg)炸药单耗q=0.35~0.45 (kg/m3)低台阶钻孔控制爆破参数(d=76mm)注:单位长度装药量4.0kg/m(铵油炸药)三、有振动速度要求的计算(深浅孔爆破均按照此思路)1、根据Q=(V/K)3/αR3公式计算出单响药量;2、由V=Q/q公式计算出每孔担负的体积;3、由S=V/H公式计算出每孔担负的面积;4、由b=(S/1.25) 1/2公式计算出钻孔排距;5、由a=1.25b公式算出钻孔间距;6、算出底盘抵抗线b=w7、同前面算出超深、填塞深度、炮孔深度。
爆破方法爆破作业的步骤是向要爆破的介质钻出的炮孔或开挖的药室或在其表面敷设炸药,放入起爆雷管,然后引爆。
根据药包形状和装药方式的不同,爆破方法主要分为三大类:炮孔法在介质内部钻出各种孔径的炮孔,经装药、放入起爆雷管、堵塞孔口、联线等工序起爆的,统称炮孔法爆破。
如用手持式风钻钻孔的,孔径在50毫米以下、孔深在4米以下的为浅孔爆破;孔径和孔深大于上述数值的为深孔爆破;在孔底或其他部位事先用少量炸药扩出一个或多个药壶形的为药壶法爆破。
炮孔法是岩土爆破技术的基本形式。
药室法在山体内开挖坑道、药室,装入大量炸药的爆破方法,一次能爆下的土石方数量几乎是不受限制的,在每个药室里装入的炸药有多达千吨以上的。
中国四川攀枝花市狮子山大爆破(1971 )总装药量10162.2吨,爆破1140万米3,在世界上也是最大规模的大爆破之一。
药室法爆破广泛应用于露天开挖堑壕、填筑路堤、基坑等工程,特别是在露天矿的剥离工程和筑坝工程,能有效地缩短工期,节省劳动力,而且需用的机械设备少,并不受季节和地方条件的限制。
裸露药包法不需钻孔,直接将炸药包贴放在被爆物体表面进行爆破的方法。
它在清扫地基的破碎大孤石和对爆下的大块石作二次爆破等工作方面,具有独特作用,仍然是常用的有效方法。
爆破技术在上述三种爆破方法的基础上,根据各种工程目的和要求,采取不同的药包布置形式和起爆方法,形成了许多各具特色的现代爆破技术,主要有以下几种。
微差爆破又称毫秒爆破,是40年代出现的爆破新技术。
在雷管内装入适当的缓燃剂,或连接在起爆网路上的延期装置,以实现延期的时间间隔,这种系列产品间隔时间,一般以13~25毫秒为一段。
通过不同时差组成的爆破网络,一次起爆后,可以按设计要求顺序使各炮孔内的药包依次起爆,获得良好的爆破效果。
微差爆破的特点是各药包的起爆时间相差微小,被爆破的岩块在移动过程中互相撞击,形成极其复杂的能量再分配,使岩石破碎均匀,缩短抛掷距离,减弱地震波和空气冲击波的强度,既可改善爆破质量,不致砸坏附近的设施,又能提高作业机械的使用效率,有较大经济效益,在采矿和采石工程中广泛应用。
土石方爆破爆破方法爆破作业的步骤是向要爆破的介质钻出的炮孔或开挖的药室或在其表面敷设炸药,放入起爆雷管,然后引爆。
根据药包形状和装药方式的不同,爆破方法主要分为三大类:炮孔法在介质内部钻出各种孔径的炮孔,经装药、放入起爆雷管、堵塞孔口、联线等工序起爆的,统称炮孔法爆破。
如用手持式风钻钻孔的,孔径在50毫米以下、孔深在4米以下的为浅孔爆破;孔径和孔深大于上述数值的为深孔爆破;在孔底或其他部位事先用少量炸药扩出一个或多个药壶形的为药壶法爆破。
炮孔法是岩土爆破技术的基本形式。
药室法在山体内开挖坑道、药室,装入大量炸药的爆破方法,一次能爆下的土石方数量几乎是不受限制的,在每个药室里装入的炸药有多达千吨以上的。
中国四川攀枝花市狮子山大爆破(1971 )总装药量10162.2吨,爆破1140万米3,在世界上也是最大规模的大爆破之一。
药室法爆破广泛应用于露天开挖堑壕、填筑路堤、基坑等工程,特别是在露天矿的剥离工程和筑坝工程,能有效地缩短工期,节省劳动力,而且需用的机械设备少,并不受季节和地方条件的限制。
裸露药包法不需钻孔,直接将炸药包贴放在被爆物体表面进行爆破的方法。
它在清扫地基的破碎大孤石和对爆下的大块石作二次爆破等工作方面,具有独特作用,仍然是常用的有效方法。
爆破技术在上述三种爆破方法的基础上,根据各种工程目的和要求,采取不同的药包布置形式和起爆方法,形成了许多各具特色的现代爆破技术,主要有以下几种。
微差爆破又称毫秒爆破,是40年代出现的爆破新技术。
在雷管内装入适当的缓燃剂,或连接在起爆网路上的延期装置,以实现延期的时间间隔,这种系列产品间隔时间,一般以13~25毫秒为一段。
通过不同时差组成的爆破网络,一次起爆后,可以按设计要求顺序使各炮孔内的药包依次起爆,获得良好的爆破效果。
微差爆破的特点是各药包的起爆时间相差微小,被爆破的岩块在移动过程中互相撞击,形成极其复杂的能量再分配,使岩石破碎均匀,缩短抛掷距离,减弱地震波和空气冲击波的强度,既可改善爆破质量,不致砸坏附近的设施,又能提高作业机械的使用效率,有较大经济效益,在采矿和采石工程中广泛应用。
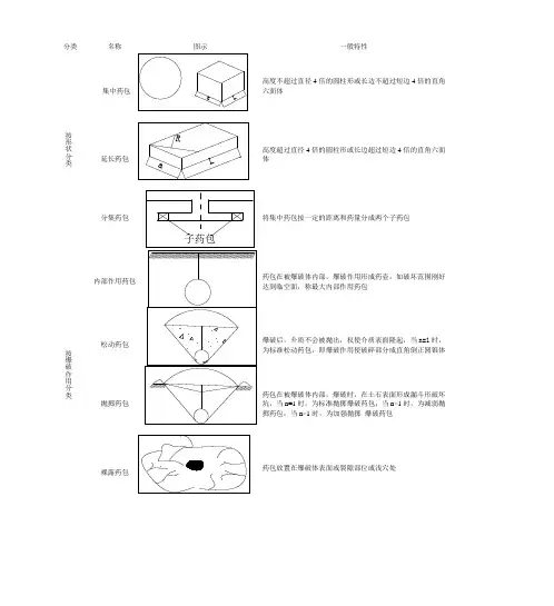
分类名称图示一般特性按形状分类集中药包高度不超过直径4倍的圆柱形或长边不超过短边4倍的直角六面体延长药包高度超过直径4倍的圆柱形或长边超过短边4倍的直角六面体分集药包将集中药包按一定的距离和药量分成两个子药包按爆破作用分类内部作用药包药包在被爆破体内部,爆破作用形成药壶,如破坏范围刚好达到临空面,称最大内部作用药包松动药包爆破后,介质不会被抛出,权使介质表面隆起,当n=1时,为标准松动药包,即爆破作用使破碎部分成直角倒正圆锥体抛掷药包药包在被爆破体内部,爆破时,在土石表面形成漏斗形破坏坑,当n=1时,为标准抛掷爆破药包;当n<1时,为减弱抛掷药包;当n>1时,为加强抛掷爆破药包裸露药包药包放置在爆破体表面或裂隙部位或浅穴处1.4 药包用量计算各类爆破药包量计算公式(表3-4)药包名称计算公式符号意义标准抛掷炸药包Q---- 药包重量,kge---与炸药性质有关的换算系数,见表3-5q——爆破岩土单位体积的炸药消耗量,kg/m^3,与岩土的性质及炸药的种类有关,见表3—-6爆破药包抛掷爆破药包与抛掷W---药包的最小抵抗线,m;F(E)---抛掷略函数,抛掷爆破中,F(E)=1;抛掷爆破中当a=0~30度时E-----抛掷略(%)F(a)-----抛塌系数,随自然地面坡度a而变化;当a=31~90度时a----自然地面坡度,(度)f(a)=26/a抛坍爆破中(a>30度)f(a)=26/a (3-6)松动爆破药包水平地形拉朝路堑中土的分类土的级别土的名称坚实系数(f)密度(kg/m3)开挖方法及工具一类土(松软土)1 砂;砂质粉土;冲击沙土层;种植土;淤泥0.5-0.6 600-1500 能用锹.锄头挖掘二类土(普通土)2 粉质粘土;潮湿的黄土;夹有碎石.卵石的砂;种植土;填筑土及砂质粉土0.6-0.8 1100-1600 用锹.锄头挖掘,少许同镐翻松三类土(坚土)3 软及中等密实粘土;重粉质粘土;粗砾石;干黄土及含碎石.卵石的黄土.粉质粘土;压实的填筑土0.8-1.0 1800-1900- 主要用镐,少许用锹.锄头挖掘,部分用撬棍四类土(沙砾坚土)4 重粘土及含碎石.卵石的粘土;粗卵石;密实的黄土;天然级配砂石;软泥灰岩及蛋白石1.0-1.5 1900 整个用镐.撬棍,然后用锹挖掘,部分用锲子及大锤五类土(软石)5 硬石炭纪粘土;中等密实的页岩.泥灰岩;白垩土;胶结不紧的砾岩;软的石灰岩1.5-4.0 1100-2700 用镐或撬棍.大锤挖掘,部分使用爆破方法六类土(次坚土)6 泥岩;砂岩;砾岩;坚实的页岩;密实的石灰岩;风化的花岗岩.片麻岩4.0-10 2200-2900 用爆破方法开挖,部分用风镐七类土(坚石)7 大理岩;辉绿岩;玢岩;粗.中粒花岗岩;坚实的白云岩.砂岩.片麻岩.石灰岩;风化痕迹的安山岩.玄武岩10-18 2300-3100 用爆破方法开挖八类土(特坚石)8 安山岩;玄武岩;花岗片麻岩;坚实的细花岗岩.闪长岩.石英岩.辉长岩.辉绿岩.玢岩18-25以上2700-3300 用爆破方法开挖斜坡地形或阶梯式地形内部作用爆破药包炸药换算系数e 值(表3-5)炸药名称型号换算系数 炸药名称 型号换算系数岩石硝铵 1号 0.9 胶质炸药 普通 1.06岩石硝铵 2号 1 混合胶质炸药 普通 1 露天硝铵 2号,3号 1.14 梯恩梯1.05-1.14 胶质炸药 普通 0.89 铵油炸药 1.14-1.36 胶质炸药耐冻0.89黑火药1.14-1.42炸药单位消耗量q 值 (表3-6)土的类别一 二 三 四 五 六 七 八 Q(kg/m^3)0.5-1.0 0.6-1.10.9-1.31.2-1.51.4-1.651.6-1.951.8-2.62.1-3.25注;1、本表以2号岩石硝铵炸药为准,当用其他炸药时需乘以换算系数e 值2、表中所列q 值唯一个自由面情况,若为两个自由面应 乘以0.83;三个自由面乘以0.67;四个 自由面乘以0.50;;五个自由面乘以0.33;六个自由面乘以0.17;3、表中土的工程分类见表3-7;4、表中值是在药孔堵塞良好,即堵塞系数为1时定出。
王庄矿6116综放工作面顶板弱化处理各炮孔参数和计算装药量表炮孔编号炮孔长度/m仰角/°孔径/mm计算装药长度/m计算装药量/kg计算封泥长度/m装药卷数/孔开切眼A 23.44 29 75 12.57 37.71 10.87 25B 28.31 32 75 18.94 56.82 9.37 38C 26.82 34 75 19.19 57.57 7.63 38D 26 30 75 21.46 64.38 4.54 43E 23.87 33 75 14.19 42.57 9.68 28F 22.66 35 75 13.48 40.44 9.18 27 G127.69 28 75 16.47 49.41 11.22 33 H125.24 31 75 15.01 45.03 10.23 30 I123.25 34 75 13.82 41.46 9.43 28 G227.69 28 75 16.54 49.62 11.15 33 H225.24 31 75 15.01 45.03 10.23 30 I223.25 34 75 13.82 41.46 9.43 28 G327.69 28 75 16.47 49.41 11.22 33 H325.24 31 75 15.01 45.03 10.23 30 I323.25 34 75 13.82 41.46 9.43 28 G427.69 28 75 16.47 49.41 11.22 33 H425.24 31 75 15.04 45.12 10.2 30 I423.25 34 75 13.82 41.46 9.43 28 G527.69 28 75 16.47 49.41 11.22 33 H525.24 31 75 15.01 45.03 10.23 30 I523.25 34 75 13.82 41.46 9.43 28 G627.69 28 75 16.47 49.41 11.22 33 H625.24 31 75 15.01 45.03 10.23 30 J 24.53 32 75 14.59 43.77 9.94 29 K 23.87 33 75 14.19 42.57 9.68 28 L 23.84 39 75 17.05 51.15 6.79 34 M 20.85 46 75 14.92 44.76 5.93 30 N 17.89 57 75 12.79 38.37 5.1 26运巷运1 14.57 34 75 5.04 15.12 9.53 10 运巷运2 18.85 44 75 11.33 33.99 7.52 23风巷风1 18.39 45 75 10.94 32.82 7.45 22 风2 14.21 34 75 4.67 14.01 9.54 9总计761.93 463.43 1390.29 298.5 927备注1、设计需炸药1390.29kg(需准备1400kg)。
确定炮眼数目和装药量(1)每茬炮所需的炮眼数目N = qS·η/(T·μ)式中:N——炮眼数目,个(取整数)q——单位体积炸药消耗量,一般取1.2~2.4kg/m3;根据通风风量计算(详见附:通风计算)出本巷q最大取值1.5kg/m3。
S——巷道掘进断面积,m2;本巷断面规格6.0m宽、3.0m高故S=18m2。
η——炮眼利用率;本巷η取83%。
T——装药系数,即装药长度与炮眼长度的比值,一般取0.5~0.7;本巷T取0.5。
μ——每m药卷的炸药质量,kg/m;本巷μ取1.07kg/m。
经计算每茬炮所需的炮眼数目N = qS·η/(T·μ)=1.5×18×0.83/0.5×1.0=41.88≈42个。
根据炮眼数目合理布置炮眼时上下眼距为650mm、左右眼距为700mm。
这与炮眼间距规定的350~600mm不符。
若以炮眼间距规定的最大值600mm合理布置炮眼则炮眼个数为56个。
这与所计算的炮眼数目不符。
(2)一次爆破所需的总炸药量Q=q·V=1.5×27=40.5kg式中:q——单位体积炸药消耗量,1.5kg/m3V——每循环爆落的煤(岩)实体,18×1.5=27 m3;18—断面面积,m2;1.5—每循环进尺,m。
附:通风计算本巷最长供风距离150m。
每个独立通风的掘进工作面实际需要的风量,应按巷道瓦斯、CO2涌出量、风速、人数、炸药量、局部通风机实际吸风量等规定要求分别进行计算,然后取其中最大值。
按炸药量计算Q掘≥10A掘式中:A掘—掘进工作面一次爆破所用的最大炸药量,40.5kg。
代入数据得:Q掘≥10×40.5=405m3/min.根据各类通风条件计算工作面实际需要的风量可知按炸药量计算时值最大。
局部通风机实际需要吸风量计算根据掘进工作面风筒末端的实际需要出风量,考虑风筒的漏风因素,按照风筒百米漏风率实测值计算局部通风机的实际需要吸风量。
光面爆破炮孔布置及其装药参数的确定一、炮孔布置斜坡道岩石普氏系数为8~11,岩石凿岩性好,可爆性能良好,巷道毛断面4.5m ×5m开挖巷道断面积按公式S=B(0.26B+h)带入数据计算得:S=4.5×(0.26×4.5+3.5)=21.015㎡,属于大断面巷道,由于岩石属中等坚固及对斜坡道工程质量及进度的要求,决定在掘进巷道时,采用三一型掏槽的光面爆破,使用凿岩台车与YT28 凿岩机联合凿岩,匹配钎杆长度为3.5m,辅助眼与周边眼炮孔深度均为3.1m掏槽眼炮孔深度为3.3m,掘进装药炮孔一律采用直径40mm的钻头。
该光面爆破掏槽方式为1个空眼,掘进空眼采用直径76mm钻头,三个装药孔,间距150mm,呈正三角形布置,共有4个掏槽眼,中心掏槽眼位于巷道中心线上距底板1.5m位置。
取最小抵抗线为550mm,帮眼(边墙眼)炮孔间距取500mm,这样帮眼就有(3500/500)×2=14个,取顶眼炮孔间距为450mm,得到顶眼13个,最终确定周边眼个数为14+13=27个。
取辅助眼的抵抗线为550mm,利用类似方法计算出二圈眼17个,三圈眼10个,辅助眼10个,底板眼8个,水沟眼1个,共计眼数74个。
装药结构及炮孔堵塞设计采用9个分段发1s延期导爆管起爆,设计采用孔底药包起爆,起爆药包置于孔底倒数第二个药包处,一次性全断面巷道起爆成型。
掏槽眼、辅助眼、周边眼、的装药结构如下:1)掏槽眼和底板眼:连续装药,眼口用炮泥堵住;2)辅助眼:连续装药,眼口用炮泥堵住;3)光爆孔:(即帮眼与顶眼):采用空气间隙装药,装药炸药卷置于炮孔底,在距离光爆眼孔口50cm处打入约5cm的扁平形木楔,导爆管则由泡孔壁和木楔之间穿出,用炮泥堵住木楔与孔口段,如图:为保证爆破效果及充分利用炸药能量作功,爆破施工时炮孔应用炮泥进行堵塞,堵塞长度为炮孔的未装药部分。
对炮孔进行堵塞有利于提高爆破质量、提高炸药利用率、降低单耗等效果。
水工隧洞施工水工隧洞施工的主要内容是开挖、出渣、衬砌或支护、灌浆工作等。
常用的开挖掘进方法为钻孔爆破法,也有采用掘进机直接开挖的。
衬砌和支护的型式,常用现浇钢筋砼以及喷锚支护。
隧洞灌浆的目的是为了加固围岩或充填衬砌与围岩之间的空隙。
钻爆法开挖掘进的施工过程为测量放线、钻孔、装药、爆破、通风散烟、安全检查与处理、装渣运输、洞室临时支护、洞室衬砌或支护、灌浆及质量检查等。
同时还需要进行排水、照明、通风、供水、动力供电等辅助作业,以保证隧洞施工的顺利进行。
上述各项工作,绝大部分是在地面以下,施工场地狭窄的情况下进行的,施工干扰大,劳动条件差,施工组织复杂,安全问题突出。
如果遇到不良的地质和水文地质情况,如大的断层和破碎带、大的溶洞和地下暗河、高压含水层等,将严重影响施工进度和安全。
正确处理安全、质量、进度和经济的关系,采用有效的机械设备与新的施工技术,加强安全措施,严密组织施工。
第一节隧洞开挖一.开挖方式隧洞开挖方式有全断面开挖法和导洞开挖法两种。
开挖方式的选择主要取决于隧洞围岩的类别、断面尺寸、施工机械化程度和施工水平、合理选择开挖方式对于加快施工进度,节约投资,保证施工安全和施工质量均有重要的意义。
(一)全断面开挖法是在整个断面上一次钻爆开挖成型。
在隧洞断面不大,围岩稳定性好,不需要临时支护或局部支护,又有完善的机械设备时,可采用这种开挖方式。
全断面开挖上午净空面积大,个工序相互干扰小,有利于机械化作业,施工组织较简单、掘进速度快。
但这种方式受到机械设备、地质条件和断面尺寸的限制。
全断面开挖又分为垂直掌子面掘进和台阶掌子面掘进两种。
(二)导洞开挖法导洞开挖法就是先开挖断面的一部分,称为导洞,然后开挖至整个设计断面。
这种开挖方式,可利用导洞进一步了解和掌握地质情况,并在扩大开挖时增大爆破临空面,提高爆破效果。
根据导洞与扩大部分的开挖次序,有导洞专进法和并进法两种。
根据导洞在横断面位置的不同有下导洞、上导洞、中导洞、双导洞等;1.下导洞开挖法,导洞布置在断面的下部,又称漏斗棚架法;2.上导洞开挖法,对称顶拱掘进法,常用的“上导洞边挖边衬,先拱后墙衬砌法”。
装药量的计算1.炮孔数量和装药量。
常采用类比法或经验公式法,结合具体工程进行现场试验确定较合理的炮孔数量和各种炮孔类型的炮孔间距。
常用计算公式为: N=γαL Q =γαL KSL =γαKS (6-1) 其中:γ=100(π/4)d²△k;W=(0.5~0.8)B (6-2)式中 N--次掘进循环中开挖面上的炮孔总数;Q--次爆破的炸药用量,kg;L--炮孔深度,m;γ--单个炮孔每米装药量,kg/m;d--药卷直径 cm;△--炸药密度,kg/cm³;k--装药压紧系数,通常硝铵炸药,k=1.0,硝化甘油炸药,k=1.2; α--炮孔的装药影响系数;B--开挖断面宽度,m;K--单位耗药量,kg/m³;S--开挖断面面积,m²。
装药量:(1)排炮总药量Q=KV=KLSμ (6-3)式中 Q--排炮进尺炸药耗量,kg;K--单位耗药量,kg/m³;V--每排炮进尺爆落岩石的体积,m³;L--实际钻孔深度,m;S--开挖端面面积,m²;μ--炮孔利用率,μ=L′/L;L′--爆破后的实际深度,m。
(2)单孔装药量:排炮总药量计算出来之后,即可进行分配。
根据炮孔的位置不同,需要不同的装药量。
1)导洞部分掏槽孔:掏q =1.15导导N Q (6-4)崩落孔:崩q =0.85导导N Q (6-5)周边孔:周q =导导N Q (6-6)2)扩大部分扩q =扩扩N Q (6-7)上四式中 掏q 、崩q 、周q ----分别为掏槽孔、崩落孔、周边孔的每个孔装药量(kg); 导Q 、导N ------分别为导洞的总装药量(一个开挖面的一个循环)及导洞一次 循环的炮孔数目;扩q 、扩Q 、扩N ----分别为扩大部分的单孔装药量、扩大部分一个循环的总装药量 及扩大部分一个循环的炮孔总数。
2.炮孔深度炮孔深度的确定,主要与开挖面的尺寸、掏槽型式、岩层性质、钻机、自由面数目和循环作业时间的分配等因素有关。
水工隧洞施工
水工隧洞施工的主要内容是开挖、出渣、衬砌或支护、灌浆工作等。
常用的开挖掘进方法为钻孔爆破法,也有采用掘进机直接开挖的。
衬砌和支护的型式,常用现浇钢筋砼以及喷锚支护。
隧洞灌浆的目的是为了加固围岩或充填衬砌与围岩之间的空隙。
钻爆法开挖掘进的施工过程为测量放线、钻孔、装药、爆破、通风散烟、安全检查与处理、装渣运输、洞室临时支护、洞室衬砌或支护、灌浆及质量检查等。
同时还需要进行排水、照明、通风、供水、动力供电等辅助作业,以保证隧洞施工的顺利进行。
上述各项工作,绝大部分是在地面以下,施工场地狭窄的情况下进行的,施工干扰大,劳动条件差,施工组织复杂,安全问题突出。
如果遇到不良的地质和水文地质情况,如大的断层和破碎带、大的溶洞和地下暗河、高压含水层等,将严重影响施工进度和安全。
正确处理安全、质量、进度和经济的关系,采用有效的机械设备与新的施工技术,加强安全措施,严密组织施工。
第一节隧洞开挖
一.开挖方式
隧洞开挖方式有全断面开挖法和导洞开挖法两种。
开挖方式的选择主要取决于隧洞围岩的类别、断面尺寸、施工机械化程度和施工水平、合理选择开挖方式对于加快施工进度,节约投资,保证施工安全和施工质量均有重要的意义。
(一)全断面开挖法
是在整个断面上一次钻爆开挖成型。
在隧洞断面不大,围岩稳定性好,不需要临时支护或局部支护,又有完善的机械设备时,可采用这种开挖方式。
全断面开挖上午净空面积大,个工序相互干扰小,有利于机械化作业,施工组织较简单、掘进速度快。
但这种方式受到机械设备、地质条件和断面尺寸的限制。
全断面开挖又分为垂直掌子面掘进和台阶掌子面掘进两种。
(二)导洞开挖法
导洞开挖法就是先开挖断面的一部分,称为导洞,然后开挖至整个设计断面。
这种开挖方式,可利用导洞进一步了解和掌握地质情况,并在扩大开挖时增大爆破临空面,提高爆破效果。
根据导洞与扩大部分的开挖次序,有导洞专进法和并进法两种。
根据导洞在横断面位置的不同有下导洞、上导洞、中导洞、双导洞等;1.下导洞开挖法,导洞布置在断面的下部,又称漏斗棚架法;
2.上导洞开挖法,对称顶拱掘进法,常用的“上导洞边挖边衬,先拱后墙衬砌法”。
二.导洞的形状和尺寸
导洞一般采用上窄下宽的梯形断面,这样的断面受力条件较好,也便于利用断面底角,布置风、水、电等管线。
三.炮孔布置和装药量计算
(一)炮孔布置布置在开挖面上的炮孔,按其作用不同为掏槽孔、崩落孔和周边孔等三种。
1.掏槽孔布置在开挖面中心部位,首先炮出一个小的槽穴,其作
用是增加爆破临空面,提高周围炮孔的爆破效果。
2.崩落孔均匀布置在掏槽孔与周边孔之间,爆破顺序次于掏槽孔,其作用是爆落岩体。
崩落孔通常与开挖面垂直,要求孔底落在同一平面上,以保证掘进后的开挖面平整。
3.周边孔布置在开挖面的四周,一般最后起爆(采用预裂爆破例外),其作用是控制开挖轮廓线。
(二)炮孔数目和深度隧洞开挖断面上的炮孔总数N,常用下面经验公式估算,即N=k1*(f*S)^1/2式中k1--系数,一个临空面用2.0;f--岩石的坚固系数;S--开挖断面面积,m^2.
(三)装药量隧洞爆破中,炸药用量多少直接影响开挖断面的轮廓、掘进速度、围岩稳定和爆破安全。
此外,爆落石块的大小还影响装渣运输。
由于岩性质和岩层的构造差别甚大,断面大小、爆落块度及炸药性质也不完全相同,因此装药辆必须经过现场试验确定。
开工前,可按下式估算 Q=K*S*L 式中Q--一次掘进中的炸药用量,kg;K--单位炸药消耗量,kg/m^3;S--开挖断面面积;L--崩落孔炮孔深度,m。
四.钻孔作业
钻孔作用在掘进循环时间中占有很大的比重。
钻孔的机具有风钻和钻孔台车。
五.装渣运输作业
隧洞装渣和出渣是一项很繁重的工作,约占循环时间的50~60%,也是影响掘进速度的关键。
包括装渣和运输两项工作。
六.隧洞临时支护
隧洞在开挖过程中,稳定性差的围岩容易发生坍塌和个别石块跌落,为了确保施工安全,必须对开挖出来的空间进行有效的支护。
只有在围岩稳定的情况下,才可以不加临时支护。
(分喷锚支护和构架支撑)
七.隧洞开挖的辅助作业
隧洞开挖的辅助作业有通风、防尘、防有害气体、供水、排水、供电、照明等。
很明显,这些辅助工作是改善洞内劳动条件和工程顺利进行的必要保证。