UG NX三维建模、曲面建模练习题
- 格式:doc
- 大小:175.00 KB
- 文档页数:4
sw三维建模练习题曲面一、基础曲面建模1. 创建一个长方体,并将其一个面拉伸成斜面。
2. 利用曲面裁剪工具,在一个球体上裁剪出一个五角星形状。
3. 在圆柱体上创建一个环形曲面。
4. 通过两个相交的圆柱体一个相交曲面。
5. 利用曲面放样命令,创建一个花瓣形状的曲面。
二、高级曲面建模1. 创建一个螺旋形的曲面。
2. 利用边界曲面命令,创建一个不规则多边形曲面。
3. 在一个圆锥体上创建一个波浪形的曲面。
4. 通过多个点一个NURBS曲面。
5. 利用曲面扫掠命令,创建一个螺旋面与直面相接的曲面。
三、曲面编辑与优化1. 对一个已有点云数据进行曲面拟合。
2. 将两个曲面进行合并操作。
3. 利用曲面修剪工具,对一个复杂曲面进行修剪。
4. 对曲面进行加厚处理,实体。
5. 优化曲面网格,提高曲面质量。
四、曲面分析与应用1. 计算曲面面积和体积。
2. 分析曲面曲率,找出曲率较大的区域。
3. 利用曲面投影命令,将一个文字图案投影到曲面上。
4. 创建一个曲面贴图,模拟真实材质效果。
5. 对曲面进行光照分析,观察光照效果。
五、综合实战练习1. 设计一个具有流线型曲面造型的汽车模型。
2. 创建一个具有艺术感的曲面雕塑。
3. 利用曲面建模技巧,设计一个创意家居用品。
4. 复杂曲面造型练习:设计一个机械零件。
5. 结合曲面与实体建模,设计一个手机壳。
六、曲面修复与转换1. 修复曲面上的缝隙和孔洞。
2. 将一个多面体曲面转换为NURBS曲面。
3. 将多个曲面片转换为整体曲面。
4. 将曲面转换为网格模型。
5. 将曲面转换为参数化曲面。
七、曲面特征与细节1. 在曲面上创建凹槽和凸台特征。
2. 利用曲面倒圆角命令,创建曲面间的过渡圆角。
3. 在曲面上添加装饰性图案。
4. 创建曲面上的加强筋。
5. 在曲面上阵列特征。
八、曲面动力学模拟1. 对曲面进行动力学分析,模拟水滴落在曲面上的效果。
2. 模拟曲面在风力作用下的变形情况。
3. 分析曲面在受到撞击时的应力分布。
UGNX6.0模拟试卷和答案一、单项选择题(每小题2分,共20分。
)1.下面图标中,哪一个是腔体的命令?【】A.B.C.D.2.下面图标中,哪一个是分型的命令? 【】A.B.C.D.3.UG系统最多可以设置______个图层。
【】A.64 B.128C.256 D.10244.下面图标中,哪一个是型腔设计的命令?【】A. B.C. D.5.在“建模”模块中,如果想平移零件该如何操作?【】A.鼠标中键(MB2) B.鼠标左键(MB1)+鼠标右键(MB3)C.鼠标左键(MB1)+鼠标中键(MB2)D.鼠标中键(MB2)+鼠标右键(MB3)6.UG曲线绘制的正多边形命令功能中,提供了3种确定正多边形的方式:即内接半径、______和外切圆半径。
【】A.内接直径B.正多边形的边数C.外切圆直径D.多边形周长7.“配置文件”绘制直线然后利用鼠标左键(MB1)切换成圆弧,此时将要绘制的圆弧和上一段直线的关系是【】A.只能切向 B.只能法向C.只能切向或法向D.可以任意8.在创建三维模型过程中,将两个或多个实体合并成一个实体的运算称为______运算。
【】A.布尔B.实体C.算术D.变换9.在UG的曲面造型中,已知条件为有纵横两组曲线,每一组内部曲线大致平行,纵横两组曲线之间大致正交,可采用扫描和______生成曲面。
【】A.通过曲线法B.直纹面C.通过曲线网格D.样条线法10.注塑模向导规定XC—YC平面是模具装配的______,坐标原点位于模架的动定模接触面的中心,+ZC方向为顶出方向。
【】A.辅助分型面B.主分型面C.分型方向D.坐标平面二、多项选择题(在每小题列出的四个备选项中至少有两个是符合题目要求的,请将其代码填写在题干后的括号内。
错选、多选、少选或未选均无分。
每小题2分,共20分。
)11.下列哪些属于CAD/CAM集成软件?【】A.CATIAB. PRO/EC.AUTOCADD.UG12.根据模型形状、材料的差异选择不同的收缩率。
ug产品练习题大全UG产品练习题大全UG产品是一种广泛应用于工程设计和制造领域的三维建模软件。
它提供了丰富的功能和工具,帮助工程师和设计师创建复杂的产品模型,并进行模拟和分析。
为了更好地掌握UG产品的使用技巧和提高工作效率,练习题是一种非常有效的学习方法。
本文将为大家介绍一些UG产品练习题,帮助读者更好地理解和掌握UG产品的使用。
1. 创建一个简单的零件模型首先,我们可以从一个简单的零件模型开始练习。
选择一个常见的零件,比如螺钉或齿轮,然后使用UG产品的建模工具创建一个三维模型。
尝试使用不同的建模方法和工具,比如实体建模和曲面建模,来创建这个零件模型。
在创建过程中,可以尝试使用UG产品提供的参数化建模功能,使得模型可以根据需要进行调整和修改。
2. 进行装配和运动分析在掌握了基本的零件建模技巧后,我们可以尝试进行装配和运动分析。
选择几个零件模型,然后使用UG产品的装配工具将它们组装在一起。
在装配过程中,可以使用约束和关系来定义零件之间的相对位置和运动。
完成装配后,可以进行运动分析,模拟零件的运动和相互作用。
这样可以更好地了解产品的设计和性能。
3. 进行模拟和分析UG产品不仅可以进行建模和装配,还可以进行模拟和分析。
选择一个复杂的零件模型,然后使用UG产品的模拟和分析工具进行分析。
比如,可以进行结构分析,模拟零件在受力情况下的变形和应力分布。
还可以进行流体分析,模拟流体在零件内的流动情况。
通过这些分析,可以评估产品的性能和安全性,并进行必要的改进和优化。
4. 进行工程图纸的绘制在完成零件的建模和分析后,我们可以使用UG产品的绘图工具进行工程图纸的绘制。
选择一个零件模型,然后使用UG产品的绘图功能创建相应的工程图纸。
在绘图过程中,可以添加尺寸和标注,以及其他必要的注释和说明。
完成后,可以输出为标准的CAD格式,方便与其他工程师和制造商进行交流和合作。
练习UG产品不仅可以提高我们的技术水平,还可以帮助我们更好地理解和掌握产品设计和制造的流程。
UG NX 练习题一、基础操作1. 如何在UG NX中新建一个零件文件?2. 如何在UG NX中打开一个已存在的零件文件?3. 如何在UG NX中保存当前编辑的零件文件?4. 如何在UG NX中撤销上一步操作?5. 如何在UG NX中重做上一步撤销的操作?6. 如何在UG NX中设置工作坐标系?7. 如何在UG NX中创建一个点?8. 如何在UG NX中创建一条直线?9. 如何在UG NX中创建一个圆?10. 如何在UG NX中创建一个矩形?二、草图绘制1. 如何在UG NX中创建一个草图平面?2. 如何在UG NX中绘制直线、圆、矩形等基本图形?3. 如何在UG NX中设置草图约束?4. 如何在UG NX中编辑草图几何体?5. 如何在UG NX中创建草图圆弧?6. 如何在UG NX中创建草图椭圆?7. 如何在UG NX中创建草图多边形?8. 如何在UG NX中创建草图文本?9. 如何在UG NX中创建草图尺寸标注?10. 如何在UG NX中创建草图几何关系?三、特征建模1. 如何在UG NX中创建拉伸特征?2. 如何在UG NX中创建旋转特征?3. 如何在UG NX中创建扫描特征?4. 如何在UG NX中创建混合特征?5. 如何在UG NX中创建孔特征?6. 如何在UG NX中创建倒角特征?7. 如何在UG NX中创建圆角特征?8. 如何在UG NX中创建拔模特征?9. 如何在UG NX中创建壳特征?10. 如何在UG NX中创建筋特征?四、装配设计1. 如何在UG NX中创建装配环境?2. 如何在UG NX中添加组件到装配体?3. 如何在UG NX中编辑组件的装配关系?4. 如何在UG NX中测量组件间的距离?5. 如何在UG NX中创建组件的装配约束?6. 如何在UG NX中编辑组件的装配位置?7. 如何在UG NX中创建组件的装配实例?8. 如何在UG NX中编辑组件的装配实例?9. 如何在UG NX中创建组件的装配阵列?10. 如何在UG NX中编辑组件的装配阵列?五、工程图绘制1. 如何在UG NX中创建工程图环境?2. 如何在UG NX中创建工程图视图?3. 如何在UG NX中设置工程图视图比例?4. 如何在UG NX中创建工程图尺寸标注?5. 如何在UG NX中创建工程图几何关系?6. 如何在UG NX中创建工程图文本标注?7. 如何在UG NX中创建工程图符号标注?8. 如何在UG NX中创建工程图表面粗糙度标注?9. 如何在UG NX中创建工程图公差标注?10. 如何在UG NX中创建工程图注释标注?六、高级功能1. 如何在UG NX中创建参数化设计?2. 如何在UG NX中创建关联设计?3. 如何在UG NX中创建曲面建模?4. 如何在UG NX中创建曲面分析?5. 如何在UG NX中创建曲面修整?6. 如何在UG NX中创建曲面过渡?7. 如何在UG NX中创建曲面倒圆角?8. 如何在UG NX中创建曲面倒角?9. 如何在UG NX中创建曲面拔模?10. 如何在UG NX中创建曲面分割?UG NX 练习题(续)七、曲面建模进阶1. 如何在UG NX中创建N边曲面?2. 如何在UG NX中创建边界曲面?3. 如何在UG NX中创建通过曲线的曲面?4. 如何在UG NX中创建通过点的曲面?5. 如何在UG NX中创建通过曲线和点的曲面?6. 如何在UG NX中创建曲面网格编辑?7. 如何在UG NX中创建曲面修剪?8. 如何在UG NX中创建曲面延伸?9. 如何在UG NX中创建曲面偏移?10. 如何在UG NX中创建曲面偏移复制?八、仿真分析1. 如何在UG NX中创建有限元分析(FEA)?2. 如何在UG NX中定义材料属性?3. 如何在UG NX中创建边界条件?4. 如何在UG NX中创建载荷条件?5. 如何在UG NX中创建约束条件?6. 如何在UG NX中设置分析求解器?7. 如何在UG NX中查看分析结果?8. 如何在UG NX中创建应力分析?9. 如何在UG NX中创建变形分析?10. 如何在UG NX中创建疲劳分析?九、数控编程1. 如何在UG NX中创建刀具路径?2. 如何在UG NX中设置刀具参数?3. 如何在UG NX中创建刀具路径模拟?4. 如何在UG NX中创建多轴加工刀具路径?5. 如何在UG NX中创建曲面加工刀具路径?6. 如何在UG NX中创建轮廓加工刀具路径?7. 如何在UG NX中创建孔加工刀具路径?8. 如何在UG NX中创建粗加工刀具路径?9. 如何在UG NX中创建精加工刀具路径?10. 如何在UG NX中创建多任务加工刀具路径?十、高级装配与仿真1. 如何在UG NX中创建虚拟装配?2. 如何在UG NX中创建装配干涉检查?3. 如何在UG NX中创建运动仿真?4. 如何在UG NX中创建动力学仿真?5. 如何在UG NX中创建热分析?6. 如何在UG NX中创建流体动力学分析?7. 如何在UG NX中创建电磁场分析?8. 如何在UG NX中创建声学分析?9. 如何在UG NX中创建疲劳寿命分析?10. 如何在UG NX中创建复合材料分析?十一、数据管理和协作1. 如何在UG NX中导入和导出CAD文件?2. 如何在UG NX中管理设计变更?3. 如何在UG NX中创建和编辑设计历史?4. 如何在UG NX中创建设计版本?5. 如何在UG NX中协同工作?6. 如何在UG NX中设置权限和访问控制?7. 如何在UG NX中创建和编辑项目?8. 如何在UG NX中创建和编辑任务?9. 如何在UG NX中创建和编辑文档?10. 如何在UG NX中创建和编辑报告?UG NX 练习题(续)十二、用户界面与定制1. 如何在UG NX中自定义工具栏?2. 如何在UG NX中设置快捷键?3. 如何在UG NX中配置用户界面布局?4. 如何在UG NX中设置系统选项?5. 如何在UG NX中管理用户设置?6. 如何在UG NX中创建自定义模板?7. 如何在UG NX中导入和导出自定义设置?8. 如何在UG NX中创建和编辑宏?9. 如何在UG NX中录制和回放宏?10. 如何在UG NX中设置宏运行环境?十三、数据交换与集成1. 如何在UG NX中导入STL文件?2. 如何在UG NX中导入IGES文件?3. 如何在UG NX中导入 Parasolid 文件?4. 如何在UG NX中导入STEP文件?5. 如何在UG NX中导入DXF/DWG文件?6. 如何在UG NX中导入CATIA V5文件?7. 如何在UG NX中导入Pro/ENGINEER文件?8. 如何在UG NX中导入SolidWorks文件?9. 如何在UG NX中集成第三方插件?10. 如何在UG NX中与其他CAD/CAM/CAE软件进行数据交换?十四、高级曲面设计1. 如何在UG NX中创建自由曲面?2. 如何在UG NX中创建扫描曲面?3. 如何在UG NX中创建混合曲面?4. 如何在UG NX中创建边界曲面网格?5. 如何在UG NX中创建曲面倒圆角?6. 如何在UG NX中创建曲面倒角?7. 如何在UG NX中创建曲面偏移?8. 如何在UG NX中创建曲面修剪?9. 如何在UG NX中创建曲面延伸?10. 如何在UG NX中创建曲面分割?十五、高级加工技术1. 如何在UG NX中创建多轴加工路径?2. 如何在UG NX中创建曲面加工路径?3. 如何在UG NX中创建轮廓加工路径?4. 如何在UG NX中创建孔加工路径?5. 如何在UG NX中创建粗加工路径?6. 如何在UG NX中创建精加工路径?7. 如何在UG NX中创建多任务加工路径?8. 如何在UG NX中创建刀具路径优化?9. 如何在UG NX中创建刀具路径模拟?10. 如何在UG NX中创建刀具路径后处理?十六、高级仿真与测试1. 如何在UG NX中创建动态仿真?2. 如何在UG NX中创建运动仿真?3. 如何在UG NX中创建疲劳寿命仿真?4. 如何在UG NX中创建热仿真?5. 如何在UG NX中创建流体动力学仿真?6. 如何在UG NX中创建声学仿真?7. 如何在UG NX中创建电磁场仿真?8. 如何在UG NX中创建复合材料仿真?9. 如何在UG NX中创建测试脚本?10. 如何在UG NX中分析仿真结果?UG NX 练习题(续)十七、高级编程与自动化1. 如何在UG NX中使用Python进行宏编程?2. 如何在UG NX中使用UGScript进行编程?3. 如何在UG NX中创建自定义函数库?4. 如何在UG NX中编写自动化脚本?5. 如何在UG NX中调用外部程序?6. 如何在UG NX中集成API进行二次开发?7. 如何在UG NX中创建自定义工具和菜单?8. 如何在UG NX中自动化设计流程?9. 如何在UG NX中创建批量处理脚本?10. 如何在UG NX中优化宏执行效率?十八、高级项目管理1. 如何在UG NX中创建项目模板?2. 如何在UG NX中分配项目任务?3. 如何在UG NX中跟踪项目进度?4. 如何在UG NX中管理项目文档?5. 如何在UG NX中设置项目权限和访问控制?6. 如何在UG NX中创建项目报告?7. 如何在UG NX中集成项目管理工具?8. 如何在UG NX中协调跨部门项目?9. 如何在UG NX中评估项目风险?10. 如何在UG NX中优化项目资源分配?十九、高级用户支持与培训1. 如何在UG NX中提供用户支持?2. 如何在UG NX中编写用户手册和教程?3. 如何在UG NX中创建在线培训课程?4. 如何在UG NX中评估用户培训需求?5. 如何在UG NX中设计培训课程内容?6. 如何在UG NX中组织培训研讨会?7. 如何在UG NX中评估培训效果?8. 如何在UG NX中提供远程技术支持?9. 如何在UG NX中创建知识库?10. 如何在UG NX中管理用户反馈?二十、高级曲面修复与优化1. 如何在UG NX中修复曲面缺陷?2. 如何在UG NX中优化曲面质量?3. 如何在UG NX中平滑曲面过渡?4. 如何在UG NX中去除曲面噪声?5. 如何在UG NX中修复曲面间隙?6. 如何在UG NX中修复曲面孔洞?7. 如何在UG NX中修复曲面裂缝?8. 如何在UG NX中优化曲面网格?9. 如何在UG NX中调整曲面参数?10. 如何在UG NX中创建高质量曲面模型?答案:一、基础操作1. 在UG NX中,通过菜单栏的“文件”>“新建”或使用快捷键Ctrl+N来创建一个零件文件。
经典ug练习题UG(Unigraphics)是一款广泛应用于工程设计和制造的三维计算机辅助设计(3D CAD)软件。
因其强大的功能和广泛的应用而备受业界关注。
为了提高UG的使用技能,下面将介绍几个经典的UG练习题,帮助您快速熟悉UG的操作和功能。
1. 创建一个立方体步骤:1. 打开UG软件,创建一个新的零件文件。
2. 选择“绘制”菜单下的“立方体”命令。
3. 在绘图平面上选择一个起点,然后输入立方体的长度、宽度和高度。
4. 点击确定,即可创建一个立方体。
2. 绘制一个样条曲线步骤:1. 打开UG软件,创建一个新的零件文件。
2. 选择“绘制”菜单下的“样条曲线”命令。
3. 在绘图平面上选择一个起点和终点,然后通过调整曲线控制点来绘制出所需的样条曲线。
4. 点击确定,即可完成样条曲线的绘制。
3. 创建一个组件阵列步骤:1. 打开UG软件,创建一个新的装配文件。
2. 选择“编辑”菜单下的“组件模式”命令。
3. 在装配文件中选择一个已有的零件或组件,然后点击“新建”来创建一个组件阵列。
4. 输入阵列的个数、间距和方向等参数,点击确定,即可完成组件阵列的创建。
4. 进行零件装配步骤:1. 打开UG软件,创建一个新的装配文件。
2. 选择“装配”菜单下的“插入零件”命令。
3. 选择要插入的零件文件,并指定插入的位置和方向。
4. 重复上述步骤,插入其他需要装配的零件。
5. 使用“约束”命令来对零件进行约束,确保其之间的位置和运动关系。
6. 完成零件的装配后,保存并进行模拟或生成工程图等后续操作。
以上是几个经典的UG练习题,通过不断进行练习和实践,您可以逐渐掌握UG软件的使用技巧和操作方法。
UG作为一款功能强大的CAD软件,广泛应用于各个行业中的产品设计和制造过程中。
在工程设计方面,UG可以帮助工程师进行三维建模、装配分析、运动仿真等工作,提高产品设计的效率和质量。
同时,通过UG生成的工程图可以作为制造工艺的依据,帮助制造工人理解和实施工程设计。
ug练习题高清UG练习题始终是学习UG软件的重要环节之一。
通过做练习题,我们能够更加熟悉软件的操作,提高我们的设计能力。
在本文中,我们将介绍一些UG练习题,并提供高清图片展示,帮助读者更加清晰地理解问题和解决方案。
1. 立体图形绘制在UG软件中,绘制各种立体图形是一个基本的技能。
我们可以从简单的立方体或球体开始,逐渐增加难度,练习绘制更加复杂的立体图形。
以下是一个练习题的示例:题目:绘制一个长方体,宽度为10mm,长度为20mm,高度为15mm。
然后在长方体的一个面上绘制一个直径为5mm的圆。
解决方案:- 使用草图功能绘制一个10mm×20mm的矩形草图,然后使用拉伸命令将其拉伸到15mm的高度。
- 在矩形的一个面上绘制一个5mm直径的圆。
可以使用圆形草图或圆柱体命令实现。
下图是练习题的高清效果图:[插入图片:长方体和圆的图示]2. 零件装配UG软件还支持零件的装配功能,可以将多个零件组合在一起,并进行调整和关联。
下面是一个零件装配的练习题示例:题目:组装一个简单的机械组件。
包括一个底座、一个立柱和一个平台。
底座上有一个圆形孔,立柱可以插入该孔,并通过螺纹连接。
平台可以放在立柱的顶部。
解决方案:- 先绘制底座,包括一个圆形孔。
- 绘制立柱,包括与底座孔相匹配的圆柱体。
- 绘制平台,并调整其位置与立柱相对应。
- 使用螺纹命令将立柱与底座连接。
下图是练习题的高清效果图:[插入图片:零件装配图示]通过完成这些练习题,我们可以逐步熟悉UG软件的各项功能,并提高我们的设计水平。
无论是绘制立体图形还是零件装配,我们都可以通过练习题来不断巩固和提升自己的技能。
希望这些练习题和高清效果图能够帮助读者更好地理解和运用UG 软件。
在学习过程中,我们还可以根据实际需求自行设计练习题,不断挑战自己的技术和创造力。
加油,成为UG大师!。
《产品三维造型与设计》UG NX考试试卷B考试时间:120分钟姓名:考号:一、选择题(每小题2分)计:20分1、约束就是精确的控制草图中的对象,约束分为:( ) (此题为多选题)A:尺寸约束 B:几何约束C:自由度约束 D:完全约束2、扫描特征操作生成的体可以为( )。
A:实体 B:片体 C:实体或片体 D:体素3、在创建边缘倒圆特征时,可以应用( )从边缘集中取消选择某一边缘。
()A:Shift B:Shift+MB1 C:MB1 D:Shift+MB24、以下特征不需要选择水平参考的是( )A:圆柱腔 B:U型键槽 C:矩形键槽 D:燕尾槽5、以下是扫描特征的是:( )A:长方体(Block) B:孔 (Hole) C:圆台(BOSS) D:软管(tube)6、如果选择作缝合操作的片体形成一个封闭的容积,则缝合操作将 ( )。
A:创建多个片 B:操作失败C:创建一个片体 D:创建一个实体7、以下哪个是轮廓线(Profile)命令所不能创建的:( )A:直线 B:样条 C:圆弧 D:与直线相切的圆弧8、设计特征(如凸台)是相对于()建立的:( )A:其父特征 B:模型空间 C:草图 D:基准9、在缺省情况下,以下哪种方法不能完成草图(退出草图环境):( ) A:从下拉式菜单按以下路径选择【草图→完成草图】B:激活另一个草图C:使用快捷键命令:Ctrl+QD:键ESC键退出草图10、对于大多数设计特征,安放表面必须是( )。
A:凸表面 B:圆柱面 C:圆锥面 D:平表面二.绘制二维平面图(计:35分)1.绘制如图1所示的二维图形。
(计:15分)图1 二维平面图2.绘制如图2所示的平面图形。
(20分)图2 二维平面图三.创建三维实体模型1.根据给出的弯头零件图,如图3所示。
创建该零件的三维立体模型。
(计20分)图3 弯头零件图2.按图4所示的零件图,创建该零件的三维立体模型。
(计25分)图4 零件图。
一、三维实体建模练习
练习1根据给出的零件图1,创建该零件的三维模型。
三维实体模型注:选择底面为抽壳面,抽壳厚度为2。
未注圆角R=0.5。
图1零件图
练习2根据给出的零件图2,创建该零件的三维模型。
三维零件图
图2零件图
1
练习3根据给出的零件图3,创建该零件的三维模型。
注:未注圆角为R2,倒斜角为C1。
三维零件图
图3零件图
练习4根据给出的零件图4,创建该零件的三维模型。
注:未注倒斜角C1
图4零件图三维零件图
2
练习5根据给出的零件图5,创建该零件的三维模型。
注:未注倒斜角为C1。
图5零件图三维零件图
练习6根据给出的零件立体图6,创建该零件的三维模型。
注:未注圆角为R2,倒斜角为C1。
图6三维立体图三维实体模型图
3
二、创建曲面
练习1按照给出图7创建曲面造型。
曲面造型
图7
练习2按照给出图8创建曲面造型。
图8曲面造型
4
练习3按照给出图9创建曲面造型。
图9曲面造型
练习4按照给出图10创建曲面造型。
三维实体模型
图10
5
练习5按照给出图11创建曲面造型。
图11三维零件模型图
注:抽壳厚度为2;圆角半径R5和R1
练习6按照给出图12创建曲面造型。
曲面造型
图12
6
练习7按照给出图13创建曲面造型。
图13零件图
练习8按照给出图14创建曲面造型。
图14曲面造型
7。
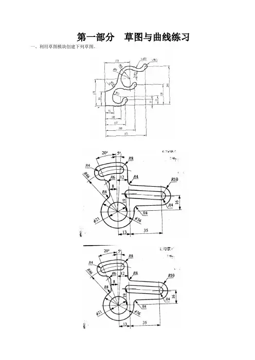
第一部分草图与曲线练习一、利用草图模块创建下列草图。
二、利用空间曲线创建下列曲线图形。
第二部分轴套类零件建模练习完成下面轴类零件的实体建模并创建相应的工程图。
第三部分盘盖类零件建模练习完成下面盘类零件的实体建模并创建相应的工程图。
第四部分叉架类零件建模练习完成下面叉类零件的实体建模并创建相应的工程图。
第五部分箱体类零件建模练习完成下面箱类零件的实体建模并创建相应的工程图。
第六部分曲面建模练习利用曲面和曲线功能完成下面零件的实体建模。
ug建模练习题UG建模练习题UG建模是一种常用于工程设计和制造的三维建模软件。
它具有强大的功能和灵活的操作方式,被广泛应用于航空航天、汽车制造、机械制造等领域。
在UG 建模的学习过程中,练习题是提高技能和熟练度的重要途径。
本文将介绍一些UG建模练习题,并探讨其对于提高建模能力的作用。
首先,UG建模练习题可以帮助学习者熟悉软件的操作界面和基本功能。
UG建模软件拥有复杂的界面和众多的工具栏,初学者往往感到头疼。
通过练习题,学习者可以逐步了解各个工具的作用,并熟悉它们的使用方法。
例如,练习题可以要求学习者使用线条工具绘制一个简单的几何图形,然后再使用实体建模工具将其转化为三维实体。
通过这样的练习,学习者可以逐渐熟悉软件的操作方式,提高自己的建模能力。
其次,UG建模练习题可以锻炼学习者的建模思维和创造力。
建模是一项需要创造力和思维能力的工作。
在面对一个实际的设计问题时,学习者需要能够将问题抽象化,分析其特点和要求,然后选择合适的建模方法和工具进行建模。
练习题可以模拟实际的设计问题,要求学习者根据给定的条件和要求进行建模。
例如,练习题可以要求学习者设计一个汽车零部件,要求具有一定的结构强度和装配性能。
学习者需要考虑零部件的形状、尺寸、材料等因素,并选择合适的建模方法和工具进行建模。
通过这样的练习,学习者可以锻炼自己的建模思维和创造力,提高解决实际问题的能力。
另外,UG建模练习题可以帮助学习者掌握建模技巧和方法。
UG建模软件拥有丰富的建模工具和功能,学习者需要掌握这些工具和功能的使用方法。
练习题可以要求学习者使用特定的建模工具和功能进行建模,例如,使用曲面建模工具绘制一个复杂的曲面,使用装配工具进行零部件的装配等。
通过这样的练习,学习者可以熟悉各种建模工具和功能的使用方法,掌握建模技巧和方法。
此外,UG建模练习题还可以培养学习者的团队合作和沟通能力。
在实际的工程设计和制造中,建模往往是一个团队合作的过程。
团队成员需要相互配合,共同完成建模任务。
UG曲面练习题作者:无维网题库
1、UG曲面练习题之螺旋消失面练习题目——By cmq85103螺旋消失面
别版的老题拿来UG做做
要求:
1,G1以上连续
2,可以加厚
3,限NX软件,因为别的版块已经做过了并有教程
2、UG曲面练习题之曲面造型练习题目——By 时光来个曲面题目有点难
题目要求:
1.曲面一定要通过我提供IGS
2.所有曲面要求G1以上顺接;
3.上传斑马分析纹
3、UG曲面练习题之ZT四环相切——By 内六角螺钉
题目名称:四环相切(限UG NX)
题目要求:四环要相同大小彼此相切,尺寸自己定,要求参数化,可改变圆环直径,圆直径
题目来源:ICAX论坛
截止日期:随时
加分规则:10分以下加2分真气50,10分以上加1分,真气25
贴动画,上传压缩加密的PRT文件,密码站内短信息 to me.
4、UG曲面练习题之六角海星补面——By mychang 六角海星补面
如图所示补面
贴图上斑马分析,至少三个视图
1.过渡完美,加1分
2.三步做出,过渡完美,附模型树,如下图,加2分希望版主支持~~
5、UG曲面练习题之曲面上垂直插针——By 秋风红叶
要求:
1.用提供的IGS,作出如图2的效果
2.针尖需在提供的点上,且针轴线必需通过该点法向面的轴上
3.贴上图片,做法PM秋风
4.符合上述要求者+二分.
有关更多的UG曲面练习题和练习题解答教程及视频,读者可以到无维网()搜索和查阅。
ugnx练习题基础UGNX(Unigraphics NX)是一款强大的三维模型设计软件,广泛应用于工业设计、机械设计等领域。
熟练使用UGNX是现代工程师的必备技能之一。
为了帮助大家熟悉UGNX软件的基本操作,以下将为大家提供一些UGNX练习题,帮助大家加深对UGNX的理解与应用。
1. 创建一个新零件打开UGNX软件,选择“文件”-“新”-“零件”创建一个新的零件。
在弹出的对话框中,选择合适的单位和坐标系,点击“确定”。
2. 绘制一个简单图形在新零件中创建一个平面,可以选择“绘图”-“直线”工具,在工作区上绘制一条直线。
接着使用“圆弧”工具绘制一个圆弧,将直线与圆弧连接起来。
再使用“圆”工具在直线和圆弧的交点处绘制一个圆。
3. 裁剪图形选择“编辑”-“剪切”工具,将图形中的一部分裁剪掉,然后用“剪切”工具将原图形的一部分复原。
4. 创建孔特征使用“圆柱体”工具创建一个圆柱体,然后选择“修改”-“细节功能”-“孔特征”工具,在圆柱体上创建一个孔洞。
5. 应用材料属性选择“解析”-“通用”-“材料属性”工具,在工作区中选择一个对象,然后选择一个适当的材料属性应用到该对象上。
6. 创建装配选择“文件”-“新”-“装配”,在新的装配中导入零件,然后将零件正确组装在一起。
7. 设定装配约束在装配中,选择“约束”工具,选择两个需要约束的对象,设置合适的约束类型,比如平行、垂直等。
8. 生成制图完成装配后,选择“绘图”-“创建制图”工具,根据需要生成正确的工程制图,包括视图、标注和标志等。
9. 进行工程分析选择“分析”-“运行分析”工具,进行力学、热学等方面的工程分析,得到相应的结果。
10. 导出文件完成所有设计和分析后,选择“文件”-“导出”工具,将设计的模型导出为其他格式的文件,比如STEP、IGES等。
以上是一些UGNX练习题的基础内容。
通过这些练习题,您可以熟悉UGNX软件的基本操作,了解UGNX的各项功能和特性。
UGNX练习题一、基础操作类1.1 选择与过滤1. 请使用过滤器选择所有圆柱体特征。
2. 请使用选择球面工具选择所有球面特征。
3. 请使用选择边工具选择所有曲线边。
4. 请使用选择面工具选择所有平面。
1.2 基准特征1. 创建一个基准平面,使其平行于XY平面,距离原点10mm。
2. 创建一个基准轴,使其垂直于基准平面,通过原点。
3. 创建一个基准点,位于基准平面和基准轴的交点。
1.3 基础建模1. 创建一个长方体,长100mm,宽50mm,高20mm。
2. 创建一个圆柱体,直径30mm,高50mm,底面中心与长方体底面中心对齐。
3. 创建一个球体,直径40mm,球心位于圆柱体顶面中心。
4. 创建一个圆锥体,底面直径50mm,顶面直径20mm,高60mm,底面中心与长方体底面中心对齐。
二、特征操作类2.1 布尔操作1. 将圆柱体与长方体进行布尔求和操作。
2. 将球体从布尔求和后的实体中减去。
3. 将圆锥体与布尔求和后的实体进行布尔求和操作。
2.2 特征变换1. 对长方体进行镜像操作,以YOZ平面为镜像平面。
2. 对圆柱体进行旋转操作,旋转角度为45度,旋转中心为原点。
3. 对圆锥体进行平移操作,沿X轴方向平移50mm。
2.3 特征编辑1. 修改长方体的高度为30mm。
2. 修改圆柱体的直径为40mm。
3. 修改圆锥体的底面直径为60mm。
三、曲面建模类3.1 曲面创建1. 创建一个矩形平面,长200mm,宽100mm。
2. 创建一个圆形平面,直径100mm。
3. 创建一个N边曲面,边数为6,每边长度为50mm。
3.2 曲面操作1. 将矩形平面沿Z轴方向拉伸50mm。
2. 将圆形平面沿Z轴方向拉伸100mm。
3. 将N边曲面进行修剪,使其与矩形平面和圆形平面相切。
四、装配类4.1 零件装配1. 创建一个螺栓零件,直径10mm,长度50mm。
2. 创建一个螺母零件,直径15mm,厚度10mm。
3. 将螺栓与螺母进行装配,螺栓穿过长方体顶面,螺母位于长方体底面。
ug编程练习题(打印版)### UG编程练习题(打印版)练习一:基础建模1. 创建一个长方体:尺寸为 100mm x 200mm x 50mm。
2. 添加一个圆柱体:直径为 30mm,高度为 80mm,放置在长方体的中心。
3. 创建一个球体:直径为 40mm,放置在圆柱体的顶部。
练习二:复杂建模1. 创建一个圆锥体:底面直径为 60mm,高度为 100mm。
2. 在圆锥体的侧面添加一个螺旋线:螺旋线应从圆锥体的底部开始,向上螺旋至顶部。
3. 在圆锥体顶部添加一个半球体:直径与圆锥体底面相同。
练习三:参数化设计1. 创建一个参数化长方体:长、宽、高分别用参数 L、W、H 表示。
2. 创建一个参数化圆柱体:直径用参数 D 表示,高度用参数 H 表示。
3. 根据参数化长方体的尺寸,自动调整圆柱体的直径和高度。
练习四:特征操作1. 创建一个长方体:尺寸为 150mm x 300mm x 75mm。
2. 在长方体上添加一个凸台:凸台尺寸为 50mm x 100mm,高度为25mm。
3. 在长方体的另一侧添加一个凹槽:凹槽尺寸与凸台相同,深度为15mm。
练习五:装配体设计1. 创建一个电机模型:包括电机外壳、转子和定子。
2. 创建一个减速器模型:包括减速器外壳和齿轮。
3. 将电机模型和减速器模型装配在一起,确保齿轮能够正确啮合。
练习六:数控加工1. 创建一个平面:尺寸为 200mm x 300mm。
2. 在平面上设计一个简单的数控加工路径:路径应包括直线、圆弧和螺旋线。
3. 编写数控程序:程序应能够控制机床按照设计的路径进行加工。
练习七:模具设计1. 创建一个塑料瓶模型:包括瓶体和瓶盖。
2. 为塑料瓶设计一个注塑模具:模具应能够分模并确保塑料瓶能够顺利脱模。
3. 考虑模具的冷却和排气系统:确保模具在注塑过程中能够正常工作。
练习八:仿真分析1. 创建一个简单的机械臂模型:包括臂杆和关节。
2. 进行运动学仿真:模拟机械臂的运动过程,分析其运动轨迹。
螺旋线、直纹命令
一、新建绘图文件,使用螺旋线命令,分别绘制两段
螺旋线,圈数、螺距、半径分别是0.1、70、100
和0.1、70、20,效果如图所示
二、使用直纹命令,分别选取上图所绘制的两根直线,
效果如图所示
三、使用草绘命令,选取一个面进行草绘,绘制一个直径为50的圆,效果如图所示
四、使用拉伸命令,对圆进行拉伸,拉伸高度为10,效果如图所示
五、使用加厚命令,对扇叶进行加厚,厚度为2毫米,
使用倒圆角命令对其进行倒圆角,半径分别为10和10毫米,效果如图所示
七、使用WCS命令,移动坐标点,建立基准平面,效
果如图所示
八、在基准平面上绘制曲线,效果图所示
六、使用回转命令,对曲线进行实体创建,效果如图
所示
七、使用变换命令,对扇叶进行阵列和复制,角度为
60,个数为6个,效果如图所示
八、使用求和命令对其进行求和,求和完成之后,使用抽壳命令进行抽壳,抽壳厚度为3毫米,效果如图
所示
九、使用草绘命令,在壳体的中心处绘制一个直径为8的中心圆,绘制一个直径为31的定位圆,绘制一个为4的圆,使用实例特征命令对直径为4的圆进行阵列和复制,效果如图所示。
一、三维实体建模操练之青柳念文创作
操练1根据给出的零件图1,创建该零件的三维模子.
三维实体模子
注:选择底面为抽壳面,抽壳厚度为2. 未注圆角R=0.5.
图1 零件图
操练2根据给出的零件图2,创建该零件的三维模子.
三维零件图
图2 零件图
操练3根据给出的零件图3,创建该零件的三维模子.
注:未注圆角为R2,倒斜角为C1.
三维零件图
图3 零件图
操练4根据给出的零件图4,创建该零件的三维模子.
注:未注倒斜角C1
图4 零件图三维零件图
操练5根据给出的零件图5,创建该零件的三维模子.
注:未注倒斜角为C1.
图5 零件图三维零件图
操练6 根据给出的零件平面图6,创建该零件的三维模子.
注:未注圆角为 R2,倒斜角为C1.
图6 三维平面图三维实体模子图
二、创建曲面
操练1 依照给出图7创建曲面造型.
曲面造型
图7
操练2依照给出图8创建曲面造型.
图8 曲面造型
操练3依照给出图9创建曲面造型.
图9 曲面造型
操练4依照给出图10创建曲面造型.
三维实体模子
图10
操练5依照给出图11创建曲面造型.
图11 三维零件模子图
注:抽壳厚度为2 ;圆角半径R5和R1
操练6依照给出图12创建曲面造型.
曲面造型
图12
操练7 依照给出图13创建曲面造型.
图13 零件图
操练8依照给出图14创建曲面造型.
图14 曲面造型。