钳工锉配实例探讨
- 格式:doc
- 大小:219.00 KB
- 文档页数:9
锉削教学案例一、案例背景钳工实训课程是机械专业的学生在实训中需要学习的课程。
本课程是在《机械制图》,《极限配合》等课程的基础上,进行学习的一门专业课程。
它不仅为学生继续提升专业技能打下基础,而且为学生考取资格证书做辅助。
在具体设计过程中,围绕工作任务完成的需要来选择和组织课程内容,突出任务与知识的联系,让学生在职业实践活动的基础上掌握知识,增强课程内容与职业岗位能力要求的相关性,提高学生的独立思考和实践动手能力。
二、学情分析与思考学生在对待自己感兴趣的事物或课题时,有较强的模仿能力和丰富的想象力。
本节课的螺母加工在原有的基础知识基础上培养学生的自主学习能力,在案例为主线、教师为主导、以学生为主体。
将有助于开拓学生的创新思维和应变的能力。
培养学生的自主学习能力结合动手操作的教学内容,会对学生产生较大的吸引力,从而能够充分调动学生的学习积极性和参与热情,从而达到该课堂的教学目的。
三、教学目标1、专业能力目标:熟练掌握钳工各项操作技能2、方法能力目标:具有正确理解工作任务、制定工作计划的能力;3、社会能力目标:培养学生的沟通能力和团队协作精神;四、项目过程实施在这个过程中,我们希望通过“先做后学”、“边做边学”、“分组互学”、“全员互动”、“师生合作”等模式,实现对学生专业技能能力培养、方法能力和社会能力培养的目标。
企业员工安全文化素质,也是企业得以生存和发展的重要因素,因此,必须首先向学生提出安全文明实训的注意事项,养成安全实训(生产)的好习惯。
做好情感的投入,做到“有问必答、以身示范”,同时也注意设定情景,创造气氛,让那些兴趣高、有技术潜质的同学尽快表现出来。
同时,让每一个学生都能尽情地展现自己“学习主体”的风采,让孩子们“和谐愉快”的学习,从中享受学习过程的快乐和满足。
实训过程,采取分组、集中、再分组、再集中的“分散+集中”训练方式进行。
1、按照事先分组(4人),集中安排钳台在分组的过程中,由学生们提出自由组合,民主选举组长,无须老师点派。
O U TI O N职业实习课堂化教学模式,已在我校全面推行。
我校推行实习教学课堂化,主要从组织教学、入门指导、巡视指导、结束指导四个教学环节入手。
同时,在实施过程中,针对目前我校理论教学与实习教学不同步的特点,在实习期间,安排每周两次实习理论课教学,为实习学生提供了必要的专业理论基础知识,实习效果较明显。
实践证明,课堂化教学是实习教学的最佳组织形式。
为了进一步推广和巩固我校实习教学改革成果,笔者以钳工锉削课题训练为实例,浅谈实习课堂化教学模式在我校的推行情况。
锉削技能训练的教学目的及任务,一是使学生知道锉削是在机械加工过程中必不可少的加工工序;二是使学生掌握锉削的基本要领、动作及方法。
具体实施是:一、组织教学(10分钟)组织教学过程,在我校主要以推行“早训”制度来完成,主要完成以下事项:1.学生在操场集中整队,师生相互问候。
2.检查出勤情况。
3.检查学生装束(工作服、工作帽、鞋等)是否整齐,是否符合安全实习要求。
4.宣布当天实习教学内容、任务及安全注意事项。
5.进入实训教室。
二、入门指导(60分钟)1.检查复习。
检查复习的目的在于引导学生应用已学过的理论知识和操作技能,加强新旧知识和操作技能的联系,用以指导新课的实践。
检查复习的方法主要采用提问法、作业分析法和讲述法。
若采用提问法,提问的内容可结合实习理论课已学的内容。
如提问:锉好平面的基本要领是什么?顺向锉、交叉锉、推锉这三种锉法各有何优点?怎样正确使用?2.讲解新课及演示。
(1)工作的夹持。
(2)锉钳工锉削课题训练实例——浅谈实习教学课堂化模式的推行与实践郭强(湖北十堰职业技术(集团)学校湖北十堰442012)削姿势。
包括锉刀的握法、锉削姿势、锉削力的运用和锉削速度、平面的锉削、锉削的安全技术等五个方面内容。
(3)示范演示(20分钟)。
在上述讲解时,边讲解、边演示,最后再从头至尾演示一次。
示范演示重点应放在锉刀的握法和锉削姿势上。
①挫刀的握法示范演示。
浅析钳工锉配技能竞赛训练的方法获奖科研报告摘要:钳工锉配技能是中职院校机械专业技能实训过程中重要的组成部分,更是培养高质量、高技能、高素质人才的重要手段。
但在实习教学过程中,钳工技能训练强度大,学生训练目的性弱,加上训练内容过于简单枯燥,尤其对于锉配训练,操作难度过大、知识繁多复杂,加上教师纯理论的知识讲授法,课堂教学难免沉闷枯燥,长此以往,就会大大降低学生学习兴趣,打击学生学习积极性。
在实际生产中,锉配应用范围十分广泛,如日常生活中匹配钥匙,工业生产与修理中配键,制作专用检具、各种样板,各种机械设备制造、调试与修理等,都无法离开锉配技能而存在。
锉配应用范围十分广泛,形式灵活多样,是钳工技能教学重要的课题,因此,如何提高学生锉配技能水平已成了目前中职教师共同探讨的话题。
关键词:钳工锉配技能竞赛训练方法策略所谓锉配即锉削配作,是用锉削方法令两个及以上的互配零件达到规定配合精度操作。
它曾广泛运用于各种模具制造业的装配与维修中,现代制造行业对零件加工标准化程度、自动化程度和零件制作精度要求都大幅度提高。
虽然模具装配过程中极少用到锉削配作,但是在模具维修和模具制造过程中仍然会用到错配技能,而且锉配制作会运用到钳工基本技能和测量技术等综合技术,使零件达到产家规定尺寸、形状和配合要求。
因此,在钳工技能等级考核中常以锉削配件作为考核标准之一,锉削配作仍是一项重要的钳工操作技能。
基于此,下面主要探讨钳工锉配技能竞赛训练的方法,以培养学生的实践技能。
一、循序渐进,因势利导锉配是一种专业性较强的操作性技能,在学习过程中切忌急功近利,这就要求教师在引导学生进行锉配学习的过程中充分尊重学生的学习特征,循序渐进,根据不同学生的学习方式和掌握知识的能力进行分层教学,根据个人不同的技能操作水平充分挖掘每个人的优势所在,让他们充分认识到自己的优势从而鼓舞学生,让学生对锉配这门技能型的学习产生兴趣,燃起学习热情,在技能竞赛中取得优异成绩。
浅谈提高钳工锉配技能的方法在实习教学过程中,钳工操作技能训练劳动强度大,学生训练的目的性不强,加上训练内容单一、枯燥、特别是对于锉配训练,学生的积极性不高,教学难以取得很好的效果。
而在社会生产中,锉配的应用十分广泛.例如,日常生活中的配钥匙,工作生产和修理中的配键,制作各种样板、专用检具,各种机器设备的制造、装配、调试修理等,都离不开锉配的技能与技巧,锉配应用广泛,形式多样、灵活,而且是钳工等级鉴定中最重要的课题,因此提高学生的锉配技能水平是十分重要的。
笔者认为,使学生熟练掌握锉配技能,具有十分重要的意义。
下面笔者就如何提高学生的钳工锉配技能,提出自己的一些看法.一、了解锉配类型1.按其配合形式不同分类锉配可分为平面锉配、角度锉配、圆弧锉配和上述三种锉配形式组合在一起的混合式锉配。
2.按其种类不同分类(1)口配合。
锉配件可以面对面地修整配合,一般多为对称工件,可以翻转配合,正反配均达到配合要求(见图1双直角锉配)。
(2)半封闭配合。
像燕尾槽配合一样,只能从材料的一个方向插进去,一般要求翻转配合,正反均达到配合要求(见图2燕尾锉配)。
(3)全封闭配合。
把工件嵌装在封闭的形体内,一般要求多方位多次翻转配合,均达到配合要求(见图3正五边形)。
(4)不见面配合。
工件不能面对面修配,也不能从一个材料的一个方向插进去,只能在工件单独锉削完成后,由他人在检查时锯下,判断配合是否达到规定要求(见图4拐角不见面锉配).(5)多件配。
多个配合件组合在一起的锉配,要求相互翻转、变换配合件中的任一件的一定位置,均能达到配合要求。
(6)旋转配。
旋转配合件,多次在不同规定位置均能达到配合要求。
全封闭配合例图三正五边形可以进行配合.3按锉配的精度要求分类(1)初级精度要求。
锉配形式简单一般多以两件工件配合的形式出现,相当于初级工的水平,经常在锉配初级期时练习.配合间隙在0.04~0。
06mm,表面粗糙度Ra≦3.2um,各加工方面:口、⊥、∥均≦0。
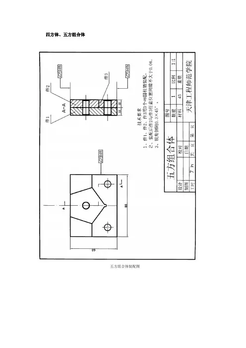
四方体、五方组合体五方组合体装配图五方组合体件1五方组合体件2五方组合体件3五方组合体配分表1.参考工艺(1)加工件21)首先钻铰ø8H7,选择合适的芯轴装入孔中,使其配合间隙为最小。
及180°±2′ 20尺寸的加工方法如图10所示,将被加工平面放 2)加工200.003置于平板上,对芯轴上素线进行测量(厚度两侧要同时进行测量),旋转5次锉削该加工平面直至达到尺寸精度要求。
加工尺寸时同时要通过正弦规保证角度值。
(2)加工件1与件3外形尺寸,不但要保证尺寸精度及较高的位置精度,还要保证件1与件3的80尺寸一致,目的是配作孔时利于精度的保证。
1)加工件1下端两孔的图10 加工示意图其中一孔,要保证两个方向尺寸误差控制在±0.05以内。
2)配作件3的孔①用精密平口钳对80方向上进行夹紧,用0级刀口直角尺对两件侧面进行调整,使两件的侧面对齐后紧固平口钳。
②用ø8中心钻配钻件3孔,只需将件3锪出定心锥孔即可。
③将工件从平口钳上取出,完成钻孔、铰孔。
④翻转件1,同样方法配作件3另一孔。
3)将芯轴装配进件1与件3孔中,使其相连接,然后将件1和件3整体翻转,以件3孔为基准配作件1的另一孔,方法同上。
(3)加工件3角度面角度值和对称度通过正弦规来保证。
将件2放置于件3上,对件1进行比较,当高度加工到一致时为合格。
注意此时最好是将件2、件3配合后的高度尺寸略高于件1,目的是利于装夹时能使配合间隙达到最好。
(4)将件1与件3用芯轴连接,平口钳将三件夹紧配作件1上端ø8的孔。
注意:本课件要装配好以后再对间隙进行检测。
装配不上不于检测。
2011 9OCCUPATION 181在钳工专业的中级工、高级工、技师以及高级技师的各技术等级的应会考试中,无论是对简单的中级工工件还是对复杂的高级技师工件,无一例外地都提出了对称度精度的要求。
笔者结合多年从事钳工生产实习指导的经验,对在钳加工中如何保证工件的对称度精度提出几点拙见。
一、重视基准面的加工俗语说得好:“万丈高楼平地起。
”同样道理,我们在加工工件时,也要从基准面开始加工,然后在此基础上继续加工其他形面,只有这样才能达到理想效果。
因为基准面是测量和加工其他形面的基准,如图1所示,要把尺寸200-0.05加工到符合图样的尺寸及形位公差要求,必须先把外形基准(60±0.05)×(80±0.05)加工到尺寸公差,且与两侧面的垂直度公差、平面度公差及表面粗糙度值达到要求。
加工基准时,我们还必须注意方法,绝不能两个或几个基准同时加工,而必须在加工好一个基准后,再以此为基础去控制和加工其他基准面,如图1所示。
应先加工好基准面 A 后再加工基准面 B ,然后再加工与基准 A 、B 相对的面且达到要求。
只有这样,才能保证工件的加工质量,提高加工效率,降低工件的报废率。
二、准确理解对称度概念并对其进行精确测量对称度误差是指被测表面的对称平面与基准面的对称平面间的最大偏移距离Δ,如图2所示。
而对称度公差带是指相对基准中心平面对称配置的两个平行平面之间的区域,两平行平面间的距离即为公差值t ,如图3所示。
测量对称度浅析具有对称度精度要求工件的锉配方法文/宋伟华AB3(间隙〈0.10)5面C其余 3.2图1时,是测量被测表面与基准面的尺寸A 与B ,取其差值之半即为对称度误差值,测量此值可用打表法,也可用外径千分尺直接进行测量。
三、正确求解尺寸链将影响某一精度的有关尺寸彼此按顺序连接起来,这些相互关联尺寸总称为尺寸链。
其中,在所有相互关联的尺寸中,封闭环以外的尺寸称为组成环。
在其他组成环不变的条件下,当某组成环增大时,封闭环随之增大的组成环称为增环,封闭环随之减小的组成环称为减环。
钳工工艺锉配及复合作业1. 引言钳工作为一项重要的手工技艺,需要具备一系列工具和技能。
其中,工艺锉是钳工常用的锉工具之一,用于修整和修饰金属材料的表面。
在钳工工艺中,合理选用工艺锉并进行配合和复合作业,可以提高作业效率和产品质量。
本文将介绍钳工工艺锉的配伍原则和复合作业技巧。
2. 钳工工艺锉的分类工艺锉根据其形状、尺寸和牙距等因素进行分类。
常见的工艺锉有平行锉、方锉、圆锉等。
不同形状的工艺锉适用于不同的工艺需求。
在进行配伍和复合作业时,需要根据具体的工作要求选择合适的工艺锉。
3. 工艺锉的配伍原则在进行钳工工艺锉的配伍时,有几个原则需要遵循:3.1 锉牙形状相似当需要进行较粗锉或一次成形的工作时,应选择锉牙形状相似的工艺锉。
这样可以确保工件表面的平整度和精度。
3.2 锉牙尺寸递进在进行顺次锉削时,可以选择锉牙尺寸递进的工艺锉。
这样可以提高锉削效率和工件表面的质量。
3.3 长短工艺锉结合使用当需要进行锉削深度较大的工作时,可以选择长工艺锉。
而在进行细锉和平整工作时,可以选择短工艺锉。
这样可以更好地满足不同工作需求。
3.4 牙距组合合理同时使用具有不同牙距的工艺锉可以进一步提高锉削效果。
较大的牙距用于粗锉,而较小的牙距用于细锉和平整。
4. 工艺锉的复合作业技巧钳工工艺锉的复合作业需要注意以下几点技巧:4.1 锉削方向在进行复合作业时,要注意锉削方向的一致性。
统一的锉削方向可以减少工艺锉对工件表面的损伤和痕迹。
4.2 均匀施力在进行复合作业时,要保持均匀的施力。
过大或过小的施力都会影响工艺锉的效果和工件表面的质量。
4.3 合理选择锉点在进行复合作业时,要根据工件的形状和要求选择合理的锉点。
锉点的不同选择会对工件的形状和表面质量产生影响。
4.4 注意锉削深度在进行锉削时,要根据不同工作要求和工件材料选择合理的锉削深度。
过浅的锉削深度可能无法达到要求的效果,而过深的锉削深度则可能造成工件的损坏。
5. 总结钳工工艺锉的配伍和复合作业是提高作业效率和产品质量的重要环节。
实训课教案
课题四方体锉配课程机电一体化实训教师李雪渊专业机电
实训目的1、掌握四方体锉配的方法
2、掌握四方体锉配的误差检测和修正方法
3、进一步强化锉削和锯割的技能操作
考核
标准
评分标准另附
实训准备工具:锉刀锯弓麻花钻手锤材料:10mm的板料錾子刀口直角尺千分尺
游标卡尺
图纸(工件):场地:钳工实训5车间
审查签字
年月日
六、评分标准
总分
序号考核项目考核内容及要求配分
检测结果得分备注
1 锉削50±0.04mm(2处) 10
2
外
四
方
体30-00.02mm(2处) 20
3 3组 6
4 5
5 5
6 内四方体30+0.02
0mm(2处)
10
7 粗糙度Ra3.2µm 6
8 配合间隙≤0.04mm(5处) 20
9 其它(8处) 8。
组合件钳工锉配探究摘要:机械制造行业的快速发展对实际工作中专业性技能的要求也在不断地提升。
钳工锉配是行业基础技能,是对钳工综合水平进行衡量的重要指标。
根据当前发展情况进行分析,组合件钳工锉配成为未来钳工发展的主要趋势。
对组合件钳工锉配还需要进一步深入的进行分析。
关键词:组合件;钳工加工;锉配技术只有熟练地掌握组合件钳工锉配技术才能够解决实际生产中面临的各项问题,并且组合件钳工锉配已经成为钳工技能考核的重要指标,分析组合件钳工锉配对钳工技能水平的提升有着现实影响。
1组合件钳工锉配存在的问题1.1在技术训练当中态度并不端正组合件钳工锉配技术在学习的过程中既要接受理论知识,同时也要完成相关实训活动,但是在实际学习中很容易受到错误观念的引导,导致注重理论知识学习,忽视实训的作用,将实训活动作为过场,甚至认为当前机械制造行业实现了数字化发展,数控机床功能更为全面和发达,钳工也不再发挥出原有的重要作用,导致在实训中积极性较差,态度并不端正,使得达不到实训效果。
1.2一般性原则掌握不扎实实践工作的开展要以理论为基础,但是当前很多钳工基本功并不牢固。
组合件钳工锉配技术在操作上具有较高的综合性,需要结合图纸设计、工艺制图等知识,能欧有效地运用锯割、钻孔等技能,因此,在学习当中需要稳步前进,不能够急于求成,特别是不能够放松对基本功的掌握和练习。
对于不同或者相同类型锉配要实施相应的加工方法,但是由于注重外在形式而忽视了内在不同,导致生产出来的零部件较为粗糙,存在较大的缝隙。
组合件钳工锉配整个过程操作较为复杂,具有较高的难度系数,组合件也对技术操作提出了全新的要求。
不同的配合件在完成相关组合当中都需要锉配,相互翻转当中对配合件进行变换应用,同时还要保障配合件能够组合到对应位置当中,只有这样才能够满足基本的配合要求。
组合件钳工锉配问题主要集中在技术操作当中,对于操作全过程还是要根据实际情况提出具体解决措施。
2组合件钳工锉配技术水平提升的实践2.1端正训练态度工业会生产出不同类型的配件,这与配钥匙有着一定的相似性,利用配件的不同组合形式完成模具、检测工具等的制作,这些情况都需要应用到组合件钳工锉配技术。
钳工锉配实例探讨锉配是钳工综合运用基本操作技能和测量技术,使工件达到规定的形状,尺寸和配合要求的一项重要操作技能。
锉配技能较客观的反映操作者掌握基本操作技能和测量技术的能力和熟练程度,并有利于提高操作者分析、判断、综合处理问题的能力。
因而锉配训练往往是钳工实习中的核心部分,锉配技能掌握的高低,不但直接影响其能否通过专业技能的等级考核,同时也影响到其今后专业工作技能的高低。
如何搞好锉配训练我认为应当从以下两方面入手:一、端正锉配的思想认识,明确目的和要求有的学生认为学好理论才重要,实习不过是个放松自己的机会,因而轻视实习;有的学生认为既然学校安排了实习那就去练吧!但为什么而练?目的是什么?自己心里并不清楚,因而漠视实习;而更多的学生会认为现实的机械加工业那么发达,加工零件可以用数控机床去完成,何必花那么多的时间、精力去练锉配,去干这苦力工作,因而鄙视钳工锉配实习。
面对以上种种复杂心态、疑问,我们应该及时纠正,否则会对实习训练效果带来负面影响。
所以在锉配训练前,我们应了解锉配在现代机械加工中的重要性及应用的广泛性,端正思想上的错误认识。
在日常生活中的配钥匙,工业生产中的配键,制作各种样板,专用检具,各种模具的制造、修配、调试等,锉配技术广泛应用在生产中,具有十分重要的意义。
我们应该以一种极积、健康的心态投入到实习中去。
二、明确锉配的一般性原则为了保证锉配的质量,提高锉配的效率和速度,锉配时应遵从以下一般性原则:1、凸件先加工、凹件配加工的原则2、按测量从易到难的原则加工3、按中间工差加工的原则4、按从外到内,从大面到小面加工的原则5、按从平面到角度,从角度到圆弧加工的原则6、对称性零件先加工一侧,以利于间接测量的原则7、最小误差原则—为保证获得交高的锉配精度,应选择有关外表面做划线和测量的基准,因此,基准面应达到最小形位误差要求8、在运用标准量具不变或不能测量的情况下,优先制作辅助检具和采用间接测量方法的原则9、综合兼顾、勤测慎修、逐渐达到配合要求的原则注意在做精确修整前,应将各锐边倒角,去毛刺、清洁测量面。
否则,会影响测量精度,造成错误的判断。
配合修锉时,一般可通过透光法和涂色法来确定加工部位和余量,逐步达到规定配合要求。
实例解析锉配训练不同于单件的锉削训练,锉配件通常是由两至三件组合而成,因而加工的先后顺序就需要预先确定,及制定加工工艺路线。
那么,配件如何做好呢?下面,就以实例来探讨:一、审图锉削前我们应该先看图,结合评分标准看清楚尺寸、角度、对称度、孔的位置及相关的技术要求。
如图,是一个三角燕尾组合配,评分标准中的尺寸、角度基本都可以对照图上清晰的看出。
备料图上的宽是80,高度是84,而件二的宽、高都是80。
这会让我们感到疑惑,为什么备料图与件二图高度尺寸相差很多,而件一又是怎么得到的呢?我们注意到这一点就不难看出,件一的料是通过件二的凸件中间锯割得到的。
如果我们不仔细审图,很可能导致工件的报废。
审图完毕后,我们应该有一个大概的工艺步骤。
找出间接得到的尺寸进行计算。
件二凸件中的两燕尾外侧的尺寸,我们是无法直接测量的。
它的位置精度直接影响到对称度要求,以及装配后的配合精度,而我们要通过尺寸来控制它的位置,可以通过加测量柱进行计算,并做记录。
二、划线、钻孔划线前,先把备料图上的80尺寸进行锉削加工,此尺寸没有公差要求,但我建议大家尽量做到80,公差值越小越好,并记下实际尺寸。
这样有利于保证凹槽15的尺寸精度。
划线要仔细,做到一次成功,保证划线精度。
划线平台、高度尺底座及工件要清洁,无碎料颗粒。
划线包括钻孔线、锯割线等所有尺寸线后,用目测法检验划线结果。
这是很重要的,往往我们在划线时,尺寸较多,容易出错。
钻孔时我们用直角尺测量板料与钻头的垂直度。
为节约时间,我们可以把不重要的孔,像排孔、工艺孔等用较大进给量钻出。
对重要的孔,在小孔钻削完后,装夹上需要的钻头进行扩孔,一次完成,再进行下一个孔的加工。
孔加工完毕后,我们应该先倒角,再进行铰削。
也可以简单的用大于加工孔尺寸的钻头,手工倒角,这样可以避免在铰削后去毛刺,影响孔的精度。
三、件一的加工从坯料上锯割下件一后,先用卡尺粗量一下三处8.66的尺寸,看加工余量有多少。
如果有足够的余量,就用锉刀锉去锯纹为止,三个面同时加工,并尽量保证平面度、垂直度。
然后继续测量。
选其中一个面做为基准面进行加工,直致到尺寸要求为止。
在加工中,应用万能角度尺测量角度,防止基准面角度倾斜过大,影响其他两面加工。
严重时导致件一的报废。
剩余两面加工时,应配合万能角度尺、直角尺,进行加工。
边加工边测量,直致达到尺寸公差范围内。
加工R3时,用R规配做。
注意R3圆弧面与相邻两面相切。
锐边倒角去毛刺后,放在空旷出,防止磕碰。
四、件二的加工1、件二凸件的加工前面提到加工件二宽度尺寸80时,记下加工的实际尺寸。
这样可以帮助我们计算出凹槽15两侧面的加工尺寸公差。
如果实际尺寸为80.02,我们便可以算出,82.02减去15.02再除出2为32.5,是凹槽侧面的最小尺寸。
用80.02减去14.98除以2得到凹槽侧面最大尺寸32.52。
凹槽两侧面尺寸差值为0.02,这样即保证15尺寸在公差范围之内,又可以保证评分标准中0.04对称度的要求。
凹槽底面尺寸50加工时,可用千分尺来测量,由于槽比较窄,测量垂直度不容易看出。
我们可以将百分表吸复在划线平台上,检测垂直度误差。
锉削两燕尾顶部80尺寸在公差范围内的同时,保证两面的直线度,为达到评分标准中直线度要求做准备。
细加工时,可将锉刀放于两面上同时加工。
这样不但容易保证直线度,还可以防止锉削小面时出现角塌陷。
加工12.99尺寸两面时用深度千分尺测量。
但由于它的触头接触面积小故而测量时被测的点多,比较麻烦。
我们可以将量块组合成67.01的高度放至于平台上,将百分表出头对置到量块顶面上调零。
工件可靠在V铁上做横向、纵向移动,看表针摆动差值。
我提醒大家要根据80的实际尺寸进行计算,以免尺寸超差。
为了保证配合精度,要做好两组尺寸的一致性,差值越小越好。
下面加工60°的两燕尾斜面。
这是本工件的难点,也是很重要的地方。
它不但占有较大的分值,而且直接影响工件的装配。
首先加工两燕尾外侧,先将万能角度尺调至内角60°,粗测加工面,将加工面粗锉至60°内角。
由于80尺寸两面实际尺寸为80.02,计算加直径为10毫米的测量柱到底面尺寸为,所以72.32尺寸公差76.16,两测量柱尺寸为72.32。
由于45尺寸公差为0-0.03即最大尺寸72.32和最小尺寸72.29。
如果单是保证尺寸,这很容易。
为0-0.03可以通过千分尺加两测量柱直接测量。
但配分标准中有对称度0.04要求,这要通过两个76.16尺寸来控制,他们的尺寸公差要小于0.04,那么他们的上偏差、下偏差是多少。
我们用80.02-2(80.02-X)=72.32得76.17为该尺寸的最大极限尺寸.用80.02-2(80.02-X)=72.29得76.155为该尺寸的最小极限尺寸。
那么就是说,两个76.16尺寸的实际尺寸保证在76.17~76.155之间就可以即保证45尺寸的公差要求又可以保证对称度0.04的要求。
具体操作可把量块组合到76.17尺寸,用百分表触头接触到该尺寸面上,调零。
测量时将工件反转90°放置,加测量柱。
百分表触头在测量柱上轻轻滑移。
指针顺时针转动到极限位置时,就是该尺寸实际尺寸。
如指针顺时针过零两格,表明该尺寸为76.19,应继续加工。
精加工中60°要用正弦规测量。
如果选用长度为100毫米的正弦规,应用50毫米的量块在平台上垫起正弦规一角,使正弦规台面与水平面夹角为30°。
然后,将工件反转90°,放于正弦规台面上,用百分表触头对该面进行平面度误差检测,保证了平面度也就保证了角度要求。
配作两燕尾内侧加工面时,配合万能角度尺进行粗锉,然后用件一试配,粗看一下直线度,如果相差较大,再用卡尺粗量燕尾宽度,对宽的一边进行粗加工。
这样可以节省测量时间。
直至循环加工到直线度误差小于0.2到0.3毫米时,再进行细锉。
细锉时,将50量块垫于正弦规一角,将工件反转90°,放于正弦规台面上,用百分表进行对称度和角度的测量。
对高的一面进行加工,配合件一,直至加工到符合直线度误差及对称度要求为止。
2、件二凹件的加工将件二凹件沿线锯割下后,先将所有加工面粗锉。
用件一配作凹件顶部。
配作时先加工尺寸25.98的顶面。
这个面的尺寸决定件一在竖直方向上的位置,偏高会使配合后两燕尾内侧面间隙过大;偏低则导致两燕尾在配合时没有间隙,形成过盈,甚至装不进去。
测量时,将深度千分尺25—50毫米测量杆调零,对加工面多点测量。
并配合百分表找正加工面的平面度、垂直度。
为保证两侧面对称度,算出加测量柱尺寸为38.66毫米。
用百分表配合正弦规测量60°角斜面的平面度。
加工中,两边尺寸大加工哪面,保证尺寸一致性,直到将件一装进为止。
加工底部凹件时,先将尺寸为12.99的两顶面进行加工。
用深度千分尺测量,两面的尺寸应保证一致性。
其实际尺寸应等于或大于凸件该位置实际尺寸0.01到0.02毫米。
用百分表对其进行平面度、垂直度测量。
两侧面加测量柱尺寸为31.16毫米。
加工该尺寸的实际尺寸应是31.15。
这样留下0.02毫米的间隙可以在锯割后,顺利装配。
60°角用正弦规和百分表测量。
加工完毕后,卡尺卡住凸件燕尾并锁紧。
将件一装配,用卡尺内卡爪进行试配,感觉松紧程度。
防止在加工过程中由于紧张,导致尺寸加工错误,使凸件与凹件不能配合。
五、锯割由于锯割尺寸公差为±0.2毫米。
在锯割前可进行补线。
可相继划出51.8、52.2毫米两条线。
锯割时,将52.2毫米一条线锯去,保留51.8的线。
这样可以保证锯缝尺寸在公差范围内。
在锉配中有很多加工方法,对容易测量又节省时间的方法应尽量采用;对两种方法都可进行加工的情况下,选用自己习惯的加工方法,比较容易上手。
总之,只要不断的刻苦训练,就能一步一步提高自己,就能灵活运用自己的锉配技能。