25HZ轨道电路常见故障处理程序
- 格式:doc
- 大小:24.50 KB
- 文档页数:1
室外设备故障处理a、测试送电端钢轨中的电流。
电流升高时是受电端方向短路故障按i项查找;电流降低时测量轨面电压,电压升高时是受电端方向开路故障按f项查找;电压降低时是送电端方向短路或开路故障按c项查找。
b、测量送电端D1D3端子间电压。
无电查室内及送电电缆盒;有电进行c项。
c、测量D2D4端子间电压。
无电是1A液压断路器问题,交叉测试确认;有电进行d项。
d、测量变压器Ⅰ次侧电压。
无电是液压断路器至变压器Ⅰ次侧配线开路,交叉测试确认;有电进行e项。
e、测量变压器Ⅱ次侧电压。
有电进行f项;无电时分线圈测量变压器Ⅱ次侧,个别线圈无电,是相关线圈断线,分线圈有电是勾线断线;分线圈无电是变压器Ⅰ次侧问题,测量就近两个端子间电压是220时,说明这两个端子间断线。
(正常时Ⅰ1Ⅰ3间及Ⅰ2Ⅰ4间电压应为110V)。
f、测量D5、D7间电压升高是变压器箱外部开路。
顺序测量送电端信号圈、轨面、接头、受电端轨面、信号圈、变压器Ⅱ次侧、Ⅰ次侧及回楼D1、D2间电压,电压变化时是开路点。
端子A、B有电,送到端子C、D没电,当不确定A具体接到C或D时,第一步测量A对C、D全有电是A断线,全没电是B断线;第二步再断开C或D,测试A、B端断线的端子对C、D线头测量,有电的是与没断的端子连接的好线,另一根断线。
(特殊情况:当变压器Ⅱ次升高,电阻电压等于变压器Ⅱ次电压时是电阻开路)g、测量D5、D7间电压降低,电阻上的电压也降低是送电箱内开路故障。
首先断开10A保险,测量变压器Ⅱ次Z 端子分别对应D6和D7端子电压,如果两个都没有电,说明变压器Ⅱ次Z端子对端子座间配线好;再测变压器Ⅱ次K端子对端子座一个有电一个没电,说明变压器Ⅱ次K端子对没电的端子间配线断线。
如果断线的配线包括电阻,应借变压器Ⅱ次Z端子,测量K端子、电阻及端子座,电压变化时是故障点。
(也可用电流的方法:测试变压器二次、限流电阻以及扼流信号圈中电流正常位0.43A,短路时是0.76A左右)h、测量D5、D7间电压降低,限流电阻上的电压升高是短路故障。
简述25赫兹轨道电路断线故障处理流程下载提示:该文档是本店铺精心编制而成的,希望大家下载后,能够帮助大家解决实际问题。
文档下载后可定制修改,请根据实际需要进行调整和使用,谢谢!本店铺为大家提供各种类型的实用资料,如教育随笔、日记赏析、句子摘抄、古诗大全、经典美文、话题作文、工作总结、词语解析、文案摘录、其他资料等等,想了解不同资料格式和写法,敬请关注!Download tips: This document is carefully compiled by this editor. I hope that after you download it, it can help you solve practical problems. The document can be customized and modified after downloading, please adjust and use it according to actual needs, thank you! In addition, this shop provides you with various types of practical materials, such as educational essays, diary appreciation, sentence excerpts, ancient poems, classic articles, topic composition, work summary, word parsing, copy excerpts, other materials and so on, want to know different data formats and writing methods, please pay attention!处理25赫兹轨道电路断线故障的完整流程在铁路系统中,25赫兹轨道电路的稳定性至关重要。
25hz轨道电路故障处理
25Hz轨道电路是铁路运营中最重要的一种设备,它主要用于监控和控制车辆移动和/
或信号显示。
同时,它也是确保运行安全的一个关键因素。
因此,对于25Hz轨道电路的
故障处理就显得格外重要。
一般来说,25Hz轨道电路的故障处理分为以下几个步骤:
第一步,首先应确定故障的类型,要搞清楚它是由于设备本身出现故障还是受到外界
因素的影响而引起的故障。
这是决定故障处理措施的第一步。
第二步,紧急停车并断电处理,如果有必要,就要采取紧急制动措施,确保安全,并
且断开25Hz轨道电路的电源来防止故障扩大。
第三步,检查现场,彻底检查和检查25Hz轨道电路所处的现场,以便及时发现问题,并判断故障类型以及需要采取的故障处理措施。
第四步,开始处理故障,如果确认故障是由于设备本身出现的缺陷而导致的,则应立
即采取必要的措施来更换出现问题的部件,然后重新组装和调试。
第五步,复核校验,更换完部件后,需要对轨道电路进行全面复核校验,以确保装置
的正常运行。
第六步,安全操作,故障处理完毕后,应该再次对设备进行安全操作,确保设备的正
常运行。
以上就是25Hz轨道电路的故障处理的步骤介绍,仅供参考。
实际的故障处理过程可
能因实际情况而有所不同,因此,在处理故障时,应从实际出发,采取有效和科学的措施,以确保安全运行。
题 目:25HZ 轨道电路故障处理及日常维护 专 业: 自动化目录摘要 (I)第1章前言 (1)1.1 轨道电路概述 (1)1.1.1 轨道电路作用及构成 (1)1.1.2 轨道电路的原理 (1)1.1.3 轨道电路分类 (1)1.1.4 轨道电路的工作状态 (2)第2章 25Hz轨道电路 (1)2.1 25Hz轨道电路概述 (1)2.1.2 25Hz相敏轨道电路的发展 (1)2.1.2 25HZ轨道电路的特点 (2)2.2 97型25 Hz相敏轨道电路的运用特性 (2)2.2.1 97型25 Hz相敏轨道电路范围 (2)2.2.2 97型25 Hz相敏轨道电路主要特点 (2)2.2.3 97型25 Hz相敏轨道电路主要技术指标 (3)2.2.4 97型25 Hz相敏轨道电路工作原理 (4)第3章 25Hz轨道电路的组成 (5)3.1 25Hz轨道电路设备的基本组成 (5)3.2 97型25 Hz相敏轨道电路的元器件 (5)第4章 25HZ轨道电路的故障处理及日常维护 (7)4.1 轨道电路的处理程序 (7)4.2 97型25HZ相敏轨道电路故障查找方法 (7)第5章常见故障的分析与判断 (9)5.1 常见故障的判断方法 (9)5.2 常见故障案例 (13)第6章轨道电路的日常维护与常见仪表的使用 (15)6.1 轨道电路的日常维护工作 (15)6.2 仪表的使用 (16)结束语 (17)致谢 (18)参考文献 (19)摘要轨道电路使用97型25Hz相敏轨道电路。
在使用中为了加强对轨道电路的认识与理解,为站内轨道电路发生故障能够提供理论依据以及处理故障的快速有效的方法。
本文研究了道电化区段的轨道电路使用25HZ轨道电路的必要性,25HZ轨道电路的工作原理及使用各部件的用途。
总结并研究97型25Hz相敏轨道电路室内外故障的种类、查找顺序、一般规律和具体方法。
特别详细阐述了在查找短路故障中采用的电压表法、欧姆表法和卡流表法。
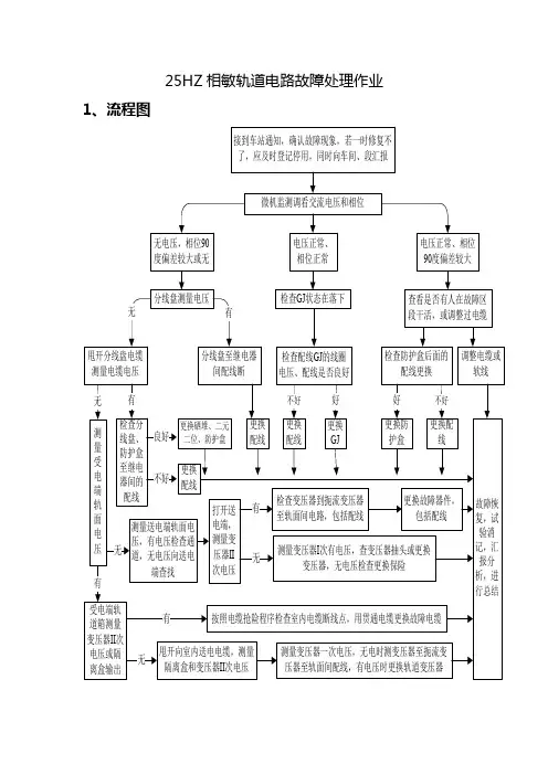
25HZ相敏轨道电路故障处理作业1、流程图2、作业指导书2.1 接到故障通知2.1.1 接到故障通知后,迅速赶赴运转室,确认设备故障情况,调看微机监测设备确认故障现象。
2.1.2 向车间调度和段调度汇报故障发生情况。
2.1.3 相关故障处理人员进行故障处理准备,初步判断故障范围,明确是否需上道处理故障,申请上到命令。
2.1.4 确需上道处理故障,立即准备所需器材、工具、材料、仪表(包括劳动防护器具、通信工具、故障处理专用工具、MF14型万用表等),穿着防护服、绝缘鞋。
2.2 登记联系、防护2.2.1 驻站联络员及时办理登记停用手续。
2.2.2 确需上道处理故障,驻站联络员立即办理登记要点,经车务值守人员签认后立即向电务段调度汇报并申请电务段上道命令,待命令下达后立即向故障处理人员传达相关命令。
2.2.3 作业人员接到室内联络员作业命令号后,人员方可进入防护网,上道处理故障。
2.2.4 驻站联络员在联系过程中严格执行作业各项卡控制度,做好列车运行预告和防护工作,保持与室外人员联系畅通,确保室外人员人身安全。
2.2.5 室外人员到达现场,通报自己所在位置及人员姓名,对故障设备的地点、名称双方核对确认。
2.2.6驻站电务值班员在车站《行车设备登记簿》上签认故障信息。
根据故障情况登记设备停用,经车站值班员签认后,电务维修人员方可进行故障处理。
2.3 应急措施到达现场后及时登记停用。
影响行车时,积极与车站协调,缩小对行车的干扰。
如建议车站办理引导接车、路票发车或迂回进路等。
2.4故障处理2.4.1 从控制台上红光带判断故障范围2.4.2 若发生全站、某咽喉或某一束红时,应检查对应的25HZ电源屏输出是否正常。
2.4.3 某一咽喉区内同时出现不规则的红光带时,应检查上述区段共用的送电电缆是否断线。
2.4.4 若相邻两轨道区段同时出现红光带时,应检查分界绝缘是否有破损。
2.4.5 若仅出现一个区段红光带时,应以检查该区段内的各项设备为主,首先应判断故障点是室内还是室外。
25HZ相敏轨道电路故障分析及处理摘要:轨道电路作为轨道交通的重要组成部分,也是有效提高轨道交通建设效率和施工人员工作效率的重要设施。
目前,我国铁路交通对于信号系统高效运行的需求仍有很大的不足。
能适应电力和无电力两类道路,具有明显的优越性。
同时,25HZ相敏电路的工作电压为25HZ的交流电,具有较好的运输性和稳定性。
由与主电源频率不同的内部电源装置供应。
本文以25HZ相敏轨道电路作为主要研究对象,对该轨道电路可能发生的故障进行了研究与分析,期望能够对25HZ相敏轨道电路的故障处理起到一定的作用,从而推动轨道行业的更好发展。
关键词:25HZ相敏轨道电路;故障分析;故障处理1 25HZ相敏轨道电路的原理25HZ的轨道电路是一种连续的轨道电路,它使用25HZ的交流电来进行信号的传输,轨道电路中的二进制继电器可以自由地选择所需的频率。
信号源通常包括两个部分,一个是通过专用25Hz交流变频器的追踪源,另一个是通过本地源。
二进制系统的一端与两个定位追踪电路相连,而另一端则与电源相连,以特定的频率系数。
经过分配器的电力供应和50赫兹的电力供应是不一样的,它确定了铁轨线路有无带电。
2 25HZ相敏轨道电路的特点(1)25Hz相位敏感轨线回路保护是一种双进制轨线位置保护,它既有时又有频,能很好地消除牵引电流的影响。
线路保护由持续的AC保护提供,相对稳定,维护性高。
(2)25Hz跟踪器与输入本地变频器反向相连,本地供电电压随90-1776相位变化,可采取中央调相方式。
在频率系数上,将输入电压从220V±6.6V变为50Hz,保证了线路的稳定;(3)25赫兹的电源以一个频率为其工作原理。
50赫兹电气频率的二分之一为25赫兹的主电气频率。
(4)“田”型配电盘的两个线圈以垂直90°的角度配置;由于采用了双线圈结构,使得由交流电流产生的磁场与共振线圈之间存在着不完整的交叠。
所以在保护盒关闭的时候,线路继电器就会出现故障。
25Hz轨道电路故障分析25Hz轨道电路故障常见于日常维护不到位,槽型绝缘内部铁锈、铁屑、断路器内部节点接触不良、引接线或导引接线接触不良等原因。
发生故障时候首先要查看曲线,充分考虑故障区段是一送一受,还是一送多受;有没有电码化叠加;有没有空扼流变压器等因素。
有电码化叠加区段时,应关闭电码化发送器,选用选频表进行测试。
发生断线故障时,微机监测轨道电路日曲线下降为零,无幅值变化,简单的区别看该故障为混线还是断线。
此时,在登记停用,汇报车间调度后,方可处理故障,如下步骤:1、在站内分线盘找到相应送电端和受电端端子,进行测试,如果受电端有电压,电压数值大于30V以上,同时送电端没有电压,初步判断故障在室内,重点检查防护盒、轨道继电器、防雷补偿器、硒堆、组容盒等;否则故障点为室外。
在轨道送电端测量1、3端子无电压,说明室内到送电端的箱盒的电缆断线;如果室内电源已经送出来,应测量送电端轨面电压,如果没有电压,说明故障点在扼流变压器、引入线等;其中送电端轨面电压正常(0.5~0.8V),应沿着送电端到受电端轨面分段测量,并观察有电压与无电压轨面部门,判断故障点。
2、一般轨道电路曲线幅值明显下降,起伏不定,可初步判断为混线故障:需要在分线盘甩开受端外线,测量外线电压,如果电压大于30V,说明室外设备正常,故障点在室外,故障点易出现在防雷硒片;如果电压很低,说明故障点在室外。
查找时应本着先送电端后受电端的原则,通过测试送电端电压、限流电阻电压、轨面电压来判断故障点。
室外混线故障,主要是器材(轨道变压器、扼流变压器)内部混线、钢轨绝缘不良、轨距杆或道岔安装装置绝缘不良、轨道电路引入线混线、电缆混线、道岔跳线混线等。
室外混线故障查找方法可运用“电压比较法”、“甩线法”等。
3、轨道红光带发生时候,留意该区段电压曲线变化。
发生故障时,轨道曲线正常,室内测量轨道电源电压正常,轨道没有占用却出现红光带,故障应该在室内,可能是轨道继电器、防护盒等;4、电力机车通过时,出现红光带,重点检查故障区段回流部分,如扼流变压器引线绝缘(内部绝缘垫圈)、中间连接板螺栓及导接线部门;5、相邻区段有车时,轨道出现红光带。
25HZ相敏轨道电路设备故障应急处置指导书1 适用范围本书适用于站内25HZ相敏轨道电路应急处置作业程序、内容及要求,明确了应急处置过程的重点控制项目,并应急处置提供了技术指南。
2 引用规范性文件2.1 《行车组织规则》2.2 《铁路技术管理规程》2.3 《铁路信号维护规程》2.4 (广电发〔2009〕17号)关于发布《广铁(集团)公司电务系统信号设备抢险应急预案》的通知2 作业目的本作业规定了25HZ相敏轨道故障应急处置作业的程序、内容及要求,明确了故障处理过程的重点控制项目及联锁试验内容,并对设备故障处理指供了技术指南。
3 作业程序4 作业内容与要求4.1 故障(通知)受理4.1.1 驻站电务值班员接到车站故障通知,应在确认故障现象后,立即将故障信息(包括时间、地点、设备名称、故障现象和影响情况)汇报工区工长、电务段调度员、车间值班干部。
4.1.2 驻站电务值班员接到段调度故障通知,应在确认故障现象的同时,立即将故障信息(包括时间、地点、设备名称、故障现象和影响情况)汇报工区工长。
4.1.3 电务段调度接到调度所故障通知后,立即将故障信息(包括时间、地点、设备名称、故障现象和影响情况)通知现场工区、车间、段值班干部、值班领导。
4.1.4 电务段调度接到工区故障汇报后,立即将故障信息(包括时间、地点、设备名称、故障现象和影响情况)通知段值班干部、值班领导、及现场车间。
4.2 故障登记驻站电务值班员在车站《行车设备登记簿》上签认故障信息。
根据故障情况登记设备停用,经车站值班员签认后,电务维修人员方可进行故障处理。
4.3 应急措施到达现场后及时登记停用。
影响行车时,积极与车站协调,缩小对行车的干扰。
如建议车站办理引导接车、路票发车或迂回进路等。
4.4 故障处理室内设备故障处理4.4.1 分线盘测试送端电压,甩线测试受端电压,若是电码化区段则需关闭所属区段电码化设备。
4.4.2 多个轨道区段故障,则检查测试GJZ、GIF束电源熔丝装置、轨道架零层熔丝或断路器等。
对25Hz轨道电路信号故障处理方法研究【摘要】【关键词】一、25Hz轨道电路的组成及工作原理轨道电路实际上是一种借助铁路信号来对铁路进行自动控制的设备,它以轨道信号的原理来最为基础原理,经过轨道电路能够对列车进行自动检测和准确定位列车的位置,所以轨道电路对列车的安全行驶和故障检查都有非常重大的作用。
而25Hz轨道电路是应用二元二位轨道继电器,此类据点钱具备特别高的敏感度和能够自动选择相位,所以使用时可以不用再另外设置其他的滤波器就能够实现轨道电路的基本条件,这也让连续供电式的轨道电路的应用变为了现实。
此外,25Hz轨道电路的受电设备以及送电设备之中也要有轨道变压器,电阻元器件,保险设备等重要器件。
以上这些电子元器件合成一个整体就构成了一项完善的轨道电路系统。
25Hz轨道电路中应用的是几类不同的调相,所以我们只要凭借轨道电路的实际长度就能够实时的调整供电电压。
另外25Hz轨道电路的耗电量特别的少,能够在很大程度上节约能源,打破了传统轨道长度的限制。
通常轨道电路的信号电源一般是由特定的专门分频器进行提供,可25Hz轨道电路的信号电源是用铁磁分频器直接进行提供的,这种区别也是25Hz轨道电路的主要特征。
轨道电路系统通常情况下分为有轨线圈以及局部线圈两类,而当它们具有一定的相位要求或者是达到电压需求的时候,轨道电路就将一直处在未工作的状态,所有的线路此时处于一个空闲时间段。
而当轨道电路被列车所占有时,轨道电路就能够自动形成一个分路,此时整个线路是处在一个分路状态。
二、25Hz轨道电路信号的常见故障及其处理办法25Hz轨道电路信号的故障处理工作是保证铁路能够正常进行的关键所在,但是要在故障排除和处理时必须要遵从一定的处理程序。
第一要检查列车的行车室或者是轨道电路的信号楼来确认轨道电路有没有故障,如果故障扩大到一定程度能够对列车的行驶造成影响,那么就应该马上停用开始查找故障原因,进而解决故障尽快恢复通车。
第二要实行障碍处理,处理时要按照先室内后室外的这一顺序,严格排查故障。
97型25HZ相敏轨道电路故障处理程序
197型25HZ相敏轨道电路的构成及工作原理
97型25HZ相敏轨道电路的构成如图所示:
JJZ220JJG110
25HZ相敏轨道电路设备的基本组成
25HZ相敏轨道电路工作原理:25HZ相敏轨道电路由室内电源屏分别供出25HZ相敏轨道电源和局部电源。
轨道电源由室内供出,通过电缆供向室外,经由送电端电源变压器BG25和送电端扼流变压器BE25 , 钢轨线路和受电端扼流变压器BE25, 受电端中继变压器BG25, 电缆线路送回室内,经过防雷补偿器, 防护盒给二元二位继电器的轨道线圈供电; 局部线圈的25HZ电源由室内供出,当轨道线圈和局部线圈满足规定的相位和频率要求时,二元二位继电器吸起,轨道电路处于工作状态,当二元二位继电器落下时轨道电路处于不工作状态。
2 25HZ相敏轨道电路常见故障判断和处理:
附表:。
一、案例举例案例一1.故障现象:某一送一受(非电气化非电码化区段)轨道电路区段红光带2.确认故障设备:在控制台观察故障区段,确认属非电气化非发码区段且为一送一受区段。
3.判断故障范围:(1)从分线盘电压判断室内、外故障测试受端电压较平常电压升高时,一般为室内断路。
测试受端电压较平常电压降低时,需甩线测量电缆电压。
电压升高,为室内短路。
电压仍低,为室外故障。
(2)测试受端电压为0,需甩线测量电缆电压。
电压仍为0时,为室外故障。
电压升高,为室内短路故障。
(3)测试受端电压正常:若为25HZ相敏轨道电路,需检查该区段二元二位继电器状态。
二元二位继电器吸起,为轨道架至区段组合断线或组合架内故障。
观察区段组合中的DGJ和DGJF是否吸起来确定。
二元二位继电器未吸起,则说明极性反(极性反一般发生在动线施工后)或局部线圈断和该区段局部电压不良。
4.室内故障的分析处理(1)断路故障处理按照电路配线图逐级测量电压,即可确定故障点。
(2)短路故障处理按照电路配线图甩线测量电压,甩线时应优先断开插接件和接线端子。
5.室外故障的分析处理(1)根据现场条件,就近测量故障区段的轨面电压:电压升高,为测试点至受端断路。
电压为0或降低,应测量电流。
(2)电流较平常增大,为测试点至受端短路。
(3)电流减小时,为测试点到送端短路。
(4)电流为0,为测试点至送端故障,需继续沿钢轨向送端方向测量电压和电流,直至有电压或电流时。
①当有电压无电流时为断路故障,断点为从无到有处。
②当无电压有电流时为短路故障,短路点为从无到有处。
测量送电端限流电阻上的电压值与正常时的测试数据进行比较,是迅速准确判断轨道电路故障性质的有效方法(前提是保证限流电阻接触良好)。
若测得的数值比正常值显著降低或为零,则判断为断线故障;若测得的数值比正常值明显升高,则判断为短路故障。
按照处理室内故障的方法相应处理并结合钳形电流表或轨道测试仪测电流即可。
用钳形电流表或轨道测试仪查钢轨上的短路点时,要注意两个短路点才能构成故障,要一起找出,不留故障隐患。
25HZ相敏轨道电路故障处理简要方法25HZ相敏轨道电路故障处理简要方法发生红光带后,首先到行车室确认故障现象。
1.全站红光带或某一咽喉全部区段红光带,检查电源屏输出保险;2.某咽喉不规则红光带,检查组合架保险或发送输出电缆;3.相邻两区段红光带,检查室外绝缘;4.排路后正线区段红光带,可先按压发码复原按钮。
5.单独一轨道电路红光带,以检查本区段设备为主。
以单独一区段红光带处理故障方法举例。
首先区分故障是室内还是室外。
因为25HZ相敏轨道电路是集中供电,所以单独一区段红光带说明其室内发送到室外发送端是正常的,要到分线盘测试接收端电压,如有电压,说明是室内开路故障;无电压,甩线再测,有了电压,是室内短路故障;仍无电压,是室外故障。
(此时无法区分是开路还是短路)到达现场,到发送端测试限流电阻电压,与正常值相比,低了,是开路故障;高了,是短路故障。
(一般情况,有特殊的几个点故障时与上述不符,在此不作赘述,有兴趣的朋友可再探讨)查找方法不再详谈。
如电压已上了发送端钢丝绳,使用轨道测试仪25HZ电流档沿着钢轨向接收端前进,电流突变点即为故障点。
(25HZ相敏轨道电路轨面电压极低,无法使用电压法查找故障点)此为笔者的一些个人心得,有不到之处请各位电务兄弟指正2、轨道电路的限流电阻:(1)送电端限流电阻(Rx)(固定,不得调小,更不得调至零值):a、有扼流变压器的区段及无扼流变的电码化区段:Rx=4.4Ωb、无扼流变压器非电码化的无岔区段及股道:Rx=0.9Ωc、无扼流变压器非电码化的道岔区段:Rx=1.6Ω(3)受电端限流电阻(Rs):一送多受道岔区段:Rs先预调2.2Ω或1.1Ω(调平衡时可以按需要从零至全阻值进行调整,变阻器增加一根短连线便于调阻值)。
(3)室外受电端变压器输出电压固定在一定电压档:a、一次侧使用Ⅰ1、Ⅰ4连接Ⅰ2、Ⅰ3(220v档),b、二次侧使用Ⅲ1、Ⅲ3(15.84v档)。
(4)室外送电端变压器:a、一次侧使用Ⅰ1、Ⅰ4连接Ⅰ2、Ⅰ3(220v档),b、二次根据调整表调整输出电压使GJ吸起。
25HZ轨道电路常见故障处理程序
第一步:信号人员接到车站报轨道电路故障后,首先到运转室查看控制台显示状态及列车运行情况,并在第一时间内向电务段调度简单汇报故障发
生的时间、地点、区段及概况;调度电话:
第二步:信号人员到车站运转室办理登记故障区段停用手续,查看控制台故障区段现象,询问故障发生的时机、经过;
第三步:到机械室分线盘测试送、受端电压状况,以判断是室内还是室外故障。
1)在分线盘上测试故障区段发送电压
①参考平时此区段的发送电压,在分线盘上测试发送电压是否正常,如没
有电压,查找室内调整变压器、隔离盒、一次电源及至分线盘的引线情况;
②在分线盘上测试发送电压偏低,可能是断线或混线故障,可甩开分线盘
测试端子进行测试以判断是室内或室外故障,然后再进行查找;
2)在分线盘测试故障区段的接收电压(发送正常时)
①测试故障工区段的接收电压是否正常,如正常(参考调整表)、检查相
敏接收器的电源,局部电源及电执行继电器的状态是否正常;
A、如相敏接收器红灯灭—查找其24V工作的电源情况;
B、如相敏接收器绿灯闪—查找其局部电源;
C、如相敏接收器32、42有20V—30V的直流输出—查找其与执行
继电器的引线及其状态;
②如故障区段的接收电压10V以下,甩开分线盘端子进行测试,以判定室
内或室外故障;
A、甩开原电压正常—查找室内防雷硒片有无防雷痕迹,25HZ防护
盒是否作用良好;
B、甩开原电压仍然10V以下—查找室外半混线故障;
③如故障区段的接收电压0V,甩开分线盘端子后测试仍为0V ,则为室外
断线或纯混线,应到室外由送—受逐步处理;
第四步:1、各段调度汇报在机械室测试数据和故障判断结果;
2、接收段处理故障的调度命令;
第五步:按规定前往故障区段进行处理,之前需携带电台、工具和仪表、混线故障查找仪;
第六步:到达故障区段后,由送端—扼流箱—轨面—扼流箱—受端逐步测试判断、处理;
第七步:如果是送端故障
1、测试室内电源是否送到室外轨道箱和变压器一次上;
2、测试变压器Ⅰ、Ⅱ次是否有电,扼流变压器是否正常,是否送到钢
轨上;
第八步:如是受端故障
测试轨面电压—扼流变压器—轨道箱—接收变压器Ⅰ、Ⅱ次及返回室
内测电源是否正常;
第九步:汇报故障处理概况:故障处理后,要及时将处理经过、发生时间、恢复时间、影响车次、器材名称、编号处理人报告段调度。