钢吊箱围堰漏水处理技术
- 格式:doc
- 大小:23.50 KB
- 文档页数:5
钢吊箱围堰漏水处理技术摘要: 本文主要对元山2号大桥5#墩钢吊箱围堰封底不成功、钢吊箱模板接缝不密封造成围堰漏水,通过“排、引、封”一套完整的措施有效的解决了围堰漏水问题,保证了承台顺利施工。
关键词:钢吊箱围堰漏水有效混凝土浇筑中图分类号:tu74文献标识码: a 文章编号:一、工程概况元山大桥位于西宁市皇中县甘河滩镇甘河工业园区,桥址地形平坦开阔,交通便利,桥梁为跨越元山水库而设,桥址范围内地层主要为第四系冲积粉质粘土,淤泥质粉质粘土,沙质黄土及第三系泥岩,沙砾岩等,桥址处泥岩具有中等膨胀性,为膨胀性岩石。
黄土具有等压缩性与一级自重湿陷性。
粉质粘土具有中压缩性与一级非自重湿陷性。
红粘土具有中等膨胀性。
桥址处元山水库储水主要由下游灌溉用水产生,水量随季节变化明显,主要为大气降水。
其中元山2号大桥跨越元山水库,全长195.2米,7跨,24米预应力钢筋砼整孔t梁。
其中2#、3#、4#、5#、6#共5个墩处于元山水库水中,水深约6-8米,直径125cm钻孔灌注桩20根,钢筋砼水中承台5.7*6.4*2.5m计5个。
元山水库属省审批的一级水资源保护区。
我部决心以保持元山水库水质,保证水源不受污染为施工核心,为西格铁路创建一座优质样板工程,保证甘河滩人民用水不受污染。
经综合比较分析,主桥墩水中5个承台围堰采用单壁钢吊箱施工。
二、钢吊箱围堰施工围堰是用于水下施工的临时性挡水设施。
钢吊箱围堰是为承台施工而设计的临时阻水结构,其作用是通过吊箱围堰侧板和底板上的封底混凝土围水,为承台施工提供无水的干处施工环境;封底混凝土作为承台施工的底模板,吊箱侧板作为承台施工的侧模板。
根据钢吊箱使用功能,将其分为底板、侧板、内支撑、吊挂系统四大部分。
国内深水承台施工,多采用沉井、钢围堰或钢吊箱法。
由于沉井和钢围堰施工工序繁锁,工期长,材料用量大,而钢吊箱工艺操作简单,节约工期,材料用量合理并能回收再利用,技术上可行。
所以我们确定采用钢吊箱施工方案,结合本工程工期、结构特点及施工经验等,本项目钢吊箱侧板采用单壁结构。
南京大胜关长江大桥7#墩钢吊箱围堰封底施工技术摘要:南京大胜关长江大桥主墩7#墩基础施工采用双壁钢吊箱法,钢吊箱作为基础施工的挡水结构,兼作施工平台的承重结构。
吊箱侧板作为承台施工的侧模板,封底混凝土作为承台施工的底模板,封底质量的好坏直接影响到后续承台的施工及整体的基础受力。
7#墩钢吊箱围堰封底施工根据围堰结构特点,设计堵漏装置,通过多导管浇注封底混凝土,防止了渗水和涌泉的影响,保证了工程能在干燥状态下施工,效果显著。
关键词:钢吊箱;清理;堵漏;导管;测点;浇注混凝土。
1 工程概况南京大胜关长江大桥是京沪高速铁路的控制性工程,也是沪汉蓉铁路跨越长江的通道,同时搭载南京市双线过江地铁,位于南京长江三桥上游1.55km的大胜关桥位[1]。
大桥全长9273.237 m,其主桥全长1615m,由北向南孔跨布置为2联(84+84)m连续钢桁梁+(108+192+336+336+192+108)m六跨连续钢桁拱桥。
南京大胜关大桥7#墩基础采用46根φ2.8m的钻孔桩,桩长为107m,钻孔桩钢护筒为主体结构,参与桩基受力[2],钢护筒直径为φ3.2m,壁厚25mm,总长度为50m,基础施工采用双壁钢吊箱法,钢吊箱平面为圆端形,尺寸80m×38m,吊箱高度24.5m,壁厚2m,重约5000吨。
封底混凝土,厚4.5m,采用c25水下混凝土,约8846m3。
封底底板混凝土由4道底隔仓分成5个浇筑区域,底隔仓为单壁桁架结构,高4.5m。
箱壁内填充10.5m高c25水下混凝土,约4270m3(分两次,第一次填充6.5m,第二次填充4.0m),由隔仓板分成36个浇筑区域。
2 钢吊箱构造及施工方法简述钢吊箱分2节制造安装,其中底节高14.506m,重约3000t;顶节高10.0m,重约2000t。
钢吊箱由龙骨底板、外侧板、主隔舱、吊杆、内支撑桁架及上、下导环组成。
底板龙骨为格构式结构,顶面布置肋板,为满足吊箱下水过程底板刚度要求,在底板上沿长度方向设置两组加强桁架,增加底板纵向刚度;吊箱侧板底、顶节采用双壁结构;主隔仓板为桁式单壁结构。
桥基单壁钢套箱施工及漏水处理技术彭 伟(中交二航局二公司 四川达州 635000) 【摘 要】 结合某大桥承台单壁钢套箱施工及漏水事故,总结了单壁套箱施工及漏水处理方法.。
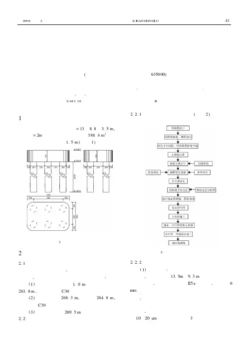
【关键词】 单壁套箱;施工;漏水处理【中图分类号】 U443.16 【文献标识码】 B1 概述桥主墩承台长×宽×高=13×8.8×3.5m ,四角设φ=2m 圆倒角。
共计砼方量388.4m 2。
设计承台顶面标高位于水下1.5m (如图1)。
图1 承台构造图2 钢套箱施工2.1 钢套箱设计为了节约工程成本,考虑套箱模板配套墩身模板使用,决定采用单壁套箱结构。
设计参数:(1)钢套箱封底砼厚1.0m 。
封底砼底标高263.8m ,砼强度等级C30。
(2)承台顶标高268.3m,底标高264.8m ,砼强度等级C30。
(3)设计施工水位65。
钢套箱施工2.2.1 钢套箱施工工艺流程图(见图2)图2 钢套箱施工工艺流程图2.2.2 模板加工(1)底板加工:钢套箱底板采用格构式型钢焊接结构,底板尺寸为13.5m ×9.3m 。
底模放置在底板受力梁上,受力主梁采用I 25a 的型钢,面板为6mm 厚的钢板。
为了防止钢护筒处底板开孔时损伤主梁,主梁纵、横向间距需根据钢护筒位置调整以留有较大的富余值。
底板根据成桩后钢护筒的实测数据开孔,开孔范围较钢护筒在底板上的垂直投影线大~。
底板结构如图3所示。
14 2009年第2期 西南公路X I N ANG ONG LU 29.m 2.21020c m图3 钢套箱底板结构示意图 (2)侧模:钢套箱侧壁采用单壁结构,面板为δ=6mm ,横肋为[14槽钢,沿面板纵向从下至上每隔37.5c m 布置一层;竖肋为[12,沿面板横向每间距38.8c m 布置一根,竖背带采用工32型钢,间隔90cm 布置一道。
为了与墩身模板配套,整钢吊箱侧模由20块(长边6块、短边4块)模板组成,侧壁与底板之间,侧壁之间连接采用M24螺栓联接,中间垫1c m 厚橡胶皮止水。
钢吊箱围堰施工的技术与应用一,钢吊箱围堰技术1、结构设计钢吊箱围堰是为承台施工而设计的临时阻水结构,其作用是通过吊箱围堰侧板和底板上的封底混凝土围水,为承台施工提供无水的干燥施工环境。
钢吊箱的结构构造由底板、侧板、内支撑、悬吊及定位系统组成。
底板是竖向主要受力构件。
钢吊箱底板的结构形式主要有型钢网格分配梁底板以及空间桁架式底板。
其中,型钢网格分配梁底板施工加工量小,底板安装快捷、方便、工期短,缺点是分配梁底板刚度较小,如设计不当容易导致底板变形较大,从而导致浇筑的封底混凝土受拉开裂,质量不易保证。
侧板是钢吊箱水平向承受静水压力、水流力和波浪力的受力构件。
侧板构造形式分为单壁围堰和双壁围堰。
单壁围堰的优点是只有一侧壁板,结构简单,加工方便;缺点是必须现场拼装,下沉较为困难,下沉中如发生问题较难控制。
双壁围堰的优点在于下沉过程中可以充分利用水的浮力,通过调节隔舱内的水来调节吊箱的位置,这就使得双壁围堰施工有明显的主动性;缺点是结构复杂,施工难度大。
内支撑由内团梁、水平撑杆及竖向支架三部分组成。
内团梁设在吊箱侧板的内侧,安装在侧板内壁牛腿上。
内团梁的作用主要是承受侧板传递的荷载,并将其传给水平撑杆。
水平撑杆的作用是通过对吊箱侧板的支撑减小侧板位移,竖向支架的作用主要是支撑水平撑杆,同时减小水平撑杆的自由长度。
竖向支架的底端焊接到底板上,上端与水平撑杆焊接。
悬吊系统以钻孔桩钢护筒为依托,由纵、横梁,吊杆及钢护筒组成。
横梁支点设置在护筒内侧牛腿上,横梁的作用是将悬吊荷载通过钢护筒传递给桩基。
纵梁的作用是支撑吊杆,并将吊杆传来的荷载传给横梁。
吊杆上端固定于支架的纵梁上,下端固定于底板的吊杆梁之上。
吊杆的作用是将吊箱自重以及封底板的重量传给纵梁。
由于钢吊箱下沉人水后受流水压力的作用,吊箱围堰会向下游漂移,为便于调整吊箱位置,确保顺利下沉需设置定位系统。
定位系统有多种方式,在水流较小的情况下,可以采用导链牵引、抽注水方式定位,在水流较急的情况下,也可以采用定位船克服水流力来纠偏。
钢吊箱围堰封底漏水处理办法一、施工过程简述灌河大桥主4#墩采用钢吊箱施工,在底板清於后进行封底施工,封底混凝土浇注采用分三区浇注,两圆形区和直线段区,其中圆形区设计方量为1256m3,实际浇注方量为下游1180和上游1210m3,直线段为598m3,实际浇注570m3。
下图为浇注时导管布置图,顺利浇注完成。
上游下游主4#墩承台土封底导管布置图二、漏水的发现在5月9日,在低水位封闭通水孔后,随着涨潮吊箱内侧水位跟随着上涨,吊箱内外水头差为1.1m,吊箱内水位上涨速度为每分钟2.8cm高度,折算为水流量为2500 m3/小时。
同时经观测,吊箱内有几处出现水流动现象,经潜水工检查,已发现漏水情况为如下图示:第1处,位于下游14号护筒边缘处,长50cm宽25cm的不规则空洞,探至最深处标高为-4.5m。
第2处,位于下游16号护筒的吊箱壁体处,长70cm宽20cm的不规则空洞,探至最低标高为-4.7m.此处最为明显,水流动快。
第3处,位于下游11号护筒的边缘处,长40cm宽30cm左右的深陷凹槽,探至最低标高为-4.5m.第4处,位于下游11号护筒的边缘处,长40cm宽30cm左右的深陷凹槽,探至最低标高为-4.5m.主4#墩承台土封底漏洞布置图三、堵漏方案由于流量较大,抽水设备不能满足要求。
且要尽快找到更多的漏洞,采用先堵造成流量大的洞,再抽水找小洞进行堵漏和引流方式处理。
1、大孔洞(最小尺寸大于20cm,含上述已发现的洞)的处理流程1)打开不小于6个通水孔按5小时涨潮计算,吊箱内外可满足10cm内的水头差异,在涨落潮如果差异超过内外10cm,则可适当增加通水孔开孔数量。
2)采用风镐进行水下凿孔成型为保证堵漏效果,在原浇注时的洞体边用风镐凿除松散混凝土后,并按孔口大小在下缘采用扩孔形式凿除一部份混凝土,深度最低不小于50cm,如下图示:水下凿毛成型3)封堵凿后洞体顶口在凿孔成型后,清除洞内的余渣,采用盐城堵漏公司的材料进行底口封堵,该材料有很好的可塑性和短期强度高的特点,能迅速的将孔洞底封堵,如孔过大,可采用钢筋等材料进行塞垫。
钢结构厂房漏水维修施工方案五篇第一篇:钢结构厂房漏水维修施工方案上海固蓝防水,您身边的漏水维修专家钢结构厂房漏水维修施工方案上海固蓝防水是一家专业的上海防水堵漏公司。
公司以专业堵漏维修为强项,以精湛的技术和全新服务的姿态加上国内一流的最新的高科技领先产品,解决上海居民、企事业单位因住房渗、漏水而引起的水害烦恼,恢复您正常的生活,解决你工程渗漏水的困惑。
上海固蓝建筑防水公司专业从事上海房屋补漏施工、房屋、厂房漏水维修。
一:彩钢瓦屋面漏水的主要原因:1、生产和运输过程、施工过程中的不慎造成彩钢瓦的变形。
彩板质量差,上人屋面施工造成彩板变形。
2、风、雨等外力的作用,造成彩钢瓦屋面长时间的颤动,使钉眼处及铁皮接缝处长时间的磨损,遇到雨水就生锈.然后就再磨损再生锈,越来越严重。
3、自攻钉有橡胶垫为何还会渗水?第一:施工中自攻钉用力过猛已经把橡胶垫破坏。
第二:橡胶垫老化快,很快就失去了防水功效。
4、彩钢瓦屋面变形的主要原因:第一:屋面跨度大,时间久了造成中间积水,中部重力加大,雨水次数越多变形越严重,甚至出现塌顶.第二:带矿棉的屋面,矿棉有吸水作用,遇到阴雨天,屋面渗漏的雨水全部聚集在矿棉里,重量加大。
第三:厦季屋面高温时,突降大雨,造成彩板温度骤降,彩板急速收缩,造成彩板变形,钉子松动。
5、高低跨屋面墙脚水冲部位渗水:采用水泥抹八字角、密封胶或者防水涂料做防水保护。
水泥与金属不结合出现裂缝.涂料或密封胶延伸率小也会出现较大裂缝。
6、用耐候密封胶为何还会渗水?耐候密封胶在凝固时必定要收缩, 收缩时就可能会在胶与框体之间产生分离,如果框体有尘土,这种情况会更严重。
彩钢屋面长时间的高温加速了耐候胶的老化,金属材料的多次热胀冷缩,耐候胶很快失去功效。
7、防水涂料修补两年后为何还会漏水?防水涂料的可流动性造成施工时涂料厚度的不均匀,有缝隙不易被发现,再加上屋面的颤动,涂料的延伸率低出现裂缝。
防水涂料施工时的偷工减料,涂料厚度过薄,很快就老化龟裂。
浅析钢结构厂房施工防渗漏施工技术措施钢结构厂房是当今建筑建设中重要的分量,也是容易渗漏的重要原因之一。
施工防渗漏技术措施是极为重要的,它可以有效地防止钢结构厂房渗漏,确保工程质量,提高建筑长久使用性。
一、施工前防渗漏技术措施(1)结构设计应符合国家规范要求,要求满足地下基础、建筑结构和非金属材料的防渗漏要求,以确保建筑防渗漏效果。
(2)对钢结构厂房施工,应根据地形、地质和气候等现场环境条件进行施工前的综合考虑,采取有效的地面防水处理方案,严格执行施工程序,以保证施工品质达到设计要求。
(3)施工前还应对施工现场进行全面的检查,如地面状况及试验、现场搭建状况、材料检查、设备检查和工具检查,以确保施工品质。
二、施工防渗漏技术措施(1)施工防渗漏应符合国家规范,根据不同的建筑结构,采取不同的防渗漏处理措施,并充分利用现有的钢结构厂房施工技术,及早预防渗漏可能性。
(2)墙体及地面渗漏防护采用防水涂料,防水材料应符合国家规范的要求,施工时应严格控制施工温度和湿度,以确保防水材料的施工质量。
(3)对结构上部屋顶部分,应采取有效的防水措施,根据室内结构形式和钢结构厂房厂房结构形式等不同情况,采取有效的措施进行防渗,保证屋顶的完好。
(4)建筑的排水管道应依据设计要求,并严格按照施工规范要求施工,确保排水管道连接牢固、正确安装,以避免出现渗漏现象。
三、施工后防渗漏技术措施(1)完成施工后,应对施工现场进行全面的检查,以确保施工品质达到设计要求。
(2)钢结构厂房施工完成后,应进行防水性能测试,以评估施工工艺的质量,确保施工后的钢结构厂房质量合格。
(3)质量检查完成后,应做好施工后防渗漏技术措施的实施,如室内外墙体材料及结构处理、结构接地电气系统的排水处理、室外地面的处理等,以保证建筑的防渗漏功能,长期使用。
四、结论钢结构厂房施工防渗漏施工技术措施在钢结构厂房建设中起着至关重要的作用。
施工防渗漏技术措施不仅要求施工前综合考虑施工现场环境条件,而且还要求施工和施工后实施有效的技术措施,以确保钢结构厂房防渗漏效果,提高建筑长久使用性。
钢结构漏雨处理方案1. 引言钢结构作为一种重要的建筑结构形式,在现代建筑中得到了广泛应用。
然而,在使用钢结构的建筑中,由于设计或施工等原因,可能会存在漏雨的问题。
漏雨严重影响建筑的使用功能和结构的安全性。
因此,针对钢结构漏雨问题,制定科学的处理方案是非常重要的。
本文将介绍钢结构漏雨的原因,并提出相应的处理方案,以帮助解决该问题,确保钢结构的安全性和使用功能。
2. 钢结构漏雨的原因钢结构漏雨的原因多种多样,常见的原因包括以下几点:2.1 错误的设计钢结构的设计是预防漏雨问题的关键。
设计中可能存在错误,例如不合理的施工接口设计、檐口设计不当等。
这些设计错误可能导致雨水渗入钢结构,引发漏雨问题。
2.2 施工不当施工过程中,如果没有严格按照设计要求操作,可能会出现施工工艺不规范、施工接缝处理不当等情况。
这些不当施工措施会导致钢结构的密封性下降,引发漏雨问题。
2.3 使用年限在钢结构使用的过程中,随着时间的推移,由于自然风化等原因,钢结构的密封性可能会下降。
长时间的使用可能导致结构老化,进而引发漏雨现象。
2.4 外部损伤钢结构可能会受到外部因素的损伤,例如较大的风力、坠落物撞击等。
这些外部损伤可能会造成结构的破坏,使之丧失漏雨防护能力。
3. 钢结构漏雨处理方案为解决钢结构漏雨问题,我们可以采取以下几个方面的处理措施:3.1 定期检查和维护针对已经建成的钢结构建筑,应该定期进行检查和维护工作,特别是在雨季来临之前。
通过及时发现和处理钢结构的破损、腐蚀等问题,可以防止漏雨的发生。
3.2 加强设计和施工质量控制在建筑设计和施工过程中,应加强质量控制措施。
设计人员应确保设计合理,并遵循相关规范和标准。
施工人员应按照设计要求进行施工,特别是在关键节点和接缝处进行严格的防水处理,以提高钢结构的密封性。
3.3 采用密封材料进行加固对于已经出现漏雨问题的钢结构,可以采用密封材料进行加固。
例如,在结构的接缝处涂抹防水油漆或涂层,以提高结构的密封性和防水能力。
- 109 -工 程 技 术0 引言目前国内深水承台施工以沉井、钢围堰或钢吊箱居多,但沉井与钢围堰施工工期长、工序烦琐且材料消耗较大,相对而言钢吊箱工艺操作简单,既可节约工期,材料也可循环利用,技术上比较可行。
钢吊箱围堰是临时性设施,主要通过吊箱侧板和底板封底混凝土进行围水,分别以封底混凝土、吊箱侧板为承台施工的底模与侧模,为水中承台施工提供干处施工环境。
其优点如下:1)节约材料,易加工且质量可控。
2)可作为承台施工模板,同时易装拆。
3)承台侧板在承台施工后还可拆下重复利用,兼做施工模板。
4)下沉工艺简单、节省时间。
5)侧板可在附近场地加工,分块拉至钻孔平台进行拼装,焊接工程量小,易于拼装,风险较小。
1 工程概况北江特大桥桥跨布置为42+4×40+(88+160+88)+6×40,主桥为(88+160+88)m 预应力砼连续刚构桥。
主桥(8#、9#、10#、11#)采用分离式承台,引桥采用整体式承台。
水中承台16座,其中12座为钢吊箱围堰施工,4座为钢板桩围堰施工。
北江特大桥9#~10#主墩钢吊箱主要由侧板、底板、支撑系统、吊挂及下放导向系统、封底组成(钢吊箱内构造如图1所示)。
侧板采用I32a 竖肋,间距80cm~90cm+[14槽钢横肋+8mm 钢板组成。
底板采用2HN500×200型钢主龙骨+I12.6次龙骨间距30mm+5mm 钢板组成。
支撑系统分上、下2层,采用围堰+支撑结构。
吊挂系统采用在钢护筒上安放下放型钢,利用吊杆连接底板下主龙骨。
下放导向系统利用钢护筒上焊接的型钢结构控制下放时平面及竖向。
封底混凝土标号为C30,分2次浇筑(1.2m+0.6m )。
第一次水下封堵1.2m 厚,待达到强度后抽水并进行第二次封底(干封)0.6m 厚,干封前在每个护筒上焊6个型钢剪力键(HN400)。
钢吊箱底板安装完成后,在底板中标出吊箱壁板的位置线及侧板各单元块的分块对接点位置,侧板与底板通过φ25mm 圆钢锁住,底板外侧设置限位。
深水基础钢吊箱围堰施工技术摘要:目前桥梁深水基础及墩台施工中采用的防水围堰有以下几种:单壁钢围堰(方形和圆形),钢吊箱,双壁钢围堰,钢板桩围堰,锁口钢管桩围堰等,其中钢板桩,锁口钢管桩亦可用在基坑开挖施工。
本文是以中铁七局南昌信江大桥深水基础钢套箱围堰施工方法的拓展。
利用midas civil2010软件先介绍钢吊箱围堰施工步序,分析各工况的受力状态。
从而研究钢吊箱围堰进行施工方法和受力检算。
文中对围堰设计、拼装、下沉、加固、堵漏、浇注封底砼等有关施工技术进行阐述。
关键词:钢吊箱;模拟设计;施工工艺;工况检算abstract: the current bridge deep water foundation and pier construction adopted waterproof cofferdams are the following: single wall steel cofferdam (square and round ), steel hanging box, double wall steel cofferdam, steel sheet pile cofferdam, lock steel pipe pile cofferdam, steel sheet pile, wherein, the lock steel pipe pile can also be used in the foundation pit excavation. this article is based on china railway seven bureau of nanchang letter river bridge deep water foundation steel boxed cofferdam construction method to expand. use midas civil2010 software to introduce steel hanging box cofferdam construction step, analysis under the stress state. in order to study the steel boxed cofferdamconstruction method and stress calculation. the cofferdam design, assembly, sinking, reinforcement, plugging, pouring bottom concrete and other related construction technology is analyzed.key words: steel hanging box; simulation design; construction technology; case check中图分类号:文献标识码:a文章编号:2095-2104(2012)一、钢吊箱设计计算模型采用:承台顶和底标高,分别在水面下1.5m和5.5m;水深12m,河床附着层1m;钢吊箱围堰尺寸为12m×12m,以承台底标高为参照,围堰高6.5m;钻孔灌注桩为4根φ2.4m,承台尺寸为10.4m× 10.0m×4.0m。
钢吊箱壁体与底板拼接缝防漏水措施导言:在建筑工程中,防水工程是非常重要的一环。
特别是对于钢吊箱壁体与底板拼接缝这样的关键部位,如何防止漏水成为了施工过程中需要重点关注的问题。
本文将就钢吊箱壁体与底板拼接缝的防漏水措施进行深入探讨,并结合个人经验和观点,为您详细介绍这一问题的解决方案。
一、钢吊箱壁体与底板拼接缝的问题意识钢吊箱作为建筑工程施工中常用的临时设施,其防水工作的质量与否直接关系到工程的质量和安全。
而钢吊箱壁体与底板拼接缝是钢吊箱防水工程中的薄弱环节,容易发生漏水情况。
加强对钢吊箱壁体与底板拼接缝的防漏水措施,显得尤为重要。
二、钢吊箱壁体与底板拼接缝防漏水措施的解决方案1. 预防性工作在进行钢吊箱壁体与底板的拼接前,应对拼缝处进行彻底的清理工作。
清理后要确保拼接面无杂物、油污和水等。
2. 使用专用材料在进行拼接前,应选用专用的防水材料,如聚合物改性沥青防水涂料、橡胶防水条等,确保材料的合理选用与合理施工。
3. 加强质量监控在进行施工时,应加强质量监控,确保施工人员按照标准操作,严格按照图纸要求进行拼接,保证每一个步骤都符合要求。
4. 持续监测在施工完成后,应对拼接缝处进行持续的监测,一旦发现漏水情况立即进行修补。
5. 定期维护对于钢吊箱的维护工作也是非常重要的,要定期对钢吊箱的防水工程进行检查和维护,及时发现并解决问题。
三、对于钢吊箱壁体与底板拼接缝防漏水措施的个人理解在施工现场,钢吊箱壁体与底板拼接缝的漏水问题时有发生,造成了不少不必要的损失。
在我看来,除了以上提到的解决方案外,更重要的是施工管理人员和工程施工人员的重视和细心操作,只有保证工程质量,才能保证钢吊箱防水工程的质量。
结语:钢吊箱壁体与底板拼接缝防漏水措施需要施工方高度重视,采取各种措施加以解决,特别是在选择材料和施工过程中需加强管理,这样才能确保钢吊箱的防水工程取得良好的效果。
总结:通过深入探讨钢吊箱壁体与底板拼接缝防漏水措施的解决方案及个人理解,使我对这一问题有了更全面、深刻和灵活的理解。
分析钢结构厂房施工防渗漏施工技术措施摘要:我们都知道,钢材是钢结构厂房承重主要部件的组成部分,轻钢板材是其围护系统经常采用的材料。
当前,钢结构厂房应用的越来越多,渗漏问题已经引起广泛的关注。
笔者在本文中首先分析了产生渗漏的原因,然后探讨了防渗漏的主要措施。
关键词:钢结构;防渗漏;施工技术当前由于钢结构的巨大有点,很多厂房都采用钢结构建设方式,由于这种厂房施工花费时间段,成本也低,还具有优秀的防火能力。
但是由于其他因素的影响,完成建设钢结构厂房并投入使用后,会存在不同程度的渗漏情况,这对钢结构厂房的正常使用造成一定的影响。
因此,我们必须仔细的分析在设计、施工等各个层面钢结构厂房渗漏的原因,然后提出较强的防治措施,在本文中笔者对此进行研究和分析。
一、渗漏产生原因分析(一)设计质量要是设计的时候就没有对渗漏情况考虑或者考虑不周,那么会就会导致建成使用后的渗漏情况,有的排版轻钢板位置不当,对节点防水结构质量无法保证,或者轻钢板和轻钢板之间连接强度不足,也很容易导致发生渗漏情况。
不仅如此,要是计算节点不正确,也会对钢结构厂房的受力造成影响,所以我们必须保证节点计算的正确性。
(二)施工质量通常情况下,工程施工质量是致使钢结构厂房渗漏的关键原因。
进行施工的时候,要是关键节点不到位或者相关工序质量不足,施工不按照设计图纸,后期检验不细致等,这些都会导致钢结构厂房在使用的时候出现渗漏情况。
不仅如此,有的时候设计考虑不周,我们可以在施工环节给与上报并改正,或者采用其他措施处理,因此,现场工程施工质量直接关系到钢结构厂房的质量和使用效果,因此我们必须做好现场管理工作,这才是最关键的。
(三)材料质量采光板问题是材料方面极易出现的问题之一。
所以,工程施工的时候,我们应该严格的检查采光板材料,不同批次的采光板应该对应相同的型号,以保证和刚才型号相匹配。
要是出现型号不匹配的情况,施工中肯定会导致存在缝隙,最终导致渗漏情况。
二、钢结构厂房施工防渗漏施工技术(一)围护系统施工技术措施1.测量放线钢结构厂房大都使用预制压型钢板,如房围护系统屋面板、墙面板等,对后期的安装质量来讲,安装前的测量放线工作极为重要。
有底钢套箱围堰施工工艺1 前言有底钢套箱又名钢吊箱,是为深水高桩承台施工而设计的临时隔水结构,其作用是通过套箱侧板和底板上的封底混凝土围水,为高桩承台施工提供无水的施工环境。
同双壁钢围堰比较,钢套箱具有施工工期短、水流阻力小、利于通航、不需沉入河床、施工难度小、材料用量少、经济合理等特点,因而在大跨深水桥梁的基础施工中得到广泛的应用。
2 适用范围及特点2.1 钢套箱的适用范围当承台底面距河床面较高,或承台以下为较厚的软弱土层、且水深流急时,目前多采用有底钢套箱作为防水措施来进行深水基础施工.2。
2 钢套箱的特点有底钢套箱受水深的影响相对于无底钢套箱较小,利用护筒及其它措施定位较为容易、定位精度高;封底混凝土受底板约束,质量易于保证,数量准确;套箱悬挂于支撑系统上,不接触河床,避免了河床高低不平的影响。
3 钢套箱的设计具体计算详见《围堰结构设计指南》。
4 钢套箱施工工艺流程及加工制作4。
1 钢套箱施工工艺流程图及说明有底钢套箱一般均采用先桩后围堰施工方法,围堰的安装主要有墩位组拚和场外组拚两种,其施工工艺如下:墩位组拼:工厂加工钢套箱→墩位安装底板及壁板拼装平台→安装底板→拼装壁板→安装内支撑→拉压杆的安装→水平定位系统及导向系统的安装→钢套箱的整体下放→下沉钢套箱至设计高程→吊箱平面纠偏及竖向锁定→底板封堵与清理、封底混凝土浇筑→抽水、转换拉压杆、承台混凝土浇注场外组拚:场地平整→搭设套箱加工平台→钢套箱的加工拼装→起吊下沉就位→钢套箱的锁定→堵漏→封底混凝土浇筑→承台施工.4.2 钢套箱加工制造及拼装4。
2.1 加工制造及拼装的总体要求及精度控制加工制造用的钢材应满足以下要求:Q235钢应符合现行国家标准《碳素结构钢》(GB700)的规定;Q345钢应符合现行国家标准《低合金结构钢》(GB1591)的规定。
焊接材料的要求:钢套箱加工选用的焊条、焊丝必须符合现行国家标准,包括《碳钢焊条》(GB5117)、《低合金焊条》(GB5118)、《碳钢药芯焊丝》(GB10045)、《熔化焊用钢丝》(GB/T14957-94)及《二氧化碳气体保护焊用钢丝》(GB8110)的规定。
钢吊箱围堰漏水处理技术
摘要: 本文主要对元山2号大桥5#墩钢吊箱围堰封底不成功、钢吊箱模板接缝不密封造成围堰漏水,通过“排、引、封”一套完整的措施有效的解决了围堰漏水问题,保证了承台顺利施工。
关键词:钢吊箱围堰漏水有效混凝土浇筑
中图分类号:tu74文献标识码: a 文章编号:
一、工程概况
元山大桥位于西宁市皇中县甘河滩镇甘河工业园区,桥址地形平坦开阔,交通便利,桥梁为跨越元山水库而设,桥址范围内地层主要为第四系冲积粉质粘土,淤泥质粉质粘土,沙质黄土及第三系泥岩,沙砾岩等,桥址处泥岩具有中等膨胀性,为膨胀性岩石。
黄土具有等压缩性与一级自重湿陷性。
粉质粘土具有中压缩性与一级非自重湿陷性。
红粘土具有中等膨胀性。
桥址处元山水库储水主要由下游灌溉用水产生,水量随季节变化明显,主要为大气降水。
其中元山2号大桥跨越元山水库,全长195.2米,7跨,24米预应力钢筋砼整孔t梁。
其中2#、3#、4#、5#、6#共5个墩处于元山水库水中,水深约6-8米,直径125cm钻孔灌注桩20根,钢筋砼水中承台5.7*6.4*2.5m计5个。
元山水库属省审批的一级水资源保护区。
我部决心以保持元山水库水质,保证水源不受污染为施工核心,为西格铁路创建一座优质样板工程,保证甘河滩人民用水不受污染。
经综合比较分析,主桥墩水中5个承台围堰采用单壁钢吊箱施工。
二、钢吊箱围堰施工
围堰是用于水下施工的临时性挡水设施。
钢吊箱围堰是为承台施工而设计的临时阻水结构,其作用是通过吊箱围堰侧板和底板上的封底混凝土围水,为承台施工提供无水的干处施工环境;封底混凝土作为承台施工的底模板,吊箱侧板作为承台施工的侧模板。
根据钢吊箱使用功能,将其分为底板、侧板、内支撑、吊挂系统四大部分。
国内深水承台施工,多采用沉井、钢围堰或钢吊箱法。
由于沉井和钢围堰施工工序繁锁,工期长,材料用量大,而钢吊箱工艺操作简单,节约工期,材料用量合理并能回收再利用,技术上可行。
所以我们确定采用钢吊箱施工方案,结合本工程工期、结构特点及施工经验等,本项目钢吊箱侧板采用单壁结构。
单壁钢吊箱施工优点如下:
(1)节省材料,加工方便,加工质量易控制;(2)装、拆方便,可兼做承台施工模板;(3)承台施工完毕,拆除侧板又可作为施工模板;(4)下沉工艺简单、节省时间;(5)在钻孔平台上拼装侧板,焊接工作量小,拼装容易。
三、钢吊箱围堰施工中出现的问题
元山2号大桥5#墩承台是水中采用钢吊箱围堰施工的第一个承台,由于施工各方面的原因,待抽水后准备承台施工时,发现封底混凝土结合处不密实,有冒水现象,侧壁模板接缝处有漏水,经分析由于混凝土封底是导管间距偏大造成冒水,模板接缝橡胶条偏薄
造成漏水的原因。
四、钢吊箱围堰漏水处理措施
如何解决钢吊箱围堰漏水问题成为承台施工的关键性难题,结合钢吊箱围堰的施工特点;承台施工前有1m后的封底混凝土,围堰侧壁作承台恻模使用,且周边比承台几何尺寸大10cm。
1、排水系统设置
为确保承台顺利施工,首先需要对钢吊箱围堰内的水进行抽排,确保钢吊箱内不存积水,且要保证承台的几何尺寸,方可进行承台混凝土浇筑,这就需要在承台内设置一套排水系统。
本排水系统设置主要来利用钢吊箱周边几何尺寸比承台周边几何尺寸大10cm原则设置,首先在靠钢吊箱侧壁混凝土密实的地方凿一个
50cm*50cm*30cm立方的汇水坑(1m厚封底混凝土顶部),周边凿出水槽10cm*10cm来,保证周边的水都可以流到汇水坑。
根据承台封底混凝土漏水的大小,可以多选几个汇水坑,同时将钢吊箱底部冒水的地方也凿出10cm*10cm*10cm水坑,然后将冒水的地方水凿出水槽10cm*10cm流至汇水坑,采用离心泵进行抽排,根据冒水量的大小选离心泵。
采用离心泵主要:一是可以保证承台几何尺寸;二是离心泵可以再利用,以节约成本。
2、引水系统设置
本引水系统设置主要针对于围堰侧壁模板缝漏水采用引的方式进行处理,在模板漏水的接缝处焊接一条半圆型钢管(采用φ40脚手架管切割成两半)引至周边的水槽里,通过水槽流至汇水坑里,
离心泵只要排出汇水坑的水。
3、封水系统设置
元山水库属青海省审批的一级水资源保护区。
供沿线数村生活,灌溉等用水,保持水库水域水质,是关系国计民生的大事情。
为保证元山水库水不被污染,首先采用在排水槽上面铺设5mm的钢板,砂浆对钢板与混凝土接缝处用封死,以形成暗沟,为保证承台施工过程中水泥浆不进入到暗沟里,采用优质彩条布降低部铺设一层,整个钢吊箱侧壁也铺设一层优质彩条布,保证侧壁水泥浆不进入到引水管里,这样晋江水只是在钢吊箱里循环一圈,没有增加任何矿物质,保持元山水库水域水质。
通过“排、引、封”成功解决了元山2号大桥5#墩钢吊箱围堰漏水问题,保证了承台浇筑混凝土无水的干处施工环境,同时也做到了元山水库水域水质环保,得到监理和业主的好评。
下图为元山2号大桥3#墩处理示意图
五、结论
钢吊箱围堰低成本、操作方便、施工效率高等优点,是水中高桩承台施工的优先选择,但处理不好将会出现漏水问题,可通过“排、引、封”一套完整的措施有效的解决了围堰漏水问题,对钢吊箱围堰漏水处理有很好的指导意义。
参考文献
[1]铁路桥涵地基和基础设计规范 tb1002.5-2005
[2]桥梁墩台与基础工程盛洪飞,2005.10
[3]西格二线铁路地质说明。