宾馆客人换房程序
- 格式:doc
- 大小:35.00 KB
- 文档页数:1
酒店换房流程酒店换房流程是指在入住期间,客人因某些原因需要更换房间时,酒店所采取的一系列操作和服务流程。
接下来,我将详细介绍一下酒店换房的流程。
1. 客人提出更换房间的请求当客人在入住时发现房间设施有问题、卫生条件不符合期望、或者个人需求发生变化时,可以向前台工作人员提出更换房间的请求。
客人可通过电话、前台或者手机应用程序等方式与酒店进行沟通。
2. 前台工作人员接受请求并核实信息一旦客人提出更换房间的请求,前台工作人员会主动接受,并核实客人的身份和预订信息。
在核实信息的过程中,工作人员还会了解客人更换房间的具体原因,以便更好地满足客人的需求。
3. 工作人员为客人提供协助在确认客人的更换房间请求后,前台工作人员会为客人提供协助,包括帮助客人搬迁行李,指引客人前往新房间的位置,并向客人解释新房间的特点和设施。
4. 检查新房间的条件在客人搬迁至新房间之前,酒店会派遣工作人员对新房间进行检查,确保新房间的条件符合客人的要求和期望。
这包括卫生状况、设施是否齐全以及房间是否满足客人的喜好等。
5. 客人入住新房间一旦新房间通过检查,工作人员会通知客人可以入住新房间。
客人可以带着自己的行李前往新房间,并享受酒店所提供的其他服务和设施。
6. 登记更换房间为了记录更换房间的过程,酒店会要求客人填写更换房间的相关表格或登记记录。
这样可以帮助酒店了解客人的需求和改进服务,也是提供更好服务的基础。
7. 前台工作人员进行跟进在客人完成换房后,前台工作人员会进行一定的跟进工作,包括向客人再次确认是否满意新房间的条件和服务,并听取客人的反馈。
如有需要,工作人员还会提供额外的帮助和支持。
总的来说,酒店换房的流程包括客人提出请求、前台工作人员接受并核实信息、为客人提供协助、检查新房间条件、客人入住新房间、登记更换房间和前台工作人员进行跟进。
这一流程的目的是为了满足客人的需求和提供更好的服务体验,确保客人的入住期间无忧无虑。
酒店换房、换住宿流程概述本文档旨在介绍酒店换房和换住宿的流程,包括所需材料和操作步骤。
请遵循以下规定和建议,确保顺利完成换房和换住宿请求。
换房流程1. 联系前台:如需换房,首先与酒店前台联系,表明您的需求。
联系前台:如需换房,首先与酒店前台联系,表明您的需求。
联系前台:如需换房,首先与酒店前台联系,表明您的需求。
2. 说明原因:告知前台您希望换房的原因,例如房间设施问题、邻近噪音等。
这有助于酒店理解您的需求并提供解决方案。
说明原因:告知前台您希望换房的原因,例如房间设施问题、邻近噪音等。
这有助于酒店理解您的需求并提供解决方案。
说明原因:告知前台您希望换房的原因,例如房间设施问题、邻近噪音等。
这有助于酒店理解您的需求并提供解决方案。
3. 选择替代房间:酒店可能会提供给您几个可供选择的替代房间。
请根据您的要求和酒店提供的选项进行选择。
选择替代房间:酒店可能会提供给您几个可供选择的替代房间。
请根据您的要求和酒店提供的选项进行选择。
选择替代房间:酒店可能会提供给您几个可供选择的替代房间。
请根据您的要求和酒店提供的选项进行选择。
4. 签署换房协议:一旦选择了新的房间,您可能需要签署换房协议。
请仔细阅读并确保您理解其中的条款和条件。
签署换房协议:一旦选择了新的房间,您可能需要签署换房协议。
请仔细阅读并确保您理解其中的条款和条件。
签署换房协议:一旦选择了新的房间,您可能需要签署换房协议。
请仔细阅读并确保您理解其中的条款和条件。
5. 入住新房间:完成换房协议后,您可前往新房间入住。
酒店工作人员将协助您搬迁行李和安顿好新的住宿。
入住新房间:完成换房协议后,您可前往新房间入住。
酒店工作人员将协助您搬迁行李和安顿好新的住宿。
入住新房间:完成换房协议后,您可前往新房间入住。
酒店工作人员将协助您搬迁行李和安顿好新的住宿。
换住宿流程1. 联系前台:如需换住宿,与酒店前台联系,并说明您希望换住宿的原因。
联系前台:如需换住宿,与酒店前台联系,并说明您希望换住宿的原因。
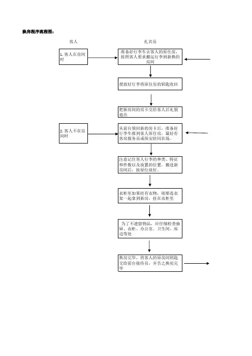
7.3.1.15 客人换房流程与规范流程名称客人换房流程与规范文件受控状态文件管理部门服务程序服务规范刚入住的情况下1.接到客人换房通知(1)当陪同客人来到房间时客人表示对房间不满意,向客人致歉并经得客人同意使用电话(2)打电话给前台通知情况,叙述细节如:房号,客人姓名和客人的需求2.换房过程(1)根据客人喜好从前台获得新的房间,并要求送来钥匙,告诉客人新的房号,并介绍新房间的特点。
(2)协助客人提行李,并陪同客人去新的房间。
(3)当钥匙送来后打开房门,礼貌的向客人确认对房间是否满意,如果满意,介绍房间设施,放好行李,把钥匙交给客人,再次向客人致歉并询问客人是否需要其他服务,最后祝客人入住愉快。
已入住的情况下1.接到客人换房通知(1)当从住店客人那里收到换房要求时,服务员要询问客人问题的细节并为给客人带来不便致歉,要尽量满足客人的喜好和需求。
2.换房(1)如果客人在房间,带上行李车和新的钥匙进入房间。
(2)按门铃通知客人换房,帮助搬运行李并陪同客人去新的房间,在离开之前为给客人带来不便再次向客人致歉并提供今后一切客人需要的帮助。
(3)向客人取回旧的钥匙还给前台。
(1)如果客人不在房间内,留言让客人回来后准备换房时联系服务中心,按照上面的换房程序进行换房。
(1)如果客人要求他/她不在房间时进行换房,和值班经理一起进入房间,(2)值班经理使用万能钥匙进入房间,监督礼宾员工搬运客人物品,重复检查抽屉,壁橱和其他区域,确保没有东西遗留在房间里面。
3.换房完成后通知前台(1)换房完成后通知前台,以便更新系统信息并通知相关部门(2)通知客户关系主任打礼貌电话给客人确认客人是否满意(3)回到大堂后把信息记录在行动控制表上相关说明编制人员审核人员批准人员编制日期审核日期批准日期。
酒店客人的换房处理程序
客人换房的处理程序:
一.了解换房原因:
当接到客人换房的要求时,要问清原因,一般的换房原因包括:
1、房间设施出现故障;
2、房间所处位置周围噪音太大;
3、客人不满意房间周围的景色;
4、客人的办事处或朋友所在房间与其相距太远;
5、客人有亲属、朋友欲来同住;
6、房价承受有困难等。
二.满足换房要求:
1、如果是酒店原因造成换房;
a.向客人表示歉意;
b.按照客人的要求立即为其更换房间;
c.通知客房部台班查房。
2、如果是客人原因造成换房:
a. 立即为客人换房;
b. 通知客房部台班查房。
三.办理换房手续:
1、更换相应的《欢迎卡》和房间钥匙;
2、填写一式三联的《房间/房价变更通知单》,由前台收银员签收,第一联前台接待留存,第二联转交前台收银员;
3、通知客房部台班XX房间客人换房,并做好记录;
4、将客人原始《国内客人住宿登记表》或《境外人员临时住宿登记表》上的资料做相应的更改,并存入文档中;
5、将新的《欢迎卡》、房间钥匙及《房间/房价变更
通知单》第三联转交行李员送到客房台班处 ,并客人退换房。
四.修改电脑输入资料:
1、将电脑中的原始资料做相应的更改;
2、通知总机更改房间电话状态。
五.存档:
将《房间/房价变更通知单》按日期存入文档中。
酒店换房流程
在入住酒店期间,有时候我们会遇到一些特殊情况,需要换房。
可能是因为房间设施有问题,或者是因为房间位置不理想。
无论是
什么原因,换房流程都是需要遵循的。
下面就让我们来了解一下酒
店换房的具体流程。
首先,当您发现需要换房时,第一步是和前台工作人员进行沟通。
您可以向前台工作人员说明您需要换房的原因,比如房间设施
有问题、房间位置不理想等。
前台工作人员会听取您的需求,并进
行相应的记录。
接下来,前台工作人员会核实您的需求,并为您安排新的房间。
在核实过程中,前台工作人员可能会向您询问一些问题,比如您希
望换到哪种类型的房间、您对新房间有什么特殊要求等。
您可以根
据自己的需求进行回答,前台工作人员会尽量满足您的要求。
一旦新的房间安排好了,前台工作人员会通知您新房间的具体
位置,并协助您搬迁行李。
在搬迁行李的过程中,您可以再次确认
新房间是否符合您的需求,如果有任何问题,可以及时向前台工作
人员反映。
最后,当您搬到新房间后,前台工作人员会再次与您确认新房间的设施是否完好,并为您办理相关手续。
您可以在确认无误后,安心享受新的住宿环境。
总的来说,酒店换房流程并不复杂,但需要您和前台工作人员之间的有效沟通和配合。
如果您需要换房,可以根据以上流程进行操作,相信酒店工作人员会尽量满足您的需求,让您在酒店住宿期间感到舒适和愉快。
希望以上内容对您有所帮助,祝您入住愉快!。
某商务大厦客户换房工作程序某商务大厦客户换房工作程序一、概述某商务大厦作为一个现代化的商务办公中心,拥有数百间客房供客户使用。
在特定情况下,客户可能需要申请换房。
本文将详细描述某商务大厦客户换房的工作程序。
二、申请换房1. 客户需先向前台接待人员提出换房申请。
2. 前台接待人员将提供一张换房申请表,客户需要填写以下信息:- 姓名:客户的姓名。
- 客房原房号:客户目前所住的客房号码。
- 客房原房型:客户目前所住的客房类型(如单人间、双人间、套房等)。
- 客房原房价:客户目前所住的客房价格。
- 换房原因:客户换房的原因。
- 期望换房时间:客户希望能在何时换房。
3. 客户完整填写换房申请表后,将表格交还给前台接待人员。
4. 前台接待人员将审核申请表,并告知客户是否符合换房条件。
三、确认可换房1. 如果客户符合换房条件,前台接待人员将检查客房可用性,并告知客户以下信息:- 可换房型:商务大厦目前可提供的房型。
- 可换房间号:商务大厦目前可提供的房间号码。
- 可换房价:商务大厦目前可提供的房间价格。
- 变更房间要求:如客户需要提供其他特殊需求,需在此阶段提出。
2. 客户确认可换房信息后,前台接待人员将协助客户完成换房手续。
四、办理换房手续1. 客户需支付差价:如果新房间价格高于原房间价格,客户需要支付相应的差价。
前台接待人员将向客户提供付款方式,并完成相关手续。
2. 领取新房间钥匙:客户完成支付后,前台接待人员将向客户提供新房间钥匙。
3. 客户搬离原房间:客户需要在约定的换房时间内将行李搬离原房间,并向前台接待人员归还原房间钥匙。
4. 客户入住新房间:客户需将行李送至新房间,并使用新房间钥匙入住。
5. 前台接待人员将更新客户的住宿记录,并将换房申请表归档。
五、总结某商务大厦客户换房工作程序包括申请换房、确认可换房和办理换房手续三个阶段。
通过详细的工作程序,商务大厦可以高效、顺利地处理客户换房的请求。
同时,商务大厦也需要灵活性,根据不同情况进行处理,以提供最佳的客户服务体验。
商务酒店接待员续房与换房处理工作流程标准工作项目程序与标准说明书Procedure and standard部门:前厅部工作项目:换房处理工作项目承担:接待员工作项目程序标准1、与客人商量换(1)、因酒店方面原因为客人更换房间;房事宜①提前为客人准备一间同类型房间或较好的房间;②经验丰富的员工主动到客人房间或电话告诉客人酒店提出为其更换房间;(2)、因客人方面原因为客人更换房间:①高度重视客人的换房需求,详细了解客人的换房原因;②努力为客人查找客人需要的房间类别、尽量满足客人的需求。
2、通知客房中心(1)、将换房情况通知客房中心;和客人(2)、由客房中心通知客人已换入房间的类别、房号、价格和大致位置,并征询客人意见;(3)、填写换房通知单,并协助客人搬运行李。
3、处理电脑资料(1)、在电脑上作换房处理;(2)、将换房通知单第一联交前台收银处。
工作项目程序与标准说明书Procedure and standard部门:前厅部工作项目名称:续房处理工作项目承担:接待员工作项目程序标准1、接待客人(1)、当客人本人、或委托他人到前台或打电话要求续房时,热情接待客人仔细聆听客人续房的原因和要求,尽量满足客人;(2)、当客人入住时登记的离馆日期到期时,应礼貌询问客人需要续房的时间,千万不可直接问客人退房时间。
2、查询房态(1)、立即在电脑上查询近期房态;①如果房态状况较紧张,接待员应立即请示主管,同意后才回复客人;②如果无法满足客人,应向客人建议换房,共同商量解决办法;③根本不可能续房时,应向客人道歉,并建议客人住其他同档次酒店,同时积极为客人联系订房,必要时为客人订下返店的时间和房间;④VIP客人的续房要求必须满足,但要向VIP接待部门和急于用房部门负责人汇报,促其达成共识,以便对当日房态做适当调整;(2)、如果团队要求续房时,仔细询问该团队付费方式,并立即请示主管,同意后才办理续房手续。
3、办理续房手续(1)、确认能够满足客人要求时,礼貌告诉客人同意为其续房,由接待员为客人填写一式两联续房通知单,注明客人续房的时间和方式;(2)、如果客人预付现金,请客人到收银处预付,并礼貌向客人示意收银处的位置;(3)、电话通知收银处值班员和客人所在楼层服务台值班员客人续房情况,接待员应在客人挂上电话或离开时马上电话通知各服务点。
酒店换房程序一、换房对酒店的影响:1.前台——可能会导致可用房的减少,影响客房的出租,加大前台工作量; 2.客房——可能会导致脏房数量的增加,加大客房的工作量。
二、换房的一般原则:尽可能减少转房。
三、换房的一般程序:1、询问客人转房的原因;1)客人自己意愿要换房2)酒店内部原因:卫生问题,设备损坏问题,工程嘈杂等3)酒店外部:工程问题,交通嘈杂等问题2、根据以下的不同情况进行不同的处理;1)、非当天入住的房间,注意当时的时间(中午时,一般给予换房),根据不同时间作灵活处理;2)、当天入住的房间,客人未动用过房间的物品,给予转房;3)、当天入住的房间,客人动用过房间的物品(尽量说服客人给予解决相关问题,减少转房);3.确认给予转房查询目前是否有同类的房间(尽可能安排在其目前房间的附近),如果没有,即向客人推荐高一级的房间,注意与客人确认房价的不同;客人如果对房价的意见较大,可请示上级处理(可以考虑给予升级,此种情况仅限于酒店内部出现的原因导致客人换房),客人如果表示次日再转房时,即注意做好房间的保留,写好交接班,提醒客人尽量在中午前办理换房;客人白天要外出,即向客人解释,早上外出时可将行李收拾好,存于行李处(或者打包好集中放于房间),感谢客人的谅解。
4.办理转房的手续:填写转房/房价调整单,请客人签名,电脑操作转房,注意房价是否相同,制作新房卡,询问客人是否需要协助搬行李,如需要,即把新房卡给行李员协助客人进行转房,待行李员将旧房卡交回前台后,通知HSKP查原房间,如有遗留物即送回客人的新房间,如房间有消费,即与客人确认,开单入账;如客人不需要协助搬行李,可把新房卡给客人,待收回旧房卡后,通知HSKP查原房间;如果客人在房间,可让行李员将转房房价调整单和新房卡送到客人的房间,请客人在转房/房价调整单上签名确认,待行李员将旧房卡交回前台后,通知HSKP查原房间。
5. 让行李员将转房/房价调整单派至HSKP(总机),并签名,一联与R/C钉在一起;6.致电客人的新房间,询问客人是否满意(注意如果是凌晨就不要再打扰客人了)。
酒店客人的换房处理程序1. 引言在酒店经营管理过程中,客人可能会提出换房请求。
为了满足客人的需求并提供更好的服务,酒店需要建立一套有效的换房处理程序。
本文将详细讨论酒店客人的换房处理程序,包括换房的流程、相关的注意事项以及可能出现的问题和解决方法。
2. 换房流程2.1 客人提出换房请求客人在提出换房请求时,可以通过以下途径向酒店前台工作人员表达他们的意愿:•直接前往前台咨询处;•拨打酒店的前台电话。
2.2 酒店前台接收换房请求酒店前台工作人员应该积极主动地与客人沟通,了解他们的需求并记录相关信息。
在接收到客人的换房请求后,前台工作人员应该:1.确认客人的身份和房间信息;2.询问客人的具体需求,例如换到什么样的房型、楼层或位置等;3.根据客人的需求,给予适当的建议,如是否存在可供选择的房间以及房间调整的可行性等。
2.3 核实房间可用性在收到客人的换房请求后,前台工作人员需要核实酒店是否有合适的空房可供客人更换。
为此,前台工作人员应该与酒店客房部门进行沟通,并确认以下信息:•酒店当前的客房情况;•可供更换的房型、楼层或位置。
2.4 提供合适的房间选择一旦确认有可用的房间供客人选择,前台工作人员应向客人提供选项,并说明各个房间的优缺点,例如房间大小、视野、设施等。
在提供房间选择时,前台工作人员应充分考虑客人的个人偏好和需求,并尽可能满足他们的期望。
2.5 安排房间调整当客人确定了房间选择后,前台工作人员应与客房部门进行协调,安排房间调整。
前台工作人员需要与客房部门保持密切的沟通,以确保房间调整的顺利进行,并及时通知客人有关调整的具体信息。
2.6 完成换房手续房间调整完成后,前台工作人员需要通知客人,并协助客人完成换房手续。
换房手续主要包括以下内容:•将房卡和房间号码交给客人;•更新客人的住宿信息。
3. 注意事项在处理酒店客人的换房请求时,前台工作人员需要注意以下事项:3.1 与客人沟通需求前台工作人员应细致入微地与客人沟通,了解他们的换房需求。
Task – Room Change Service CON -0012
Page 1 of 2
S T A N D A R D O P E R A T I N G P R O C E D U R E 标准操作程序
ROOM CHANGE SERVICE
换房服务程序(客人不在场) T ASK N UMBER : 任务号:
CON-0012
D EPARTMENT : 部门: Concierge
礼宾部
WHAT / STEPS
步骤
HOW/ STANDARDS 操作标准 1) 收到前台换房指令 收到前台换房单以及客人不在房间的通知
客人不在房间的换房,必须确认房间行李都已经打包好,必须有大堂副理、保安一
同前往
换房单的内容包括新旧房号、客人姓名、换房原因、前台员工的签名
2) 前往客人房间换房
携带行李车、新房间房卡,跟同大堂副理和保安前往客人房间
如果客人行李没有打包好,同大堂副理、保安一同将客人物品清点打包好,注意不
要弄坏客人物品
检查抽屉、衣橱和浴室,确保没有东西遗留
将打包好的客人行李放至行李车上
Task – Room Change Service CON -0012
Page 2 of 2
WHAT / STEPS
步骤
HOW/ STANDARDS 操作标准 4) 将行李换至新房间 进入新的房间,将行李放到行李架上
将所有衣服及服装袋挂好放进衣橱里
5 ) 跟进工作
及时返回大厅
将房卡归还前台,告知前台换房工作已经完成
将换房单分发到客房部
UPDATE OCT.2011。
换房处理服务流程与规范为了确保顾客在换房过程中能够得到高质量的服务,保障顾客的权益,提高服务效率,每个酒店都应建立并遵守换房处理的服务流程与规范。
以下是一份换房处理服务流程与规范的示例,供参考。
一、服务流程:1.顾客申请换房:顾客在入住期间如需换房,应向前台服务人员提出申请,说明理由和要求。
2.前台接待员受理申请并核实信息:接待员应认真听取顾客的要求,并核实顾客的身份和入住信息,确保申请的合理性。
3.查找可提供的房间:接待员与房务部门沟通,查询系统中未入住或即将退房的房间情况,找出满足顾客要求的可用房间。
4.检查房间情况:房务部门员工应迅速检查所选房间的安全、设备、卫生等情况,确保提供给顾客的房间符合标准。
5.通知顾客并确认:一旦找到合适的房间,接待员应及时通知顾客,并核实顾客是否同意换房。
6.协助顾客搬迁:如顾客同意换房,接待员应协助顾客将行李搬迁到新房间,并提供必要的帮助与说明。
7.检查新房间并协助调整:酒店工作人员应再次检查新房间的设备、卫生情况,并协助顾客调整房间内的温度、灯光等设备。
8.收集顾客反馈:接待员应向顾客询问对新房间的满意度,并记录相关反馈以便后续改进。
9.办理换房手续:接待员在完成换房服务后,应按照规定的程序办理换房手续,更新顾客的房间信息。
二、规范要求:1.保障顾客权益:酒店应严格遵守相关法律法规,保护顾客的隐私和合法权益,在换房过程中不泄露顾客的个人信息。
2.敏捷高效:换房服务需要及时有效进行,酒店应建立完善的信息交流机制,确保各部门间的沟通协调,提高服务效率。
3.注重细节:酒店工作人员在查找新房间和检查房间情况时,应仔细检查房间内设备的正常运转、卫生情况等细节,确保顾客舒适入住。
4.提供专业建议:工作人员应向顾客提供关于房间装修、位置、风景等方面的专业建议,以便顾客作出更好的选择。
5.尊重顾客意愿:酒店应尊重顾客换房的意愿,尽量满足其要求。
如果无法满足,应认真解释原因,并给予合理的解决方案。