小容量注射剂生产工艺规范通则
- 格式:doc
- 大小:131.50 KB
- 文档页数:13
小容量注射剂生产工艺规程通则第一章总则第一条为了确保小容量注射剂生产过程的安全、有效和规范,提高药品质量,保护人民群众的生命健康,根据《药品生产质量管理规范》和相关法律、法规的要求,制定本工艺规程。
第二条本工艺规程适用于小容量注射剂的生产工艺规范,包括原辅料采购、生产工艺、质量控制等环节。
第三条小容量注射剂是指每支容量在2毫升以下的注射剂。
第四条小容量注射剂的生产工艺应按照国家药典等标准进行,确保产品的质量和安全性。
第二章原辅料采购第五条原辅料采购应符合国家相关法律、法规的要求,确保原辅料的质量和安全性。
第六条采购的原辅料应具有有效正式的质量合格报告,符合国家药典等标准。
第七条采购的原辅料应有合格供应商提供,并签订正式的质量协议。
第八条采购的原辅料应按标准存放、保管,防止受潮、受热和污染。
第三章生产工艺第九条小容量注射剂的生产工艺应按照国家药典等标准进行,包括原料配制、灭菌、灌装、包装等环节。
第十条原料配制环节应采用准确的称量、计量设备,严格按照工艺要求进行操作,确保原材料的准确性和有效性。
第十一条灭菌环节应使用符合标准的灭菌设备和方法,确保产品在灭菌过程中不受微生物的污染。
第十二条灌装环节应使用合适的灌装设备,确保注射剂的容量和质量稳定,并避免产品的污染。
第十三条包装环节应采用符合标准的包装材料和包装方法,确保产品在包装过程中的安全性和完整性。
第四章质量控制第十四条小容量注射剂的质量控制应按照国家药典等标准进行,包括原料质量控制、生产过程控制、成品质量控制等环节。
第十五条原料质量控制包括原料的质量监控和验证,确保原料的质量符合要求。
第十六条生产过程控制包括原料配制、灭菌、灌装、包装等环节的控制,确保各个环节操作合格。
第十七条成品质量控制包括对灭菌合格样品的检验和灌装合格样品的检验,确保产品的质量符合要求。
第十八条生产过程中应保存相关记录,包括原料采购记录、配制记录、灭菌记录、灌装记录等。
第五章现场管理第十九条生产现场应符合国家相关法律、法规的要求,设立合适的操作空间,确保生产过程的卫生和安全。
制药有限公司小容量注射液生产工艺规程文件编号:1颁发单位:GMP办公室工艺规程批准程序1. 剂型、规格 (2)2. 生产工艺流程 (2)3. 操作过程及工艺条件 (3)4.质量控制要点 (6)5.设备一览表、主要设备生产能力 (6)6.工艺过程中的SOP (7)7.中间产品的控制 (8)8.验证工作要点 (8)9.工艺验证的具体要求 (9)10.工艺卫生和环境卫生 (9)11.劳动组织及岗位定员 (9)一、制剂类型:最终灭菌小容量注射液,10ml规格,安瓿瓶包装。
二、流程图:小容量注射液生产工艺流程图三、操作过程及工艺条件1 生产前的检查与确认1.1 是否还留有前批生产的产品或物料,是否已清洁并取得“清场合格证”。
1.2 检查确认生产现场的机器设备和器具是否已清洁并准备完毕挂上“合格”标示。
1.3 所使用原辅料是否准备齐全。
是否有质量检验报告单,合格品才能使用。
1.4 检查工艺用水是否新鲜制备,贮存不得超过24小时。
1.5 检查确认与生产品种相适应的批生产指令、配套文件及有关记录是否已准备齐全。
1.6 检查确认生产场所的温度是否在规定范围内(18-26℃,相对湿度在30%-65%)。
2 洗瓶、干燥灭菌2.1理瓶:根据“批生产指令”准备所需的清洁盘、领取必须的安瓶。
在理瓶室将安瓶的合格品摆满瓶盘。
2.2粗洗:把安瓿瓶盘放在不锈钢传送链条上,开动洗瓶机用高压循环纯化水洗安瓿瓶内外壁。
将安瓿瓶盘对称放置,固定在甩水机上,启动甩水机,甩水处理8分钟,至安瓶甩干。
重复上述操作。
2.3 精洗:用水温50--60℃,经孔径0.45um滤膜滤过的澄明度合格的注射用水清洗安瓿瓶内外壁,重复粗洗步骤。
定时检查安瓿的清洁度:目检1000ml注射用水无可见异物,抽50支,毛、块≤2%。
2.4 干燥与灭菌:安瓿盘均匀放入烘干箱内,150℃烘干1小时,或350℃烘干5分钟,消除热原。
2.5 灭菌后的安瓿立即使用或清洁存放,贮存不得超过48小时。
一、概述:最终灭菌小容量注射剂(水针剂)是装量小于50 ml,采用湿热灭菌法制备的最终灭菌注射剂,除一般理化性质外,无菌、热原或细菌内毒素、澄明度、pH 值等项目检查均应符合规定。
根据GMP要求制定最终灭菌小容量注射剂****注射液生产工艺规程,规范整个生产操作过程,确保在正常的生产条件下,生产出合格、均一、稳定的小容量注射剂****注射液产品。
二、产品名称、剂型、规格、代码1.产品名称1.1.通用名称:___1.2.英文名称:___拼音名称:___2.产品代码:___3.产品剂型:小容量注射液4.规格及批准文号:___4.1.产品规格:___4.2.包装规格:纸箱___4.3.批准文号:___国药准字H三、生产处方及依据1.处方处方量 (_)万支(_)万支原料_________辅料_________注射用水加至__ml __ml2.批量:最大量:_ml 支最小量_ml 支最大量:_ml 支最小量_ml 支3.依据:《中国药典》2010年版二部《产品注册要求文件》四、生产工艺流程及环境区域划分五、操作过程及工艺条件1、纯化水制备将饮用水经石英砂过滤和活性碳过滤去除水中有机质及微粒,再经过阳离子交换柱(软化器)制的软化水,精密过滤器过滤后经二级反渗透制得纯化水。
1.1.纯化水制备操作过程:饮用水→机械过滤→活性炭过滤→精密过滤→阳离子交换柱→一级反渗透→二级反渗透→贮罐→至各用水点。
1.2. 纯化水制备工艺条件1.2.1、纯水制备以合格饮用水为水源,纯化水水质≤2.0us/cm或≥0.5Ω/cm。
1.2.2、纯化水贮存在密闭不锈钢(316L)罐。
1.2.3纯化水制备存放时间不超过72小时。
1.2.4纯化水经紫外灯灭菌用泵输送至各使用点,各使用点使用前须安装0.45um 和0.22um滤芯(膜)过滤后使用。
1.2.5反渗透装置在进口处须安装保安过滤器。
1.2.6机械过滤器和活性炭过滤器正常工作时每班生产前进行反冲一次。
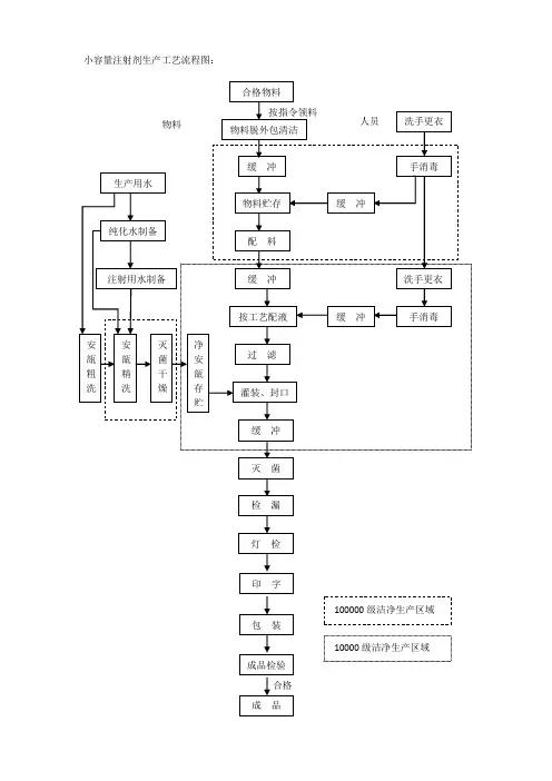
小容量注射剂生产工艺流程图:一、生产用物料包括原辅料、纯化水、注射用水、包装材料。
原辅料、包装材料(包括安瓿)应检验合格后使用。
纯化水为原水制得,清洗安瓿使用;注射用水为纯化水制得,清洗安瓿和配制使用,均应定时检查,制得后及时使用.二、纯化水、注射用水1、原水处理(纯化水的制备)原水处理方法有离子交换法、电渗析法及反渗透法.离子交换法制得的去离子水可能存在热原、乳光等问题,主要供蒸馏法制备注射用水使用,也可用于洗瓶,但不得用来配制注射液.2、注射用水的制备注射用水为蒸馏水或去离子水经蒸馏所得的水,又称重蒸馏水。
其质量要求见《中国药典》,除氯化物、硫酸盐、钙盐、硝酸盐、亚硝酸盐、二氧化碳、易氧化物、不挥发物与重金属按蒸馏水检查应符合规定外,还规定pH应为5。
0~7.0,氨含量不超过0。
00002%,热原检查应符合规定,应于制备后12h内使用。
三、人员操作人员应身体健康,每年体检一次,并建立健康档案.操作作人员按生产区域进行划分,严格遵守工作服穿戴制度,并不得将工作服穿出该区域。
不得将头发、胡须外露,不得化妆,不得佩带饰物、手表,操作前后、接触污物后均应洗手并且消毒。
工作服应定期清洗,更换。
四、领料按生产指令领取处方原料,核对物料品名,批号、规格、数量应相符,所领物料应有检验合格报告书.五、配料领取的原料核对品名、批号、数量、合格证,按生产处方配料,装入清洁容器转入下一工序。
称量时需由第二人复核. 六、安瓿清洗将安瓿轩洗瓶机内,依次用饮用水、纯化水、注射用水进行清洗,清洗后干燥灭菌,置相应区域,检验合格后及时使用。
七、配液按生产工艺进行配液八、过滤将配置完成的药液过滤,除去其中所含的杂质.九、灌封滤液经检查合格后进行灌装和封口,即灌封。
十、灭菌除采用无菌操作生产的注射剂外,注射液在灌封后须尽快进行灭菌,以保证产品的无菌。
(灭菌要求是杀灭微生物,以保证用药安全,同时避免药物的降解,以免影响药效。
)十一、检漏灭菌后的安瓿立即进行漏气检查。
小容量注射剂生产工艺规程通则目录1.小容量注射剂生产工艺流程图、小容量注射剂车间概况(附图)2.需要验证的关键工序及工艺验证(列表)3.操作过程及工艺条件4.技术安全、工艺卫生及劳动保护5.物料平衡及技经指标6.设备一览表7.岗位定员8.附件目录(岗位操作、清洁规程)1.可灭菌小容量注射剂的生产流程图100000级区域小容量注射剂车间概况(附图)说明:由质监科按洁净厂房监控制度SMP-ZL-014对洁净区进行监控,由工程设备科负责维修,车间应根据实际使用情况提出相应的建议,保证洁净厂房在使用中符合GMP的规定。
2.需要验证的关键工序及工艺验证(列表)项目名称验证文件编号注射剂车间厂房空气净化系统VP-ZJ-001 VP-ZJ-021纯化水系统VP-ZJ-002 VP-ZJ-022注射用水系统VP-ZJ-003 VP-ZJ-023工艺用气系统VP-ZJ-004 VP-ZJ-024HBD-1隧道烘房VP-ZJ-005 VP-ZJ-025药液滤过系统VP-ZJ-006 VP-ZJ-031药液灌封系统(东线)VP-ZJ-007 VP-ZJ-031ACSD-5洗烘灌封联动机VP-ZJ-008 VP-ZJ-026注射剂(东线)在线清洗、清洁VP-ZJ-009 VP-ZJ-029注射剂(西线)在线清洗、清洁VP-ZJ-010 VP-ZJ-030AQ-1.2安瓿检漏灭菌柜(东线)VP-ZJ-011 VP-ZJ-027AQ-1.2安瓿检漏灭菌柜(西线)VP-ZJ-012 VP-ZJ-028注射剂(东线)生产工艺验证VP-ZJ-013 VP-ZJ-031注射剂(西线)生产工艺验证VP-ZJ-014 VP-ZJ-032DGA8/1-2拉丝灌封机VP-ZJ-018 VP-ZJ-031说明:每年需按验证管理制度SMP-ZL-012对上述关键工序及工艺进行验证(再验证或回顾性验证)。
若系统、设备设施发生变更则必须进行相应的验证。
一、生产用物料包括原辅料、纯化水、注射用水、包装材料。
原辅料、包装材料(包括安瓿)应检验合格后使用。
纯化水为原水制得,清洗安瓿使用;注射用水为纯化水制得,清洗安瓿和配制使用,均应定时检查,制得后及时使用。
二、纯化水、注射用水1、原水处理(纯化水的制备)原水处理方法有离子交换法、电渗析法及反渗透法。
离子交换法制得的去离子水可能存在热原、乳光等问题,主要供蒸馏法制备注射用水使用,也可用于洗瓶,但不得用来配制注射液。
2、注射用水的制备注射用水为蒸馏水或去离子水经蒸馏所得的水,又称重蒸馏水。
其质量要求见《中国药典》,除氯化物、硫酸盐、钙盐、硝酸盐、亚硝酸盐、二氧化碳、易氧化物、不挥发物与重金属按蒸馏水检查应符合规定外,还规定pH应为5.0~7.0,氨含量不超过0.00002%,热原检查应符合规定,应于制备后12h内使用。
三、人员操作人员应身体健康,每年体检一次,并建立健康档案。
操作作人员按生产区域进行划分,严格遵守工作服穿戴制度,并不得将工作服穿出该区域。
不得将头发、胡须外露,不得化妆,不得佩带饰物、手表,操作前后、接触污物后均应洗手并且消毒。
工作服应定期清洗,更换。
四、领料按生产指令领取处方原料,核对物料品名,批号、规格、数量应相符,所领物料应有检验合格报告书。
五、配料领取的原料核对品名、批号、数量、合格证,按生产处方配料,装入清洁容器转入下一工序。
称量时需由第二人复核。
六、安瓿清洗将安瓿轩洗瓶机内,依次用饮用水、纯化水、注射用水进行清洗,清洗后干燥灭菌,置相应区域,检验合格后及时使用。
七、配液:按生产工艺进行配液八、过滤将配置完成的药液过滤,除去其中所含的杂质。
九、灌封滤液经检查合格后进行灌装和封口,即灌封。
十、灭菌除采用无菌操作生产的注射剂外,注射液在灌封后须尽快进行灭菌,以保证产品的无菌。
(灭菌要求是杀灭微生物,以保证用药安全,同时避免药物的降解,以免影响药效。
)十一、检漏灭菌后的安瓿立即进行漏气检查。
小容量注射剂生产工艺
小容量注射剂是指容量在1毫升以内的注射剂,其生产工艺包括原料准备、配方调配、制剂工艺、灭菌和包装等环节。
首先是原料准备。
原料包括溶剂、药物、辅料等。
溶剂主要用于配制注射剂的溶剂系统,可以是水、油剂或乳剂等。
药物则是注射剂的主要有效成分,根据药物性质和剂型要求选择合适的药物。
辅料则用于调节药物的性状和溶解度等。
原料的准备包括检验原料的质量和纯度,然后对其进行称量和分装等操作。
接下来是配方调配。
根据注射剂的配方要求,将准备好的原料按照一定比例混合和溶解。
配方调配需在洁净的操作台上进行,操作人员要穿戴合适的防护服和手套等,以确保产品的安全性和质量。
然后是制剂工艺。
首先是制剂中的卫生问题,如操作人员要保持身体清洁,操作的容器和设备要经过严格的清洁和消毒,以防止细菌污染。
然后是药液的配制和溶解,按照一定的工艺步骤和工艺参数进行操作。
接着是药物的过滤,以去除杂质和微生物等。
最后是制剂的灭菌处理,常见的灭菌方法有高压蒸汽灭菌和紫外线辐射灭菌等。
最后是包装。
合格的注射剂需要进行适当的包装,以确保产品的密封性和稳定性。
包装材料应符合药品包装要求,防止外界物质的污染。
包装工艺包括灌装、倒瓶、贴标签、瓶盖装封等。
包装后的产品要进行质量检验,包括外观检查、容量检测、溶解度测定等,以确保产品符合药典的规定。
总之,小容量注射剂的生产工艺包括原料准备、配方调配、制剂工艺、灭菌和包装等环节。
每个环节都需要严格按照工艺要求进行操作,以确保产品的安全性和质量。
小容量注射剂生产工艺模板1小容量注射剂生产工艺规程通则目录1.小容量注射剂生产工艺流程图、小容量注射剂车间概况( 附图)2.需要验证的关键工序及工艺验证( 列表)3.操作过程及工艺条件4.技术安全、工艺卫生及劳动保护5.物料平衡及技经指标6.设备一览表7.岗位定员8.附件目录( 岗位操作、清洁规程)21.可灭菌小容量注射剂的生产流程图小容量注射剂车间概况( 附图)3说明: 由质监科按洁净厂房监控制度SMP-ZL-014对洁净区进行监控, 由工程设备科负责维修, 车间应根据实际使用情况提出相应的建议, 保证洁净厂房在使用中符合GMP的规定。
2.需要验证的关键工序及工艺验证( 列表)说明: 每年需按验证管理制度SMP-ZL-012对上述关键工序及工艺进行验证( 再验证或回顾性验证) 。
若系统、设备设施发生变更则必须进行相应的验证。
验证由厂验证小组负责。
车间应根据情况及时提出相应的申请。
43.操作过程及工艺条件3.1 工艺用水:3.1.1 操作过程:3.1.1.1 原水为符合国家饮用水的标准自来水。
3.1.1.2 纯化水由原水经石英砂过滤→精滤( PE棒) →阴床→阳床→混床→紫外灯灭菌→进入贮罐。
3.1.1.3 注射用水由纯化水经多效蒸馏水机经过蒸馏而得。
3.1.2 工艺条件:3.1.2.1 原水应符合国家饮用水标准。
3.1.2.2 原水的预处理的进水流量应≤3m3/h。
3.1.2.3 温床的流量为3m3/h。
3.1.2.4 多放蒸馏水机蒸气压力应在0.30~0.4Mpa之间, 压缩空气压力应在0.3~0.4MPa之间。
3.1.2.5 纯化水的电导率应≤2us/cm, 离子检查符合«中国药典»二部”纯化水”的标准。
注射用水的电导率≤2us/cm, 离子检查符合«中国药典»二部”注射用水”的标准。
3.2 理瓶工序3.2.1 本公司可灭菌小容量注射剂所选用直接接触药品的容器5。
小容量注射剂生产工艺
一、小容量注射剂生产流程
1.原料配料:根据生产工艺文件称取所需原料,进行定量称取混合成样品;
2.粉碎加工:将原料称取的样品粉碎,达到投料要求;
3.成型加工:将粉碎后的样品经过模具加工成小容量注射剂;
4.粘合:将成型后的小容量注射剂经过挤出机筒面的粘合,保证其结实;
5.包装:将粘合完成的小容量注射剂成型包装;
6.过程检验:将小容量注射剂抽送样品检验,小容量注射剂及其包装检验;
7.成品检验:按要求随机抽送成品,进行成品检验,并按要求保存检验记录;
8.交付:小容量注射剂完成检验,满足要求即可交付。
二、小容量注射剂生产质量管理
1.原料管理:定期检查原料传送系统、投料设备、消毒系统等,确保原料得到充分稳定的保护;
2.过程控制:仔细查看生产工艺文件,确保投料工艺、成型工艺等各个工序质量控制;
3.检验质量:定期抽样检验,检验包装材料、原料成份、投料加工、成型加工等,确保质量符合要求;
4.后期管理:根据产品样品质量要求,实施后期恒温管理,确保温湿度的稳定性;。
小容量注射剂浓度配比操作工艺1.操作前准备1.1.操作人员按《人员进出c级洁净区清洁操作规程》(文件编号:SC-SOP-00-031-00)进行清洁、消毒、更衣后进入浓配间。
1.2.确认生产现场有上批清场合格证副本。
1.3.确认地面、墙面、设备、管道、器具已清洁。
1.4.确认水、电、气供应充足,质量符合规定,设备计量器具完好。
1.5.确认生产文件、状态标志齐备,核对生产状态标志,包括品名、规格、数量。
1.6.领取并核对原辅料,名称、规格、批号、数量与批生产指令一致。
1.7.确认过滤系统安装完毕符合要求。
2浓配操作过程2.1.根据批生产指令及工艺参数要求,按《投料前检查复核操作规程》(文件编号:SC • SOP - 04 • 008-00)、《PLG300浓配(罐)设备系统操作规程》(文件编号:SBSOP-07005-00)^《小容量注射剂浓配岗位操作规程》(文件编号:SC-SOP-04-013-00)等SOP要求进行浓配操作。
2.2.打开注射用水阀向浓配罐注入注射用水,加注射用水至配制全量的1/3;取称量好的原料辅料按工艺要求投料顺序从投料口加入浓配罐加热、搅拌使其溶解;测量PH值,按工艺要求用PH调节剂(10%氢氧化钠溶液或10%盐酸溶液)调节酸碱度;加入已调好的炭,开启搅拌器,搅拌15分钟,使原辅料完全溶解。
(煮沸100°C> 30分钟、设备夹层压力W0.3MP&)2.3.打开循环系统阀门(配液罐出料阀、循环阀)经钛棒过滤器循环过滤药液25分钟,除去药液活性炭;使药液澄明无明显可见异物。
2.4.开启至稀配阀门关闭循环阀门,将药液泵入稀配罐。
2.5.药液泵完后打开注射用水阀、万向清洗球阀冲洗浓配罐内壁,重复冲洗2 遍,冲洗用水量W配制全量的1/3,淋洗液泵入稀配罐。
2.6.认真填写生产记录,生产后清场。
2. 7. QA检测合格后颁发清场合格证表1浓配设备、容器具清洗方法、时间及合格标准表2浓配设备、容器具消毒(灭菌)方法、时间及合格标准3.浓配工艺条件3.1.投料前认真核对原辅料与生产指令相符,确认无上批遗留物、清场符合要求。
制药有限公司小容量注射液生产工艺规程文件编号:1颁发单位:GMP办公室工艺规程批准程序1. 剂型、规格 (2)2. 生产工艺流程 (2)3. 操作过程及工艺条件 (3)4.质量控制要点 (6)5.设备一览表、主要设备生产能力 (6)6.工艺过程中的SOP (7)7.中间产品的控制 (8)8.验证工作要点 (8)9.工艺验证的具体要求 (9)10.工艺卫生和环境卫生 (9)11.劳动组织及岗位定员 (9)一、制剂类型:最终灭菌小容量注射液,10ml规格,安瓿瓶包装。
二、流程图:小容量注射液生产工艺流程图三、操作过程及工艺条件1 生产前的检查与确认1.1 是否还留有前批生产的产品或物料,是否已清洁并取得“清场合格证”。
1.2 检查确认生产现场的机器设备和器具是否已清洁并准备完毕挂上“合格”标示。
1.3 所使用原辅料是否准备齐全。
是否有质量检验报告单,合格品才能使用。
1.4 检查工艺用水是否新鲜制备,贮存不得超过24小时。
1.5 检查确认与生产品种相适应的批生产指令、配套文件及有关记录是否已准备齐全。
1.6 检查确认生产场所的温度是否在规定范围内(18-26℃,相对湿度在30%-65%)。
2 洗瓶、干燥灭菌2.1理瓶:根据“批生产指令”准备所需的清洁盘、领取必须的安瓶。
在理瓶室将安瓶的合格品摆满瓶盘。
2.2粗洗:把安瓿瓶盘放在不锈钢传送链条上,开动洗瓶机用高压循环纯化水洗安瓿瓶内外壁。
将安瓿瓶盘对称放置,固定在甩水机上,启动甩水机,甩水处理8分钟,至安瓶甩干。
重复上述操作。
2.3 精洗:用水温50--60℃,经孔径0.45um滤膜滤过的澄明度合格的注射用水清洗安瓿瓶内外壁,重复粗洗步骤。
定时检查安瓿的清洁度:目检1000ml注射用水无可见异物,抽50支,毛、块≤2%。
2.4 干燥与灭菌:安瓿盘均匀放入烘干箱内,150℃烘干1小时,或350℃烘干5分钟,消除热原。
2.5 灭菌后的安瓿立即使用或清洁存放,贮存不得超过48小时。
小容量注射剂工艺流程小容量注射剂工艺流程一、原辅材料的准备1. 原药和辅料的准备:根据配方要求,将所需原药(如活性成分、辅料)按照计量比例精确称取;2. 溶剂的准备:根据配方要求,准备所需量的溶剂,如水、酒精、油剂等;3. 混合物的准备:将需要混合的原药和辅料放入干燥器中进行混合,使其均匀分布。
二、溶解或混合1. 溶解:将所需原药和溶剂按照配方要求,逐步加入反应釜中,搅拌并加热至一定温度,使其完全溶解;2. 混合:将混合物放入混合机中进行机械搅拌,直到混合均匀。
三、过滤1. 粗过滤:将混合溶液通过粗过滤器过滤,去除大颗粒杂质;2. 精过滤:将粗过滤液通过精密过滤器过滤,去除微小颗粒和杂质。
四、灭菌1. 混合液灭菌:将过滤后的混合液注入灭菌容器中,进行高温高压的灭菌处理,确保产品的无菌性;2. 注射器灭菌:将注射器放入灭菌器中进行高温高压的灭菌处理,确保注射器的无菌性。
五、充填和封口1. 充填:将灭菌后的混合液注入注射器中,确保注射器内无气泡,同时保持一定的负压;2. 封口:利用注射器封口机,对注射器进行封装,确保无菌状态。
六、外包装1. 清洁与消毒:对注射器外包装容器进行清洁和消毒处理;2. 装入注射器:将灭菌封口的注射器放入外包装容器中;3. 二次灭菌:对外包装容器及其内部进行二次灭菌处理,确保外包装容器的无菌性;4. 封口:将外包装容器进行封口,防止外界污染。
七、质量控制1. 外观检查:对注射器外包装进行外观检查,确保无明显瑕疵;2. 容量检验:对注射器内的液体容量进行抽样检验,确保达到设计要求;3. 包装完整性检查:检查外包装容器的封口完整性,确保无破损;4. 生物学检验:进行微生物学检验,确保产品的无菌性。
以上就是小容量注射剂的工艺流程。
这个流程将原辅材料准备、溶解或混合、过滤、灭菌、充填和封口、外包装和质量控制等步骤有机地结合起来,通过科学的操作保证了注射剂的质量和安全。
在操作中,要严格按照规定的配方和工艺条件进行操作,确保产品的无菌性和有效性。
制药厂企业标准版本号:02 小容量注射剂工艺规程2002—06—10发布 2002—06—25实施发布前言本工艺规程系首次修定;本工艺规程系根据《药品生产质量管理规范》(1998年版)的规定修定;本工艺规程自生效之日起同时替代QJ/SY J0201—2000《小容量注射剂工艺规程》(版本号01);本工艺规程由技术管理处提出;本工艺规程由水针车间修定;本工艺规程起草人:金红雨本工艺规程打印人:金红雨本工艺规程由技术管理处负责解释;本工艺规程发布日期:2002.06.25;本工艺规程应发给:各有关处室及生产车间。
文件批准表Q/SY J0201—2002 版本号02 页号:1/181目的:建立小容量注射剂工艺规程,保证产品质量符合规定要求。
2引用标准及资料:《药品生产质量管理规范(GMP)》(1998年修订)《中华人民共和国药典》2000年版及2002年增补本《药品包装标准及文件汇编》1996年版3适用范围:本工艺规程适用于小容量注射剂生产全过程。
麻醉药品、精神药品的生产还应执行厂有关麻醉药品、精神药品的管理制度。
4职责:参与小容量注射剂生产全过程的操作人员应遵循本工艺规程,对此程序负责。
5概述:小容量注射剂(1ml~20ml)系指药物制成的供注入体内的灭菌液,它具有药效迅速、作用可靠的特点,适用于不宜口服的药物及不能口服给药的病人,还可产生局部定位作用,但制造过程复杂、使用不便且注射疼痛。
6生产工艺流程图:见附录A。
7工艺处方:依照产品工艺规程。
8生产工艺和操作要求:8.1制水8.1.1小容量注射剂所需工艺用水包括饮用水、纯化水、注射用水;沈阳第一制药厂 2002-06-10发布 2002-06-25实施8.1.2纯化水的制备以饮用水为水源,经过二级反渗透装置制备而成,注射用水的制备以纯化水为水源,通过蒸馏法制备而成;8.1.3纯化水及注射用水贮罐、输送管路均采用316L不锈钢材质,贮罐为密闭罐,通气口安装0.22µm疏水性的空气过滤器,完整性试验安装后进行一次,连续生产时每周进行一次,起泡点压力应大于0.25Mpa,若不合格则更换;8.1.4注射用水的储存采用80℃以上保温;8.1.5注射用水/纯化水贮罐及管路的清洁:8.1.5.1在系统安装后,投入使用前,经注射用水/纯化水预冲洗—→ 1%NaOH循环清洗30分钟—→注射用水/纯化水冲洗—→钝化(8%硝酸溶液49-52℃循环60分钟—→注射用水/纯化水冲洗—→3%双氧水溶液循环2小时—→注射用水/纯化水冲洗—→清洁蒸汽消毒;8.1.5.2投入使用后的日常清洁:a、注射用水/纯化水贮罐、管路每月按以下步骤清洁一次:1%NaOH溶液循环半小时→注射用水/纯化水冲洗→氧化剂循环2小时→注射用水/纯化水冲洗→清洁蒸汽消毒;b、氧化剂为3%双氧水溶液和二氧化氯溶液(1000ppm),每次一种,交替使用;c、清洁蒸汽消毒保证终端温度不低于121℃,时间在20分钟以上;8.1.5.3停产三天以上(包括三天),注射用水贮罐、管路用清洁蒸汽消毒1次;8.1.6注射用水贮罐及管路每周/每月清洁后需检测以下出水点质量:蒸馏水机出口、贮罐、总送水口、总回水口、浓配、稀配、配炭;8.1.7纯化水每周/每月清洁后需检测以下出水点质量:反渗透设备出口、纯化水贮罐总送水口、总回水口。
磺胺间甲氧嘧啶钠注射液生产工艺规程(小容量)目录1 产品概述2 处方和依据3 工艺流程图4 制剂工艺过程及工艺条件5 原辅材料质量标准和检查方法6 中间产品质量标准和检查方法7 成品质量标准和检查方法8 包装规格、包装材料质量标准9 说明书、产品文字说明和标志10 工艺要求11 设备一览表和主要设备生产能力12 技术安全与劳动保护13 劳动组织14 技术经济指标计算15 原辅料消耗定额16 包装材料消耗定额17 动力消耗定额18 综合利用与环境保护目的:制定本标准的目的是规范磺胺间甲氧嘧啶钠注射液生产过程,对一定数量的成品所需的起始原辅料和包装材料,以及工艺、加工说明、技术参数、注意事项等进一步标准化。
适用范围:适用于磺胺间甲氧嘧啶钠注射液生产全过程。
责任人:质量部部长、生产部部长、车间主任。
内容:1产品概述:本品为磺胺间甲氧嘧啶钠的灭菌水溶液。
含磺胺间甲氧嘧啶钠(C11H11N4NaO3S)应为标示量的96.0%~104.0%1.1产品特点:1.1.1性状:本品为无色至微黄色的澄明液体。
1.1.2作用与用途:磺胺类药。
用于各种敏感菌引起的呼吸道、消化道、泌尿道感染及球虫病、猪弓形虫病等。
局部灌注可治疗乳腺炎和子宫内膜炎。
1.1.3用法用量:静脉注射一次量每1Kg体重家畜0.5ml,一日1~2次,连用2-3日。
1.1.4规格:10ml:1g(磺胺间甲氧嘧啶钠)1.1.5贮藏:遮光、密闭保存。
1.1.6停药期:28日1.1.7有效期:二年1.1.8批准文号:2 处方和依据:2.1处方:(1000ml)磺胺间甲氧嘧啶钠100g 硫代硫酸钠 1 g注射用水至1000ml4 制剂工艺过程及工艺条件:4.1总述:4.1.1按生产指令单领取磺胺间甲氧嘧啶钠原料,在浓配灌中加入计算量70%的注射用水, 再加入计算量的硫代硫酸钠搅拌使溶解;然后加磺胺间甲氧嘧啶钠原料搅拌至完全溶解,粗滤至稀配灌中,加注射用水近全量,调节PH在规定范围内(9.7-10.8),补加注射用水至足量;用孔径为0.45um、0.22um的过滤器(使用前后经过完整性测试合格)精滤,检查澄明度、含量合格后,将药液输送到至灌封岗位,充氮灌封,100℃30分钟灭菌,灯检、印字包装成规定规格即可。
小容量注射剂生产工艺一、引言二、原料准备1.药物活性成分:药物活性成分需要进行有效的检验和分析,以确认其纯度和质量是否达到预期要求。
2.辅料:辅料的选择需要考虑到其对药物稳定性和吸收性的影响,同时也需要进行质量检验。
3.溶剂:溶剂的选择应该基于活性成分的溶解性和药物的特性,确保其满足药物的需求。
三、工艺步骤1.配方设计:根据所需的药物剂量和成份,设计合适的配方。
配方的设计应该考虑到药物的物理化学性质以及产品的稳定性和耐用性。
2.原料准备:按照配方的要求,将药物活性成分、辅料和溶剂准备好,并进行质量检查。
3.溶解和混合:将药物活性成分和辅料溶解在适当的溶剂中,通过搅拌或其他混合方法,使其均匀混合。
4.灭菌:对混合溶液进行灭菌处理,以确保产品的无菌性。
5.填充和密封:将灭菌的溶液通过灌装设备填充到注射剂容器中,并使用适当的方法进行密封,确保产品的完整性和无菌性。
四、质量控制1.原料检验:对原料进行质量检验,包括药物活性成分、辅料和溶剂。
确保其符合规定的标准。
2.过程控制:在生产过程中,对每个步骤进行监控和控制,确保每个步骤的执行符合要求。
包括溶解和混合的时间、温度和湿度的控制,灭菌过程的参数设定等。
3.产品检验:对生产好的小容量注射剂进行质量检验,包括外观、容器密封性、无菌性和药物含量等指标的检测。
4.稳定性研究:对产品进行稳定性研究,以评估产品的稳定性和耐用性。
这可以通过长期储存和周期性检测来实现。
五、结论小容量注射剂的生产工艺对于确保药物质量和产品稳定性具有重要意义。
通过严格的质量控制和规范的生产工艺,可以确保产品符合标准,并做到安全有效。
因此,在生产小容量注射剂时,必须严格按照工艺步骤进行操作,并进行必要的质量控制和检验。
小容量注射剂生产工艺规程通则1.引言1.1目的本文档是针对小容量注射剂的生产工艺规程通则,旨在规范该类制剂的生产过程,以确保其质量和安全性,保护患者的健康。
1.2适用范围本文档适用于所有生产小容量注射剂的企业,包括生产过程中的关键步骤、设备和材料的选择、操作规范以及质量控制方法等。
2.引用文件2.1国家药典2.2相关制剂标准2.3工艺规程和操作规范2.4相关法律法规3.术语和定义3.1小容量注射剂:指注射器容量在1毫升至50毫升之间的制剂。
3.2关键步骤:指在制剂生产过程中对质量和安全性产生重要影响的步骤。
3.3质量控制:指对制剂生产过程中的关键参数进行监控和控制,确保产品质量符合规定标准。
4.生产设备和环境要求4.1生产设备的选择和验证,包括灭菌设备、制剂混合设备、注射器灌装设备等。
4.2温湿度控制,确保制剂生产过程中的环境温湿度符合要求。
4.3清洁和消毒,包括对生产设备、容器和输送管道的清洁和消毒。
5.材料要求5.1原辅料的选择和采购,确保符合相关质量标准。
5.2原辅料的贮存和管理,包括库存管理、防潮防尘等。
5.3包材的选择和采购,确保符合相关质量标准。
6.生产工艺6.1制剂混合工艺,包括原辅料的配制、混合和溶解等。
6.2灌装工艺,包括注射器的灌装、密封和包装等。
6.3清洁工艺,确保生产设备、容器和输送管道的清洁和消毒。
7.质量控制7.1原辅料的质量控制,包括进货检验和质量抽检。
7.2制剂的质量控制,包括制剂的理化性质和微生物检验。
7.3工艺参数的控制,包括温度、压力、时间等的监控和记录。
7.4不良事件的处理和记录,包括生产过程中的异常情况和质量问题的处理。
8.文档管理8.1工艺规程和操作规范的编制、审批和发放。
8.2质量记录和报告的管理,包括质量控制记录和不良事件报告等。
8.3文档的存档和归档,确保文档的可追溯和保密性。
9.培训和监督9.1员工培训,确保员工了解和熟悉工艺规程和操作规范。
9.2内部监督和审核,包括生产现场的监督和审核,确保规程的执行和质量控制的有效性。
小容量注射剂生产工艺规程通则
目录
1.小容量注射剂生产工艺流程图、小容量注射剂车间概况(附图)
2.需要验证的关键工序及工艺验证(列表)
3.操作过程及工艺条件
4.技术安全、工艺卫生及劳动爱护
5.物料平衡及技经指标
6.设备一览表
7.岗位定员
8.附件目录(岗位操作、清洁规程)
1.可灭菌小容量注射剂的生产流程图
小容量注射剂车间概况(附图)讲明:由质监科按洁净厂房监操纵度SMP-ZL-014对洁净区进行监控,由工程设备科负责维修,车间应依照实际使用情况提出相应的建议,保证洁净厂房在使用中符合GMP的规定。
2.需要验证的关键工序及工艺验证(列表)
讲明:每年需按验证治理制度SMP-ZL-012对上述关键工序及工艺进行验证(再验证或回忆性验证)。
若系统、设备设施
发生变更则必须进行相应的验证。
验证由厂验证小组负责。
车间应依照情况及时提出相应的申请。
3.操作过程及工艺条件
3.1 工艺用水:
3.1.1 操作过程:
3.1.1.1 原水为符合国家饮用水的标准自来水。
3.1.1.2 纯化水由原水经石英砂过滤→精滤(PE棒)→阴床
→阳床→混床→紫外灯灭菌→进入贮罐。
3.1.1.3 注射用水由纯化水经多效蒸馏水机通过蒸馏而得。
3.1.2 工艺条件:
3.1.2.1 原水应符合国家饮用水标准。
3.1.2.2 原水的预处理的进水流量应≤3m3/h。
3.1.2.3 温床的流量为3m3/h。
3.1.2.4 多放蒸馏水机蒸气压力应在0.30~0.4Mpa之间,压
缩空气压力应在0.3~0.4MPa之间。
3.1.2.5 纯化水的电导率应≤2us/cm,离子检查符合«中
国药典»2005版二部“纯化水”的标准。
注射用水的电导率≤2us/cm,离子检查符合«中国药典»2005版二部“注射用水”的标准。
3.2 理瓶工序
3.2.1 本公司可灭菌小容量注射剂所选用直接接触药品的
容器为低硼硅玻璃安瓿,执行国家药品监督治理局国家药用
包装容器(材料)标准(试行)YBB00332002,以下均可简
称安瓿。
3.2.2 操作过程:
按批生产指令领取安瓿并除去外包装,烧字安瓿要核对批号、品名、规格、数量。
在理瓶间逐盘理好后送入联动机
清洗或送入粗洗间用纯化水粗洗后送入精洗间超声,注射用
水甩干并检查清洁符合规定后送隧道烘房。
3.2.3 工艺条件:
3.2.3.1 纯化水应符合«中国药典»2005年版二部标准
注射用水应符合«中国药典»2005年版二部标准
3.2.3.2 洗瓶用注射用水水温应为50℃±5℃,冲瓶水压应在0.15-0.2MPa之间。
3.3 配制工序:
3.3.1 操作过程
3.3.1.1 按批生产指令,领取原辅料。
3.3.1.2 特不注意:注射剂用原料药,非水溶媒,部分辅
料经本公司检验核发的检验报告单加注了“供注射用”字样,请认真核对!!
3.3.1.3 依照原辅料检验报告书,对原辅料的品名、批号、
生产厂家规程及数量核对,并分不标(量)取原辅料,各不同品种的具体操作按“工艺规程各论”执行。
3.3.1.4 原辅料的计算、称量、投料必须进行复核,操作
人、复核人均应在原始记录上签名。
3.3.1.5 过滤前后,过滤器均需要做起泡点试验,应合格。
3.3.1.6 配料过程中,凡接触药液的配制容器、管道、用具、胶管等均需做特不处理。
3.3.1.7 称量时使用经计量检定合格,标有在有效期内的
合格证的衡器,每次使用前应校正。
3.3.2 工艺条件:
3.3.2.1 配制用注射用水应符合«中国药典»2005年版二
部“注射用水标准”,每次配料前必须确认所用注射用水已按规定检验;并取得符合规定的结果及报告。
3.3.2.2 将处方量药用炭放入3000ml注射用水中煮沸,自然放冷。
3.3.2.3 其余工艺条件按“工艺规程各论”执行。
3.3.2.4 药液从配制到灭菌的时刻不超过12小时。
3.4 灌封:
3.4.1 操作过程:
3.4.1.1 将已处理的灌装机、活塞、针头、液球、胶管等
安装好,用0.5µm及0.22µm滤芯过滤的新奇注射用水洗涤,调试灌封机,并校正装量,并抽干注射用水。
同时依照需要调整管道煤气和氧气压力。
3.4.1.2 接通药液管道,将开始打出的适量药液回入配制,
重新过滤,并检查可见异物情况,合格后,开始灌封,灌封时每一小时抽检装量一次并每小时检查药液澄明情况一次,装量差异应符合产品“工艺规程各论”的规定,并填写在原始记录上。
3.4.1.3 充氮要求应符合产品“工艺规程各论”的规定。
3.4.2 工艺条件:
3.4.2.1 检测装量注射器,准确度1ml注射器应至0.02ml、
2ml注射器至0.1ml、5ml注射器至0.2ml、20ml注射器至
1.0ml。
已灌装的半成品,必须在4小时内灭菌。
3.5 灭菌及检漏
3.5.1 操作过程:
3.5.1.1 按批生产指令,设定好温度、时刻、真空度等数据。
3.5.1.2 将封口后的安瓿产品依照产品流转卡,核对品名、
规格、批号、数量正确后,送入安瓿检漏灭菌柜中,关闭柜门,按下启动键。
灭菌检漏结束后(过程由电脑操纵)打开柜门,取出产品,再用纯化水进一步冲洗,逐盘将进色水产品检出后,送去湿房(1)去湿。
3.5.2 工艺条件:
3.5.2.1 按产品“工艺规程各论”执行。
3.5.2.2 去湿房(1)温度55℃±5℃,时刻三小时。
专门情况见“工艺规程各论”。
3.6 灯检:
3.6.1 操作过程
产品去湿后进入灯检室,核对品名、规格、批号、数量正确后,按《中国药典2005版二部附录》进行可见异物检查,剔除外观不良品、内在质量不合格品和有装量差异的,灯检后产品送入去湿房(2)。
3.6.2 工艺条件
3.6.2.1 去湿房(2)温度55℃±5℃,时刻二小时。
专门情况见“工艺规程各论”。
3.7 印包:
3.7.1 操作过程:
3.7.1.1 依照批包装指令,按100%领取一切包装材料。
3.7.1.2 按产品流转卡核对品名、规格、批号、数量等,
并依照产品名称、规格、批号,安装印字铜板(品名、批号、规格由工序负责人和工序质监员核对)。
3.7.1.3 核对无误后开印包机,同时检查印字字迹是否清
晰并将印字后产品逐一装入纸盒内,每10小盒为一扎,同时检查有无漏装。
3.7.1.5 需手工包装的产品,每1小盒为一组,每5小盒
或10小盒为1中盒,每10中盒或20中盒为一箱,最后装入大箱中,由工序质监员核对装箱单和拼箱单内容,放入装箱单和拼箱单,核对品名、规格、数量等无误后封箱。
3.7.2 工艺条件:
3.7.2.1 按产品“工艺规程各论”执行
4.技术安全,工艺卫生及劳动爱护
4.1 技术安全:
4.1.1 洗瓶工序操作人员操作时应按规定穿戴好劳保用
品,并严格按设备操作规程进行
操作,做到人离、关机、关水、关电。
4.1.2 药液过滤器起泡点值为0.34Mpa(0.22μm滤芯),
完整性测试见 SOP-ZJ-50。
4.1.3 灌封应严格操纵管道煤气,氧气的压力,封口完及
时关闭管道煤气和氧气开关及一切电源开关。
4.1.4 包装材料严格防火措施。
4.1.5 经常检查管道煤气、氧气有无泄漏。
4.1.6 相关岗位应防酸、碱等化学试剂损伤。
4.2 工艺卫生:
精洗、配料、灌封区域的风速、换气次数、尘埃粒子、菌落数、温湿度按“洁净环境监操纵度”执行。
执行厂房、设备的清洁规程和清场治理制度。
4.3 劳动爱护:
4.3.1 产生粉尘的房间(如称料间)在操作过程中,应开启除尘罩。
4.3.2 操作人员按规定穿戴好工作衣、帽,一万级区域需戴好口罩。
4.3.3 使用注射用水、烘箱时要注意安全,以防烫伤。
4.3.4 除国家有关劳保规定外,本生产线无专门劳保要求。
5.物料平衡及技经指标
注:1. 取前三年的平均值作为平衡计算的指标±5 %,制定为平衡在同意范围内为合格,上限≤100% 。
2. 新产品为上一年度全年同容量规格产品的平均值。
6.设备一览表
7.岗位定员
8.附件目录:(岗位操作、清洁规程)。