小容量注射剂
- 格式:doc
- 大小:91.00 KB
- 文档页数:17
小容量注射剂生产工艺规程通则第一章总则第一条为了确保小容量注射剂生产过程的安全、有效和规范,提高药品质量,保护人民群众的生命健康,根据《药品生产质量管理规范》和相关法律、法规的要求,制定本工艺规程。
第二条本工艺规程适用于小容量注射剂的生产工艺规范,包括原辅料采购、生产工艺、质量控制等环节。
第三条小容量注射剂是指每支容量在2毫升以下的注射剂。
第四条小容量注射剂的生产工艺应按照国家药典等标准进行,确保产品的质量和安全性。
第二章原辅料采购第五条原辅料采购应符合国家相关法律、法规的要求,确保原辅料的质量和安全性。
第六条采购的原辅料应具有有效正式的质量合格报告,符合国家药典等标准。
第七条采购的原辅料应有合格供应商提供,并签订正式的质量协议。
第八条采购的原辅料应按标准存放、保管,防止受潮、受热和污染。
第三章生产工艺第九条小容量注射剂的生产工艺应按照国家药典等标准进行,包括原料配制、灭菌、灌装、包装等环节。
第十条原料配制环节应采用准确的称量、计量设备,严格按照工艺要求进行操作,确保原材料的准确性和有效性。
第十一条灭菌环节应使用符合标准的灭菌设备和方法,确保产品在灭菌过程中不受微生物的污染。
第十二条灌装环节应使用合适的灌装设备,确保注射剂的容量和质量稳定,并避免产品的污染。
第十三条包装环节应采用符合标准的包装材料和包装方法,确保产品在包装过程中的安全性和完整性。
第四章质量控制第十四条小容量注射剂的质量控制应按照国家药典等标准进行,包括原料质量控制、生产过程控制、成品质量控制等环节。
第十五条原料质量控制包括原料的质量监控和验证,确保原料的质量符合要求。
第十六条生产过程控制包括原料配制、灭菌、灌装、包装等环节的控制,确保各个环节操作合格。
第十七条成品质量控制包括对灭菌合格样品的检验和灌装合格样品的检验,确保产品的质量符合要求。
第十八条生产过程中应保存相关记录,包括原料采购记录、配制记录、灭菌记录、灌装记录等。
第五章现场管理第十九条生产现场应符合国家相关法律、法规的要求,设立合适的操作空间,确保生产过程的卫生和安全。
小容量注射剂市场发展现状概述随着医疗服务的不断改进和人们对健康的关注增加,小容量注射剂市场迅速发展。
小容量注射剂是指每支注射剂容量在1毫升到100毫升之间的产品。
本文将介绍小容量注射剂市场的发展现状。
市场规模目前,小容量注射剂市场的规模不断扩大。
根据数据统计,全球小容量注射剂市场在2020年达到了X亿美元,预计到2025年将增长到X亿美元。
市场规模的增长主要得益于消费者对高质量健康产品的需求增加,以及医疗行业的不断发展。
市场驱动因素小容量注射剂市场的发展受到多个因素的驱动。
1.人口老龄化随着全球人口的老龄化趋势,患者对注射剂的需求增加。
老年人更容易患上慢性疾病,需要长期接受药物治疗。
小容量注射剂因其便携性和易用性,逐渐取代了传统的大容量注射剂。
2.医疗技术进步随着医疗技术的进步,越来越多的药物可以通过注射的方式给予患者。
小容量注射剂可以准确地控制药物的剂量,提高患者的治疗效果。
3.市场竞争由于小容量注射剂市场的潜力巨大,越来越多的制药公司进入该领域。
市场竞争的加剧促进了产品的不断创新和提高。
市场前景小容量注射剂市场的前景十分广阔。
1.地区市场差异不同地区的市场需求存在差异。
发达国家的小容量注射剂市场较为成熟,消费者对产品质量和安全性的关注度较高。
发展中国家的市场潜力巨大,随着医疗服务的改善,小容量注射剂市场将迎来较快的增长。
2.技术创新随着技术的不断进步,小容量注射剂市场将受益于更多的创新产品。
例如,无针注射和智能注射器等新技术将改变市场格局,推动行业变革。
3.市场合作小容量注射剂市场的发展离不开不同企业之间的合作。
制药公司、医疗设备供应商和医疗机构之间的合作将促进小容量注射剂的推广和应用。
挑战与机遇小容量注射剂市场在发展过程中也面临着一些挑战和机遇。
1.产品质量和安全性小容量注射剂的质量和安全性是消费者关注的焦点。
制药公司需要确保产品的质量控制和生产过程的规范化,以满足市场需求。
2.市场竞争市场竞争的加剧将促使制药公司不断提高产品质量和创新能力。
情境三 液体制剂类制备技术任务十二 小容量注射剂小容量注射剂:又称水针剂,指装量小于50ml 的注射剂,通常采用湿热灭菌法制备。
除一般理化性质外,无菌、热原、可见异物、PH 值等检查均符合规定。
一、小容量注射剂生产工艺流程图(最终灭菌产品):二、安瓿的洗涤 (播放视频后讲解以下内容)(一)安瓿(ampule):为避免折断安瓿瓶颈时产生玻璃屑、微粒进入安瓿污染药液,SFDA 强制推行曲颈易折安瓿(GB 2637-1995)。
易折安瓿有两种:色环易折安瓿和点刻痕易折安瓿。
色环易折安瓿是将一种膨胀系数高于安瓿两倍的低熔点粉末熔固在安瓿颈部成为环状,冷却后由于两种玻璃的膨胀系数不同,在环状部位产生一圈永久应力,用力一折即可平整折断,不易产生玻璃碎屑。
刻痕易折安瓿是在曲颈部位有一细微刻痕,在刻痕中心标有直径2mm 的色点,折断时施力于刻痕中间的背面,折断后断面平整。
安瓿应无色透明,以便于检查澄明度、杂质以及变质情况;需要避光的药物可选琥珀色玻璃安瓿(可滤除紫外线),但因含氧化铁,已被铁离子催化的药物不能使用。
制造安瓿用玻璃分中性玻璃(适宜中性或弱酸性药液)、含钡玻璃(耐碱性好,适宜碱性较强药液)和含锆玻璃(耐酸碱性好,适宜酸碱性较强的及对PH敏感的药液)三种。
安瓿规格:1、2、5、10、20ml。
(二)安瓿的质量要求及检查1.安瓿的质量要求:应具有低的膨胀系数,优良的耐热性。
要有足够的物理强度。
高度的化学稳定性,不改变溶液的pH,不被侵蚀。
熔点较低,易于熔封。
不得有气泡、麻点及砂粒。
2.安瓿的检查:物理检查:外观、尺寸、应力、清洁度、热稳定性等。
化学检查:耐酸、耐碱和中性检查。
尚需做装药试验,检查安瓿与药液的相容性,证明无影响后方能使用。
(三)安瓿的洗涤技术与设备1.超声洗涤法与加压气水喷射洗涤法综合洗涤方法。
2.设备:洗、烘(灭菌)、灌、封联动线。
(四)安瓿洗涤岗位洁净度要求:D级(五)安瓿洗涤操作过程(六)安瓿清洗过程的工艺管理要点和质量控制1.生产工艺管理要点:(1)清洗过程随时检查水气压力,保证水气能冲到安瓿底部。
小容量注射剂生产工艺
小容量注射剂是指容量在1毫升以内的注射剂,其生产工艺包括原料准备、配方调配、制剂工艺、灭菌和包装等环节。
首先是原料准备。
原料包括溶剂、药物、辅料等。
溶剂主要用于配制注射剂的溶剂系统,可以是水、油剂或乳剂等。
药物则是注射剂的主要有效成分,根据药物性质和剂型要求选择合适的药物。
辅料则用于调节药物的性状和溶解度等。
原料的准备包括检验原料的质量和纯度,然后对其进行称量和分装等操作。
接下来是配方调配。
根据注射剂的配方要求,将准备好的原料按照一定比例混合和溶解。
配方调配需在洁净的操作台上进行,操作人员要穿戴合适的防护服和手套等,以确保产品的安全性和质量。
然后是制剂工艺。
首先是制剂中的卫生问题,如操作人员要保持身体清洁,操作的容器和设备要经过严格的清洁和消毒,以防止细菌污染。
然后是药液的配制和溶解,按照一定的工艺步骤和工艺参数进行操作。
接着是药物的过滤,以去除杂质和微生物等。
最后是制剂的灭菌处理,常见的灭菌方法有高压蒸汽灭菌和紫外线辐射灭菌等。
最后是包装。
合格的注射剂需要进行适当的包装,以确保产品的密封性和稳定性。
包装材料应符合药品包装要求,防止外界物质的污染。
包装工艺包括灌装、倒瓶、贴标签、瓶盖装封等。
包装后的产品要进行质量检验,包括外观检查、容量检测、溶解度测定等,以确保产品符合药典的规定。
总之,小容量注射剂的生产工艺包括原料准备、配方调配、制剂工艺、灭菌和包装等环节。
每个环节都需要严格按照工艺要求进行操作,以确保产品的安全性和质量。
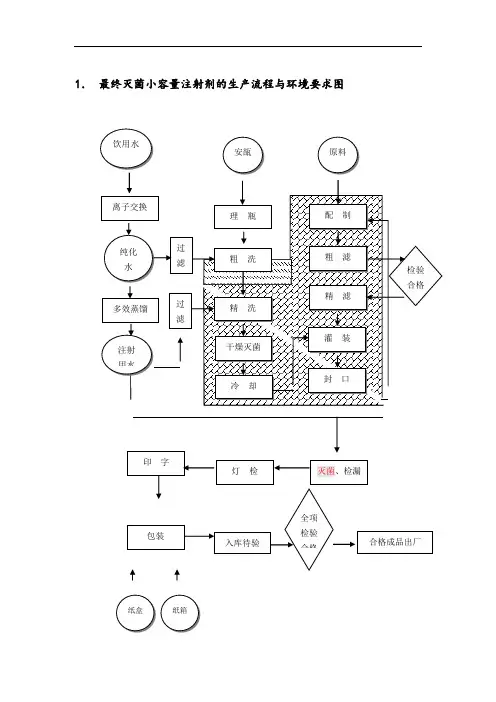
1. 最终灭菌小容量注射剂得生产流程与环境要求图2、小容量注射剂验证检查要点小容量注射剂指将配制好药淮灌入小于50ml 安瓿内得注射剂。
根据药品新版GMP原则要求,结合注射剂生产影响药品质量得关键环节,提出小容量注射剂GMP检查要点,旨在督查药品生产企业质量保证体系与实际运行状态。
检查组须对如下内容按照药品GMP要求,逐一核实。
1、机构与人员主管生产与质量管理得企业负责人、生产管理与质量管理部门负责人均应具有医药或相关专业大专以上学历,并具有药品生产与质量管理经验,并履行其职责。
b)企业负责人与各级管理人员应定期接受药品管理法律法规培训。
质量检验、生产、维修保养、清洁人员应定期进行卫生与微生物学基础知识、洁净作业等方面得培训与考核,并具有实际操作技能。
2、厂房设施得管理要点及检查重点a)洁净区:我国《药品生产质量管理规范》对最终灭菌得无菌药品生产厂房洁净度级别得要求就是:浓配或采用密闭系统得稀配应在100000级洁净区内进行;稀配、滤过、灌封、直接接触药品得包装材料得最终处理等操作应在10000级洁净区内进行;物料、中间品应经过物流缓冲间或传递柜进、出洁净区。
称量配料间如产尘应与洁净走廊呈相对负压,必要时设捕尘设施。
中国药典规定: 微生物限度检查、无菌检查应在100级或10000级背景下得局部100级区内进行,并与生产区分开。
微生物限度检查与无菌检查用得实验室与空气净化系统最好彼此分开,以尽可能减少对无菌检查得干扰。
b)空气净化系统应能确保洁净区得洁净度级别、温湿度、压差等符合生产工艺要求并经过验证。
初效、中效过滤器应明确清洗/更换周期,高效过滤器应定期检测其完整性,如有泄漏或阻塞应及时更换。
空气净化系统应每天24小时运行,停用后再次运行应进行清洁、消毒并经过再验证,符合要求得方可开始生产。
c)与产品直接接触得压缩空气、氮气、二氧化碳等辅助设施这些气体因与产品直接接触,不得对产品带来污染。
应对系统进行验证。
小容量注射剂工艺流程
《小容量注射剂工艺流程》
小容量注射剂是一种常见的药物剂型,通常用于医院临床治疗。
在制备小容量注射剂的过程中,需要严格的工艺流程来确保药品的质量和安全性。
以下是小容量注射剂的工艺流程:
1. 原料准备
首先,需要准备好药品的原料,包括活性成分、辅料、溶剂等。
这些原料的质量和纯度对最终产品的质量有着重要的影响,因此需要进行严格的筛选和检验。
2. 溶液配制
根据药品配方,将原料按照一定的比例和顺序加入到溶剂中,然后进行溶解、混合等操作,制备成符合要求的药品溶液。
3. 过滤
将制备好的药品溶液进行过滤,去除其中的杂质和微生物,确保药品的纯度和安全性。
4. 灭菌
经过过滤的药品溶液需要进行灭菌处理,以确保产品的无菌性。
5. 填充
灭菌后的药品溶液被注入到注射器或小瓶中,然后进行密封和包装。
6. 检测
最后,需要对填充好的小容量注射剂进行各项质量指标的检测,包括药品含量、外观、pH值、菌落总数等,确保产品符合规
定的标准。
以上就是小容量注射剂的工艺流程,这一系列严谨的操作能够确保药品的质量和安全性,保障患者的用药安全。
1. 最终灭菌小容量注射剂的生产流程与环境要求图2.小容量注射剂验证检查要点小容量注射剂指将配制好药淮灌入小于50ml安瓿内的注射剂。
根据药品新版GMP原则要求,结合注射剂生产影响药品质量的关键环节,提出小容量注射剂GMP检查要点,旨在督查药品生产企业质量保证体系和实际运行状态。
检查组须对如下内容按照药品GMP要求,逐一核实。
1、机构与人员a)主管生产和质量管理的企业负责人、生产管理和质量管理部门负责人均应具有医药或相关专业大专以上学历,并具有药品生产和质量管理经验,并履行其职责。
b)企业负责人和各级管理人员应定期接受药品管理法律法规培训。
c)质量检验、生产、维修保养、清洁人员应定期进行卫生和微生物学基础知识、洁净作业等方面的培训和考核,并具有实际操作技能。
2、厂房设施的管理要点及检查重点a)洁净区:我国《药品生产质量管理规范》对最终灭菌的无菌药品生产厂房洁净度级别的要求是:浓配或采用密闭系统的稀配应在100000级洁净区内进行;稀配、滤过、灌封、直接接触药品的包装材料的最终处理等操作应在10000级洁净区内进行;物料、中间品应经过物流缓冲间或传递柜进、出洁净区。
称量配料间如产尘应与洁净走廊呈相对负压,必要时设捕尘设施。
中国药典规定:微生物限度检查、无菌检查应在100级或10000级背景下的局部100级区内进行,并与生产区分开。
微生物限度检查与无菌检查用的实验室和空气净化系统最好彼此分开,以尽可能减少对无菌检查的干扰。
b)空气净化系统应能确保洁净区的洁净度级别、温湿度、压差等符合生产工艺要求并经过验证。
初效、中效过滤器应明确清洗/更换周期,高效过滤器应定期检测其完整性,如有泄漏或阻塞应及时更换。
空气净化系统应每天24小时运行,停用后再次运行应进行清洁、消毒并经过再验证,符合要求的方可开始生产。
c)与产品直接接触的压缩空气、氮气、二氧化碳等辅助设施这些气体因与产品直接接触,不得对产品带来污染。
应对系统进行验证。
1. 最终灭菌小容量注射剂的生产流程与环境要求图2.小容量注射剂验证检查要点小容量注射剂指将配制好药淮灌入小于50ml 安瓿的注射剂。
根据药品新版GMP 原则要求,结合注射剂生产影响药品质量的关键环节,提出小容量注射剂GMP 检查要点,旨在督查药品生产企业质量保证体系和实际运行状态。
检查组须对如下容按照药品GMP 要求,逐一核实。
1、 机构与人员a) 主管生产和质量管理的企业负责人、生产管理和质量管理部门负责人均应具有医药或相关专业大专以上学历,并具有药品生产和质量管理经验,并履行其职责。
b) 企业负责人和各级管理人员应定期接受药品管理法律法规培训。
c)质量检验、生产、维修保养、清洁人员应定期进行卫生和微生物学基础知识、洁净作业等方面的培训和考核,并具有实际操作技能。
2、厂房设施的管理要点及检查重点a)洁净区:我国《药品生产质量管理规》对最终灭菌的无菌药品生产厂房洁净度级别的要:浓配或采用密闭系统的稀配应在100000级洁净区进行;稀配、滤过、灌封、直接接触药品的包装材料的最终处理等操作应在10000级洁净区进行;物料、中间品应经过物流缓冲间或传递柜进、出洁净区。
称量配料间如产尘应与洁净走廊呈相对负压,必要时设捕尘设施。
中国药典规定:微生物限度检查、无菌检查应在100级或10000级背景下的局部100级区进行,并与生产区分开。
微生物限度检查与无菌检查用的实验室和空气净化系统最好彼此分开,以尽可能减少对无菌检查的干扰。
b)空气净化系统应能确保洁净区的洁净度级别、温湿度、压差等符合生产工艺要求并经过验证。
初效、中效过滤器应明确清洗/更换周期,高效过滤器应定期检测其完整性,如有泄漏或阻塞应及时更换。
空气净化系统应每天24小时运行,停用后再次运行应进行清洁、消毒并经过再验证,符合要求的方可开始生产。
c)与产品直接接触的压缩空气、氮气、二氧化碳等辅助设施这些气体因与产品直接接触,不得对产品带来污染。
应对系统进行验证。
1. 最终灭菌小容量注射剂的生产流程与环境要求图2.小容量注射剂验证检查要点小容量注射剂指将配制好药淮灌入小于50ml安瓿内的注射剂。
根据药品新版GMP原则要求,结合注射剂生产影响药品质量的关键环节,提出小容量注射剂GMP检查要点,旨在督查药品生产企业质量保证体系和实际运行状态。
检查组须对如下内容按照药品GMP要求,逐一核实。
1、机构与人员a)主管生产和质量管理的企业负责人、生产管理和质量管理部门负责人均应具有医药或相关专业大专以上学历,并具有药品生产和质量管理经验,并履行其职责。
b)企业负责人和各级管理人员应定期接受药品管理法律法规培训。
c)质量检验、生产、维修保养、清洁人员应定期进行卫生和微生物学基础知识、洁净作业等方面的培训和考核,并具有实际操作技能。
2、厂房设施的管理要点及检查重点a)洁净区:我国《药品生产质量管理规范》对最终灭菌的无菌药品生产厂房洁净度级别的要求是:浓配或采用密闭系统的稀配应在100000级洁净区内进行;稀配、滤过、灌封、直接接触药品的包装材料的最终处理等操作应在10000级洁净区内进行;物料、中间品应经过物流缓冲间或传递柜进、出洁净区。
称量配料间如产尘应与洁净走廊呈相对负压,必要时设捕尘设施。
中国药典规定:微生物限度检查、无菌检查应在100级或10000级背景下的局部100级区内进行,并与生产区分开。
微生物限度检查与无菌检查用的实验室和空气净化系统最好彼此分开,以尽可能减少对无菌检查的干扰。
b)空气净化系统应能确保洁净区的洁净度级别、温湿度、压差等符合生产工艺要求并经过验证。
初效、中效过滤器应明确清洗/更换周期,高效过滤器应定期检测其完整性,如有泄漏或阻塞应及时更换。
空气净化系统应每天24小时运行,停用后再次运行应进行清洁、消毒并经过再验证,符合要求的方可开始生产。
c)与产品直接接触的压缩空气、氮气、二氧化碳等辅助设施这些气体因与产品直接接触,不得对产品带来污染。
应对系统进行验证。
小容量注射剂大容量注射剂药品标准1. 引言1.1 背景介绍小容量注射剂通常指每支容量在1毫升以下的注射剂,主要适用于需要精准剂量和快速作用的急救和急症治疗。
而大容量注射剂则指每支容量在1毫升以上的注射剂,常用于长期治疗或持续输注等情况下。
两者在临床应用中有着各自的优势和特点。
在保障患者用药安全和提高药品质量的药品标准的制定也显得尤为重要。
药品标准规范了药品生产的各个环节和质量要求,对于确保药品的稳定性、可靠性和有效性具有重要意义。
在注射剂领域,药品标准的制定更是至关重要,影响着药品质量和患者治疗效果。
小容量注射剂、大容量注射剂以及药品标准的研究和完善具有重要意义。
1.2 研究目的本文的研究目的是探讨小容量注射剂和大容量注射剂在临床应用中的特点及优劣,并比较它们之间的差异。
我们将分析药品标准的制定过程,以及药品标准在提高药品质量和保障患者安全方面所起到的作用。
通过本文的研究,我们希望能够更全面地了解小容量注射剂和大容量注射剂在临床实践中的应用情况,为临床药品选择提供科学依据。
我们也希望通过对药品标准的研究,提高广大患者对药品质量和安全的认知,推动药品行业的规范发展。
通过本研究,我们将为小容量注射剂和大容量注射剂的合理使用以及药品标准的制定和执行提供重要参考。
2. 正文2.1 小容量注射剂的特点小容量注射剂是指每次使用量较小的注射剂,通常在1ml以下。
小容量注射剂的特点主要包括以下几个方面:1. 精准剂量:小容量注射剂可以更精确地控制药物的剂量,避免过量使用或浪费药物。
2. 方便携带:由于体积小巧,小容量注射剂便于患者携带和使用,特别适合需要频繁注射的患者。
3. 减少交叉感染:每次使用后,小容量注射剂通常会被立即丢弃,避免交叉感染的风险。
4. 适合特定用途:有些药物需要以较小的剂量进行注射,小容量注射剂可以更好地满足这些特殊需求。
5. 稳定性好:小容量注射剂通常不需要添加过多的防腐剂,保持药物的稳定性,减少对患者的不良影响。
小容量注射剂的工艺流程小容量注射剂的工艺流程主要包括制备溶液、灌装、封口和包装等步骤。
下面将详细介绍每个步骤的工艺流程。
首先是制备溶液。
这个步骤主要是将药物粉末或液体溶解在适当的溶剂中,制备成所需要的浓度。
首先,根据药物的特性选择合适的溶剂,然后将药物粉末或液体逐渐加入溶剂中,并通过搅拌或振荡等方式使其充分溶解。
在溶液制备过程中,还需要对溶液进行滤过、调节pH值等处理,以确保溶液的质量和稳定性。
制备好的溶液将进入灌装步骤。
首先是对灌装设备进行准备和清洁,以确保灌装过程的卫生和无菌。
然后将制备好的溶液通过灌装机器自动或半自动地注入小容量的玻璃或塑料容器中,如小瓶、小袋等。
在灌装过程中,还需要控制注射剂的容量,以保证每个产品的剂量准确和一致。
接下来是封口步骤。
在灌装好的小容量容器口部,使用热封设备对其进行封口。
热封可以保证注射剂的密封性和防止外界污染。
在封口前,还需要对封口设备进行调试,确保封口的质量和效果。
同时,还需要进行封口后的检查,以确保封口的完整性和没有漏液现象。
最后是包装步骤。
在包装之前,需要对注射剂进行质量检查,包括外观检查、容量检查、封口检查等。
通过合格的注射剂将进入包装环节,一般采用塑料袋或纸盒包装。
在包装的过程中,还需要对注射剂的标签、说明书等进行贴标和装订。
最后,对包装好的注射剂进行包装箱的打包,以便储存和运输。
总之,小容量注射剂的工艺流程包括制备溶液、灌装、封口和包装等步骤。
每个步骤都需要严格控制和质量检查,以确保注射剂的纯净度、浓度、容量和密封性等。
只有符合标准的产品才能进入市场,给患者带来安全和有效的治疗。
小容量注射剂风险评估报告1小容量注射剂风险评估报告1小容量注射剂(Small Volume Parenterals, SVPs)是指每支容量不超过100毫升的注射剂。
虽然小容量注射剂在医疗领域中具有重要作用,但其使用也存在一定的风险。
本报告旨在对小容量注射剂的风险进行评估,以便制定相应的风险控制措施。
首先,小容量注射剂的制备过程中存在一定的风险。
制备环境不洁净、工作人员操作不规范等因素可能导致微生物污染。
此外,制备过程中可能存在计量误差,导致药物过量或不足。
其次,小容量注射剂的保存和运输过程中也存在着一定的风险。
这些注射剂需要在特定温度条件下储存,如过高或过低的温度可能导致药物降解或失效。
在运输过程中,注射剂可能因为震荡、碰撞等原因而破裂,导致药物泄漏。
针对上述风险,可通过以下措施进行风险控制:1.制备过程中,应建立严格的无菌操作规范,并成立无菌操作培训班,确保工作人员掌握正确的操作技术。
2.设立合适的洁净室,确保制备环境洁净,并定期进行检测和验证。
3.引入自动化制备设备,避免计量误差,确保注射剂的准确性。
4.严格控制注射剂的贮存温度,确保在规定的温度范围内存储。
5.加强注射剂包装的设计,提高其抗震性能,减少破裂的可能性。
7.加强患者身份识别管理,采用多重核对措施,避免注射剂使用错误。
8.建立不良事件监测和报告机制,及时发现并处理注射剂相关的不良事件,避免事故扩大。
最后,为了进一步提高小容量注射剂的风险控制水平,建议加强相关法规和标准的制定和执行。
加强生产企业的监督和检查,确保小容量注射剂的质量和安全。
此外,还可以推广使用先进的包装技术和设备,提高小容量注射剂的质量和稳定性。
综上所述,小容量注射剂的使用存在一定的风险,但通过合理的风险控制措施可以将风险降到最低。
医疗机构和相关部门应共同努力,加强对小容量注射剂的监管和管理,确保患者的用药安全。
小容量注射剂的制备摘要:1.引言2.确定药物候选在制备小容量注射剂之前,需要对药物进行评估和筛选。
首先,药物的溶解度和稳定性是选择的重要因素。
溶解度较高的药物更容易制备抗菌性好的注射剂。
其次,药物的毒性和副作用也需要考虑。
毒性较高的药物可能需要更小的剂量,以确保安全性。
3.选择适当的溶剂和辅料选择适当的溶剂对于制备小容量注射剂至关重要。
常用的溶剂包括水、生理盐水和无菌油剂。
水是最常见的溶剂,但对于一些不溶于水的药物,可以选择生理盐水或无菌油剂作为溶剂。
辅料如酸碱调节剂、增稠剂、防腐剂等也需要根据药物的特性进行选择。
4.控制制剂参数制剂的pH值、温度和灭菌是制备过程中需要特别注意的参数。
pH值的控制可以影响药物的溶解度和稳定性。
温度的控制可以防止药物的分解和降解。
灭菌操作可以杀灭可能存在的微生物。
这些参数的控制需要根据具体药物的特性和制备工艺进行调整。
5.包装材料的选择选择合适的包装材料是保证小容量注射剂质量的重要环节。
包装材料应具有良好的耐药物性、耐温性和密封性能。
常用的包装材料包括玻璃瓶、塑料瓶和塑料袋。
在选择包装材料时,还需要考虑到对药物特性的适应性和光敏药物的保护。
6.质量控制质量控制是制备小容量注射剂过程中不可或缺的一部分。
常用的质量控制方法包括药物含量测定、溶解度测定、细菌限度测试等。
通过这些测试可以确保最终产品的质量和安全性。
7.结论小容量注射剂的制备是一个复杂的过程,需要考虑多个因素。
合适的药物候选、适当的溶剂和辅料的选择、严格控制制剂参数以及合理的包装材料选择都是保证产品质量和安全性的重要环节。
在制备过程中,还需要进行质量控制以确保最终产品符合要求。
小容量注射剂生产工艺规程通则1.引言1.1目的本文档是针对小容量注射剂的生产工艺规程通则,旨在规范该类制剂的生产过程,以确保其质量和安全性,保护患者的健康。
1.2适用范围本文档适用于所有生产小容量注射剂的企业,包括生产过程中的关键步骤、设备和材料的选择、操作规范以及质量控制方法等。
2.引用文件2.1国家药典2.2相关制剂标准2.3工艺规程和操作规范2.4相关法律法规3.术语和定义3.1小容量注射剂:指注射器容量在1毫升至50毫升之间的制剂。
3.2关键步骤:指在制剂生产过程中对质量和安全性产生重要影响的步骤。
3.3质量控制:指对制剂生产过程中的关键参数进行监控和控制,确保产品质量符合规定标准。
4.生产设备和环境要求4.1生产设备的选择和验证,包括灭菌设备、制剂混合设备、注射器灌装设备等。
4.2温湿度控制,确保制剂生产过程中的环境温湿度符合要求。
4.3清洁和消毒,包括对生产设备、容器和输送管道的清洁和消毒。
5.材料要求5.1原辅料的选择和采购,确保符合相关质量标准。
5.2原辅料的贮存和管理,包括库存管理、防潮防尘等。
5.3包材的选择和采购,确保符合相关质量标准。
6.生产工艺6.1制剂混合工艺,包括原辅料的配制、混合和溶解等。
6.2灌装工艺,包括注射器的灌装、密封和包装等。
6.3清洁工艺,确保生产设备、容器和输送管道的清洁和消毒。
7.质量控制7.1原辅料的质量控制,包括进货检验和质量抽检。
7.2制剂的质量控制,包括制剂的理化性质和微生物检验。
7.3工艺参数的控制,包括温度、压力、时间等的监控和记录。
7.4不良事件的处理和记录,包括生产过程中的异常情况和质量问题的处理。
8.文档管理8.1工艺规程和操作规范的编制、审批和发放。
8.2质量记录和报告的管理,包括质量控制记录和不良事件报告等。
8.3文档的存档和归档,确保文档的可追溯和保密性。
9.培训和监督9.1员工培训,确保员工了解和熟悉工艺规程和操作规范。
9.2内部监督和审核,包括生产现场的监督和审核,确保规程的执行和质量控制的有效性。
小容量注射剂制备工艺流程下载温馨提示:该文档是我店铺精心编制而成,希望大家下载以后,能够帮助大家解决实际的问题。
文档下载后可定制随意修改,请根据实际需要进行相应的调整和使用,谢谢!并且,本店铺为大家提供各种各样类型的实用资料,如教育随笔、日记赏析、句子摘抄、古诗大全、经典美文、话题作文、工作总结、词语解析、文案摘录、其他资料等等,如想了解不同资料格式和写法,敬请关注!Download tips: This document is carefully compiled by theeditor. I hope that after you download them,they can help yousolve practical problems. The document can be customized andmodified after downloading,please adjust and use it according toactual needs, thank you!In addition, our shop provides you with various types ofpractical materials,such as educational essays, diaryappreciation,sentence excerpts,ancient poems,classic articles,topic composition,work summary,word parsing,copy excerpts,other materials and so on,want to know different data formats andwriting methods,please pay attention!一、前言小容量注射剂是一种药物剂型,指容量在1毫升以下的注射剂。
1. 最终灭菌小容量注射剂的生产流程与环境要求图2.小容量注射剂验证检查要点小容量注射剂指将配制好药淮灌入小于50ml安瓿内的注射剂。
根据药品新版GMP原则要求,结合注射剂生产影响药品质量的关键环节,提出小容量注射剂GMP检查要点,旨在督查药品生产企业质量保证体系和实际运行状态。
检查组须对如下内容按照药品GMP要求,逐一核实。
1、机构与人员a)主管生产和质量管理的企业负责人、生产管理和质量管理部门负责人均应具有医药或相关专业大专以上学历,并具有药品生产和质量管理经验,并履行其职责。
b)企业负责人和各级管理人员应定期接受药品管理法律法规培训。
c)质量检验、生产、维修保养、清洁人员应定期进行卫生和微生物学基础知识、洁净作业等方面的培训和考核,并具有实际操作技能。
2、厂房设施的管理要点及检查重点a)洁净区:我国《药品生产质量管理规范》对最终灭菌的无菌药品生产厂房洁净度级别的要求是:浓配或采用密闭系统的稀配应在100000级洁净区内进行;稀配、滤过、灌封、直接接触药品的包装材料的最终处理等操作应在10000级洁净区内进行;物料、中间品应经过物流缓冲间或传递柜进、出洁净区。
称量配料间如产尘应与洁净走廊呈相对负压,必要时设捕尘设施。
中国药典规定:微生物限度检查、无菌检查应在100级或10000级背景下的局部100级区内进行,并与生产区分开。
微生物限度检查与无菌检查用的实验室和空气净化系统最好彼此分开,以尽可能减少对无菌检查的干扰。
b)空气净化系统应能确保洁净区的洁净度级别、温湿度、压差等符合生产工艺要求并经过验证。
初效、中效过滤器应明确清洗/更换周期,高效过滤器应定期检测其完整性,如有泄漏或阻塞应及时更换。
空气净化系统应每天24小时运行,停用后再次运行应进行清洁、消毒并经过再验证,符合要求的方可开始生产。
c)与产品直接接触的压缩空气、氮气、二氧化碳等辅助设施这些气体因与产品直接接触,不得对产品带来污染。
应对系统进行验证。
PQ测试项目包括洁净度级别、含水量、含油量等。
d)注射用水(WFI)系统以纯化水为原水,经多效蒸馏制得。
制水系统应能提供足够量的符合质量要求的注射用水。
注射用水制备和分配系统材质应无毒、耐腐蚀,设计和安装应避免死角和盲管;储罐应密闭,并安装有经完整性检查合格的无菌级别的疏水性过滤器,设有保温装置;管道通过卡箍连接,有一定的倾斜度,最地位出水,阀门用隔膜阀而不是球阀;注射用水的储存应采用80o C以上保温或65o C以上保温循环,应有温度控制和指示装置;设有必要的取样口包括注射用水储罐的入水口、总出水口和总回水口,并便于取样;储罐、增压泵、管道可以排空便于清洁、消毒或灭菌。
e)纯蒸汽系统纯蒸汽通常用于与产品接触物品的灭菌及产品的最终灭菌,质量应符合要求,纯蒸汽系统应经过验证并定期监测。
f)实验动物房应与其他区域严格分开,实验动物应符合国家有关规定。
3、设备a)配制系统称量用秤的精度应符合物料的称量要求,并定期校验,贴有合格标志。
配制罐体积应与生产批量相匹配,材质应符合要求,禁用铁类容器或露铁搪瓷桶,配有搅拌、降温等装置,可定容。
配制罐宜自带称量系统或液位电极、或液位标尺,如采用玻璃液位管应能拆卸,以便清洗。
因配制需要在低于30℃、 CO2饱和的注射用水溶解原辅料,应有有效的控温装置,CO2输送管道终端应连有0.45 μm或精度更高的疏水性过滤器。
配有粗滤所需要的0.45μm 过滤器。
配有终端过滤所需要的2个0.22μm过滤器及过滤器完整性测试设备。
过滤器的安装应符合工艺要求,一个0.22μm的过滤器应可能接近灌封机(欧盟无菌药品附录要求),与产品直接接触的过滤器材质应不得吸附药液组分和释放异物(应有验证数据支持)。
反复使用的过滤芯应灭菌干燥后保存,并规定有灭菌有效期和使用次数。
配制系统宜采用密闭系统,并配有自动清洗、消毒或灭菌装置。
管道通过卡箍连接,使用结束应能排空。
b)洗、烘、灌封联动线洗瓶机:应安装在100000级洁净区。
洗安瓿能力应能满足工艺需要,洗净后安瓿的清洁度符合要求。
隧道烘箱:应安装在100000级洁净区,分为预热、高温、冷却三个部分,应有温度记录装置,应有传送速度显示仪,温度控制仪与温度记录装置应分开。
传送带不得穿越十万级与万级区域,应分段。
定期检测隧道烘箱内洁净度和风速,如:尘埃粒子、沉降菌等数据。
高效过滤器应定期或根据两端压差的变化情况进行更换,更换后应进行检漏试验。
灌封系统:应安装在10000级洁净区,能有效控制装量,灌装过程中药液无溅壁现象,安瓿封口完好。
灌装头、灌装管道等灌装器具应按规定的程序清洁、消毒或灭菌。
控制与显示关键参数的仪表如:温度,传送速度应经过定期校验,并贴有合格校验标签。
c)灭菌设备用高压灭菌釜对产品进行湿热灭菌的方法包括冷空气重力置换法、预真空法、脉冲真空法、蒸汽-空气和蒸汽-水-空气灭菌法、过热水浸没灭菌法。
企业应根据产品特性选择合适的灭菌设备,能满足产品的最终灭菌和生产用器具的灭菌要求。
灭菌设备应具灭菌温度、时间自动监测、记录装置,其能力应与生产批量相适应。
仪表经过校验,并贴有校验合格标志。
直接与产品接触的器具和产品的灭菌应用纯蒸汽。
检漏用色水宜经过灭菌处理。
d)文件每台主要设备都应建立设备使用标准操作程序(SOP)、清洁、消毒或灭菌标准操作程序、维护保养标准操作程序、使用记录和设备档案。
4、物料的管理要点及检查重点a)物料的采购应由具有产品专业知识的人员负责,从企业质量审计合格的供应商处采购。
内包装材料为低硼硅玻璃安瓿,应符合国家药用包装容器(材料)标准,标准号:国家药用包装容器(材料)标准(试行)YBB00332002。
b)原辅料的检验、贮存及分发物料应保存于企业规定的适宜的环境中并有明确的标识,质控部门应按批取样、检验、签发。
取样应具有代表性,样品应按企业内控标准进行检验。
原辅料应经质量部门签发后在有效期内使用。
不合格的原辅料不得用于生产。
c)包装材料低硼硅玻璃安瓿经检验合格后方可投入使用。
药品标签和说明书应与药品监督管理部门批准的内容、式样、文字相一致,经企业质量管理部门校对无误后印制、发放、使用。
标签发放、使用、销毁应有记录。
d)不合格品不合格物料、产品应专区存放,应有易于识别的明显标志,并按有关规定及时处理,并有记录。
对不合格产品应查明原因并采取必要的纠正措施。
e)退回产品、收回产品应按相关程序处理并作适当记录。
5、验证的管理要点及检查重点a)HVAC系统及洁净室的验证新车间应进行前验证,包括IQ、OQ和PQ,车间运行一定时间或停止运行后再次使用前应进行再验证。
验证测试项目应重点检查洁净度级别(尘埃粒子、微生物)、高效过滤器完整性(DOP)、压差、温、湿度(应能满足生产工艺要求)、局部100级区的气流流型、洁净室的清洁及消毒措施等。
b)压缩空气、氮气、二氧化碳等辅助系统的验证新系统应进行前验证,包括IQ、OQ和PQ,系统运行一定时间后应进行再验证。
气体储存及分配系统材质应无毒,并设终端过滤器。
验证测试项目应包括洁净度级别(尘埃粒子、微生物)、含水量、含油量等。
c)注射用水系统的验证新的注射用水系统应进行前验证,包括IQ、OQ和PQ。
注射用水储罐和分配系统选用材质应无毒、耐腐蚀,管道的设计和安装应避免了死角、盲管,储罐应安装有疏水性过滤器,储罐和管道应能排空,注射用水及分配系统的保温效果应能达到设计要求(80o C以上保温或65o C以上保温循环)。
注射用水质量应不低于中国药典(2005年版)注射用水质量标准,验证测试时间应不少于3周,并应监测季节变化对水质的影响。
企业应根据验证结果规定注射用水系统的清洗、灭菌周期。
企业应制定注射用水系统监测计划,包括对微生物、内毒素、理化指标,并按计划对水质进行监测并有完整记录,鼓励企业做趋势分析、年度回顾。
d)洗、烘、灌封联动机组的验证新系统应进行前验证,包括IQ、OQ和PQ,系统运行一定时间后应进行再验证。
洗瓶机清洗安瓿后的洁净程度(清洗后往安瓿中加入注射用水,振摇后检查澄明度和不溶性颗粒)。
隧道烘箱高效过滤器的完整性和隧道烘箱内洁净度级别、隧道烘箱空载热分布、负载热穿透试验以及微生物挑战试验。
灌装机装量准确性、灌装后安瓿熔封效果等。
e)湿热灭菌工艺的验证中国药典(2005年版)要求,对热稳定的产品,可采用过度杀灭法,其无菌保证水平(SAL)应≤10-12,热稳定较差产品的标准灭菌时间F0一般不低于8分钟,此情况下,应在生产全过程中,对产品中污染的微生物严加监控,并采取各种措施降低微生物污染水平,确保被灭菌产品达到无菌保证要求。
在注射液生产中,产品的最终灭菌和与产品直接接触的器具如过滤器的灭菌等采用湿热灭菌。
该产品最终灭菌的工艺参数为121°C 20分钟。
进行灭菌验证时,被灭菌物品的数量和装载方式、灭菌温度和时间或F0必须在验证方案中明确规定,至少进行3次空载热分布试验,每种装载方式都至少进行3次负载热穿透试验,并选用合适的生物指示剂。
空载热分布试验和负载热穿透试验至少用12个热电偶,应有热电偶分布示意图,热电偶在每次使用前后均应进行校正。
121°C蒸汽灭菌通常选用中嗜热脂肪芽孢杆菌作为生物指示剂。
验证过程中应考虑灭菌参数的上限和下限,保证灭菌效果和产品质量。
f)工艺验证工艺验证应在洁净室系统、压缩空气及氮气系统、工艺用水系统、热力灭菌系统、检测方法等验证合格且人员经相关培训考核合格后进行。
应连续3批产品验证合格。
验证的批量应与工艺规程规定的相同,关键工艺控制参数如配制工序中的pH值、温度、搅拌时间、隧道烘箱灭菌温度及安瓿输送带速度、灌装工序中的装量、最终灭菌的温度及时间等是应在工艺规程规定的范围之内。
采集的用于检验的样品应足够,能反映整批产品的质量。
如检查安瓿是否清洗干净时,应在清洗安瓿的前、中、后期取样对安瓿的洁净度进行检查;检查装量时,应在灌装的前、中、后期采集了足够的样品并分别进行检验;成品应按灭菌柜次取样并分别作无菌试验等。
工艺验证应包括最差条件,如从配制到灌装或灭菌的时间间隔要求、灌装期间进入灌装间人员的数量、设备出现故障时进行必要的检修等。
灌装期间应对灌装间进行微生物监测,监测结果应作为产品放行审核的一部分。
变更控制和偏差管理应符合规定,对出现的偏差应进行了调查和记录等。
g)清洁验证不同产品共用生产设备,或产品不稳定生成了降解产物,或清洁过程引入了外来物质如清洁剂等,应进行清洁验证。
清洁验证是对某一具体的清洁程序进行验证。
重点检查清洁程序的可操作性、清洁过程中是否引入了外来物质、允许残留量计算的依据、化学残留量检测方法的灵敏度、是否考虑了所有共用设备、管道中的残留等。
清洁验证判断标准应包括目测、漂洗液取样检验和棉签擦拭取样检验。