述最终灭菌的小容量注射剂生产工艺流程及区域划分
- 格式:doc
- 大小:640.00 KB
- 文档页数:2
最终灭菌小容量注射剂通用工艺规程###动物药业有限公司GMP管理文件药生产质量管理规范》的要求,产品质量符合产品法定质量标准的规定。
二、适用范围:适用于最终灭菌小容量注射剂通用生产工艺管理。
三、责任者:技术部负责人、生产部负责人、质管部负责人、车间主任、QC检验员、QA检查员。
四、内容目录:一、产品简介 (2)二、工艺流程及环境区域划分 (2)三、处方和依据 (3)四、操作过程及工艺条件 (3)五、设备一览表及主要设备生产能力 (6)六、技术安全、劳动保护及卫生要求 (7)七、包装要求、标签说明书管理与产品贮存方法 (9)八、劳动组织与定岗定员 (9)九、产品质量标准 (10)十、各工序质量控制要点和检查方法 (10)十一、消耗定额、技术经济指标、物料平衡以及各项指标的计算方法 (13)十二、产品相关验证的具体要求 (14)十三、主要标准操作规程(SOP)名称及要求 (16)十四、附录(常见理化常数、曲线、图表、计算公式及换算表等) (21)十五、附页(变更记录) (22)一、产品简介包括产品名称(通用名、商品名)、批准文号、剂型、规格和包装等,这些都必须以国家法定质量标准或国家兽药行政管理部门所批准的为准。
二、工艺流程及环境区域划分100000级区10000级区三、处方和依据1 处方:根据具体产品处方而定,详见产品工艺规程。
2 依据:根据具体产品执行标准而定,详见产品工艺规程。
四、操作过程及工艺条件1 瓶处理:1.1 批生产制造指令下达后到理瓶前,操作人员按最终灭菌小容量注射剂领料岗位操作规程,领取经质管部检验合格的安瓿。
1.2 操作人员严格按最终灭菌小容量注射剂瓶处理岗位操作规程、冷瓶岗位操作规程对领取的安瓿进行理瓶、瓶粗洗、瓶精洗、干燥灭菌和冷瓶操作。
1.3 洗净的安瓿在存放和传送时,应有防止污染的措施。
1.4 瓶处理工艺参数:1.4.1 第一生产线:粗洗纯化水水温35℃、电机转速600转/分、超声波旋钮400~500;精洗安瓿的注射用水须用孔径为0.45μm滤芯过滤且澄明度合格;粗洗和精洗各进行1次,洗后用甩水机甩干;除最后一盘外,其余瓶盘都必须按最大装载量进行装载,安瓿干燥灭菌温度为320℃,恒温时间为5分钟。
一、概述:最终灭菌小容量注射剂(水针剂)是装量小于50 ml,采用湿热灭菌法制备的最终灭菌注射剂,除一般理化性质外,无菌、热原或细菌内毒素、澄明度、pH 值等项目检查均应符合规定。
根据GMP要求制定最终灭菌小容量注射剂****注射液生产工艺规程,规范整个生产操作过程,确保在正常的生产条件下,生产出合格、均一、稳定的小容量注射剂****注射液产品。
二、产品名称、剂型、规格、代码1.产品名称1.1.通用名称:___1.2.英文名称:___拼音名称:___2.产品代码:___3.产品剂型:小容量注射液4.规格及批准文号:___4.1.产品规格:___4.2.包装规格:纸箱___4.3.批准文号:___国药准字H三、生产处方及依据1.处方处方量 (_)万支(_)万支原料_________辅料_________注射用水加至__ml __ml2.批量:最大量:_ml 支最小量_ml 支最大量:_ml 支最小量_ml 支3.依据:《中国药典》2010年版二部《产品注册要求文件》四、生产工艺流程及环境区域划分五、操作过程及工艺条件1、纯化水制备将饮用水经石英砂过滤和活性碳过滤去除水中有机质及微粒,再经过阳离子交换柱(软化器)制的软化水,精密过滤器过滤后经二级反渗透制得纯化水。
1.1.纯化水制备操作过程:饮用水→机械过滤→活性炭过滤→精密过滤→阳离子交换柱→一级反渗透→二级反渗透→贮罐→至各用水点。
1.2. 纯化水制备工艺条件1.2.1、纯水制备以合格饮用水为水源,纯化水水质≤2.0us/cm或≥0.5Ω/cm。
1.2.2、纯化水贮存在密闭不锈钢(316L)罐。
1.2.3纯化水制备存放时间不超过72小时。
1.2.4纯化水经紫外灯灭菌用泵输送至各使用点,各使用点使用前须安装0.45um 和0.22um滤芯(膜)过滤后使用。
1.2.5反渗透装置在进口处须安装保安过滤器。
1.2.6机械过滤器和活性炭过滤器正常工作时每班生产前进行反冲一次。
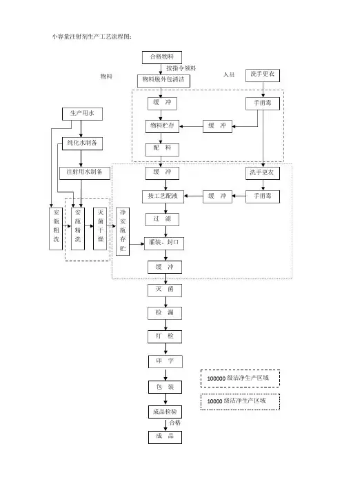
物料 人员小容量注射剂生产工艺流程图:生产用水 合格物料 按指令领料 物料脱外包清洁缓 冲洗手更衣手消毒物料贮存 缓 冲纯化水制备注射用水制备 配 料 缓 冲洗手更衣安 瓿 粗 洗安 瓿 精 洗灭 菌 干 燥净 安 瓿 存 按工艺配液过 滤灌装、封口 缓 冲手消毒贮缓 冲灭 菌检 漏 灯 检 印 字 100000 级洁净生产区域包 装 10000 级洁净生产区域成品检验合格 成 品一、生产用物料包括原辅料、纯化水、注射用水、包装材料。
原辅料、包装材料(包括安瓿)应检验合格后使用。
纯化水为原水制得,清洗安瓿使用;注射用水为纯化水制得,清洗安瓿和配制使用,均应定时检查,制得后及时使用。
二、纯化水、注射用水1、原水处理(纯化水的制备)原水处理方法有离子交换法、电渗析法及反渗透法。
离子交换法制得的去离子水可能存在热原、乳光等问题,主要供蒸馏法制备注射用水使用,也可用于洗瓶,但不得用来配制注射液。
2、注射用水的制备注射用水为蒸馏水或去离子水经蒸馏所得的水,又称重蒸馏水。
其质量要求见《中国药典》,除氯化物、硫酸盐、钙盐、硝酸盐、亚硝酸盐、二氧化碳、易氧化物、不挥发物与重金属按蒸馏水检查应符合规定外,还规定pH应为5.0~7.0,氨含量不超过0.00002%,热原检查应符合规定,应于制备后12h内使用。
三、人员操作人员应身体健康,每年体检一次,并建立健康档案。
操作作人员按生产区域进行划分,严格遵守工作服穿戴制度,并不得将工作服穿出该区域。
不得将头发、胡须外露,不得化妆,不得佩带饰物、手表,操作前后、接触污物后均应洗手并且消毒。
工作服应定期清洗,更换。
四、领料按生产指令领取处方原料,核对物料品名,批号、规格、数量应相符,所领物料应有检验合格报告书。
五、配料领取的原料核对品名、批号、数量、合格证,按生产处方配料,装入清洁容器转入下一工序。
称量时需由第二人复核。
六、安瓿清洗将安瓿轩洗瓶机内,依次用饮用水、纯化水、注射用水进行清洗,清洗后干燥灭菌,置相应区域,检验合格后及时使用。
注射剂生产车间工程设计最终灭菌小容量注射剂车间GMP设计(1)最终灭菌小容量注射剂生产过程包括原辅料的准备、配制、灌封、灭菌、质检、包装等步骤,按工艺设备的不同型式可分为单机生产工艺和联动机组生产工艺两种,其流程及环境区域划分(见图A B)。
关于水针各单机设备和联动机组设备的具体内容详见前。
(2)按照GMP的规定最终灭菌小容量注射剂生产环境分为三个区域:一般生产区、10万级洁净区、1万级洁净区。
一般生产区包括安瓿外清处理、半成品的灭菌检漏、异物检查、印包等;10万级洁净区包括物料称量、浓配、质检、安瓿的洗烘、工作服的洗涤等;1万级洁净区包括稀配、灌封,且灌封机自带局部100级层流。
洁净级别高的区域相对于洁净级别低的区域要保持5~10Pa的正压差。
如工艺无特殊要求,一般洁净区温度为18~26℃,相对湿度为45%~65%。
各工序需安装紫外线灯。
(3)车间设计要贯彻人、物流分开的原则。
人员在进入各个级别的生产车间时,要先更衣,不同级别的生产区需有相应级别的更衣净化措施。
生产区要严格按照生产工艺流程布置,各个级别相同的生产区相对集中,洁净级别不同的房间相互联系中设立传递窗或缓冲间,使物料传递路线尽量短捷、顺畅。
物流路线的一条线是原辅料,物料经过外清处理,进行浓配、稀配;另一条线是安瓿瓶,安瓿经过外清处理后,进入洗灌封联动线清洗、烘干.两条线汇聚于灌封工序。
灌封后的安瓿再经过灭菌、检漏、擦瓶、异物检查,最后外包成整个生产过程。
具体进出水针车间的人流、物流路线(见图)所示。
(4)辅助用房的合理设置是制剂车间GMP没计的一个重要环节。
厂房内设置与生产规模相适应的原、辅材料,半成品、成品存放区域,且尽可能靠近与其联系的生产区域,减少运输过程中的混杂与污染。
存放区域内应安排待验区、合格品区和不合格品区;贮料称量室,并且要有利于包括空调风管在内的公用管线的布置。
(5)水针生产车间内地面一般做耐清洗的环氧自流坪地面,隔墙采用轻质彩钢板,墙与墙、墙与地面、墙与吊顶之间接缝处采用圆弧角处理,不得留有死角。
小容量注射剂生产工艺
小容量注射剂是指容量在1毫升以内的注射剂,其生产工艺包括原料准备、配方调配、制剂工艺、灭菌和包装等环节。
首先是原料准备。
原料包括溶剂、药物、辅料等。
溶剂主要用于配制注射剂的溶剂系统,可以是水、油剂或乳剂等。
药物则是注射剂的主要有效成分,根据药物性质和剂型要求选择合适的药物。
辅料则用于调节药物的性状和溶解度等。
原料的准备包括检验原料的质量和纯度,然后对其进行称量和分装等操作。
接下来是配方调配。
根据注射剂的配方要求,将准备好的原料按照一定比例混合和溶解。
配方调配需在洁净的操作台上进行,操作人员要穿戴合适的防护服和手套等,以确保产品的安全性和质量。
然后是制剂工艺。
首先是制剂中的卫生问题,如操作人员要保持身体清洁,操作的容器和设备要经过严格的清洁和消毒,以防止细菌污染。
然后是药液的配制和溶解,按照一定的工艺步骤和工艺参数进行操作。
接着是药物的过滤,以去除杂质和微生物等。
最后是制剂的灭菌处理,常见的灭菌方法有高压蒸汽灭菌和紫外线辐射灭菌等。
最后是包装。
合格的注射剂需要进行适当的包装,以确保产品的密封性和稳定性。
包装材料应符合药品包装要求,防止外界物质的污染。
包装工艺包括灌装、倒瓶、贴标签、瓶盖装封等。
包装后的产品要进行质量检验,包括外观检查、容量检测、溶解度测定等,以确保产品符合药典的规定。
总之,小容量注射剂的生产工艺包括原料准备、配方调配、制剂工艺、灭菌和包装等环节。
每个环节都需要严格按照工艺要求进行操作,以确保产品的安全性和质量。
注射剂生产工艺流程与厂方设计布局1.原料准备:根据配方要求,准备所需原料,包括溶剂、药物活性成分、辅料等。
2.洁净区准备:将注射剂生产车间的洁净区进行洁净处理,确保符合注射剂生产的洁净要求。
3.材料配制:按照工艺要求,将原料按照一定的比例进行配装或配溶。
4.清洗与消毒:对生产设备、容器、管道等进行清洗和消毒,确保生产环境的无菌状态。
5.生产操作:根据工艺要求,通过输送设备将原料送入生产设备,进行混合、搅拌、过滤等操作。
6.灭菌:对生产过程中产生的产品进行灭菌处理,以确保产品的安全性。
7.储存与包装:将灭菌后的产品进行储存,然后进行包装,包括冷藏、冷冻等方式。
8.质量检验:对注射剂进行质量检验,包括外观、包装、药效等多个方面。
9.清洁消毒:对生产区域进行清洁和消毒处理,以确保下一次生产的安全性。
10.废物处理:对生产过程中产生的废弃物进行处理,采取环保措施,确保环境的卫生与安全。
厂方设计布局:1.洁净区域:注射剂生产车间应设有洁净区域,以满足注射剂生产的洁净要求。
洁净区域应具备恒定的温湿度、洁净度和空气流动,防止微生物污染。
2.生产区域:生产区域应设有符合注射剂生产工艺要求的设备,包括混合设备、过滤设备、灭菌设备等。
设备应布置合理,方便操作和清洁维护。
3.材料准备区:材料准备区需要配备精确的称量设备,以确保原料的准确配制。
同时,还应设有材料储存区,方便材料的及时供应。
4.包装区域:包装区域应设备注射剂的包装设备,包括灭菌、充填和封尾等设备。
同时,还应设有包装材料的储存区,方便包装材料的供应。
5.检验区域:检验区域应设备注射剂的质量检验设备,包括外观检验、药效检验和包装检验等设备。
同时,还应设有实验室,进行产品质量的监控和研究。
6.废物处理区:废物处理区应设备废物的处理设备,包括废物收集器、消毒设备和储存设备等。
废物处理区应符合环保要求,防止环境的污染。
总体来说,注射剂生产工艺流程和厂方设计布局需要结合注射剂的特点和工艺要求来设计。
小容量注射剂生产工艺
一、小容量注射剂生产流程
1.原料配料:根据生产工艺文件称取所需原料,进行定量称取混合成样品;
2.粉碎加工:将原料称取的样品粉碎,达到投料要求;
3.成型加工:将粉碎后的样品经过模具加工成小容量注射剂;
4.粘合:将成型后的小容量注射剂经过挤出机筒面的粘合,保证其结实;
5.包装:将粘合完成的小容量注射剂成型包装;
6.过程检验:将小容量注射剂抽送样品检验,小容量注射剂及其包装检验;
7.成品检验:按要求随机抽送成品,进行成品检验,并按要求保存检验记录;
8.交付:小容量注射剂完成检验,满足要求即可交付。
二、小容量注射剂生产质量管理
1.原料管理:定期检查原料传送系统、投料设备、消毒系统等,确保原料得到充分稳定的保护;
2.过程控制:仔细查看生产工艺文件,确保投料工艺、成型工艺等各个工序质量控制;
3.检验质量:定期抽样检验,检验包装材料、原料成份、投料加工、成型加工等,确保质量符合要求;
4.后期管理:根据产品样品质量要求,实施后期恒温管理,确保温湿度的稳定性;。
.述最终灭菌的小容量注射剂生产工艺流程及区域划分
原料——称量——配制——粗滤——精滤——灌装
I —封口-灭菌检测-灯检-印字-包装-入库
安瓿——理瓶——粗洗——精洗-干燥灭菌——冷却
区域划分:精洗、配制、粗滤应为D级洁净区,安瓿干燥灭菌、冷却,料液的精滤、灌装、封口应为C级洁净区,其他都为一般生产区
.简述合剂生产工艺流程及环境区域划
原料——称量——配料——配制——过滤——灌装
I —压盖-灭菌检测-灯检-印字-包装-入库瓶子——理瓶——粗洗——精洗-干燥灭菌——冷却
区域划分:称量、配料、配制、过滤,瓶子的精洗、干燥灭菌,冷却,灌装、压盖应为D 级洁净区,其他都为一般生产区
简述湿法制粒片剂的生产工艺流程及车间设计的方法方案。
简述小容量注射剂的制备工艺流程下载提示:该文档是本店铺精心编制而成的,希望大家下载后,能够帮助大家解决实际问题。
文档下载后可定制修改,请根据实际需要进行调整和使用,谢谢!本店铺为大家提供各种类型的实用资料,如教育随笔、日记赏析、句子摘抄、古诗大全、经典美文、话题作文、工作总结、词语解析、文案摘录、其他资料等等,想了解不同资料格式和写法,敬请关注!Download tips: This document is carefully compiled by this editor. I hope that after you download it, it can help you solve practical problems. The document can be customized and modified after downloading, please adjust and use it according to actual needs, thank you! In addition, this shop provides you with various types of practical materials, such as educational essays, diary appreciation, sentence excerpts, ancient poems, classic articles, topic composition, work summary, word parsing, copy excerpts, other materials and so on, want to know different data formats and writing methods, please pay attention!小容量注射剂的制备工艺流程1. 原材料准备阶段。
最终灭菌小容量注射剂工艺设计介绍摘要:在符合《药品生产管理质量规范(2010年修订)》要求下,介绍最终灭菌小容量注射剂工艺设计。
关键词:《药品生产管理质量规范(2010年修订)》、最终灭菌、小容量注射剂1、引言根据《药品生产管理质量规范(2010年修订)》附录1,无菌药品是指《中国药典》中列有无菌检查项目的制剂和原料药,包括无菌制剂和无菌原料药。
无菌药品按生产工艺可分为两类:采用最终灭菌工艺的为最终灭菌产品;部分或全部工序采用无菌生产工艺的为非最终灭菌产品。
本文主要介绍最终灭菌小容量注射剂工艺设计。
2、小容量注射剂车间设计实例2018年本人曾做过一个原有厂房内改造的最终灭菌小容量注射剂车间的工艺设计,占地面积约1500平米,楼层层高6.9米。
产品为普药类水针,规格为10ml/支,年生产规模900万/支。
2.1生产工艺流程原辅料称量→溶解、定容→粗滤→除菌过滤→灌装、熔封→灭菌、检漏→干燥→灯检→印字包装→装盒→装箱→入库。
2.2生产环境空气洁净级别的要求根据产品特性、工艺和设备等因素,确定无菌药品生产用洁净区的级别。
每一步生产操作的环境都应当达到适当的动态洁净度标准,尽可能降低产品或所处理的物料被微粒或微生物污染的风险。
根据《药品生产管理质量规范(2010年修订)》附录1,无菌药品的生产操作环境可参照下面表格中的示例进行选择。
注:(1)此处的高污染风险是指产品容易长菌、灌装速度慢、灌装用容器为广口瓶、容器须暴露数秒后方可密封等状况;(2)此处的高污染风险是指产品容易长菌、配制后需等待较长时间方可灭菌或不在密闭系统中配制等状况。
根据上表,本项目洗瓶间及其辅助房间设计为D级,原辅料称量、配液、灌装、工器具清洗、暂存及其它辅助房间等设计为C级,理瓶、灭菌、灯检、包装等设计为控制区。
最终灭菌小容量注射剂一般采用采用洗烘灌联动线生产,其隧道灭菌烘箱和拉丝灌封机均自带A级层流罩。
洁净区域划分图如下:2.3生产区域各工序工艺及设备选型介绍为避免污染与交叉污染,根据所生产药品的特性、工艺流程及相应洁净度级别要求合理设计、布局和使用。
制药有限公司小容量注射液生产工艺规程文件编号:1颁发单位:GMP办公室工艺规程批准程序1. 剂型、规格 (2)2. 生产工艺流程 (2)3. 操作过程及工艺条件 (3)4.质量控制要点 (6)5.设备一览表、主要设备生产能力 (6)6.工艺过程中的SOP (7)7.中间产品的控制 (8)8.验证工作要点 (8)9.工艺验证的具体要求 (9)10.工艺卫生和环境卫生 (9)11.劳动组织及岗位定员 (9)一、制剂类型:最终灭菌小容量注射液,10ml规格,安瓿瓶包装。
二、流程图:小容量注射液生产工艺流程图三、操作过程及工艺条件1 生产前的检查与确认1.1 是否还留有前批生产的产品或物料,是否已清洁并取得“清场合格证”。
1.2 检查确认生产现场的机器设备和器具是否已清洁并准备完毕挂上“合格”标示。
1.3 所使用原辅料是否准备齐全。
是否有质量检验报告单,合格品才能使用。
1.4 检查工艺用水是否新鲜制备,贮存不得超过24小时。
1.5 检查确认与生产品种相适应的批生产指令、配套文件及有关记录是否已准备齐全。
1.6 检查确认生产场所的温度是否在规定范围内(18-26℃,相对湿度在30%-65%)。
2 洗瓶、干燥灭菌2.1理瓶:根据“批生产指令”准备所需的清洁盘、领取必须的安瓶。
在理瓶室将安瓶的合格品摆满瓶盘。
2.2粗洗:把安瓿瓶盘放在不锈钢传送链条上,开动洗瓶机用高压循环纯化水洗安瓿瓶内外壁。
将安瓿瓶盘对称放置,固定在甩水机上,启动甩水机,甩水处理8分钟,至安瓶甩干。
重复上述操作。
2.3 精洗:用水温50--60℃,经孔径0.45um滤膜滤过的澄明度合格的注射用水清洗安瓿瓶内外壁,重复粗洗步骤。
定时检查安瓿的清洁度:目检1000ml注射用水无可见异物,抽50支,毛、块≤2%。
2.4 干燥与灭菌:安瓿盘均匀放入烘干箱内,150℃烘干1小时,或350℃烘干5分钟,消除热原。
2.5 灭菌后的安瓿立即使用或清洁存放,贮存不得超过48小时。
注射剂生产车间工程设计最终灭菌小容量注射剂车间GMP设计(1)最终灭菌小容量注射剂生产过程包括原辅料的准备、配制、灌封、灭菌、质检、包装等步骤,按工艺设备的不同型式可分为单机生产工艺和联动机组生产工艺两种,其流程及环境区域划分(见图A B)。
关于水针各单机设备和联动机组设备的具体内容详见前。
(2)按照GMP的规定最终灭菌小容量注射剂生产环境分为三个区域:一般生产区、10万级洁净区、1万级洁净区。
一般生产区包括安瓿外清处理、半成品的灭菌检漏、异物检查、印包等;10万级洁净区包括物料称量、浓配、质检、安瓿的洗烘、工作服的洗涤等;1万级洁净区包括稀配、灌封,且灌封机自带局部100级层流。
洁净级别高的区域相对于洁净级别低的区域要保持5~10Pa的正压差。
如工艺无特殊要求,一般洁净区温度为18~26℃,相对湿度为45%~65%.各工序需安装紫外线灯。
(3)车间设计要贯彻人、物流分开的原则。
人员在进入各个级别的生产车间时,要先更衣,不同级别的生产区需有相应级别的更衣净化措施.生产区要严格按照生产工艺流程布置,各个级别相同的生产区相对集中,洁净级别不同的房间相互联系中设立传递窗或缓冲间,使物料传递路线尽量短捷、顺畅。
物流路线的一条线是原辅料,物料经过外清处理,进行浓配、稀配;另一条线是安瓿瓶,安瓿经过外清处理后,进入洗灌封联动线清洗、烘干.两条线汇聚于灌封工序。
灌封后的安瓿再经过灭菌、检漏、擦瓶、异物检查,最后外包成整个生产过程。
具体进出水针车间的人流、物流路线(见图)所示.(4)辅助用房的合理设置是制剂车间GMP没计的一个重要环节。
厂房内设置与生产规模相适应的原、辅材料,半成品、成品存放区域,且尽可能靠近与其联系的生产区域,减少运输过程中的混杂与污染。
存放区域内应安排待验区、合格品区和不合格品区;贮料称量室,并且要有利于包括空调风管在内的公用管线的布置。
(5)水针生产车间内地面一般做耐清洗的环氧自流坪地面,隔墙采用轻质彩钢板,墙与墙、墙与地面、墙与吊顶之间接缝处采用圆弧角处理,不得留有死角。
小容量注射剂生产工艺流程图:一、生产用物料包括原辅料、纯化水、注射用水、包装材料。
原辅料、包装材料(包括安瓿)应检验合格后使用。
纯化水为原水制得,清洗安瓿使用;注射用水为纯化水制得,清洗安瓿和配制使用,均应定时检查,制得后及时使用。
二、纯化水、注射用水1、原水处理(纯化水的制备)原水处理方法有离子交换法、电渗析法及反渗透法。
离子交换法制得的去离子水可能存在热原、乳光等问题,主要供蒸馏法制备注射用水使用,也可用于洗瓶,但不得用来配制注射液。
2、注射用水的制备注射用水为蒸馏水或去离子水经蒸馏所得的水,又称重蒸馏水。
其质量要求见《中国药典》,除氯化物、硫酸盐、钙盐、硝酸盐、亚硝酸盐、二氧化碳、易氧化物、不挥发物与重金属按蒸馏水检查应符合规定外,还规定pH应为5.0~7.0,氨含量不超过0.00002%,热原检查应符合规定,应于制备后12h内使用。
三、人员操作人员应身体健康,每年体检一次,并建立健康档案。
操作作人员按生产区域进行划分,严格遵守工作服穿戴制度,并不得将工作服穿出该区域。
不得将头发、胡须外露,不得化妆,不得佩带饰物、手表,操作前后、接触污物后均应洗手并且消毒。
工作服应定期清洗,更换。
四、领料按生产指令领取处方原料,核对物料品名,批号、规格、数量应相符,所领物料应有检验合格报告书。
.五、配料领取的原料核对品名、批号、数量、合格证,按生产处方配料,装入清洁容器转入下一工序。
称量时需由第二人复核。
六、安瓿清洗将安瓿轩洗瓶机内,依次用饮用水、纯化水、注射用水进行清洗,清洗后干燥灭菌,置相应区域,检验合格后及时使用。
七、配液按生产工艺进行配液八、过滤将配置完成的药液过滤,除去其中所含的杂质。
九、灌封滤液经检查合格后进行灌装和封口,即灌封。
十、灭菌除采用无菌操作生产的注射剂外,注射液在灌封后须尽快进行灭菌,以保证产品的无菌。
(灭菌要求是杀灭微生物,以保证用药安全,同时避免药物的降解,以免影响药效。
)十一、检漏灭菌后的安瓿立即进行漏气检查。
最终灭菌小容量注射剂的生产工艺流程下载提示:该文档是本店铺精心编制而成的,希望大家下载后,能够帮助大家解决实际问题。
文档下载后可定制修改,请根据实际需要进行调整和使用,谢谢!本店铺为大家提供各种类型的实用资料,如教育随笔、日记赏析、句子摘抄、古诗大全、经典美文、话题作文、工作总结、词语解析、文案摘录、其他资料等等,想了解不同资料格式和写法,敬请关注!Download tips: This document is carefully compiled by this editor. I hope that after you download it, it can help you solve practical problems. The document can be customized and modified after downloading, please adjust and use it according to actual needs, thank you! In addition, this shop provides you with various types of practical materials, such as educational essays, diary appreciation, sentence excerpts, ancient poems, classic articles, topic composition, work summary, word parsing, copy excerpts, other materials and so on, want to know different data formats and writing methods, please pay attention!最终灭菌小容量注射剂的生产工艺流程引言最终灭菌小容量注射剂的生产是医药行业中至关重要的环节之一,直接关系到患者的健康与安全。
小容量注射剂的工艺流程小容量注射剂的工艺流程主要包括制备溶液、灌装、封口和包装等步骤。
下面将详细介绍每个步骤的工艺流程。
首先是制备溶液。
这个步骤主要是将药物粉末或液体溶解在适当的溶剂中,制备成所需要的浓度。
首先,根据药物的特性选择合适的溶剂,然后将药物粉末或液体逐渐加入溶剂中,并通过搅拌或振荡等方式使其充分溶解。
在溶液制备过程中,还需要对溶液进行滤过、调节pH值等处理,以确保溶液的质量和稳定性。
制备好的溶液将进入灌装步骤。
首先是对灌装设备进行准备和清洁,以确保灌装过程的卫生和无菌。
然后将制备好的溶液通过灌装机器自动或半自动地注入小容量的玻璃或塑料容器中,如小瓶、小袋等。
在灌装过程中,还需要控制注射剂的容量,以保证每个产品的剂量准确和一致。
接下来是封口步骤。
在灌装好的小容量容器口部,使用热封设备对其进行封口。
热封可以保证注射剂的密封性和防止外界污染。
在封口前,还需要对封口设备进行调试,确保封口的质量和效果。
同时,还需要进行封口后的检查,以确保封口的完整性和没有漏液现象。
最后是包装步骤。
在包装之前,需要对注射剂进行质量检查,包括外观检查、容量检查、封口检查等。
通过合格的注射剂将进入包装环节,一般采用塑料袋或纸盒包装。
在包装的过程中,还需要对注射剂的标签、说明书等进行贴标和装订。
最后,对包装好的注射剂进行包装箱的打包,以便储存和运输。
总之,小容量注射剂的工艺流程包括制备溶液、灌装、封口和包装等步骤。
每个步骤都需要严格控制和质量检查,以确保注射剂的纯净度、浓度、容量和密封性等。
只有符合标准的产品才能进入市场,给患者带来安全和有效的治疗。
述最终灭菌的小容量注射剂
生产工艺流程及区域划分-标准化文件发布号:(9556-EUATWK-MWUB-WUNN-INNUL-DDQTY-KII
.述最终灭菌的小容量注射剂生产工艺流程及区域划分
原料——称量——配制——粗滤——精滤——灌装
I —封口-灭菌检测-灯检-印字-包装-入库
安瓿——理瓶——粗洗——精洗-干燥灭菌——冷却
区域划分:精洗、配制、粗滤应为D级洁净区,安瓿干燥灭菌、冷却,料液的精滤、灌装、封口应为C级洁净区,其他都为一般生产区
.简述合剂生产工艺流程及环境区域划
原料——称量——配料——配制——过滤——灌装
I —压盖-灭菌检测-灯检-印字-包装-入库
瓶子——理瓶——粗洗——精洗-干燥灭菌——冷却
区域划分:称量、配料、配制、过滤,瓶子的精洗、干燥灭菌,冷却,灌装、压盖应为D级洁净区,其他都为一般生产区
简述湿法制粒片剂的生产工艺流程及车间设计的方法方案。