企业管理流程图汇总
- 格式:ppt
- 大小:3.18 MB
- 文档页数:7
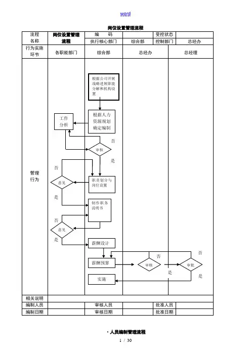
公司管理流程图大全提出内部调动申请部门负责人审核是填写内部调动申请表行政人力资源部审核是发布内部招聘信息是内部招聘申请审批是面试、考核是确定招聘人员是相关说明编制人员编制日期审核人员审核日期批准人员批准日期岗位设置管理流程:公司根据发展战略进行职能分解和机构设置,经行政人力资源部确定编制并制作职务说明书,经总经理意见后制定薪酬设计和薪酬预算,最后批准实施。
人员编制管理流程:各部门提出编制申请,XXX进行工作量分析,制定具体的人员编制并编制职位说明,经总经理办公会议审议后审核签批,最后执行编制。
增加编制申请流程:各用人部门提出增加编制的申请,XXX审核后进行内部或外部招聘,最终由总经理办公会议审议决策。
用人申请流程:用人部门因调动、流失等原因出现职位空缺,向部门负责人报告后填写用人申请表,行政人力资源部核实后进行招聘流程,最终由分管部门审核并批准实施。
公司内部招聘流程:员工原就任部门提出内部调动申请,部门负责人审核并填写内部调动申请表,行政人力资源部审核后发布内部招聘信息,经内部招聘申请审批后进行面试、考核,最终确定招聘人员。
与员工沟通时,必要时请XXX协调关键人员不应被调离,判定非关键人员应由用人部门、行政、XXX和公司员工共同决定。
在公司外部招聘时,应按照用工申请流程进行判断,决定是否外聘,对内发布招聘启事。
用人部门和人力资源部应提供相关支持进行面试和人员筛选,通过审核后通知职员并办理调动手续。
在公司内部招聘时,应按照用工申请流程进行判断,决定是否内聘,对外发布招聘启事。
用人部门和XXX应提供相关支持进行面试和人员筛选,通过审核后通知报到并进行入职流程。
在新员工入职流程中,行政人力资源部应配合行政部办理后勤工作、制度培训、签订试用合同等工作,用人部门和人力资源部应配合进行岗前培训、工作关系介绍和工作交接。
劳动合同管理流程中,应按照合同期满或试用期满进行考核、是否续签合同等决定,并在需要时进行辞退流程。
外观质量检验
三维建模
上传至TDM
是否最新版图纸更新
N
Y 工艺组
关键过程控制卡
装卡图量具需求
喷涂工艺(油漆、工装)
程序组
程序清单刀具清单
通过审核?
图纸规范库
通过审核?
装卡具
N
加工工艺(BOM 清单)
接收文件图纸
Y
返回上序
N
外观质量检
验
一件一票
合格?
办理交接手
续
转入铸件
工序
工步工位
工时、程序
Y
N
编制加工工艺OK ?
N
Y 三级审核:程序员编写——程序组长审核——质量工程师审核
三级审核:工艺员编制编写——工艺组长审核——质量工程师审核
顾客图纸变更通知
质量工程师审核
技术主管审
核
ERP
(数据中心)
刀具库
工装
Y
生产计划
程序调用
刀具领用工装领用
装卡找正
模拟加工
三维装卡图调用程序模拟试加工
加工
程序列表、工位工位1完成
填报?开始工位2
Y 自检并填报尺寸
N
工位……
通过机床面板或手持终端
检验
返修
TDM 不合格品
系统
返修记录
不合格品信息记
录
程序库
生产计划
辅助材料
监控模块
程序管理模块
Y
N
Y
Y N
N
发货
尺寸合格?
清洗
喷涂
清洗/包装
喷涂报告
尺寸报告
报告齐全?
终检合格?提交质量报
告
提NCR/SDR。
公司内部管理流程(大家都说很不错)目录1、行政-01 会议管理工作流程2、行政-02 固定资产管理流程3、行政-03 客户招待管理工作流程4、行政-04 办公用品/物料管理流程5、行政-05 办公设备管理流程6、行政-06 文书档案管理流程7、行政-07 档案借阅管理流程8、行政-08 收文管理工作流程9、行政-09 发文管理工作流程10、行政-10 名片印刷管理流程11、行政-11 宣传物料制作管理流程12、行政-12 宣传品/方案设计工作流程13、行政-13 印章使用管理流程14、储运-01 储运物流管理流程15、储运-02 发货配送工作流程16、人事-01 组织结构设计工作流程17、人事-02 人力资源规划工作流程18、人事-03 事档案管理工作流程19、人事-04 考勤管理工作流程20、人事-05 培训计划管理工作流程21、人事-06 员工招聘管理工作流程22、人事-07 员工录用管理工作流程23、人事-08 员工绩效考核管理工作流程24、人事-09 劳动合同管理工作流程25、人事-10 员工出差管理工作流程1、会议管理流程编号:行政-01-步骤表/流程图编制日期:2011-9-3此处会议性质为:招商会、展会、联谊会、客户答谢会等大型会议。
办公会议流程在“另注”中。
另注:公司内部办公会议流程:具体会议管理工作流程图如下:流程图:相关部门综合部相关领导2、固定资产管理流程编号:行政-02-步骤表/流程图编制日期:2011-9-3流程图:申请部门综合部相关领导3、客户招待管理工作流程编号:行政-03-步骤表/流程图编制日期:2011-08-09流程图:接待部门财务部门相关领导4、办公用品/物料管理流程编号:行政-04-步骤表/流程图编制日期:2011-08-09程图:申请部门综合部相关领导编号:行政-05-步骤表/流程图编制日期:2011-08-11程图:综合部综合部经理总经理编号:行政-06-步骤表/流程图编制日期:2011-08-11总人:综合部行政文员审核人:综合部经理审批人:总经理流程图:相关部门综合部相关领导编号:行政-07-步骤表/流程图编制日期:2011-08-12阅人:各部门申请人审批人:综合部经理、总经理保管人:综合部文员流程图:申请部门综合部相关领导编号:行政-08-流程图编制日期:2011-08-12 流程图:相关部门综合部相关领导编号:行政-09-流程图编制日期:2011-08-12 流程图:相关部门综合部相关领导编号:行政-10-步骤表/流程图编制日期:2011-08-13审批人:总经理制作人:行政文员流程图:申请部门综合部相关领导11、宣传物料制作管理流程编号:行政-11-步骤表/流程图编制日期:2011-08-13流程图:申请部门综合部相关领导12、宣传品/方案设计工作流程编号:行政-12-步骤表/流程图编制日期:2011-08-14流程图:相关部门企划设计部相关领导编号:行政-13-步骤表/流程图编制日期:2011-08-15审批人:总经理、综合部经理制作人:行政文员流程图:用印部门综合部相关领导编号:储运-01-步骤表/流程图编制日期:2011-08-16流程图:相关部门综合部财务部门15、发货配送工作流程编号:储运-02-步骤表/流程图编制日期:2011-08-16流程图:营销中心综合部财务部门16、组织结构设计工作流程编号:人事-01-步骤表/流程图编制日期:2011-08-17流程图:相关部门实施人事部设计公司管理层规划17、人力资源规划工作流程编号:人事-02-步骤表/流程图编制日期:2011-08-17流程图:人力资源现状人力资源规划结果和反馈18、人事档案管理工作流程编号:人事-03-步骤表/流程图编制日期:2011-08-18流程图:员工资料收集建立员工档案档案保管19、考勤管理工作流程编号:人事-04-步骤表/流程图编制日期:2011-08-20流程图:相关部门人事部相关领导编号:人事-05-步骤表/流程图编制日期:2011-08-20流程图:申请部门人事部相关领导编号:人事-06-步骤表/流程图编制日期:2011-08-21流程图:用人部门人事部相关领导编号:人事-07-步骤表/流程图编制日期:2011-08-2123、员工绩效考核管理工作流程编号:人事-08-步骤表/流程图编制日期:2011-08-22编号:人事-09-步骤表/流程图编制日期:2011-08-23流程图:用人部门人事部相关领导编号:人事-10-步骤表/流程图编制日期:2011-08-26流程图:出差部门综合部财务部门相关领导。
各职能部门和下属单位
编号: 部门名称
企划部
节点
10 11 12
企业制度建设管理流程图
流程名称 概要
公司制度建设流程 公司制度的制定与执行
董事会
JL.
」
总裁
运营总监
.
J
企划部
单位
开始
制度编写标 准
和要求
) *
F
1
1
各项制度汇 总
■
本部门管理 职能、职责
制度草案 4
----------
企业一级
资料的补充 预审、沟通
制度草案
和完善
一级管理 制度汇编
1 审批
2
审定 审核
正式颁布执行
下达编写二 级制度任务 编写二级职 能管理制度
公司名称 编制单位 审批
审批
企业制度建设管理工作标准
审核
汇总审查 补充完善
正式颁 布执行
指导健全执 行层制度 依据部门特点 编写三级制度
审核 4 --------------------
各项制度的
提岀修
补充、完善
--------------------------------
IF
订建议
跟踪监督制 度执行情况
依据部门特点 编写三级制度
密级 签发人
任务 名称 节
占 八、、 任务程序、重点及标准
J
y 时限
相关资料
制度
D1 程序
公司《管理制
下年度制度签发日
期 管理规划。
企业管理全套数据流程图(doc 48页)部门: xxx时间: xxx整理范文,仅供参考,可下载自行编辑图23.1 企业销售管理业务的第一层数据流图4图23.2 销售基础数据管理业务数据流图(第二层数据流)5图23.3 销售计划管理业务数据流图(第二层数据流)5图23.4 销售订单管理业务数据流图(第二层数据流)6图23.5 销售收发货管理业务数据流图(第二层数据流)6图23.6 销售服务管理业务数据流图(第二层数据流)7图23.7 企业销售管理E—R关系图7图23.8 销售管理系统的功能模块图8图24.1 企业采购管理数据流程图9图24.2 采购基础数据管理数据流程图(第二层数据流) 10图24.3 采购计划管理数据流程图(第二层数据流) 10图24.4 采购订单处理数据流程图(第二层数据流) 11图24.5 采购收货管理数据流程图(第二层数据流) 11图24.6 采购系统实体关系图12图24.7 采购系统模块图13图25.1 企业库存管理第一层数据流图14图25.2 库存基础数据管理数据流图(第二层数据流) 15图25.3 库存处理数据流图(第二层数据流) 15图25.4 入库处理展开数据流图(第三层数据流) 16图25.5 出库处理展开数据流图(第三层数据流) 16图25.6 企业库存管理E—R关系图17图25.7 库存管理系统功能模块图18图26.1 制造标准管理业务数据流图19图26.2 制造标准管理实体关系图20图26.3 制造标准管理功能模块图20图27.1 计划管理业务数据流图21图27.2 主生产计划管理业务数据流图(第二层数据流程图)21图27.3 物料需求计划管理业务数据流图第二层数据流程图)22图27.4 能力需求计划管理业务数据流图第二层数据流程图)23图27.5 计划管理实体关系23图27.6 计划管理功能模块图24图28.1 企业车间管理第一层数据流图25图28.2 车间任务管理系统数据流程图25图28.3 生产工票管理数据流程图26图28.4 车间物料管理数据流程图26图28.5 车间完工管理数据流程图26图28.6 企业生产管理E—R关系图27图28.7 车间管理系统功能模块图28图29.1 JIT生产管理数据流程图29图29.2 JIT计划管理数据流程图(第二层数据流程图)29图29.3 JIT系统维护数据流程图(第二层数据流程图)30图29.4 JIT生产管理数据流程图(第二层数据流程图)31图29.5 JIT系统实体关系图31图29.6 JIT功能模块图3230.1 质量管理数据流程图(简化)33图30.2 质量管理基本数据维护数据流程图(第二层)34图30.3 质量管理质量标准数据流程图(第二层)34图30.4 质量管理质量检验数据流程图(第二层)34图30.5 质量管理系统的实体关系35图30.6 质量管理功能模块图36图31.1 企业财务管理业务数据流图(简化)37图31.2 财务管理系统的功能模块图39图32.1 人力资源管理数据流程图40图32.2 人事管理数据流程图(第二层)41图32.3 人力资源计划管理数据流程图(第二层)41图32.4 招聘管理数据流程图(第二层)41图32.5 培训管理数据流程图(第二层)42图32.6 人力资源测评数据流程图(第二层)42图32.7 人力资源管理的实体关系43图32.8 人力资源管理功能模块图44图33.1设备与仪器管理业务数据流程图 44图33.2设备与仪器基本资料管理数据流程图(第二层, 可继续展开) 45图33.3设备与仪器业务管理数据流程图(第二层数据流)46图33.4 设备管理实体关系图46图33.5 设备管理功能模块图47图23.1 企业销售管理业务的第一层数据流图图图23.3 销售计划管理业务数据流图(第二层数据流)图23.4 销售订单管理业务数据流图(第二层数据流)图23.6 销售服务管理业务数据流图(第二层数据流)。
企业生产计划管理流程 图The manuscript was revised on the evening of 2021生产部生产计划流程图单位名称 生产部层次1单位 总经理1流程名称 概要 生产部开始2审批审定制定年度 生产计划3分解为单位季度计划4分解为单位 月份计划5审批审定汇总订单用料计划6生产过程调度78审批91011签字汇总、分析 统计报表生产总结 报告结束生产计划流程图泰康公司生产计划的制定和执行采购部销售部各生产部门原材料采购年度销售 计划季度销售 计划月销售计划生产用料 计划产品入库 出柜组织生产编制计划 报表2 011-10-20( 二)企业生产计划管理标准任务 名称制定 年度 生产 计划节点C2任务程序、重点及标准程序 ☆由生产部组织下属各生产单位负责人召开年度生产计划会议,根据公司发 展战略和经营计划规定的经营目标和 年度销售计划,制定当年的生产计划 ☆报生产经理审核,生产经理应提出自 己的意见和建议 ☆报公司总经理审批 重点 ☆制定年度生产计划的过程 标准 ☆控制产销平衡,各生产单位产量平 衡、品种齐全,符合客户要求C3 分解 季度 生产 计划C4制定 月度 生产 计划程序 ☆年度生产计划经总经理批准后,由生产部组织下属各生产单位负责人召开 季度生产计划会议,按照季度销售计 划要求将年度生产计划分解为各生产 单位季度生产计划 ☆每季度一次季度生产计划会议 重点 ☆生产任务按品种、型号、规格、数量 进行分解 标准 ☆控制产销平衡,填写生产计划统计报 表 程序 ☆由生产部组织下属各生产单位负责人 召开阶段生产计划会议,按照月度销 售计划要求制定月度生产计划 ☆每月召开一次月度生产计划会议 重点 ☆制定月度各生产单位的生产作业计划时限相关资料3 个工作日内1 个工作日内 即时一、《公司发 展战略规 划》二、《公司年 度销售计 划》 三、《公司年 度生产计 划》1 个工作日内一、《公司季 度销售计 划》 二、《公司季 度生产计划》2 个工作日内一、《公司月 度销售计划》 二、《公司月标准 ☆生产计划与设备维护、质量、安全、环保、资源等各种计划同时下达度 生产计划》C5 汇总 原材 料使 用计 划生产 过程 C7 调度C9 汇总 统计程序 ☆各下属生产单位向生产部上报生产用料的品种、型号、数量、质量等计划 ☆生产部汇总各下属生产单位用料计划☆报财务部进行费用审核☆根据购买额度及公司的审批权限,报生 产公司总经理审批☆计划批准后,由生产部统一报采购部, 准备生产用原材料重点 ☆生产用料的汇总、核实 标准 ☆填写采购原材料计划单 程序 ☆生产部对各下属生产单位的生产过程进行平衡、控制,合理调度公用工程系 统、人力等资源,对生产现场及时进行 监督、管理 ☆各下属生产单位按计划组织生产;按季 度、月度召开生产调度会议,对生产过 程中的问题进行平衡、协调、调度,生 产严格按计划进行,产成品通过质检入 库 重点 ☆生产过程中的安全、质量、成本等因素 的控制 标准 ☆检查、控制生产过程的记录 程序 ☆各下属生产单位按要求填报生产统计报 表 ☆生产部汇总公司的生产统计报表以及计 划完成 情况的分析报告一个工作日 内一个工作日 内一个工作日 内一个工作日 内一个工作日 内一、《用料计划 单》 二、《生产部用 料汇总单》依生产过程 确定生产调 度会议,每 月 5 日召开一个工作日 内一个工作日 内一、《生产统 计报表》二、《公司生报表☆报总经理审批,并提出自己的意见标准 ☆报表的汇总和计划完成情况的分析报告 程序 ☆报表准确及时,原因分析确切 ☆其它经济技术指标的统计一个工作日 内产统计报 表》。