商铺二次装修流程图
- 格式:doc
- 大小:43.00 KB
- 文档页数:1
二次装修管理程序详述(附相关表格及协议)所谓二次装修是指大楼竣工交付使用后,新来的用户(客户)根据本公司的工作特点和要求,对所购买(租赁)的房间进行重新分隔和装修。
因此,有的写字楼在竣工时室内未作装修,由待进入的用户(客户)自己装修。
用户调换后,新用户往往又要将原来的装修推倒进行再装修。
以上几种装修不管是那一种,习惯上都叫做二次装修。
二次装修是写字楼管理中的一个经常事项,它对写字楼的长期使用,对楼宇的建筑、设备、保安等方面都有密切的联系,所以每幢大楼的管理处都将二次装修作为一件重要事情对待。
主管部门是工程部,同时也牵涉到保安、经营等多个部门,因此,各业务部门应通力合作,做好二次装修的管理工作。
用户进行二次装修,一般程序是:提出装修申请,确定装修公司,向工程部提交装修设计图纸,工程部审核同意后会同保安部报请政府消防部门批准,签署装修及保安协议,审查装修公司员工并办理临时出入证,装修开始,现场监督,竣工验收,图纸存档等等。
这里介绍的是几个主要环节上的管理工作。
(1)二次装修的特点二次装修是在原有工程的基础上进行的,因此具有一般装修所不同的特点:①二次装修应符合原大楼工程的即定规范,不能突破原有的一些规定性的技术指标。
如:地面负荷重量不能超过设计规定,用电量不能超过额定容量,空调不能改变原有中央空调的回路,承重墙不能拆除,使用材料应符合高层建筑防火要求,不能擅自动用明火等等。
②二次装修大多是在大楼已有入住客户的情况下进行的,因此施工应不破坏相邻用户的正常工作,否则将引起相邻用户的投诉,但这种情况实践中很难完全避免,有时搞得意见很大,应引起管理者的重视。
③对施工人员的素质要求比较高。
不仅要良好的技术,而且要遵守大楼管理的各种特殊规定,如进出大楼必须走固定通道,乘货运电梯,说话要有礼貌,听从管理人员管理等等。
保安部一般都对施工人员进行事先审查,有的单位因人员审查不严,使个别不良分子进入大楼,造成失窃等治安案件,应引起足够的重视。
商城广场租户收铺、二次装修、开业主要程序指引流程图九大馆·双子铂金广场租户收铺、二次装修、开业主要程序指引首先,恭喜您成为九大馆.双子铂金广场大家庭中的成员,进驻九大馆.双子铂金广场兴业,以下是阁下及贵司在与本公司签定租赁合同后,办理此入驻手续和二次装修的主要程序指引,望务必仔细参阅。
订立办理二次开工[九大馆现将[九大馆·双子铂金广场]有关二次装修、补充装修、改造工程等单元施工手续环节汇总如下,务请关注:一、装修开工前手续: 1.按租赁合同商业管理中心与租户完成交/接楼,双方填写签署交/接纪录。
租户向商业管理中心授权装修证明;提交二次装修申请(内附装修公司营业执照、资质证书、资历等文件); 2. 租户向商业管理中心提供二套施工图报送管理部; 3. 租户将装修项目报消防;4.商业管理中于7个工作日内或按租赁合同约定时限批复图纸审批意见,并向租户介绍本大厦推荐监理联系人; 5. 租户根据审批意见限期作出更改;6. 租户办妥租金、管理费及装修相关款项的缴付; 7. 租户获得消防批文并送交商业管理中心备案。
二、开工: 1.施工单位技术负责人在装修施工前为本广场综合部、工程部、秩序维护部有关配合人员就租户完成上述条款获准开工后,办理施工出入证; 2. 租户应在施工区域配置足够数量的灭火器材(1只/50平方米); 3.租户在装修期间需供/停电,供/停水(生活、喷淋、消火栓),供/停消防报警,供/停广播喇叭,供/停摄像机等,须提前二天向商业管理中心提出书开业 退装面申请;4.租户在装修期间随时接受商业管理中心的督导与检查;5.租户工程完工时,向商业管理中心提出验收申请,并报消防组织竣工验收,及时完成消防提出的整改意见;6.商业管理中心进行工程整体竣工验收后,提出相关验收意见;7.租户根据验收意见进行整改,商业管理中心复验;8.租户提供消防验收批文、办理施工队退场手续;注:租户如需更详尽资料,可致本部咨询,TEL:8830361霞浦县九大馆物业管理有限公司九大馆·双子铂金广场产商业管理中心二、[九大馆·双子铂金广场]租户二次装修图纸目录(商业管理中心提供)序号图纸名称规格比例数量1. 楼层照明平面图A1 1:100 1张2. 楼层空调通风平面图A1 1:100 1张3. 楼层消防平面图(喷淋)A1 1:100 1张4. 楼层报警平面布线图(烟感)A1 1:100 1张5. 楼层广播系统平面图A1 1:100 1张商业管理中心提供的租户上述内容的图纸,如租户另须其它内容的图纸或增加提供的数量,则按RMB 20元/张(A1)收取成本。
写字楼二次装修作业指导一、暖通:1、空调水管的材料:DN70以上用无缝钢管,结构焊接,DN70以下用镀锌铁管,结构套丝,管道油漆施工放在晚上或者周末。
2、管道保压要求:压力测试前不能接驳大楼空调管路,并且绕开风机盘管做压力测试,前十分钟21MPa,没有明显压降,降压至16MPa保压24小时。
3、保压完成后,管道要做镀膜水处理,施工方出具水质分析报告。
4、冷凝排水管布管时应注意坡度。
5、空调施工完成要做整体调试,每个风口的出风温度和出风风速要记录,提供调试报告。
二、强电:1、装修设计单位必须在设计用电量内进行用电量配置。
2、租户临时电接驳要求:从租户单原内预留电箱接驳临时电缆,并现场配置施工用电临时配电箱。
3、租户所使用强电线材必须为低烟无卤阻燃型且截面不小于2.5 mm2。
4、电线穿管必须为镀锌金属电线管。
5、装修设计公司需进行用电量的计算,注意保证三相基本平衡。
6、租户单元应急照明灯具二次装修时需自行更改为带电池逆变应急照明灯具且由租户配电箱供电。
7、消防智能出口指示牌如需移位,必须满足消防及设备使用要求。
三、给排水:1、排水管需做同层排水,排水坡度符合规范并预留检修口;排水管井检修门处不能有异物阻挡;总排水口要安装不锈钢过滤网,网孔直径不小于8mm,并且焊死在总排水口处。
2、供水管材质需不锈钢管,阀门处应留检修孔。
3、新增用水点需独立增加水表和阀门,上水管要经过24小时打压测试,压力要求6MPa。
4、租户如需增加茶水间及卫生间;地坪及相应墙面需做好防水层并经48h盛水试验无渗漏,地面要增加排水地漏,防止溢水。
5、防水施工要求:防水抬高区域要做2遍防水,底层先做一遍防水,墙体侧面防水要高于回填抬高水平面30cm,回填用轻骨料混凝土,回填抬高区域要再做一遍防水,墙体侧面防水覆盖第一遍防水,每一遍防水通知物业现场验收,防水做好进行48小时存水试验。
四、弱电1、单元内有弱电CP箱,租户要做水平桥架或金属管线至CP箱,不能裸露线缆。
客户办理装修手续并进场
施工客户装修工程验收合格及相关手续完备,项目部将在一个月
后无息退还客户装修押金。
客户二次装修施工完工:1、客户报消防部门竣工验收。
2、取得消防部门竣工批复后,到项目部报竣工验收 申请。
3、如有整改工程,项目部签发《整改通知单》,直至整改完毕。
C、客服部负责装修过程中违反装修管理规定的事件处理,
建立客户装修档案。
如有装修施工违反规定的行为,项目部将将开出《违规整改通知单》,督促施工方整改。
施工过程项目部进行巡查监督:
二次装修流程
客户二次装修施工完工报
竣工验收退装修押金主要环节具体事项客户凭缴费收据到客服部办理进场施工手续,签订装修管理服务协议书、消防安全责任书、垃圾清运告知书;填写装修
申请表、施工人员登记表
客服部发放装修施工许可证。
A、工程部负责电气、土建、强/弱电、消防设备等工程施 工监督;
客户提出装修申请,领取《二次装修审批流程》,提交A、二次装修施工方案及图纸一套;
B、消防局审核批复意见;
C、装修单位资质、营业执照复印件;
D、所有施工人员身份证复印件。
客户收到通知后到项目部财务部支付装修施工应付的款项。
参考《装修期间收费明细》表
项目部在施工过程进行巡
查监督B、保安部负责治安、保卫、装修人员纪律、消防、清洁卫 生、电梯使用、装修垃圾堆放监督;项目部在七个工作日内审批装修方案并反馈批复意见予客户。
客户提出装修申请项目部审批。
. . 附件租户二次装修管理手册1.二次装修管理流程图2. 装修设计须知2.1承建商的选择租户应聘请信誉良好,具有二级资质以上的装修公司作为承建商,并向物业管理处提供装修委托书。
2.2承建商的指定租户有权自行选择装修承建商,但为了保证大楼装修质量等级标准及设施设备系统的正常运转,对以下特殊工程,租户须聘请物业管理处指定的承建商且工程费用由租户承当。
● 消防喷淋、空调、给排水及相关设施的改建工程; ● 机电总系统的各项接驳工程; ● 天然气管道的接驳工程;● 其他涉及共用部位或共用设施设备的有关工程。
2.3主体构造装修设计不得对主体构造,包括墙、樑、柱等进展改动。
未获得物业管理处和/或业主的书面批准,不得挖槽、切割、砍凿或雕刻柱、构造墙和相邻单元的共用隔墙、管道井的隔墙。
2.4 幕墙、吊顶、窗帘、地坪装修设计不得对幕墙、吊顶、地坪随意更改。
不得在玻璃幕墙上钻或粘贴任类型的设施和物件,一切装置不得触及到玻璃幕墙的构造组件或任一局部。
窗帘的制作(基于风格、颜色和材质的一致性)由物业管理处指定统一基色。
因地坪底部埋设管线,未获得物业管理处和/或业主的书面批准,不得挖槽、切割、砍凿地坪。
2.5消防、空调系统装修设计不得对消防、空调系统随意更改。
租户假设必须对单元消防、空调系统进展更改的,应事先获得物业管理处和/或业主的书面批准,对消防系统的更改还应获得消防局的批准。
2.6单元门及招牌单元门不得伸展至公共区域或共用部位,包括走廊或电梯厅,不得安装卷闸。
单元门口公司名称标识或店名标识的设置请咨询物业管理处,并按照物业管理处和/或业主指导意见设计和设置。
2.7间隔墙单元间隔墙应考虑消防喷淋和空调回风或其他透气设施的功能不受影响,间隔墙或摆放的高柜不能阻挡消防喷淋、空调室机及风口的使用和检修。
间隔墙应使用重量轻和干式构造的材料,如轻钢龙骨膏板。
如果是木框架或板墙,必须要涂上防火涂料。
间隔墙不能紧贴玻璃幕墙,也不得固定在玻璃幕墙上或玻璃窗支架上。
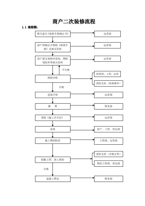
商户二次装修流程1.1 流程图: 填写递交《装修手册确认书》 运营部运营部运营部图纸审核招商部、工程、运营消防支队(装修报审)进场手续 运营部缴 费 财务部领取《施工许可证》 运营部进场 施工期间检查 隐蔽工程、竣工报验退施工押金 消防支队(合格证明)工程部、运营部物业工程部、营运部财务部不合格 合格合格商户持确认书领取《装修手册》及相关资料 商户提交装修申请表、图纸保险单等相关资料商户、工程、营运部1.2 流程1.2.1 我司运营部负责向您提供《装修手册确认书》,并通知您办理装修手续的时间。
请您务必填写好《装修手册确认书》,内容完整并加盖公章。
1.2.2 为了尽量节省手续办理时间,请商户和装修施工单位一起持业主同意的《装修意见书》《装修手册确认书》,到我司营运部领取《装修手册》,了解装修、施工相关事宜。
1.2.3运营部人员将指导您和装修施工单位填写《装修申请表》、《租用方/施工方人装修期间联络表》、《消防安全责任书》、《保险承诺书》、《装修施工人员出入证申请表》,并提醒您仔细参阅《房屋交接确认书》,《装修施工收费明细表》,请您和装修施工单位在收到上述材料后,尽快提报施工图纸等全部资料,同时向消防支队就装修施工进行报审(仅针对需要独立报消防商户)。
商户所提交的施工图均应按照当地规范要求和明文规定来绘制(图纸最小比例1:50),要求商户提交施工单位企业相关资质证明及装修施工图、工程进度表,一式三份。
➢装修单位资质:✧装修面积在500M2以下的,装修单位资质为三级以上;✧装修面积在500M2以上(包括500M2)的,装修单位资质为二级以上。
➢装修设计说明书✧包括主要引用规范、建筑材料和重要设备的清单、工程进度表、配套事项等。
➢装修平面图✧包括家具和设备在内的总内部布置;✧标明伸入吊顶空隙内至结构平板楼板底面的任何间隙或隔墙的内部布置;✧安装在天花板吊顶空隙内部的型架和设施;✧提供重要设备的全部详细情况,安装位置、包括尺寸、重量以及厂商建议的安装方法等。
商业二次装修流程下载温馨提示:该文档是我店铺精心编制而成,希望大家下载以后,能够帮助大家解决实际的问题。
文档下载后可定制随意修改,请根据实际需要进行相应的调整和使用,谢谢!并且,本店铺为大家提供各种各样类型的实用资料,如教育随笔、日记赏析、句子摘抄、古诗大全、经典美文、话题作文、工作总结、词语解析、文案摘录、其他资料等等,如想了解不同资料格式和写法,敬请关注!Download tips: This document is carefully compiled by the editor. I hope that after you download them, they can help yousolve practical problems. The document can be customized and modified after downloading, please adjust and use it according to actual needs, thank you!In addition, our shop provides you with various types of practical materials, such as educational essays, diary appreciation, sentence excerpts, ancient poems, classic articles, topic composition, work summary, word parsing, copy excerpts,other materials and so on, want to know different data formats and writing methods, please pay attention!商业二次装修是商业场所为了提升形象、提升服务品质所进行的再次装修。
商铺二次装修报建流程下载温馨提示:该文档是我店铺精心编制而成,希望大家下载以后,能够帮助大家解决实际的问题。
文档下载后可定制随意修改,请根据实际需要进行相应的调整和使用,谢谢!并且,本店铺为大家提供各种各样类型的实用资料,如教育随笔、日记赏析、句子摘抄、古诗大全、经典美文、话题作文、工作总结、词语解析、文案摘录、其他资料等等,如想了解不同资料格式和写法,敬请关注!Download tips: This document is carefully compiled by theeditor. I hope that after you download them,they can help yousolve practical problems. The document can be customized andmodified after downloading,please adjust and use it according toactual needs, thank you!In addition, our shop provides you with various types ofpractical materials,such as educational essays, diaryappreciation,sentence excerpts,ancient poems,classic articles,topic composition,work summary,word parsing,copy excerpts,other materials and so on,want to know different data formats andwriting methods,please pay attention!商铺二次装修报建流程。
1. 准备材料。
产权证明文件(房产证或土地证)。
附件租户二次装修管理手册1.二次装修管理流程图2.2.1租户应聘请信誉良好,具有二级资质以上的装修公司作为承建商,并向物业管理处提供装修委托书。
2.2 承建商的指定租户有权自行选择装修承建商,但为了保证大楼装修质量等级标准及设施设备系统的正常运转,对以下特殊工程,租户须聘请物业管理处指定的承建商且工程费用由租户承担。
●消防喷淋、空调、给排水及相关设施的改建工程;●机电总系统的各项接驳工程;●天然气管道的接驳工程;●其他涉及共用部位或共用设施设备的有关工程。
2。
3 主体结构装修设计不得对主体结构,包括墙、樑、柱等进行改动。
未获得物业管理处和/或业主方的书面批准,不得挖槽、切割、砍凿或雕刻柱、结构墙和相邻单元的共用隔墙、管道井的隔墙。
2。
4 幕墙、吊顶、窗帘、地坪装修设计不得对幕墙、吊顶、地坪随意更改。
不得在玻璃幕墙上钻孔或粘贴任何类型的设施和物件,一切装置不得触及到玻璃幕墙的结构组件或任何一部分。
窗帘的制作(基于格调、颜色和材质的一致性)由物业管理处指定统一基色。
因地坪底部埋设管线,未获得物业管理处和/或业主方的书面批准,不得挖槽、切割、砍凿地坪。
2.5 消防、空调系统装修设计不得对消防、空调系统随意更改。
租户若必须对单元内消防、空调系统进行更改的,应事先获得物业管理处和/或业主方的书面批准,对消防系统的更改还应获得消防局的批准。
2.6 单元门及招牌单元门不得伸展至公共区域或共用部位,包括走廊或电梯厅,不得安装卷闸。
单元门口公司名称标识或店名标识的设置请咨询物业管理处,并按照物业管理处和/或业主方指导意见设计和设置.2。
7 间隔墙单元内间隔墙应考虑消防喷淋和空调回风或其他透气设施的功能不受影响,间隔墙或摆放的高柜不能阻挡消防喷淋、空调室内机及风口的使用和检修。
间隔墙应使用重量轻和干式结构的材料,如轻钢龙骨石膏板。
如果是木框架或板墙,必须要涂上防火涂料.间隔墙不能紧贴玻璃幕墙,也不得固定在玻璃幕墙上或玻璃窗支架上。
商业二次改造流程
1. 前期准备:明确改造目标、预算,查阅相关法规,获取物业同意。
2. 设计规划:聘请设计师绘制改造方案,考虑空间布局、风格、功能。
3. 报批报建:向相关部门提交改造申请,办理施工许可等手续。
4. 施工招标:公开或邀标选择资质合格的施工单位。
5. 进场施工:按设计方案及施工合同进行拆除、新建、装修等工作。
6. 中期验收:监理或业主对隐蔽工程、关键节点进行验收。
7. 竣工验收:完成全部工程后,进行消防、环保等综合验收。
8. 投入使用:验收合格后,进行清洁整理,正式投入运营。
二次装修办理流程
符合条件
违规施工
正确施工
不合格
业 主 带室内装修平面示意图、水电安装示意图
提前三天,递交申请表
物业服务中心审核
装修施工单位缴交施工装修保证金 办理装修许可证 提供施工人员身份证复印件、照片, 办理施工人员《临时出入证》 严格按照《装修管理规定》进行装修施工 物业服务中心 日常检查监督 施工结束 装修完毕入住三个月后,可提出退还装修保证金
物业服务中心检查验收 整改 纠正
合格 退还保证金
限期 整改 纠正 装修 施工单位 装修公司提供资质证明书复印件。