培训管理流程图
- 格式:doc
- 大小:36.50 KB
- 文档页数:5
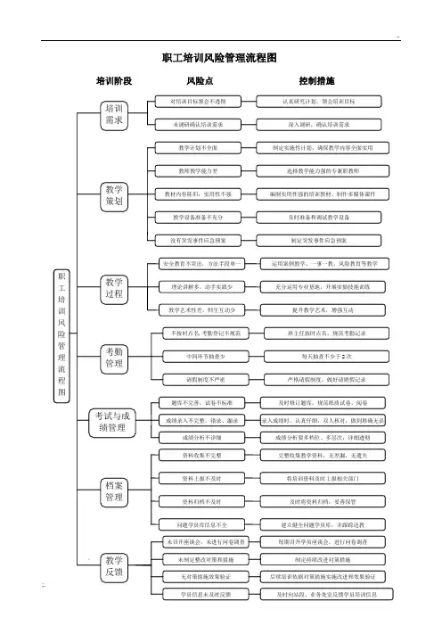
..;.培训需求对培训目标领会不透彻未调研确认培训需求认真研究计划,领会培训目标深入调研,确认培训需求职工培训风险管理流程图教材内容陈旧,实用性不强教师教学能力差教学设备准备不充分选择教学能力强的专兼职教师编制实用性强的培训教材、制作多媒体课件及时准备和调试教学设备教学计划不全面没有突发事件应急预案制定突发事件应急预案制定实施性计划,确保教学内容全面实用教学策划理论讲解多,动手实践少教学艺术性差,师生互动少安全教育不突出,方法手段单一运用案例教学、一事一教,风险教育等教学提升教学艺术,增强互动充分运用专业基地,开展实做技能训练教学过程不按时点名,考勤登记不规范中间环节抽查少请假制度不严密班主任按时点名,规范考勤记录每天抽查不少于2次严格请假制度,做好请销假记录考勤管理资料收集不完整资料上报不及时资料归档不及时问题学员库信息不全将培训资料及时上报相关部门及时将资料归档,妥善保管建立健全问题学员库,并跟踪送教完整收集教学资料,无差漏,无遗失档案管理未召开座谈会,未进行问卷调查未制定整改对策和措施无对策措施效果验证每期召开学员座谈会,进行问卷调查制定持续改进对策措施后续培训依据对策措施实施改进和效果验证学员信息未及时反馈及时向站段、业务处室反馈学员培训信息教学反馈考试与成绩管理题库不完善,试卷不标准成绩录入不完整,错录、漏录及时修订题库,规范纸质试卷、阅卷录入成绩时,认真仔细,双人核对,做到准确无误成绩分析不详细成绩分析要多档位、多层次,详细透彻职工培训风险管理流程图培训阶段风险点控制措施。
物业员工培训计划流程图培训目标:通过此培训计划,使物业员工提升专业技能和服务质量,增强服务意识,提升整体业务水平,提高客户满意度,从而更好地满足业主需求,提升物业公司整体竞争力。
培训对象:本次培训对象为物业公司在岗员工,包括但不限于物业管理人员、保安人员、清洁人员等。
培训内容:1.服务意识培养2.安保知识培训3.维修技能培训4.管理理论学习5.团队合作培训流程:第一阶段:确定培训目标和内容确定培训目标和内容,编制详细的培训计划,并邀请相关领域专家参与培训内容的设计,确保培训内容的针对性和实用性。
第二阶段:培训材料准备准备培训所需的所有材料,包括课件、教材、学习资料等,并确保培训材料的完整性和有效性。
第三阶段:培训教师和讲师选拔选择具有丰富实践经验和教学经验的培训教师和讲师,确保他们能够有效传授知识和技能。
第四阶段:培训宣传和报名通过公司内部通告、宣传海报等方式,将培训信息广泛传达给全体员工,并组织员工报名参加培训。
第五阶段:培训开展1.开幕式举行培训开幕式,公司领导致辞并宣布培训正式开始,对员工们传达培训的重要性和期望。
2.理论学习安排专业教师进行理论课程的讲解,包括服务意识培养、安保知识、维修技能、管理理论学习等内容。
3.实际操作安排相关专业人员进行实际操作指导,使员工能够将学到的理论知识运用到实际工作中。
4.案例分析组织员工共同分析物业管理中的典型案例,让员工通过案例分析,加深对问题的理解,提升解决问题的能力。
第六阶段:培训总结和考核1.培训总结组织培训总结会议,让员工就培训内容进行总结和分享,让员工对培训内容有更深入的理解,对后续工作的进行更好的指导。
2.培训考核安排相关人员对员工进行培训成果的考核,通过考核来评定员工培训后的实际水平,以及确定培训效果。
第七阶段:培训成果反馈根据培训考核结果和员工反馈意见,进行培训成果的总结和反馈,并对培训计划和培训内容进行调整和优化。
第八阶段:培训效果跟踪对培训后员工的工作表现进行跟踪,根据员工的工作表现和客户满意度等数据,评估培训效果,不断优化和改进培训计划。
任务1 培训管理
一、工作程序
1、培训需求分析
2、设计与策划
3、培训实施
4、培训的考核
5、评估培训效果
活动1:培训需求分析
(1)组织的需求:考虑组织的使命、愿景、整体战略,以及这些因素对培训的影响;公司的培训历史、文化、规和价值观、变革的程序,以及抗拒变革的那些因素;岗位说明书的要求;了解组织部对于培训的看法和评价。
(2)员工的需求:采用面谈/问卷调查/观察或者小组讨论等方式了解员工的培训需求
(3)考虑行业动态变化的需求
(4)与中高层管理者反复沟通,分析工作现状,提炼、确认培训需求。
问题:•培训需求分析的核心是对参加培训者现有知识和技能以及通过培训可达到的知识和技能之间的差距进行确认,对于提高性的需求分析及胜任能力为目的的需求分析很难衡量;
产生的原因:没有详细的岗位说明书
解决办法:在部门职责的基础上分解细化岗位职责,员工绩效能够得到考量
活动2:设计与策划
(1)分析和确定培训工作开展的有利条件和制约条件
(2)确定培训工作的总体要求、目标和任务
(3)编制培训规划和培训计划
(4)根据培训对象的不同确定培训的时间、地点、课程、方式、费用、频率及培训实施者;
ⅰ.课程设计:具有针对性
ⅱ.培训方式: 多样性,包括讲授、案例分析、角色扮演、研讨、户外拓展训练、军训、头脑风暴、录像辅助教学、发书
ⅲ.培训实施者:培训的实施者一定要将部门负责人纳入进来。
任何忽视一线经理的培训作用的培训方案都是不完整的,且将难以实施。
ⅳ.培训师的选择:培训师的素质、行业口碑
问题:•部门负责人不够重视
解决办法:与部门负责人沟通,签订绩效改进协议,同时将部门负责人纳入培训实施者
活动3:培训实施
根据《培训方案/计划》落实培训。
为了确保培训的有效实施,以中高层培训为样本,制定培训管理实施细则,保留、管理所有培训记录以证明培训的实施的证据,以成为将来分析培训体系的资料。
问题:•培训各个环节的监控和调节
解决办法:对培训运行过程的各环节(培训时间、培训容、培训方法、培训教师、培训教材等)进行监控和调节,将设计和策划的成果转化为培训行为。
活动4:培训的考核
想要衡量培训的成效,考核是必须的。
考核可以在培训项目实施前、培训中或是培训结束后进行。
(1)制定客观的、能反映培训容的考核标准
(2)关注结果行为改变、绩效成果与培训的容关联性
(3)培训成果能够被衡量
(4)培训结束后,多次、多样性的考核方法
问题:•考核标准建立及最佳考核时间
解决办法考核标准必须建立在培训成果附加值能够被衡量的基本上;考核时间要贯穿培训过程中、结束后
活动5:评价培训效果
(1)高层的支持,各部门经理的配合,才能进行有效评估
(2)员工行为跟踪,有针对性的向员工主管、同事、员工本身展开调查,评价学员的学习效果
(3)员工反馈
(4)关注培训容和组织目标、个人目标的联结,以及培训容、工作流程与组织部知识管理之间的关系
问题:•评估的理论、方法和程序是否科学;激励方式的选择解决办法:建立一套科学的评估模型、方法和程序,外在激励与在激励相结合,使绩效成果形成长期效益
二、部门、外部关系
1、部关系:培训需求分析中,人员学历、年龄、职务、岗位职责、职业发展方面需要借助黎明负责的员工信息统计、合同管理;新员工培训与招聘管理有联系
2、外部关系:培训人员的确定需要跟各分、子公司办公室主任联系,收集详细样本资料;跟培训机构沟通确定:培训时间、课程安排、讲师、人员生活安排;培训的监控
问题:
•培训出发前分、子公司,各职能部门突然更换受训学员
•对培训机构讲师的资质与企业的实际需求矛盾;培训中的监控出现不和谐
解决办法
•培训前与分、子公司办公室主任,各职能部门经理的充分沟通,增强分、子公司,各职能部门对培训工作的重视度,加强计划性;
•与培训机构签订培训合同前要充分了解讲师的素质、工作履历、工作效果;提前沟通好培训的监控与调节
三、风险控制点
1、风险点:培训效果不明显。
2、控制措施:
(1)培训需求分析务必要深入,做到覆盖面全、客观合理,能够反映真实需求;
(2)根据所承担任务的培训需求,制定培训计划,编制培训大纲,选聘培训师资,设计培训课程,制定培训方案,为培训的组
织与实施做好各项准备工作
(3)通过对调研分析、培训策划和设计、培训过程记录等相应档案的检查,通过现场观察和召开座谈会等形式,了解培训工作的运行进程和关键环节实施情况,提出改进意见,监督培训计划的落实。
(4)培训实施前、中、后都要与培训机构进行充分的沟通,以企业的培训需求为切入点,以员工在知识、技能、态度等方面的差距为依据,以培训效果为检验标准,加强交流沟通。