ZDJ9道岔维护及故障处理.ppt
- 格式:ppt
- 大小:3.34 MB
- 文档页数:15
ZDJ-9型转辙机是能适应当今高速铁路、客运专线以及城市轨道交通需要的道岔转换设备,在实际使用中,存在着许多控制电路及表示电路中的故障。
为了增强现场道岔故障处理能力,提高道岔试验效率,以及便于车站开通后对道岔设备的维护,本文结合现场实际施工及调试经验,对ZDJ-9型道岔控制电路及表示电路进行分析,并挑选出几个常见故障进行详细分析。
1 ZDJ-9型道岔控制电路分析1.11DQJ励磁及自闭电路以由定位向反位操纵(即反操)道岔为例,如图1所示。
第一道岔启动继电器1DQJ(JWJXC-125/0.44型)励磁电路需要检查道岔的锁闭防护继电器SFJ(JPXC-1000型)、转换该组道岔需检查轨道区段的轨道继电器DGJ(JWXC-1700型)、第二道岔启动继电器2DQJ (JYJXC-125/220型)、以及反位操纵继电器的接点状态。
1DQJ励磁电路如下:KZ—SFJ(33-31)—DGJ(11-12)—1DQJ(3-4)—2DQJ(141-142)—FCJ(11-12)—KF1DQJ的自闭电路如图1所示,即:KZ—R2(1-2)—1DQJ(1-2)—BHJ(32-31)—TJ(33-31)—1DQJ(32-31)—KF,其中保护继电器BHJ是在道岔操纵时,三相交流电流经断相保护器DBQ为其提供20 V左右的交流电,使其励磁吸起,从而构通1DQJ的自闭电路,使1DQJ保持吸起,还需要说明的是,这里的时间继电器TJ是一个13 s缓吸继电器。
该时间继电器的作用是:当由于某些故障原因使道岔转换不到位时,在13 s 后,TJ即吸起,从而断开1DQJ的自闭电路,使其落下,从而保证电机不至于一直空转。
1.22DQJ转极电路1DQJ励磁吸起后,使1DQJF吸起,用于构通2DQJ 的转极电路:KZ—1DQJF(31-32)—2DQJ(1-2)—FCJ(11-12)—KF,使2DQJ转极,如图1所示。
1.3道岔转辙机动作电路如图2所示,ZDJ-9型道岔控制电路采用三相五线制(即道岔动作电源A、B、C三相,X1、X2、X3、X4、X5五线)。
ZDJ9转辙机目录1. ZD(J)9转辙机结构 (1)1.1 ZD(J)9转辙机内部结构 (1)1.1.1 ZD(J)9转辙机的内部结构组成 (1)1.1.2 各部件的作用 (1)1.2 ZD(J)9外部结构 (1)1.2.1 角钢 (4)1.2.2尖端杆 (4)1.2.3 表示连接杆 (4)1.2.4 密贴调整杆 (4)2.设备动作原理 (5)2.1内部动作原理 (5)2.2锁闭解锁转换过程 (5)3.电路原理 (6)3.1动作电路原理 (6)3.2动作电路分析 (6)3.3 1 DQJ励磁及自闭电路 (6)3.4 2DQJ转极电路 (7)3.4道岔转辙机动作电路 (7)4.运维 (9)4.1 日常维护 (9)4.1.1日常养护流程图 (9)4.1.2 日常养护项目 (9)4.1.3 组成人员 (9)4.1.4. 周期 (10)4.1.5 工具仪表 (10)4.1.6 材料 (10)4.1.7 安全操作事项 (10)4.1.8 ZD(J)9道岔设备日常养护作业程序、项目、内容及标准 (10)4.2 集中检修 (12)4.2.1 集中检修流程图 (12)4.2.2 集中检修项目 (12)4.2.3. 组成人员 (13)4.2.4 周期 (13)4.2.5 工具仪表 (13)4.2.6 材料 (13)4.3 故障处理流程 (14)5. 施工 (14)5.1 安装 (14)5.1.1 角钢安装方式 (15)5.2 调试 (16)5.2.1表示缺口的调整缺口处 (16)6. 常见故障 (17)6.1 故障处理程序 (17)6.2常见的表示电路故障数据 (18)6.3 常见道岔表示电路故障分与处理 (19)1. ZD(J)9转辙机结构1.1 ZD(J)9转辙机内部结构1.1.1 ZD(J)9转辙机的内部结构组成ZD(J)9转辙机由左右锁闭(表示)杆、动作杆、底壳、滚珠丝杠副、电机减速器、摩擦连接器、接点组、接线端子、挤脱器等组成,如下图所示。
精品好资料——————学习推荐ZD9型电动转辙机维护与故障处理学生姓名:崔祥学号:1230229专业班级:铁道通信信号321617指导教师:李玉冰摘要铁路是国民经济的大动脉、全国沟通联系的纽带、国民经济建设的先行行业。
与其它运输方式相比,铁路运输具有运量大、成本低、速度快、安全可靠、能全天候运输等众多优势。
铁路承担全国客货周转量的60%~70%,这种状况在今后相当长的时间内不会有太大的变化,铁路仍将是我国交通运输系统中的重要力量。
铁路信号是铁路运输的耳目,是保证行车安全和提高运输效率的有力工具。
一旦信号设备故障,铁路运输将陷于瘫痪,整个国民经济将遭受严重损失。
从铁路一开始出现,人们就把铁路信号中的故障——安全技术作为一个专题进行研究。
随着计算机技术的发展,特别是对可靠性和冗余容错技术的深入研究,车站信号联锁安全技术也正在不断的更新和发展。
目前,转辙机技术正处于不断改进的阶段,我国随着对国外的S700K的引进和应用慢慢的随着对S700K的进一步了解,我国的转辙机技术主要采用四线制的ZD6和五线制的S700K来控制列车的运行。
近年来,我国通过对国外五线制转辙机的研究,我国又推出了五线制的ZD9和S700K结合而成,大大提高了我国转辙机的力度,有效地提高了我过铁路的运行速度,现在一些速度较高的线路正在使用ZD9转辙机,有些线路由于速度的高速,还要依赖国外的转辙机,但ZD9改变了国外对于高速转辙机的垄断。
总之,我国的转辙机发展将向低成本、高效率、高安全、高可靠以及高速的方向发展。
关键词:ZD9转辙机的结构;原理应用;维护及故障处理目录摘要I目录II引言- 1 -1 ZD(J)9系列转辙机使用及维护-2 -1.1 概述- 2 -1.1.1 型号组成及表示意义- 2 -1.1.2 ZD(J)9型电动转辙机的特点- 2 -1.2 ZD(9)系列电动转辙机的结构- 2 -1.2.1 电动机- 3 -1.2.2 减速器- 3 -1.2.3 滚珠丝杠- 3 -1.2.4 摩擦连接器- 3 -1.2.5 自动开闭器- 3 -1.2.6 安全接点- 3 -1.2.7 接线端子- 3 -1.3 转辙机的安装- 4 -1.4 表示缺口的调整- 4 -1.5 ZD(J)9型电动转辙机系列- 4 -2 ZD(J)9转辙机电路分析及电路故障- 6 -2.1 常见的表示电路故障数据- 7 -2.2 五线制道岔各线的作用- 8 -2.3 启动电路故障处理- 8 -2.4 ZDJ9道岔动作电路示意图- 9 -2.4.1 动作电路原理- 10 -2.4.2 动作电路分析- 10 -2.5 道岔表示电路- 10 -2.5.1 表示电路特点- 10 -2.5.2 表示电路原理- 10 -2.5.3 表示电路元件分析- 12 -3 ZD(J)9型转辙机的安装与调试- 12 -3.1 产品技术参数- 13 -3.1.1 交流系列电动转辙机- 13 -3.1.2 直流系列电动转辙机- 14 -3.2 接点组和控制电路- 15 -3.2.1 接点组- 15 -3.2.2 控制电路- 15 -3.3 转辙机的安装- 16 -3.4 转辙机的调试- 18 -4 电动转辙机检修- 19 -4.1 联系登记- 19 -4.2 转辙机外观检查- 19 -4.3 动作试验目视检查- 19 -4.4 暗锁及遮断器- 19 -4.5 内部清扫及配线检查- 20 -4.6 电动机- 20 -4.7 减速器及摩擦连结器- 20 -4.8 自动开闭器- 20 -4.9 表示示杆- 20 -4.10 动作杆及移位接触器- 20 -4.11 电缆盒- 21 -4.12 安装装置- 21 -4.13 试验、记录- 21 -4.14 加锁、消记- 21 -4.15 联系登记- 21 -结论- 22 -致谢- 22 -参考文献- 23 -引言随着计算机技术的发展,我国于上世纪八十年代初开始研制和开发应用于铁路车站的计算机实时控制系统。
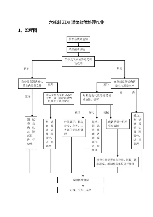
六线制ZD9道岔故障处理作业1、流程图2、作业指导书2.1 接到故障通知2.1.1 接到故障通知后,迅速赶赴运转室(行调台),确认设备故障情况,并按要求办理登记停用手续。
2.1.2 向车间调度和段调度汇报故障发生情况。
2.1.3 相关故障处理人员进行故障处理准备,初步判断故障范围,明确是否需上道处理故障。
2.1.4 确需上道处理故障,立即准备所需器材、工具、材料、仪表(包括劳动防护器具、通信工具、故障处理专用工具、MF14型万用表等),穿着防护服、绝缘鞋。
2.2 登记联系、防护2.2.1 驻站联络员及时办理登记停用手续。
2.2.2 确需上道处理故障,驻站联络员立即向电务段调度汇报并申请电务段上道命令,待命令下达后立即向故障处理人员传达相关命令。
2.2.3 作业人员接到室内联络员作业命令号后,人员方可上道处理故障。
2.2.4 驻站联络员在联系过程中严格执行各项卡控制度,做好列车运行预告和防护工作,保持与室外人员联系畅通,确保室外人员人身安全。
4.2.5 室外人员到达现场,通报自己所在位置及人员姓名,对故障设备的地点、名称双方核对确认。
2.3 处理故障2.3.1 接到故障通知后,及时赶赴运转室,确认道岔故障情况和影响范围,按照故障处理程序及时上报车间调度、段调度。
2.3.2 通过微机监测设备回放故障发生时的基本情况,包括站场信息变化、道岔启动电流曲线。
站场信息变化调看内容:确认道岔故障属于扳动后断表示还是未扳动断表示,岔区是否有车辆运行和各种报警(含外电网波动、I路II路电源切换、外电网瞬间断电等信息)。
2.3.3 通过微机监测设备的调看,确定道岔属于不转换动作,转换不解锁,转换后不锁闭,道岔无表示(包括转换前断表示或转换后断表示)哪种故障情况。
2.3.3.1 道岔不转换动作故障简要分析和处理要点如下。
2.3.3.1.1 道岔不转换,通过回放微机监测动作电流曲线和其他转辙机的动作电流曲线对比,确认出真正发生故障的转辙机。
浅析ZD(J)9分动外锁闭道岔的维护与检修随着成都地铁迅猛的发展,ZD(J)9道岔作为整个系统最薄弱的环节,广泛运用于各条地铁线路,新开线路已使用分动外锁闭道岔,在节省了隧道占地面积的同时提高了道岔转辙设备的可靠性,保证列车安全平稳的运行,提高运输效率,ZD(J)9分动外锁闭道岔在实际生产中的维护与检修显得尤为重要,其维护与检修应做到“一看、二扳、三测试、四检查和五复验”,此外,还应做到“不松、不旷、不紧、不卡”的要诀。
标签:ZD(J)9;道岔;检修;维护1、原理及构成1.1 ZD(J)9转辙机构成ZD(J)9电动转辙机有电动机、减速器、摩擦连接器、滚珠丝杠、推板套、动作板、锁块、锁闭铁、接点座组、动作杆、锁闭杆等部件组成,结构采用模块化设计,便于维护和检修。
1.2 ZD(J)9转辙机工作原理(1)电动机接通电源后,电机上的小齿轮通过齿轮箱中的传动齿轮进行两级减速把动力传递到摩擦连接器的齿轮上;(2)通过摩擦连接器中的内外摩擦片的摩擦作用,齿轮的旋转运动传递到滚珠丝杠上,滚珠丝杠把传动齿轮的旋转运动转换成与丝杠连接的推板套水平运动;推板套水平运动,推动动作杆及其连接的道岔尖轨水平运动,由锁闭块完成道岔锁闭功能,达到转换道岔的目的。
1.3 外锁闭装置工作原理外锁闭安装装置主要由锁闭框、锁闭杆、锁钩和尖轨连接铁等组件构成,它的工作原理是:转辙机输出的力矩通过动作杆传递给锁闭杆,锁闭杆带动锁钩,锁钩通过尖轨连接铁电动尖轨运动。
道岔转换工作工程分为三个步骤:解锁、转换和锁闭。
2、ZD(J)9道岔转辙设备的维护检修目前,成都地铁管内ZD(J)9道岔转辙设备基本实行计划修和状态修两种方式,一般检修周期为三个月,设定为季检、年检,根据道岔日常动作的次数和动作状态,部分道岔实行月检或半月检,具体检修周期为:①每月动作1000次以下的道岔检修周期为季检/年;②每月动作1000-5000的道岔检修周期为月检/季/年;③每月动作5000次以上的道岔检修周期为半月检/季检/年检;④折返站道岔在以上周期基础上提升一档进行检修。
ZD(J)9系列电动转辙机使用、维护、保养操作规程1、概述ZD(J)9系列电动转辙机可用来转换各种铁路道岔的尖轨、心轨和道岔的外锁闭装置。
ZD(J)9系列电动转辙机能满足以下要求:*有速动开关检测尖轨或心轨的终端位置;*转换道岔;*有保持道岔尖轨和心轨在密贴位置的锁闭装置;*道岔在挤岔后有切断表示的功能。
转辙机采用滚珠丝杠减速,具有高效率特点。
电机采用三相交流380V电源,因此电缆单芯控制距离长,交流电机比直流电机故障少。
接点系统采用我厂最新研制的静接点组和动接点组。
伸出杆件用镀铬防锈,伸出处用聚乙烯堵孔圈和油毛毡防尘圈支承和防尘。
转动和滑动面均用SF2复合材料衬套和衬垫,因此转辙机的维护工作量小。
停电或维护中需要手动转换时,可以转动手动开关轴,切断安全开关的接点手插入手摇把,就可以手动转换辙机。
为了满足用户在大修改造中节省投资,派生有ZD9型直流系列电动转辙机。
2、产品结构和动作原理转辙机由底壳、热涂锌的盖、电机减速器、摩擦连接器、滚珠丝杠副、动作杆、左右锁闭杆(表示杆)、接点组、安全开关组、挤脱器和接线端子等组成。
转辙机的动作原理。
电机上装有减速器,电机的驱动力矩经减速器减速后传动摩擦连接器,摩擦连接器内两面烧结有铜基摩擦材料的内摩擦片通过花键传动滚珠丝杠副的滚珠丝杠,将旋转运动转换成为滚珠丝杠母的直线运动。
在滚珠丝杠母外套有推板套,推动动作杆上的锁块,在锁闭铁的作用下,形成了转辙机的解锁、转换和锁闭动程。
ZD(J)9 和ZD(J)9-B、D型的锁闭铁是通过挤脱器固定在底壳上,挤脱力为28KN±2KN。
ZD (J)9-A、C型的锁闭铁则直接固定在底壳上。
ZD(J)9-A和B型机是用于两点牵引尖轨分动外锁闭装置的道岔。
ZD(J)9-C和D型机是用于两点牵引尖轨联动的道岔。
在推板套上固定有动作板,动作板与动接点轴、起动片、速动片和弹簧的相互动作关系。
ZD(J)9-A和B型机左右锁闭杆分别与两根尖轨相连,当一根锁闭杆通过锁闭柱将尖轨锁在机内时,在斥离尖轨上固定的另一根锁闭杆则成为挤岔表示杆。
ZDJ9道岔电路及故障处理摘要:众所周知,ZDJ9道岔在我国高速铁路得到广泛的运用,它的性能直接影响行车安全和运输效率。
ZDJ9道岔转辙设备是目前国内高铁使用较多的一种提速道岔转辙设备类型,它采用外锁闭装置,具有承载通过力强、使用寿命长、安全可靠等特点。
该文结合现场设备运用及维护经验,主要对ZDJ9道岔的启动电路和表示电路的工作原理进行了详细分析,利用了电路电压和电流的规律,总结了处理ZDJ9道岔电路电路故障的方法,阐述了ZDJ9道岔电路的故障处理的思路和方向。
关键词:ZDJ9启动电路表示电路故障处理为了使 ZDJ9 道岔设备能够在地铁上安全、可靠使用,本文通过分析ZDJ9的启动电路和表示电路的工作原理,从微机监测系统入手来快速地指导故障处理,从而缩短了维修时间,提高了维修水平和维修效率。
微机监测系统功能中的道岔监测功能,能直接测量出电动转辙机的启动电流、工作电流、故障电流和动作时间,并以此描绘出道岔动作电流曲线。
通过对曲线的分析即可判断道岔转辙的电气特性、时间特性和机械特性,从中找出规律,加以分析研究为将来道岔维护及故障处理提供相应的科学依据,能更好的帮助信号工作人员迅速发现故障点,并快速处理,快速地指导故障处理,压缩故障延时,以确保高速铁路的安全、可靠运营。
1 ZDJ9道岔电路原理ZDJ9道岔电路制式采用五线制,其各线作用如下:X1线:定反位动作、表示公用线;X2线:反位至定位动作及定位表示线;X3线:定位至反位动作及反位表示线;X4线:定位至反位动作及定位表示线;X5线:反位至定位动作及反位表示线。
转辙机采用三相交流电源供电电压为380V。
以定位第一、三排接点闭合,道岔由定位向反位动作为例,当室内1DQJ、1DQJF吸起2DQJ转极后构成三相交流电动机电路。
A、B、C三相动作电源经RD1-RD3进入保护器DBQ及1DQJ、1DQJF、2DQJ接点由X1、X3、X4线向室外送电电机开始转动,转辙机第三排接点断开,切断定位表示电路,接通第四排接点,其电路分别是:A相→室内继电器及接点→X1→A绕组;B相→室内继电器及接点→X4→接点11-12→C绕组;C相→室内继电器及接点→X3→接点13-14→遮断开关→B绕组;当三相交流电源正常供电电动机定子绕组中三相电流流过电流互感器工作在磁饱和状态,二次侧感应电流中的三次谐波经桥式整流后输出直流电BHJ由于得到直流电而吸起,1DQJ吸起,电机开始转动。
试析ZDJ9道岔电路及故障处理发表时间:2019-02-23T10:35:05.947Z 来源:《防护工程》2018年第33期作者:刘超[导读] ZDJ9道岔是城市轨道交通重要组成部分,转辙机是转换、锁闭、接通道岔表示的核心。
成都地铁运营有限公司四川成都 610000摘要:ZDJ9道岔广泛应用于轨道交通中,为了使ZDJ9道岔设备能够更加成熟稳定地在轨道交通中安全、可靠使用,本文从分析ZDJ9的启动电路和表示电路的工作原理入手,研究如何利用电路电压、电流的规律,快速地指导故障处理,压缩故障延时,以确保城市轨道交通线路的安全、可靠运营。
关键词:ZDJ9道岔;电路;故障处理1、ZDJ9概述ZDJ9道岔是城市轨道交通重要组成部分,转辙机是转换、锁闭、接通道岔表示的核心,转辙机是指用以可靠地转换道岔位置,改变道岔开通方向,锁闭道岔尖轨,反映道岔位置的重要的信号基础设备,它可以很好地保证行车安全,提高运输效率,改善行车人员的劳动强度。
转辙机作为信号系统的重要组成部分,有着转换道岔、锁闭道岔、接通表示的功能。
在道岔故障发生时,快速地处理故障,才能保障轨道交通的安全、正点。
在轨道交通中,ZDJ9型转辙机是国内自行研制,具有独立的知识产权的产品,其具有性能优、效率高、转换力大、安装、维修方便、价格适中等优点,在轨道交通中运用广泛。
2、ZDJ9道岔启动电路工作原理ZDJ9道岔电路制式采用五线制,其各线作用如下:X1线:定反位动作、表示公用线;X2线:反位至定位动作及定位表示线;X3线:定位至反位动作及反位表示线;X4线:定位至反位动作及定位表示线;X5线:反位至定位动作及反位表示线。
以定位第一、三排接点闭合,道岔由定位向反位动作为例,启动电路分析如下:采用分级控制方式控制道岔转换,动作顺序为1DQJ励磁→1DQJF吸起→2DQJ转极→BHJ吸起(ZBHJ、QDJ)→1DQJ1-2自闭。
(1)1DQJ励磁吸起电路为:KZ→SJ11-12→DGJ31-32→1DQJ3-4线圈励磁→2DQJ141-142→FCJ11-12→KF。