icu护理工作流程图修订版
- 格式:docx
- 大小:50.11 KB
- 文档页数:30
预防压疮护理流程 (2)血管活性药物使用流程 (4)入出MRSA病人隔离房程序 (5)特殊感染病人被服处理流程 (7)约束带使用操作流程 (8)口服给药操作流程 (12)白班工作流程 (14)夜班工作流程 (16)轴线翻身操作流程 (18)咽拭子标本采集操作流程 (20)病房接手术患者流程 (22)病人身份识别流程 (23)抢救医嘱执行流程 (25)患者安全转运 (26)ICU接病人流程 (28)ICU更换液体流程 (28)页脚内容1页脚内容2预防压疮护理流程操作者准备着装规范,洗手用物准备:中单、清洁衣裤、换药碗、止血钳、敷料环境准备:室温适宜,遮挡患者,松盖被透明贴或者减压贴保护;炎症浸润期:保持压疮创面清洁,可用0.5%碘伏消毒;有水泡者:先用0.5%碘伏消毒后用无菌注射器抽出水泡内的液体然后用敷料包扎。
溃疡期:定时换药,清除坏死组织,促进创面愈合告知患者及家属皮肤评估的结果,讲解预防压疮的意义和方法及配合的要求帮助患者、家属选择适当的预防措施指导功能障碍患者者尽早开始功能锻炼指导患者饮食、加强营养,增加皮肤抵抗力和创面愈合能力教会患者及家属预防压疮的措施感觉障碍者慎用热水袋或冰袋整理床单位整理用物、分类放置洗手记录血管活性药物使用流程页脚内容5入出MRSA 病人隔离房程序入 出页脚内容6特殊感染病人被服处理流程(隔离衣处理参照此流程)操作者着装:戴手套、标准外科口罩、圆帽及隔离衣。
页脚内容7页脚内容8注:此流程只适于非传染病区约束带使用操作流程评估:患者病情、意识状态、、页脚内容9 肢体活动度;约束部位皮肤色泽、温度及完整性;需要使用保护具的种类和时间用物准备:全身约束法:凡能包裹患儿全身的物品皆可使用,如大毛巾、毛毯、大单等肢体、肩部约束法:约束工具(约束带或约束背心、约束衣)、保护垫棉垫等)病人准备:核对患者,将患者肢体摆放于功能位,告知病人及家属。
征得病人或家属的同意(必要时签同意书)肢体约束法:暴露患者腕部或者踝部;用棉垫包裹腕部或者踝部;将约束带打成双套结套在棉垫外,稍拉紧,使之不松脱;将约束带系于两侧床缘;为患者盖好被整理床单位及用物肩部约束带:暴露患者双肩;将患者双侧腋下垫棉垫;将约束带置于患者双肩下。
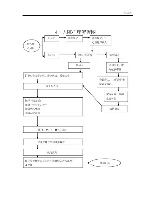
4、入院护理流程图危重病人转运(检查)流程图五、药物不良反应处理流程图注:药物不良反应是指使用药物后出现的各种治疗不需要的甚至有害的反应,包括药物副作用,继发作用、毒性作用、不耐受(亦称首剂效应)、撤药反应、变态反应、特异质反应和致畸形。
六、药物过敏反应急救流程图门诊病人病情稳 定转急诊室继续 治疗七、紧急封存病人病历应急预案流程图药物治疗:肾上腺素、地塞米松、氨茶碱等。
心跳停止给予胸外心脏按压,电除颤发m或呼吸困难应给氧气吸入。
呼吸停止于面罩加压给氧精品文档八、留置鼻胃管操作流程图注意事项:1•留置鼻胃管前先了解患者有无鼻咽、食道、胃部等疾病或手术史,有无食道胃底静脉曲张,颅底骨折史。
2•插管过程中注意观察生命体征,如出现咳嗽、呼吸困难、发绀等现象,表明胃管插入气管,应立即拔出,休息后再重插。
3•反复插管失败的患者,为避免反复插管导致喉头水肿,勿强行再插,应间隔4h并建议在喉镜下插管,插管前医师根据情况与病人家属谈话并签名。
4•脑出血、脑干损伤等颅内高压患者,务必注意动作轻柔,慎用将头部抬高至下颌骨靠近胸骨柄的方法,如搬动不当或受到剧烈震动,可能造成再出血。
5•聚氨酯鼻胃管的最长使用时间为42天。
九、管饲操作流程图评估1•确认饲管在胃内或小肠内(看刻度、回抽胃液或肠液或气过水声)2•评估患者能否进行灌注:①胃内残余液大于100ml停止灌注1小时,再次抽吸仍大于100ml,须医生查找原因。
②评估患者有无腹胀、腹泻、恶心呕吐,如有上述症状,暂停管饲与医生联系③如有出血者,应停止灌注并与医生联系灌注前准备:根据病情取半坐卧位或抬高床头30~35注入少量温水(约20ml),并能吸出相应量1•每次鼻饲量不应超过200ml,间隔时间不少于2h2•温度38~40 C左右,不可过冷过热3•药片应研碎,溶解后灌入注意事项:1•持续输注患者:①前两次务必用注射器灌注。
②每班用温水冲洗胃管一次并抽吸胃腔残留量,如果潴留量<150ml,可维持原速度,如果潴留量w 100ml可原有输注速度上增加20ml/h,如果潴留量》150ml,暂停或降低输注速度。
危重病人护理工作流程图。
危重病人护理工作流程图一、惊厥护理流程图评价:突然失去意识;头向后倾斜或转向一侧,眼球向上倾斜或转向一侧,四肢僵硬;尖叫、呼吸暂停、发绀、瞳孔放大或失禁。
初步判断应立即通知医生进行抽搐的紧急治疗:1、病人会躺下,头偏向一边,并解开按钮;2、正确使用压舌板,防止舌头、脸颊被咬;3.保持呼吸道通畅并供氧;4、专家救援;5.护栏保护。
确认有效订单并执行它们:1、正确使用镇静剂;2.找出原因,积极治疗原发病;3、纠正代谢紊乱和水电解质紊乱。
监控:1.生命体征和意识水平;2.发作频率和伴随症状;3.感觉和知觉;4.血液电解质。
5.瞳孔大小和对光的反应。
二、高热护理流程图评价:t≥39℃;皮肤潮红,滚烫;心率增加;呼吸加强并加快。
初步判断立即通知医生进行高烧急救:1.物理冷却:冰敷、冰袋、冰帽、冰槽、冰毯、酒精擦洗浴、温水擦洗浴;2.心理安慰。
确认有效订单并执行它们:1、药物冷却:非甾体抗炎药、中药疗法、抗精神病药物疗法、糖皮质激素;2.增加液体摄入量:多喝开水,2500毫升/天,高热量,易消化液体,静脉输液;3、必要时,抽取血样。
监控:1.冷却效果;2.生命体征和意识水平;3.伴随症状和发热类型;4.皮肤状况;5.营养状况;6.进出的液体量。
三、过敏性休克护理流程图评价:u接触药物、食物或物品后;突发胸闷、气短、面色苍白或发绀、嗜睡、四肢冰冷潮湿、意识丧失、脉搏细速等初步判断,立即通知医生进行过敏性休克急救处理:1、切断过敏原,如药物过敏应立即停止,更换输液器,保留静脉通路;2、平卧或低半卧姿势;3.保暖;4.心电图监测;5.心理安慰。
确认有效订单并执行它们:1、皮下注射肾上腺素0.5毫克;氧气吸入;3.抗过敏药物,如激素、异丙嗪、葡萄糖酸钙等。
4、呼吸兴奋剂的应用;5.血管活性药物的应用;6、应用药物纠正酸中毒。
监控:1.意识;2.呼吸;3.血压、脉搏、心率、心律和心电图;4.尿量;5、皮肤黏膜出血、出汗、皮疹。
预防压疮护理流程 (2)血管活性药物使用流程 (3)入出MRSA病人隔离房程序 (4)特殊感染病人被服处理流程 (5)约束带使用操作流程 (6)口服给药操作流程 (8)白班工作流程 (9)夜班工作流程 (10)轴线翻身操作流程 (11)咽拭子标本采集操作流程 (12)病房接手术患者流程 (13)病人身份识别流程 (14)抢救医嘱执行流程 (15)患者安全转运 (16)ICU接病人流程 (17)ICU更换液体流程 (17)预防压疮护理流程操作者准备着装规范,洗手评估:使用压疮危险因素评估表用物准备:中单、清洁衣裤、换药碗、止血钳、敷料环境准备:室温适宜,遮挡患者,松盖被皮肤营养状况:皮肤弹性、颜色、温度、感觉受压皮肤状况:潮湿、压红、压红消退时间、水泡、破溃、感染压疮判断:淤血红润期、炎症浸润期、溃疡期(浅度溃疡期、坏死溃疡期)皮肤保护:温水擦洗皮肤,使皮肤清洁无汗液;肛周涂达克宁散,防止大小便刺激淤血红润期:防止局部继续受压,使用气垫床等,有条件者局部皮肤用透明贴或者减压贴保护;炎症浸润期:保持压疮创面清洁,可用0.5%碘伏消毒;有水泡者:先用0.5%碘伏消毒后用无菌注射器抽出水泡内的液体然后用敷料包扎。
溃疡期:定时换药,清除坏死组织,促进创面愈合告知患者及家属皮肤评估的结果,讲解预防压疮的意义和方法及配合的要求帮助患者、家属选择适当的预防措施指导功能障碍患者者尽早开始功能锻炼指导患者饮食、加强营养,增加皮肤抵抗力和创面愈合能力教会患者及家属预防压疮的措施感觉障碍者慎用热水袋或冰袋整理床单位整理用物、分类放置洗手记录血管活性药物使用流程入出MRSA病人隔离房程序入出特殊感染病人被服处理流程(隔离衣处理参照此流程)操作者着装:戴手套、标准外科口罩、圆帽及隔离衣。
注:此流程只适于非传染病区约束带使用操作流程操作者准备着装规范、洗手评估:患者病情、意识状态、、肢体活动度;约束部位皮肤色泽、温度及完整性;需要使用保护具的种类和时间用物准备:全身约束法:凡能包裹患儿全身的物品皆可使用,如大毛巾、毛毯、大单等肢体、肩部约束法:约束工具(约束带或约束背心、约束衣)、保护垫(棉垫等)病人准备:核对患者,将患者肢体摆放于功能位,告知病人及家属。
ICU护理工作流程目录一、护理操作规服务流程 (1)二、ICU与其他科患者交接管理流程 (2)三、ICU接收患者前准备工作流程 (3)四、患者入院护士规服务工作流程 (4)五、ICU患者出院护士规服务工作流程 (5)六、接收手术病人的工作流程 (6)七、ICU患者院CT检查流程 (7)八、痰培养标本采集、送检流程 (9)九、进修、实习护士入科流程 (10)十、气管插管护理配合流程 (11)十一、深静脉穿刺置管术的护理配合流程 (12)十二、ICU动脉有创测压操作流程 (13)十三、ICU更换液体流程 (14)十四、单人徒手心肺复苏步骤、方法及注意要点 (15)十五、注射泵的使用流程 (17)十六、输液泵的操作流程 (18)十七、转运呼吸机的使用流程 (20)十八、德尔格及迈柯维呼吸机操作流程 (21)十九、PB840呼吸机操作流程 (23)二十、电动吸引器的使用流程 (25)二十一、心电监护仪使用流程 (26)二十二、心电图机的使用流程 (27)二十三、除颤仪的使用流程 (28)二十四、多功能血气分析仪的操作流程 (30)二十五、亚低温治疗仪的操作流程 (32)二十六、简易呼吸器操作流程 (33)二十七、肠营养泵的操作流程 (35)二十八、急诊科病人转入ICU流程图 (37)二十九、科病人转入ICU流程图 (39)三十、病人转出ICU流程图 (41)三十一、配合改经口(鼻)气管插管为气管切开的护理流程 (43)一、护理操作规服务流程1、了解患者情况,评估病情。
2、根据医嘱、病情,操作项目要求准备好药物。
3、携用物至床前,严格执行“三查七对”制度。
4、向患者解释操作目的、简要方法、注意事项。
5、注意观察患者的反应,询问患者感受,给予患者安慰和鼓励。
6、严格执行各项操作规程及无菌原则。
7、再次核对,询问病人总体感受,交代注意事项。
8、整理好用物,谢谢患者配合。
9、严密观察治疗操作后患者的反应及感受,并做好护理记录。
危重病人护理工作流程图一、抽搐的护理流程图评估:突然意识丧失;头后仰或转向一侧,眼球向上或转向一侧,四肢强直;出现尖叫、呼吸暂停、面色发绀、瞳孔散大,或伴大小便失禁。
初步判断抽搐立即通知医生紧急处理:1、将病人平卧、头偏向一侧,并解开衣扣;2、正确使用压舌板,防舌、颊咬伤;3、保持呼吸道通畅,给氧;4、专人救护;5、护栏保护。
确认有效医嘱并执行:1、正确使用镇静剂;2、查找原因,积极治疗原发病;3、纠正代谢障碍和水、电解质紊乱。
监测:1、生命体征及意识水平;2、发作频率及伴随症状;3、感、知觉;4、血电解质;5、瞳孔大小及对光反应。
.二、高热的护理流程图评估:T≥39℃;皮肤潮红、灼热;心率加快;呼吸加强、加快。
初步判断高热立即通知医生紧急处理:1、物理降温:冰敷、冰袋、冰帽、冰槽、冰毯,酒精擦浴,温水擦浴;2、心理安慰。
确认有效医嘱并执行:1、药物降温:非甾体抗炎药,中药治疗,对因治疗,糖皮质激素;2、增加液体摄入:多饮开水,>2500ml/d,高热量、易消化流质,静脉补液;3、必要时留取血标本。
监测:1、降温效果;2、生命体征及意识水平;3、伴随症状及热型;4、皮肤状况;5、营养状况;6、液体出入量。
评估:接触药品、食品或物品后;突然胸闷、气促、面色苍白或发绀、嗜睡、肢体湿冷、意识丧失、脉搏细速初步判断过敏性休克立即通知医生紧急处理:1、切断过敏原,如药物过敏应立即停药,更换输液器,保留静脉通路;2、平卧或低半卧位;3、保暖;4、心电监护;5、心理安慰。
确认有效医嘱并执行:1、肾上腺素0.5mg皮下注射;2吸氧;3、抗过敏药如激素、异丙嗪、葡萄糖酸钙等;4、应用呼吸兴奋剂;5、应用血管活性药;6、应用纠正酸中毒药物。
监测:1、意识;2、呼吸;3、血压、脉搏、心率,心律及心电图;4、尿量;5、皮肤粘膜出血、出汗、皮疹。
保持舒适:1、保持病室安静,空气清洁;2、口腔和皮肤护理;3、保持营养供给;4、提供心理支持;5、告之过敏原,并在住院、门诊病历上作出标志。
静脉留置针技术操作流程注意事项:1、严格无菌技术操作和查对制度2、使用时观察留置针通畅情况及穿刺点有无渗血3、透明贴三天更换一次如有污染随时更换双人心肺复苏操作流程心肺复苏操作流程鼻饲技术操作流程【注意事项】1、测血糖前,确认血糖仪上的号码与试纸号码一致。
2、确认患者手指乙醇干透后实施采血。
3、滴血量应使试纸测试区完全变成红色。
4、避免试纸发生污染。
静脉血标本技术操作流程【注意事项】1、抽血清标本须用干燥注射器、针头和干燥试管。
2、采全血标本时,需注意抗凝,血液注入容器后,立即轻轻旋转摇动试管8~10次,使血液和抗凝剂混匀,避免血液凝固,从而影响检查结果。
3、采集血培养标本时,应防污染。
除严格执行无菌操作外,抽血前应检查培养基是否符合要求,瓶塞是否干燥,培养液不宜太少。
4、若同时需抽取不同种类的血标本,应先注入血培养瓶,再注入抗凝管,最后注入干燥试管,动作应迅速准确。
5、严禁在输液、输血的针头或血管处抽取血标本,最好在对侧肢体采集。
6、采集血标本后,应将注射器活塞略向后抽,以免血液凝固使注射器粘连和针头阻塞。
动脉血标本采集技术操作流程会阴护理操作流程叩背及有效咳痰操作流程气管切开伤口换药技术流程中心静脉置管换药法流程气管插管吸痰流程注意事项:1、操作过程中注意无菌操作,注意吸痰顺序,吸过口鼻腔的吸痰管不可再吸气管插管。
2、吸痰的同时要观察患者生命体征变化、面色、呼吸情况。
3、观察记录痰液的色、量、质。
呼吸机管道更换流程注意事项:1、操作过程无污染管道、动作敏捷、安装管道正确,观察病情及时。
2、换管道过程中观察病人生命体征变化以及呼吸机参数、插管深度。
中心静脉压监测流程注意事项:1、体位改变时应重新调整零点(肥胖者平腋中线,瘦弱者平腋前线),保持压管零点与右心房在同一水平线上。
2、测压时,应尽量安排测压管中气泡,防止气体进入静脉内造成气栓及影响测得值。
保持测压管通畅,防止血凝块堵塞静脉。
3、应在患者平静状态下进行测量,机械通气治疗病情许可时应暂时停用PEEP,患者咳嗽、腹胀、烦躁时、经处理,待安静后10—15分钟再进行测量4、测压时观察测压管内液面是否随患者呼吸上下波动,若无波动或液面过低,可能为静脉导管堵塞、受压或导管尖端紧贴血管壁或管道漏液等原因所致,应及时处理。
ICU护理工作流程目录一、护理操作规范服务流程 (1)二、ICU与其他科患者交接管理流程 (2)三、ICU接收患者前准备工作流程 (3)四、患者入院护士规范服务工作流程 (4)五、ICU患者出院护士规范服务工作流程 (5)六、接收手术病人的工作流程 (6)七、ICU患者院内CT检查流程 (7)八、痰培养标本采集、送检流程 (8)九、进修、实习护士入科流程 (9)十、气管插管护理配合流程 (10)十一、深静脉穿刺置管术的护理配合流程 (11)十二、ICU动脉有创测压操作流程 (12)十三、ICU更换液体流程 (13)十四、单人徒手心肺复苏步骤、方法及注意要点 (14)十五、注射泵的使用流程 (16)十六、输液泵的操作流程 (17)十七、转运呼吸机的使用流程 (18)十八、德尔格及迈柯维呼吸机操作流程 (19)十九、PB840呼吸机操作流程 (20)二十、电动吸引器的使用流程 (21)二十一、心电监护仪使用流程 (22)二十二、心电图机的使用流程 (23)二十三、除颤仪的使用流程 (24)二十四、多功能血气分析仪的操作流程 (25)二十五、亚低温治疗仪的操作流程 (26)二十六、简易呼吸器操作流程 (27)二十七、肠内营养泵的操作流程 (28)二十八、急诊科病人转入ICU流程图 (29)二十九、内科病人转入ICU流程图 (30)三十、病人转出ICU流程图 (31)三十一、配合改经口(鼻)气管插管为气管切开的护理流程 (32)一、护理操作规范服务流程1、了解患者情况,评估病情。
2、根据医嘱、病情,操作项目要求准备好药物。
3、携用物至床前,严格执行“三查七对”制度。
4、向患者解释操作目的、简要方法、注意事项。
5、注意观察患者的反应,询问患者感受,给予患者安慰和鼓励。
6、严格执行各项操作规程及无菌原则。
7、再次核对,询问病人总体感受,交代注意事项。
8、整理好用物,谢谢患者配合。
9、严密观察治疗操作后患者的反应及感受,并做好护理记录。
主班工作流程1、7:30前到科室,衣帽整齐。
2、查看病人数,新入、转入患者填写住院患者登记本,填写电子日志。
3、经双人核对无误后安放床尾卡及腕带,安放主管医师姓名卡。
4、核实是否医保或农合患者,农合患者及时进行登记除沧州市运河区、新华区、沧县外均需办理转诊证明程序为病人携带以下材料:主管医师开具诊断证明、病人所在居委会或村委会开证明、病人户口页及身份证复印件,三日内到当地农合中心办理转诊证明。
科室收取病人身份证复印件留存病例。
医保病人科室负责留存医保证保管5、检查冰箱内特殊药品数量是否无误,和值班人员进行核对6、检查抢救车是否处于封存状态,如已经使用,及时进行药品补充,补充后经双人核对无误后进行封存。
7、抄写重症记录体温8、绘制体温单9、统计一次性物品使用登记表,核实医嘱无误后进行准确计费10、患者余额不足者填写费用催缴单,同时通知主管医师督促家属及时缴费,11、打印输液条,打印一日清单,上午转科者转科前发放一日清单。
12、下午2:30前到科室,衣帽整齐13、去住院药房取药14、同各床分管护士进行医嘱查对(每周二进行大查对)15、医嘱核对无误后摆药16、探视时间再次查对患者费用,打印一日清单(当日转科者,通知家属及时领取清单)17、发放一日清单,如有欠费患者,督促家属及时缴费。
18、检查治疗室物品,补充备用液体及药物总务班兼仪器消毒班工作流程1、7:30前到科室,衣帽整齐2、整理换药室物品,待消毒物品整理后放于治疗车,同供应室人员交接物品3、参加科室交接班,了解患者是否转科或出院4、核对转科患者费用、病历书写,核对无误后通知主管医师及分管护士送患者转科5、转科出院患者进行床单位及配套设施终末消毒,督促保洁员进行床单位及吊塔擦拭,进行监护仪及呼吸机消毒整理备用,准备备用床单位。
6、清点所有仪器并检查呼吸机、监护仪是否处于备用状态,清洁仪器,保持仪器表面洁净、无尘7、对故障仪器联系器械维修及时送修并进行登记交接。
i c u护理工作流程图修
订版
IBMT standardization office【IBMT5AB-IBMT08-IBMT2C-ZZT18】
预防压疮护理流程 (1)
血管活性药物使用流程 (2)
入出MRSA病人隔离房程序 (3)
特殊感染病人被服处理流程 (4)
约束带使用操作流程 (6)
口服给药操作流程 (8)
白班工作流程 (9)
夜班工作流程 (10)
轴线翻身操作流程 (11)
咽拭子标本采集操作流程 (12)
病房接手术患者流程 (13)
病人身份识别流程 (14)
抢救医嘱执行流程 (15)
患者安全转运 (16)
ICU接病人流程 (17)
ICU更换液体流程 (17)
预防压疮护理流程
操作者准备着装规范,洗手
评估:使用压疮危险因素评估表
用物准备:中单、清洁衣裤、换药碗、止血钳、敷料环境准备:室温适宜,遮挡患者,松盖被
皮肤营养状况:皮肤弹性、颜色、温度、感觉
受压皮肤状况:潮湿、压红、压红消退时间、水
泡、破溃、感染
压疮判断:淤血红润期、炎症浸润期、溃疡期(浅
度溃疡期、坏死溃疡期)
皮肤保护:温水擦洗皮肤,使皮肤清洁无汗液;肛
周涂达克宁散,防止大小便刺激
淤血红润期:防止局部继续受压,使用气垫床等,
有条件者局部皮肤用透明贴或者减压
贴保护;
炎症浸润期:保持压疮创面清洁,可用
0.5%碘伏消
毒;有水泡者:先用0.5%碘伏消毒后
用无菌注射器抽出水泡内的液体然后
用敷料包扎。
溃疡期:定时换药,清除坏死组织,促进创面愈合告知患者及家属皮肤评估的结果,讲解预防压疮的意义和方法及配合的要求
帮助患者、家属选择适当的预防措施
指导功能障碍患者者尽早开始功能锻炼
指导患者饮食、加强营养,增加皮肤抵抗力和创面愈合能力
教会患者及家属预防压疮的措施
感觉障碍者慎用热水袋或冰袋
整理床单位
整理用物、分类放置
洗手
记录
血管活性药物使用流程
入出MRSA 病人隔离房程序
入 出
特殊感染病人被服处理流程
(隔离衣处理参照此流程)操作者着装:戴手套、标准外科口罩、圆帽及隔离衣。
注:此流程只适于非传染病区
约束带使用操作流程
操作者准备着装规范、洗手
评估:患者病情、意识状态、、肢体活动度;约束部
位皮肤色泽、温度及完整性;需要使用保护具的种类和时间
用物准备:全身约束法:凡能包裹患儿全身的物品皆
可使用,如大毛巾、毛毯、大单等
肢体、肩部约束法:约束工具(约束带或约束
背心、约束衣)、保护垫(棉垫等)
病人准备:核对患者,将患者肢体摆放于功能位,告
知病人及家属。
征得病人或家属的同意(必要时签同意书)
携带用物至床旁
肢体约束法:暴露患者腕部或者踝部;用棉垫包裹腕
部或者踝部;将约束带打成双套结套在棉垫外,稍拉紧,使之不松脱;将约束带系于两侧床缘;为患者盖好被整理床单位及用物
肩部约束带:暴露患者双肩;将患者双侧腋下垫棉垫;将约束带置于患者双肩下。
双侧分别穿过患者腋下,在背部交叉后分别固定于床头;为患者盖好被整理床单位及用物
全身约束法:多用于患儿的约束。
将大单折成自患儿肩部至踝部的长度,将患儿放于中间;用靠近护士一侧的大单紧紧包裹同侧患儿的手足至对侧,自患儿腋窝下腋于身下,再将大单的另一侧包裹手臂及身体后,靠护士一侧身下;如患儿过分活动,可用绷带系好
观察约束效果
观察约束部位皮肤完整性及血液循环情况
观察患者的呼吸和面色
询问患者的感受
记录约束原因、方法和部位,起止、松解和间隔时间记录患者全身和约束部位皮肤情况
记录约束相关并发症的处理措施及效果
口服给药操作流程
操作者准备:着装规范、洗手
评估:患者病情、口咽部情况、合作程度、
进食能力、药物过敏史、药物相关知
识的知晓程度
物品准备:药盘、服药执行单、药杯、服药药匙、研钵
核对执行单:姓名、床号、药名、剂量、浓度、时
间、用法、药品质量
药物有效期
按医嘱时间,携带服药执行单、药物到病床,
再次
核对无误后给药
协助患者服药,说明注意事项
再次插队患者姓名、床号、服药执行单
如患者对服药提出疑问,应及时重新核查
整理:及时清洁发药盘
洗手
在服药执行单上签名
观察用药后的效果及不良反应:如有异常,及时与
医生联系
及时处理并记录
白班工作流程
07:30接班,提前15分钟到科室。
阅读护理记录,交接物
品。
组长班:清点毒麻药、第一类精神药品、抢救车、急救
箱、病人订餐卡。
监护班:检查夜班的长期和临时医嘱、检验医嘱的执行情
况。
晨会:有重要事情讨论或传达文件要组织晨会。
总交接班:由夜班组长汇报病人动态后,按床号顺序交班:床号、姓名、生命体征、病情变化等。
检查病人:皮肤情况、用药情况及各种管道置管深度,是否通畅。
检查物品:床边用物品是否齐全及是否在有效期内,床单位整洁。
治疗:执行本班内的长期、临时医嘱。
护理:完成病人口腔护理、会阴冲洗、皮肤护理、床上浴转运:负责护送病人检查、转科、出院,准备麻醉床。
接
收新病人,对病人进行入院宣教,对家属说明探视
制度。
观察病情:床边观察病人,准确测量记录生命体征、神志、出入量情况,发现异常立即告知医生,及时处
理。
记录:按书写要求完成护理记录单及体温单。
探视前:整理床单位,做好患者卫生管理,暂停护理操
作。
如抢救或医疗操作时,暂停接待。
探视时:站在床头,耐心解答家属提出的护理问题,医疗
问题请管床医生接待。
交班前检查本班长期和临时医嘱、检验医嘱的执行情况。
组长做好各种登记。
处理好用过的物品,为接班者作好用物准备,详细交班。
夜班工作流程
19:00接班,提前20分钟到科室
,阅读护理记录,交接物
品。
组长班:清点毒麻药、第一类精神药品、抢救车、急救箱、病人订餐卡。
监护班:检查白班的长期和临时医嘱、检验医嘱的执行情
况。
分组接班:熟悉病人情况(十知道),做到七不接。
检查病人:皮肤情况及各种管道置管深度,是否通畅。
检查物品:床边用物品是否齐全及是否在有效期内。
治疗:执行本班内的长期、临时医嘱和检验医嘱。
护理:完成口腔护理、会阴冲洗、皮肤护理、床上浴等转运:负责护送病人检查、转科、出院,准备麻醉床。
接收新病人,对病人进行入院宣教,对家属说明探视
制度。
观察病情:床边观察病人,准确测量记录生命体征、脑科观察、出入量情况,发现异常立即告知医生,及时
处理。
记录:按书写要求完成护理记录单及体温单。
交班前检查本班长期和临时医嘱、检验医嘱的执行情况。
处理好用过的物品,为接班者作好用物准备,详细交班。
轴线翻身操作流程
操作者准备
:着装规范,洗手。
评估:患者病情、意识状态、肢体活动、损伤部位、体
重、伤口情况、解释、问二便。
用物准备:中单、枕头、颅骨牵引者备薄枕。
环境准备:室温适宜,遮挡患者,固定病床。
核对患者,放低床栏,松开被尾,协助患者去枕仰卧,双手
放在腹部,置中单于患者身下。
两名操作者分别站在患者两侧,抓住靠近患者肩、腰背、髋
部处中单,平移患者至床旁。
将患者靠近第一操作者侧的手置于头侧,对侧于腹部,近侧
下肢伸直,对侧下肢屈曲。
第一操作者抓住患者肩、髋处中单的远侧,
第二操作者手置于患者背、臀部。
第一操作者指挥,两人动作一致,将患者头、颈、肩、腰、髋保持在同一水平上,翻转至侧卧位。
观察引流管、伤口敷料、背部皮肤情况。
将一软枕放于患者背部支持身体,另一软枕放于两膝之间并使双膝呈自然弯曲状,截瘫患者用小枕垫好内外踝。
整理床单位。
洗手、记录咽拭子标本采集操作流程
操作者准备:着装规范、洗手、戴口罩
评估:患者病情、意识、合作程度、心理反应、解释、问二
便
用物准备:无菌咽拭子培养管、酒精灯、火柴、压舌板、手
套、手电筒、检验标签、标本筐
查对医嘱:住院号、床号、姓名、流水号、检查项目 取舒适体位,解释取咽拭子的目的、方法和配合注意事项
点燃酒精灯、戴手套
检查口咽部粘膜情况
用培养管内的无菌长棉签擦试腭弓两侧和咽、扁桃体上的分
泌物
在酒精灯火焰上消毒试管口
棉签插入试管后,在火焰上消毒试管口及塞子、塞紧
查对、贴标签
整理床单位
协助病人取舒适体位
整理用物、分类处理
洗手
记录电脑知晓医嘱
签名
及时送检
病房接手术患者流程
协助过床
测生命体征、意识、吸氧
检查伤口、管道、皮肤情况等
检查带回物品(药物、影像资料、其它物品等)
病人身份识别流程
抢救医嘱执行流程
药物名称、药物浓度、使用剂量、用法、用药时间
患者安全转运
认真核对患者床
号、姓名、住院
号、检查项目及
部位
除颤仪监护,视病情吸氧或鹰牌呼吸肌,固定好各种管道,检查抢救箱,填写危
重患者转运护理单
密切观察病情及管道,避免管道脱出
ICU 接病人流程
ICU 更换液体流程。