商业银行组织架构与分行支行组织架构2015年
- 格式:pptx
- 大小:3.66 MB
- 文档页数:27
国有商业银行组织架构和工作内容一、组织架构:国有商业银行的组织架构一般包括总行、分行和支行三个层级。
总行是国有商业银行的最高管理层,负责制定和实施战略、政策和经营计划,管理和监督分支机构的运营。
分行是总行在不同地区设立的地方管理机构,负责辖下支行的业务管理和监督。
支行是国有商业银行的基本单位,负责向客户提供各种金融产品和服务。
在总行的组织架构中,通常会设立行长办公室、各部门和各职能部门。
行长办公室是负责总行整体运营和决策的核心部门,行长作为总行的最高领导,直接对其负责。
各部门则按照业务划分,如贷款部门、存款部门、风险控制部门、人力资源部门等,负责具体的业务运营和管理工作。
各职能部门则包括法务部门、信息技术部门、审计部门等,为总行提供支持和服务。
二、工作内容:1.存款服务:国有商业银行接受各类存款,包括活期存款、定期存款、结构性存款等,为个人和企业提供储蓄和支付服务。
3.国际业务:国有商业银行通过与外国银行的合作,参与国际贸易、跨境支付、外汇交易等国际业务,为企业提供国际金融服务。
4.风险管理:国有商业银行要进行风险管理,包括信用风险、市场风险、操作风险等,通过制定风险控制措施和策略来保障资产安全,防范金融风险。
5.金融创新:商业银行需要不断进行金融创新,开拓新业务领域,满足客户需求,提高服务质量。
金融创新主要包括产品创新、渠道创新和技术创新等。
6.金融市场运作:国有商业银行通过参与金融市场运作,包括买卖债券、股票、衍生品等金融工具,以取得资金的增值和收益。
7.社会责任:国有商业银行还承担着社会责任,积极参与社会公益事业,支持企业和个人的可持续发展,促进经济社会的稳定和发展。
总之,国有商业银行的组织架构和工作内容既反映了国家在金融领域的管理和监督,也体现了商业银行的职能和责任。
通过提供存款、贷款、国际业务等服务,并进行风险管理、金融创新和金融市场运作,国有商业银行在经济运作中扮演着重要角色,为经济社会发展做出了积极贡献。
商业银行的组织结构商业银行作为金融机构的一种,扮演着重要的角色。
它们接受存款、发放贷款、提供各种金融服务,支持经济的发展和个人的财富管理。
商业银行的运营需要一个完善的组织结构,以确保其高效、安全、可持续发展。
本文将探讨商业银行的组织结构,并从各个层面进行分析。
一、总体架构商业银行的总体架构通常由几个部门组成,包括行长办公室、业务发展部门、风险管理部门、内部控制部门、人力资源部门等。
这些部门在相互协作的基础上,形成了一个复杂而有序的组织架构。
其中,行长办公室是商业银行的核心,负责决策规划、战略制定和监督管理。
二、前线部门商业银行的前线部门是与客户直接接触和提供服务的部门。
这些部门包括个人金融部门、企业金融部门、运营部门等。
个人金融部门主要负责个人存款、贷款、信用卡等业务,而企业金融部门则提供各种企业融资和金融咨询服务。
在商业银行的组织结构中,前线部门起着关键的作用,直接影响着商业银行的经营情况和客户满意度。
三、中台功能部门商业银行的中台功能部门是支持前线业务的部门,包括风险管理部门、内部控制部门、运营部门等。
风险管理部门负责评估并管理商业银行的风险,确保其健康和可持续发展。
内部控制部门负责监督和审核商业银行的各项业务,确保其合规性和透明度。
运营部门则负责处理商业银行的日常事务,提供技术支持和运营支持。
四、后台支持部门商业银行的后台支持部门是为整个组织提供支持和保障的部门,包括人力资源部门、财务部门、市场营销部门、信息技术部门等。
人力资源部门负责招聘、培训、绩效管理等人力资源相关工作。
财务部门负责商业银行的财务报表和财务管理。
市场营销部门负责商业银行的市场推广和品牌建设。
信息技术部门负责商业银行的信息技术系统开发和维护。
五、分支机构商业银行通常设有一系列分支机构,以便更好地满足客户的需求。
这些分支机构可以是零售网点、企业营业部、自助银行、电子银行等。
分支机构的组织结构类似于总行,但规模更小,并直接面向当地客户。
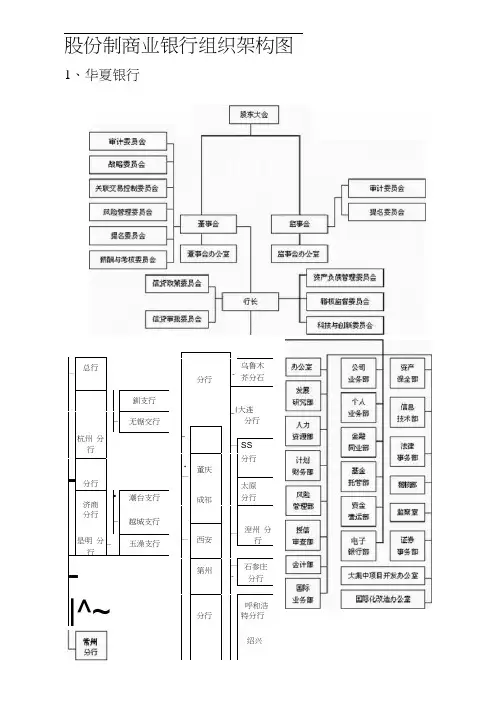
股份制商业银行组织架构图1、华夏银行
2、中国光大银行
3、中国民生银行
4、中信银行
5、兴业银行
6、广东发展银行
北京分行上海分行大连分行大庆支行沈阳分行郑州分行新乡支行安阳支行南京分行无锡支行
杭州分行
宁波支行
温州支行
昆明分行
玉溪支行
曲靖支行
武汉分行
广州分行
深圳分行
珠海分行
汕头分行
佛山分行
东莞分行
中山分行
梅州分行
惠州分行
韶关分行
清远分行
江门分行
肇庆分行
阳江分行
湛江分行
茂名分行
河源办事处
澳门分行
香港代表处
7、深圳发展银行
8、招商银行
9、恒丰银行
10、上海浦东发展银行
11、渤海银行
12、浙商银行
13、宁波银行
14、平顶山银行
15、湛江市商业银行(前中后台)——太大,无法截图,打开看网址。
股份制商业银行组织架构图1、华夏银行—总行—釧支行—无锯交行杭州分行—分行济商■潮台支行分行—越城支行是明分行—玉澡支行-|^~分行-乌鲁木芥分石_|大连分行_—SS分行•—董庆太原成祁分行—西安一湼州分行第州一-石参庄分行呼和浩分行特分行绍兴2、中国光大银行贸产负债委员会 不良贸产处置委员会 稽核监督委员会 考评委员会 新产品硏究开发委员会 电子化建设委员会3、中国民生银行计划财务部投行业势部11贷控制部拿资业 卡同 发 1电 子 会 计 结 稽 核 部 人 力 监 察保 行 政 管1行家1行诜 阳 分 行行萝 行 龙 竇 君 南 京 分 行 苏 州 分 行 杭 州 分 行 丁 行 分 行 行 行書岛分行烟台支行郑州分行武沒分行檢沙分行广州分行葆圳分行南宁分行海口分行重庆分行成都分行昆明分〔仃西安分行香港代表处大额支出集中采购审批姿员会办 公 总行售业部济南分行行长审计与关联控制委员会 凤险管理委员会 捉名委员会 薪酬委员会董、监事会办公室审计委员会 捉名委员会股茶大会会监爭会办公室董事会秘书董争会战略发展蚕员会办公室董事会行长战昭发展委员会风险管理委员会审计委员会关联交易控制委员会提名委员会薪酬与考核委员会财务总戲董爭会办公室稻核部办公室S党委办公室人力资源部.党委组织部科技开发部公司银行部零售银行部金融市场部投资银行部熒易金融部工商企业金融部资产托管部衍生产品业务部电子银行部信用卡中心授信评审部资产监控部财务管理部资产负债管理委员会办公室会计结筐部法锂与含规事务部企业文化部纪检监察室工会工作部保卫部民生培训学院信息管理中补机构管理中柱后勤服务中心融资工作小组办公室香港代表处(新产品硏发中心)资产负债育理委员会财务管理委员会风险管理委员会信贷审查委员会计算机凤险防范委员会北京管理部上綽分行广州分行深圳分行武沒分行大连分行南京分行杭州分行太原分行石家庄分行重庆分行西安分行福州分行济南分行宁波分行成鄙分行天陸分行昆明分行苏州分行害岛分行谧州分行厦门分行泉州分行汕头直属支行4、中信银行董爭会董爭会办公室高级管理层战路发展委员会提名与薪酬委员会股东大会凤险管理委员会审计与关联交易控制委员会监事会5、兴业银行6、广东发展银行般东大会General meeting oTshareholders监爭会The committee of supervisors行长President7、深圳发展银行董爭会The board of directors营业部Domestic business Dept信用卡中心Credit card center公司银行部Corporate banking Dept国际业务部International business Dept信贷管理部Credit management Dept资金部Treasury Dept票据保理部 Bill& Factoring D-epi港算中心Clearing center金融同业与整合部 FI & Synergy DeptPlanning&m anagemmtDeptAuditing Dept监察室Supervisory office 信贷审查部Credit assessment Dept AssetS^t Center科技部IT Dept人事部Human resources Dept总务部Logistic Dept电子银行部个人银行部 Personal ban king Dept财务会计部Financial & account] ng Dept办公室Administration Dept党委办公室CPC committee office保卫部Security DeptM 部—Coicgpliance Dept.1 1 X1探圳分行北京分行上縛分行沈阳分行东莞分行南京分行扬州分厅西安福州南昌分行分行分行杭州天津长沙分行分行■分行金华犬连青岛分行分行■分行成都济南厦门分行分行分行重庆温州绍:M分行分行分行宁波乌鲁木苏州分行齐分行分行台州昆明无锡分行分行分行圜合肥分行1常香港I分行•]貂1分行美国代表处总行蓉业部人力资遞部北京战略计划财务部Mt公司银行部-信贷管理部银行部-授信审批部-同业银行部-会计部-国际业务部■资金交易部融资办公室--离岸业务部-资产托管部-投资银行部-信用卡中心办公室猎核监督部监察傑卫部法律与合规部特殊资产管理中心企业年金管理中心电话银行中心招标中心(□常州、温爪无啄绍兴、泉州-烟台-金华r扬孙台州等都是二级分行)信息技术部行政部工程管理部审计委员会提名委员会薪酬与考孩委员会风险管理委员会关联交易控制委员会战譬员会科技工作委员会 金融创新委员会 考评委员会10、上海浦东发展银行(审什姜员僉)I凤竝*理莢员言/关谀交&揑*委员童(■»* J(XC MfitJSfi(■般靈大金■事僉办公富SftttWffl ;■事会工作部:ai5KBi«a» ;批发■■■K行J/一[金越机枚耶: -(公旬业毎弼; 一(环球市o;-4—A(抒政总感办低)_強发帙分析目一^簞持値货—(WttfrttO;一[业务曹逐部]公共关笊?5)—OfflRfe'K9«S I T 營二中小血叠邮; ;;<wiff®® :£业超发都: 一[窗用卡中心〕——X-/12、浙商银行soaffl(U'liiSo)—[上力資谭部:;13.宁波银行14、平顶山银行股东际大会15、湛江市商业银行(前中后台)——太大,无法截图,打开看网址。
2015年农村商业银行组织架构和部门职能设计一、公司组织架构 (2)二、总行常设机构 (2)1、公司业务部 (2)2、个人业务部 (3)3、小贷业务部 (4)4、电子银行部 (4)5、国际业务部 (5)6、金融市场部 (6)7、同业金融部 (7)8、资产管理部 (7)9、投资银行部 (8)10、信贷管理部 (9)11、财务管理部 (10)12、运行管理部 (10)13、办公室 (11)14、后勤管理部 (12)15、人力资源部 (13)16、党群工作部 (14)17、外设机构管理部 (15)18、科技信息部 (16)19、安全保卫部 (17)20、工会 (17)21、风险管理部 (18)22、合规管理部 (19)23、监审稽核部 (21)一、公司组织架构二、总行常设机构1、公司业务部(1)拟定公司类授信业务(本币)管理规定、操作流程;(2)负责制定公司金融类(本币资产、负债、中间业务类)指标的下达及考核;(3)负责全行公司金融业务新产品的设计、开发与推广;(4)负责对全行客户经理的管理、指导和培训工作;(5)参与1000 万元(含)以上授信业务的调查(综合授信),与支行共同形成调查报告;(6)负责公司类贷款利率的定价;(7)负责重点客户关系的维护,并建立“潜在信贷客户库”;(8)负责进行合规性自查,向合规管理部提供合规风险点,支持并配合合规管理部的合规评估、合规监督;(9)支持并配合风险管理部的风险监测和评估;(10)完成领导交办的其他工作。
2、个人业务部(1)负责组织制定各项零售金融业务管理办法;(2)负责对各支行进行零售业务(资产、负债和中间)指标的下达、推动与考核;(3)负责对本行个人客户经理进行考核管理;(4)负责代理保险业务的公司管理和产品管理;(5)负责代理贵金属业务的公司管理和产品管理;(6)负责理财业务的销售管理;(7)负责代理推荐信托业务销售管理;(8)负责代理基金业务的销售管理;(9)负责个人消费类贷款的营销管理;(10)负责进行合规性自查,向合规管理部提供合规风险点,支持并配合合规管理部的合规评估、合规监督;(11)支持并配合风险管理部的风险监测和评估;(12)完成领导交办的其他工作。
银行支行组织架构一、行长室行长室是银行支行的最高决策机构,负责统筹管理和指导支行各项业务和运营工作。
行长室一般由行长、副行长和行长助理等组成。
行长是支行的法人代表,负责全面管理和决策支行的各项工作。
副行长协助行长工作,承担分管分管某些方面的管理工作。
行长助理则负责协助行长处理日常事务,如文件处理、会议组织等。
二、运营部运营部负责支行的日常运营工作,包括对客户的账户管理、存取款业务、支付结算、汇款转账等。
运营部下设前台柜员岗位,负责具体的业务操作。
三、销售部销售部是负责支行业务拓展和客户营销的部门。
其工作范围包括个人银行业务、公司银行业务、国际业务等。
销售部下设客户经理岗位,负责维护和拓展支行客户。
四、财务部财务部负责支行的财务管理和会计核算工作。
包括财务报表的编制、财务分析、成本控制等。
财务部下设财务人员岗位,负责具体的会计核算和财务管理工作。
五、人力资源部人力资源部负责支行的员工招聘、培训、考核和管理等工作。
人力资源部下设人事专员岗位,负责员工档案管理、薪酬福利管理等。
六、风险合规部风险合规部负责支行的风险管理和合规工作。
包括对信贷风险、市场风险、操作风险等进行评估和管理,同时确保支行的业务操作符合相关法规和规定。
风险合规部下设风险管理人员岗位,负责风险评估和管理。
七、信息技术部信息技术部负责支行的信息技术支持和系统维护工作。
包括IT系统的规划、开发、维护和优化,以及网络安全管理等。
信息技术部下设IT技术人员岗位,负责具体的系统维护和开发工作。
商业银行的组织结构商业银行是一种以盈利为目的的金融机构,它的组织结构决定了其内部管理和运营的模式。
商业银行的组织结构通常具有以下几个层次:1.高层管理层:高层管理层是商业银行的最高决策机构,通常由董事会和行长组成。
董事会负责制定银行的发展战略和政策,行长则负责具体的实施和运营管理,确保银行的业务正常运营和盈利。
2.各个业务部门:商业银行通常划分为各个业务部门,例如零售银行部门、公司银行部门、投资银行部门等。
不同的业务部门负责不同的业务领域,例如零售银行部门主要负责个人和小微企业的金融服务,公司银行部门则主要服务大型企业和机构客户,投资银行部门则负责并购、资本市场、投资等业务。
3.支持部门:商业银行还有一些支持部门,例如风险管理部门、内部审计部门、人力资源部门等。
这些部门的职责是支持和监督银行的各项业务,确保银行的风险控制和合规运营。
在商业银行的组织结构中,经常会听到的一个概念是分支机构。
商业银行通常会设立分支机构,以便更好地覆盖市场和服务客户。
分支机构通常以城市或地区为单位设立,有自己的业务和管理团队。
分支机构可以提供各种金融产品和服务,例如存款、贷款、理财、支付等。
商业银行的组织结构还受到监管机构的监督和规范,例如央行、银监会等。
监管机构负责制定和执行各项银行法规和政策,以确保商业银行的稳健运营和风险控制。
监管机构对商业银行的组织结构和运营模式也会有一定的要求,例如要求商业银行设立合规、风控等相关部门,设立独立的内部审计机构等。
商业银行的组织结构不是一成不变的,它会随着银行的规模扩张和业务发展而调整和变化。
例如,随着银行规模的扩大,可能会增设更多的支行和分支机构;随着金融科技的发展,可能会增设专门的技术和创新部门。
不同的商业银行可能有不同的组织结构和管理模式,但它们的目标都是为了实现盈利和稳健运营。
总之,商业银行的组织结构是一个复杂而庞大的机构体系,它由高层管理层、各个业务部门和支持部门组成。
商业银行的组织构成
商业银行的组织构成包括以下几个部分:
1. 董事会:商业银行的最高决策机构,由董事组成,负责制定银行的战略和政策,监督管理层的运作。
2. 高级管理层:包括行长、副行长和各部门负责人,负责日常经营管理,执行董事会决策,制定具体政策和运营方针。
3. 各部门和机构:商业银行通常设有多个部门和机构,如财务部、风险管理部、人力资源部、市场营销部等,每个部门负责不同方面的业务和工作。
4. 支行和分行:商业银行通常在各个地区设有支行或分行,负责向当地客户提供银行服务,如存款、贷款、结算、电子银行等。
5. 内部审核部门:负责对商业银行各项业务和内部控制进行审查,以确保银行的经营合规和风险控制。
6. 各类委员会:商业银行设有各类委员会,如风险委员会、审查委员会等,负责评估和控制银行面临的各种风险。
7. 前端业务团队:商业银行的前端业务团队包括客户经理、柜员等,负责与客户接触,提供个人和企业金融服务。
总之,商业银行的组织构成是一个庞大的体系,包括董事会、高级管理层、各部门和机构、支行和分行、内部审核部门以及各类委员会等。
这些部门和机构相互配合,共同推动银行的运营和发展。