电动阀门电装(电动执行机构)故障分析与维修
- 格式:doc
- 大小:20.00 KB
- 文档页数:8
电动阀门故障及处理方法电动阀门是一种广泛应用于工业自动化过程控制系统中的设备,电动阀门通过接收控制信号来实现开关和调节流体介质的流量。
然而,在长时间运行和使用过程中,电动阀门可能会遇到各种故障。
本文将介绍几种常见的电动阀门故障及其处理方法。
1.电动阀门无反应或无法启动-检查电源是否正常,确保电源电压稳定;-检查电动阀门的线路连接是否松动或断开;-检查电动阀门的控制信号是否正常,如控制信号是否正常接通。
2.电动阀门无法关闭-检查电动阀门的执行器是否正常工作,如是否卡死或损坏;-检查电动阀门的传动部件是否存在故障,如变形或磨损;-检查电动阀门的阀门本体是否受损,如阀门开口是否被异物堵塞。
3.电动阀门无法打开-检查电动阀门的执行器是否正常工作,如是否卡死或损坏;-检查电动阀门的传动部件是否存在故障,如变形或磨损;-检查电动阀门的阀门本体是否受损,如阀门开口是否被异物堵塞。
4.电动阀门运行不稳定或速度慢-检查电动阀门的电源电压是否稳定,如电源电压波动过大可能导致电动阀门运行不稳定;-检查电动阀门的传动部件是否润滑良好,如传动链条是否松动或润滑油是否充足;-清洁电动阀门的阀门本体,如阀门孔道是否被污物堵塞。
5.电动阀门噪声大-检查电动阀门的执行器是否存在异常振动或碰撞;-检查电动阀门的阀门本体是否紧固良好,如螺栓是否松动或缺失;-检查电动阀门的传动部件是否润滑良好,如传动链条是否松动或润滑油是否充足。
在处理电动阀门故障时,可以采取以下方法:1.检查和清洁:对故障的电动阀门进行全面检查和清洁,清除所有可能影响阀门正常运行的异物和污物。
2.更换损坏部件:对于存在损坏的电动阀门部件,及时更换新的原装件,确保电动阀门的正常运行。
3.调整和校准:对于出现无法启动、无法关闭或运行不稳定的情况,可以进行电动阀门的调整和校准,保证其正常运行。
4.维护保养:定期对电动阀门进行维护保养工作,如清洗、润滑和紧固等,可延长电动阀门的使用寿命并降低故障发生的概率。
电动阀执行器常见故障及处理方法大全一、工作原理:当DCS按照控制要求,给执行器一个4-20mA的直流定位信号时,电路板将给定信号和反馈信号进行比较,输出偏差信号。
此偏差信号经放大处理后,决定电机正向或者反向转动,并驱动相应的固态继电器,再由继电器驱动电机向正确方向转动。
电机的输出轴经过减速齿轮箱的减速后,带动摇臂或者拉杆进而调整相关阀门的开度。
减速齿轮箱有两种机械量输出。
一个位于减速齿轮箱入口处,当齿轮箱或阀门负载力矩过大时,电动机会优先带动环形内齿轮,进而带动一组连杆(连杆上有一组对称设置,可调整松劲的弹簧)。
连杆不管想哪个方向运动,都会触动相应的微动开关,给电路板发送过力矩信号。
防止执行器因过力矩损坏设备。
齿轮箱的另一个机械量输出位于控制箱底部,带动行程开关和位置电位器,输出执行器摇臂或拉杆当前位置的机械量信号。
行程开关可以在执行器运行至上下限位置时给电路板发送中断命令,使电动机不再转动(不管此时有否偏差信号)。
位置电位器会输出连续的电阻信号给电路板,并由电路板产生4-20mA的位置信号,此信号一方面为比较电路提供依据,另外还会为DCS提供执行器当前位置的反馈信号。
在电机的定子线圈里埋有温度控制开关。
当电机因某种原因过热时(100-120度),常闭的温度开关会断开,切断电路板的供电电源。
执行器不再动作,从而保障执行器的运行安全。
二、故障分析及处理1、执行器供电空开跳闸。
(1)执行器内有积水。
积水可能会浸湿电路板,造成电路板的某个回路短路。
积水会沿着齿轮箱或者引线孔进入电机,造成电机损坏。
在找到已损毁部件后,应更换。
另外应清除积水。
特别是齿轮箱,应解体后全面清理,并上好润滑油。
做好执行器的密封,避免有水或蒸汽再次淋湿执行器。
(2)执行器振动剧烈。
这会造成执行器内的某些部件脱落并使电气回路的某点出现接地。
振动源通常是其他大型设备,属于设计施工缺陷。
应对执行器的固定机座进行适当改造,避免接触到振动源。
电动阀门常见故障与维修电动阀门是一种常见的控制元件,在自动化控制系统中被广泛应用。
但是在长期使用过程中,会出现一些常见的故障,影响其正常工作。
本文将针对电动阀门常见故障进行讲解,并介绍相应的维修方法。
一、电动阀门常见故障及其原因1. 无法启动电动阀门在使用过程中出现无法启动的情况,可能是由于以下原因:(1)电源故障:电源电压过低或电源线路故障。
(2)电机损坏:电机故障或转子卡死。
(3)控制器故障:控制器故障或程序出错。
2. 噪音过大电动阀门在工作时出现噪音过大,可能是由于以下原因:(1)电机故障:电机轴承损坏或转子与定子摩擦。
(2)阀门卡死:阀门堵塞或密封不良。
(3)控制器故障:控制程序出错或控制电路异常。
3. 无法控制电动阀门在使用过程中出现无法控制的情况,可能是由于以下原因:(1)控制电路故障:控制电路损坏或接触不良。
(2)传感器故障:传感器损坏或信号异常。
(3)控制程序出错:控制程序出错或参数设置错误。
二、电动阀门的维修方法1. 无法启动的维修方法(1)检查电源:检查电源电压是否正常,检查电源线路是否损坏。
(2)检查电机:检查电机是否损坏,如有损坏需更换电机。
(3)检查控制器:检查控制器是否故障,如有故障需更换控制器或修复程序。
2. 噪音过大的维修方法(1)检查电机:检查电机轴承是否损坏,如有损坏需更换电机。
(2)检查阀门:检查阀门是否卡死,如有卡死需清洗或更换阀门。
(3)检查控制器:检查控制程序是否出错,如有出错需修复程序或更换控制器。
3. 无法控制的维修方法(1)检查控制电路:检查控制电路是否损坏或接触不良,如有问题需修复或更换控制电路。
(2)检查传感器:检查传感器是否损坏或信号异常,如有损坏需更换传感器。
(3)检查控制程序:检查控制程序是否出错或参数设置错误,如有问题需修复程序或调整参数。
三、电动阀门的日常维护除了出现故障需要进行维修外,日常维护也是非常重要的。
以下是电动阀门的日常维护方法:1. 定期检查阀门的密封性能,如有泄漏需及时修复。
电动执行器常见故障及维修办法
1.电源故障:电源故障是电动执行器最常见的故障之一、可能是电源
线路断开、电源插头损坏等问题。
维修办法是检查电源线路连接是否正常,修复电源线路断开或更换损坏的插头。
2.开关故障:开关故障主要指的是执行器开关无法正常启动或停止。
可能是由于开关磨损、触点接触不良或开关松动等问题。
维修办法是清洁
或更换开关,确保开关的正常运作。
3.传感器故障:传感器故障会导致执行器无法正确感知位置或状态。
可能是传感器线路断开、传感器损坏或传感器设置错误等问题。
维修办法
是检查传感器线路连接是否正常,修复断开的线路或更换损坏的传感器,
确保传感器的正常工作。
4.驱动器故障:驱动器是控制执行器运动的关键组件,驱动器故障会
导致执行器无法正常运行。
可能是驱动器损坏、驱动器参数错误或驱动器
供电异常等问题。
维修办法是检查驱动器供电是否正常,调整驱动器参数
或更换损坏的驱动器。
5.机械故障:机械故障通常是执行器内部机械部件损坏或卡住导致的。
可能是由于轴承磨损、齿轮损坏、传动带断裂或机械部件堵塞等问题。
维
修办法是检查机械部件是否正常运转,修复损坏的部件或清洁堵塞的部件。
除了以上常见故障外,执行器还可能遇到其他故障,如电机故障、接
线故障、电磁干扰等。
对于这些故障,维修办法可以根据具体情况采取相
应的措施来修复。
电动阀门的故障分析与处理随着集输站场自动化水平的逐渐提升,电动阀门已经大量应用于生产现场。
电动阀门由于采用了电机驱动和控制系统,使用便捷的同时检维修工作却更加复杂,在应用中出现的故障应认真分析,弄清结构和原理,采取最佳处理方法。
标签:电动阀门;故障分析;处理方法1 电动切断阀部分集输站场所用电动切断阀为部分回转型电动执行机构,阀体为球阀,主要用于管线的进出口位置,通过电动执行机构带动球阀的球体作90度旋转来实现阀门的全开或全关。
电动切断阀出现的故障主要有:1.1 电机不启动。
原因1:電源线松脱。
根据接线示意图的接法找到电源线,检查是否存在松动现象,以致造成电机无法启动。
原因2:电机故障。
电机是驱动整个传动装置的动力来源,它通过减速齿轮、蜗轮蜗杆将动力传输给阀门球体转轴,一旦电机损坏则无动力输出。
另外,传动装置虽然有润滑脂进行润滑,并且无需定期补加润滑脂,但是在电机转动时可以清晰听到每台电机的轴承噪音较大,分析是由于轴承或油脂的清洁度引发的一种不规则的声音。
在日常操作使用时需要及时关注电机声音变化。
原因3:控制线路故障。
电动执行机构的组成包括电机、减速机构、行程控制机构、力矩控制机构、开度指示机构、机械限位和电气部分等,电气控制模块集成了开关操作、阀位开度指示、控制模式转换、参数设置调整、故障显示等功能,一旦出现故障造成电机不启动,则需要进行维修或更换。
原因4:行程或力矩控制机构失灵。
电动切断阀的力矩和行程是可调的,它设置有力矩控制机构和行程控制机构,它们的控制原理:①力矩控制机构(图1)。
当输出轴上受到一定转矩后,蜗杆除旋转外还产生轴向位移,由蜗杆上的齿条带动齿轴转动,当输出力矩增大到整定转矩时,则紧固在齿轴上的凸轮使微动开关动作,从而切断电机电源,电机停转,以此实现对电动装置输出转矩的控制,达到保护阀门的目的;②行程控制机构(图2):凸轮轴与输出盘同步转动,当凸轮轴转至预先设定的行程位置时,紧固在凸轮轴上的凸轮使微动开关动作,切断电机电源,从而实现对电动装置行程的控制。
电动阀执行器常见故障及处理方法大全(一)1、执行器阀杆无输出:A、查手动能否能够操作。
手主动离合器卡死在手动方位,则电机只会空转。
B、查看电机能否转变。
C、手动和电动都不能操作,能够思考是阀门卡死。
D、脱开阀门衔接有些,若是阀门没有卡死,查看轴套能否已卡死、滑丝或松脱。
2、在全开/全关时不能停留在设定的行程方位,阀杆与阀体发作顶嘴。
“关/开阀限位LC/LO”参数现已丢掉,应从头设定。
或将参数“力矩开/关”更改为“限位开/关”。
3、显现阀位与实践阀位不一致。
重设限位后,举措几回,又发作漂移,应替换计数器板。
4、执行器作业,但没有阀位指示,查看计数器,能够圆形磁钢坏了或计数器板坏了。
若是接线端子22/23没有4-20mA电流信号输出,能够思考替换(伺放+)位返板。
5、远控调理状况下,上下摇摆不能定位,能够增大“死区调整参数Fd”;但增大该参数到20以上才不摇摆,可替换伺放(+位返)板;若是替换后毛病照旧,主张:把电机替换为低速的电机或扩展轴套和阀杆的螺纹螺距。
6、远控/就地均不举措,或电机单向旋转,不能限位。
查看手主动离合器没有卡死,电机没有焚毁:能够查看电机电源接线能否正确或三相电源能否不平衡。
7、远控/就地均不举措,量电机绕组,过热维护,电磁反应开路,电机已焚毁。
8、远控/就地均不举措,用设定器查看,毛病显现:“H1力矩开关跳断”;“H6没有电磁反应”。
测验(固态)继电器没有输出。
替换继电器操控板或电源板组件。
9、三相电源一送就跳闸:继电器操控板有疑问或电机线圈已焚毁。
10、因电源电压高(400V以上),熔断保险丝,替换执行器保险丝后又被熔断。
查看,电源板硅整流块正常,电源变压器初级电阻过低,可替换电源板组件或电源变压器。
11、布景灯不亮,查看三相电源正常,能够是执行器保险丝已熔断或主板电源线松动未插好。
12、不带负荷时一切正常,带负荷时,开阀正常,关到40%左右就停转,“封闭力矩值”已设为99,用手轮能够关到位。
阀门电动装置常见故障及处理方法公司标准化编码 [QQX96QT-XQQB89Q8-NQQJ6Q8-MQM9N]阀门电动装置常见故障及处理方法阀门电动装置故障维修一、阀门电动装置概述:随着热力发电厂装机水平的不断提升,对各类工艺管道阀门装置也提出了更高的要求。
特别是近几年,中高压、次高压中小型机组的不断上马投产,各类介质控制阀门故障逐渐成为了困扰正常生产的一大问题,虽然阀门及其控制装置仅是其所在工艺管道系统的一个附属设备,但当出现故障,往往会引发较大范围的停产事故或安全事故,因此对阀门及其控制装置的日常维护保养及故障的及时处理变得越来越重要。
二、阀门电动装置的传动原理:要想维护和使用好阀门电动装置,就必须对其动力源传动机构及控制方式有一个全面深入的了解,通过这几年对电动装置维修获得的经验来看,虽然生产电动装置的厂家及规格型号多种多样,究其传动原理则大同小异,特别是常州地区出产的电动装置其内部结构已基本标准化,且电厂所使用的电动装置也已基本均使用出自该地的产品。
故本文就常州产电动装置的传动原理做一简单阐述,其详细内容可参看电动装置随机带的产品说明书等资料。
下图为一常规型电动装置内部结构示意图:电动装置一般由电动机、减速机构、力矩控制机构、行程控制机构、开度指示机构、手动/电动转换机构、手轮及电控部分组成。
其中,减速机构包括:一对直齿轮和涡轮副两级传动机构组成,安装在装置内部,从外部无法直观看到,电动机输出的动力既是通过此减速机构传递给输出轴⑧,从而带动阀门阀杆启闭阀门;力矩控制机构可分为内部不可见部分(即上图⒀)及外部凸轮及微动开关(打开装置指示盘盖即可见位于右上角的单独一块),当输出轴上受到一定转矩后,蜗杆除正常旋转外,还受到轴向力产生轴向位移,若输出轴上的转矩过大,上图中⒀力矩控制机构即会带动曲拐或撞块从而带动支架上附着的凸轮压下微动开关,微动开关动作即可及时切断电气控制回路,使电动机停转,同时发信给DCS控制系统模块显示报警信息,从而达到保护电动阀门的目的;行程控制机构及开度指示机构在开盖后亦可见,其中行程控制机构又称计数器,由减速箱内的大小伞齿轮及中传齿轮带动,其安装位置在最下部,由计时齿轮组、凸轮(两侧各一只,用于控制开、关限位开关)及微动开关。
电动执行器常见故障及维修办法第一部分1、执行器阀杆无输出A、检查手动是否可以操作。
手自动离合器卡死在手动位置,则电机只会空转。
B、检查电机是否转动。
C、手动、电动均不能操作,可以考虑是阀门卡死。
D、解开阀门连接部分,如果阀门没有卡死,检查轴套是否已经卡死、滑丝或松脱。
2、在阀门全开/全关时不能停留在设定的行程位置,阀杆与阀体发生顶撞。
“关/开阀限位LC/LO”参数已丢失,应重新设定,或将参数“力矩开/关”更改为“限位开/关”。
3、显示阀位与实际阀位不一致,重新设定后,动作几次,又发生漂移,应更换计数器板。
4、执行器工作,但没有阀位指示,检查计数器,可能圆形磁钢坏了或计数器板坏了。
如果接线端子22/23没有4-2mA电流信号输出,可以考虑更换(侍放)位返板。
5、远控/就地均不动作,或电机单向旋转,不能限位。
检查手自动离合器有没有卡死,电机有没有烧毁;检查电机电源接线是否正确或三相电源是否不平衡6、远控/就地均不动作,量电机绕组,过热保护、电磁反馈开路,电机已烧毁7、远控/就地均不动作,用设定器检查,故障显示:“H1力矩开关跳断”;“H6没有电磁反馈”。
测试(固态)继电器没有输出,更换继电器控制板或电源板组件8、三相电源一送就跳闸,继电器控制板有问题或电机线圈已烧毁。
9、因电源电压高(400V以上),保险丝熔断,检查电源板硅整流块正常,电压变压器初级电阻过低,可更换电源板组件或电源变压器。
10、背景灯不亮,检查三相电源正常,可能是执行器的保险丝已熔断或主板电源线松动未插好。
11、不带负荷时一切正常,带负荷时,开阀正常,关到40%左右就停转,“关力矩值”已设为99,用手轮可以关到位,刚安装时可以关到位,用一段时间就不行了,建议换用大一档的执行器。
12、手动正常,手自动离合器卡簧在手动方向卡死。
可拆卸手轮,释放卡簧,重新装配好。
13、执行器远控/就地均不能动作,开/关到位指示灯闪烁,检查电池电压过低。
执行器在主电源掉电时,已丢失设定的参数。
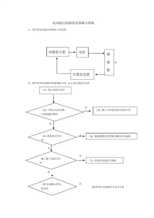
电动执行机构常见故障与排除1、调节型电动执行机构的工作原理:2、调节型常见故障及快速排除方法: 2.1执行机构不动作是否(8)自动输入信号存在吗(9)检查自动选择信号是否正常说明:(1)执行机构不动作:是指中央控制室发出的阀位电流控制信号改变时,执行机构没有响应。
(2)手轮可以转动执行机构输出轴吗:是指在现场通过切换“手动/电动”切换手柄后,执行机构处于"手动”状态,然后转动执行机构自带的手轮,看执行机构的输出轴是否可以转动。
(3)阀门卡死或者执行机构卡死:到底是阀门卡死,还是执行机构被卡死,可以将执行机构从阀门上拆下来再进行判断。
当拆下执行机构后,执行机构手动、电动都可以转动,则有可能是阀门被卡死,也有可能是执行机构与阀门连接的部件出现损坏而导致阀门不能动作。
(4)就地电动可以吗:指把红色的方式旋钮置于“就地”状态,并且把“就地控制” 菜单设置为“点动”,再旋转黑色的操作旋钮,看执行机构输出轴是否可以转动。
(5)根据报警信息判断是哪部分的故障:此时,如果是电路板某个部件出现问题,可以根据报警信息来查看。
比如出现“电机过热”报警,则证明有可能是电机温度过高,引发电机内部温度开关动作,此时就只有等电机温度降低到温度允许的范围时,才可以重新操作执行机构。
到达开限位时,再重新确定“开限确认”,这样行程就设定好了。
在设定行程的过程中,最好把“就地控制”菜单设定为“点动”,还必须注意“关闭方向”是否设定正确?设定好行程后,再重新设定“死区”、并参考(11)重新标定。
(18)电路板故障:通过以上全部尝试后,外部动力电源的电压如果正常,仍旧不能解决问题,则有可能是电路板损坏或者变压器损坏。
22阀门泄漏量过大:否(8)可能是阀门选型错误2.3跟踪不准确:说明:(1)跟踪不准确:也就是阀位反馈电流与阀位控制电流的偏差过大(2)输入信号是否不准确:可以断开阀位控制电流输入端子,用万用表直接测量输入的阀位控制电流的大小。
电动执行器常见故障及维修办法
1.机械故障
机械故障是指电动执行器的内部机械部件出现故障,导致无法正常运转。
常见机械故障包括轴承磨损、齿轮损坏和密封件老化等。
轴承磨损通常由于长时间使用或者润滑不足造成,解决方法是更换新的轴承,并加强润滑。
齿轮损坏一般是因为负载过大或者使用时间过长导致,需要更换新的齿轮。
密封件老化则需要更换新的密封件。
2.电气故障
电气故障是指电动执行器的电路部分发生故障,导致无法正常工作。
常见电气故障包括电源故障、控制器损坏和电缆连接不良等。
电源故障可能是由于电源线路故障或者电源本身故障,解决方法是检查电源线路和更换电源。
控制器损坏一般是由于过载或者温度过高导致,需要更换新的控制器。
电缆连接不良则需要检查电缆连接是否牢固,并重新连接电缆。
3.通信故障
通信故障是指电动执行器的通信模块出现故障,导致无法正常与其他设备进行通信。
常见通信故障包括通信线路故障和通信协议错误等。
通信线路故障可能是由于线路短路、开路或者信号干扰导致,解决方法是检查线路连接和更换受损线路。
通信协议错误一般是由于通信协议设置错误或者设备不兼容导致,需要重新设置通信协议或者更换兼容设备。
总之,电动执行器常见故障及维修办法涉及机械故障、电气故障和通
信故障等方面。
在面对故障时,应该根据具体情况进行排查和维修。
另外,定期进行维护保养,加强润滑和清洁工作,可以有效预防故障的发生。
(典型)电动执行机构常见故障排查及保养详解汇总一.常见故障及排查方法:(一).执行机构上电后无显示,且空开不跳闸。
1.检查执行机构三相外部供电是否正常,2.拆开控制壳,沿着电压的走向,逐步测量电压。
测量变压器的输出各项电压是否正常。
3.检查各连接线是否由于震动导致接触不良。
特别是电源板与主控板的2×4连接线最重要。
4.排除以上的就是执行器的主板故障,显示板故障:液晶损坏,电源管理电路损坏等,这样的话要更换主板,进行参数和行程设置。
(二).执行机构上电后有显示,但一动作空开就跳闸。
1.检查现场工况,看是否进水等外部原因导致变压器烧坏,引起短路等。
2.检查空气开关的额定工作电流看是否小于执行器的电机额定电流,或者很相近,应考虑电机瞬间启动电流会稍大。
3.拆开控制壳,测量模块或接触器是否存在相与相之间短路。
4.测量电机的电阻是否一样,和对地的绝缘性是否无穷大。
(三).执行机构上电就一直动作1.模块击穿。
2.是否更换主板时把电源板和主控板的连接线插反(现在已经更换插座,一一对应)。
(四).执行器给命令时灯闪但不动作,显示电机启动超时。
1.检查主板走向,模块或者接触器的控制线是否接触不良,测量控制电压是否到输出端。
2.检查灯闪时上端的380V的电压是否到了电机端。
3.测量电机的电阻,看看是否存在断路。
4.手动状态未切换到电动状态,离合器故障。
(五).执行机动作但阀位不变或无法定行程1.检查是否调试前手动往零位或者百位的方向转动过多,短时间没有计数,电动一回可以检查,注意观察阀杆的走向或者调默认重新调试。
2.拆开控制壳检查传感轴是否转动均匀,可能对方未安装好,导致主轴往上顶,大小伞齿脱开。
3.检查阀位板与主板的连接线是否接触不良,更换的新的线或者拔插一下。
4.检查阀位板的磁环是否损坏,或者电路板上存在断路5.主控板计数电路部分存在故障(六).就地和遥控可以操作,远程无法操作。
1.检查对方线路是否存在问题,干接点存在故障等。
电动调节阀常见故障实例分析电动调节阀解决方案电动调节阀是工业自动化过程控制中的重要执行单元仪表。
随着工业领域的自动化程度越来越高,正被越来越多的应用在各种工业生产领域中,比如电力、化工、冶金、环保、水处理、轻工、建材等工业自动化系统领域。
与传统的气动调节阀相比具有明显的优点:电动调节阀节能(只在工作时才消耗电能),环保(无碳排放),安装快捷方便(无需复杂的气动管路和气泵工作站)。
(1)电动执行机构故障分析电动执行机构在使用中出现的故障主要表现为电气部分故障和机械部分故障。
电动执行机构在安装和调试时,应严格按使用说明要求,尤其在行程限制的调整中,应在满足使用条件下保证机构不至于关得过严或开得过大,引起卡滞。
在实际使用中,常会受工况影响,如差压过大,腐蚀磨损而使阀门卡滞,引起电动执行机构电动机过热或保护动作。
对这种故障的判断,可断开执行机构电源,手动试一下阀门即可。
若电动机构动作正常但对介质不能调节,则主要原因是电动机构与阀门连接松脱或阀门本身故障。
电动执行机构的故障查找方法一般是:首先将电动执行机构转入“硬操”控制状态,即直接手动给定,看电动机构是否正确执行。
如果“硬操”正常,则再转入“软操”,即输入4~20mA信号来操作,看是否正常;如果“硬操”不正常,则应检查执行机构电气控制部分是否正常,调节机构是否卡滞等。
电动机电路部分a.功率较大的电动执行机构一般采用三相交流电动机驱动,由于电动执行机构工作环境差和动作频繁,极易使交流接触器的接点烧蚀,接触不良,从而产生电动机缺相过热,正向或反向不动作的故障。
这就要求检修时,加强对交流接触器的检查,防止故障的发生。
b.功率较小的电动执行机构,一般采用单相交流电动机驱动,宜接利用固态继电器来控制电动机,比较容易出现的故障是:启动电容变质或损坏,固态继电器烧坏而引起的电动机不动作或某个方向不动作。
控制模块部分。
新型整体式电动执行机构把主要控制功能集中在主控模块、位发模块及电源模块上。
阀门电动装置常见故障及处理方法阀门电动装置故障维修一、阀门电动装置概述:随着热力发电厂装机水平的不断提升,对各类工艺管道阀门装置也提出了更高的要求。
特别是近几年,中高压、次高压中小型机组的不断上马投产,各类介质控制阀门故障逐渐成为了困扰正常生产的一大问题,虽然阀门及其控制装置仅是其所在工艺管道系统的一个附属设备,但当出现故障,往往会引发较大范围的停产事故或安全事故,因此对阀门及其控制装置的日常维护保养及故障的及时处理变得越来越重要。
二、阀门电动装置的传动原理:要想维护和使用好阀门电动装置,就必须对其动力源传动机构及控制方式有一个全面深入的了解,通过这几年对电动装置维修获得的经验来看,虽然生产电动装置的厂家及规格型号多种多样,究其传动原理则大同小异,特别是常州地区出产的电动装置其内部结构已基本标准化,且电厂所使用的电动装置也已基本均使用出自该地的产品。
故本文就常州产电动装置的传动原理做一简单阐述,其详细内容可参看电动装置随机带的产品说明书等资料。
下图为一常规型电动装置内部结构示意图:电动装置一般由电动机、减速机构、力矩控制机构、行程控制机构、开度指示机构、手动/电动转换机构、手轮及电控部分组成。
其中,减速机构包括:一对直齿轮和涡轮副两级传动机构组成,安装在装置内部,从外部无法直观看到,电动机输出的动力既是通过此减速机构传递给输出轴⑧,从而带动阀门阀杆启闭阀门;力矩控制机构可分为内部不可见部分(即上图⒀)及外部凸轮及微动开关(打开装置指示盘盖即可见位于右上角的单独一块),当输出轴上受到一定转矩后,蜗杆除正常旋转外,还受到轴向力产生轴向位移,若输出轴上的转矩过大,上图中⒀力矩控制机构即会带动曲拐或撞块从而带动支架上附着的凸轮压下微动开关,微动开关动作即可及时切断电气控制回路,使电动机停转,同时发信给DCS控制系统模块显示报警信息,从而达到保护电动阀门的目的;行程控制机构及开度指示机构在开盖后亦可见,其中行程控制机构又称计数器,由减速箱内的大小伞齿轮及中传齿轮带动,其安装位置在最下部,由计时齿轮组、凸轮(两侧各一只,用于控制开、关限位开关)及微动开关。
阀门电动执行机构故障原因分析及处理发表时间:2018-01-26T18:10:26.930Z 来源:《电力设备》2017年第28期作者:崔林[导读] 摘要:通过某站进站阀门电动执行机构突然自行关闭造成输油管道水击的事故分析,指出阀门电动执行机构在没有接收任何指令信号的前提下自行误动作的原因,经过对自行误动作问题的分析、调研,制定了有效的防范措施,确保阀门电动装置的安全可靠运行。
(中石化管道储油有限公司南京输油处生产技术科江苏南京 210046)摘要:通过某站进站阀门电动执行机构突然自行关闭造成输油管道水击的事故分析,指出阀门电动执行机构在没有接收任何指令信号的前提下自行误动作的原因,经过对自行误动作问题的分析、调研,制定了有效的防范措施,确保阀门电动装置的安全可靠运行。
关键词:电动执行机构;阀门;关闭;原因;措施目前,长输油气管道生产运营中的阀门大多采用电动执行机构来完成阀门的控制和调节,尤其是长输管道中关键部位的阀门均采用电动执行机构来实现远程控制。
阀门电动执行机构能否可靠平稳运行,直接影响输油生产的安全,甚至可能造成较大的经济损失和生产事故,因此,分析和检测阀门电动执行机构故障原因,并采取有效的防范措施,杜绝事故隐患,减少经济损失,消除对输油生产的威胁,为此,以某输油站的关键部位的阀门电动执行机构故障为例进行分析与探讨。
一、电动执行机构故障概况2014年11月12日,鲁宁线某输油站运行方式是旁接油罐流程,三台输油泵机组串联运行,出战运行压力达2.7MPa。
3时59分,站控值班人员突然听到报警声,发现管道泄漏检测系统曲线突然上升,立即打电话询问上、下站调度,均无操作。
随后去泵房、阀室检查,发现三台输油泵憋压的声音很大,瞬间,三台输油泵相继甩泵。
查看站控机上的SCADA控制系统,发现出站阀9#阀由绿色(正常运行)变为黄色(故障报警),并闪烁,专业技术人员及值班长立即到9#阀现场检查,发现9#电动阀失电,查看低压室开关柜,发现9#阀塑料外壳式断路器处于跳闸状态,送电后,发现9#阀电动执行机构的操作面板上开度显示为零。
电动阀门常见故障与维修电动阀门作为一种重要的工业设备,在生产过程中扮演着重要的角色。
但是在长期使用过程中,电动阀门也会遇到各种故障。
本文将介绍一些电动阀门常见的故障及其维修方法,以便维修人员能够及时解决问题。
一、电动阀门无法打开或关闭如果电动阀门无法打开或关闭,可能是由于以下原因:1. 电源故障:检查电源电压是否正常,是否有电。
若电源正常,检查电线连接是否牢固。
2. 电动机故障:检查电动机是否发热或发出异常噪音。
如果是,需要更换电动机。
3. 传动机构故障:检查传动机构是否有卡顿或损坏。
如有,需要更换或修复传动机构。
4. 阀门本身故障:检查阀门本身是否有损坏或卡顿。
如有,需要更换或修复阀门本身。
二、电动阀门运转不稳定如果电动阀门运转不稳定,可能是由于以下原因:1. 电源不稳定:检查电源电压是否稳定。
如不稳定,需要更换电源或添加稳压器。
2. 控制板故障:检查控制板是否有松动或损坏。
如有,需要更换控制板。
3. 传动机构故障:检查传动机构是否有松动或损坏。
如有,需要更换或修复传动机构。
4. 阀门本身故障:检查阀门本身是否有松动或损坏。
如有,需要更换或修复阀门本身。
三、电动阀门开关不灵敏如果电动阀门开关不灵敏,可能是由于以下原因:1. 传动机构故障:检查传动机构是否有卡顿或损坏。
如有,需要更换或修复传动机构。
2. 阀门本身故障:检查阀门本身是否有卡顿或损坏。
如有,需要更换或修复阀门本身。
3. 电动机故障:检查电动机是否发生异常噪音或运转不稳定。
如有,需要更换电动机。
4. 控制板故障:检查控制板是否损坏或松动。
如有,需要更换控制板。
四、电动阀门漏水如果电动阀门出现漏水,可能是由于以下原因:1. 阀门本身故障:检查阀门本身是否有损坏或磨损。
如有,需要更换或修复阀门本身。
2. 密封垫损坏:检查密封垫是否损坏或老化。
如有,需要更换密封垫。
3. 传动机构故障:检查传动机构是否有松动或损坏。
如有,需要更换或修复传动机构。
阀门电动执行器故障判断及维修扬州贝尔阀门控制有限公司上海湖泉阀门有限公司技术部廖雄电话:故障报修故障分析技术咨询请来电一. 过力矩故障1.普通户外型过力矩故障现象为通电后电源指示灯和故障灯亮,开关不运行;2.智能型过力矩故障现象为通电后频显过力矩故障,开关不运行;以上排除故障方法为手动开关阀门,打开外盖回动过力矩触电,故障随之解除(智能型还得现场远程切换后频显才恢复正常)。
二. 跳闸故障1.送电跳闸:故障现象为松不上电,短路,排除方法为检测线路是否短路,设备是否进水;2.开关运行跳闸:故障现象为通电正常,阀开阀关运行跳闸, 排除方法为:首先查看电流保护开关大小,如因电流保护开关小而导致更换电流保护开关即可排除故障;其次检测电机绕组电阻值,电阻值趋近于0说明电机烧坏,更换电机,故障排除;最后如果执行器电压是220V的以上两项都正常,那用万用表测电容两边的电阻发现有一个开路,将其更换后故障排除。
三. 正反转故障出现反转故障表现为控制阀开实际发关运行,反之一样(普通户外型表现为只能开或者只能关,而起开关不会停止)故障排除方法为仍以调换两颗电机线即可;备注:普通开关型如出现开关运行时一会儿正转一会儿反转现象故障并且执行机构运行噪音大,故障表现为输入电机电源缺项。
四. 智能型显示故障1.指示灯故障 1.1..故障现象:给电动执行器通电后发现电源指示灯不亮, 伺放板无反馈,给信号不动作。
故障判断和检修过程:因电源指示灯不亮,首先检查保险管是否开路,经检查保险管完好,综合故障现象,可以推断故障有可能发生在伺放板的电源部分,接着检查电源指示灯,用万用表检测发现指示灯开路,更换指示灯故障排除。
1.2.故障现象:电动执行器的执行机构通电后,给信号开可以,关不动作。
故障判断和检修过程:先仔细检查反馈线路,确认反馈信号无故障,给开信号时开指示灯亮,说明开正常,给关信号时关指示灯不亮,说明关可控硅部分有问题,首先检查关指示灯,用万用表检测发现关指示灯开路,将其更换后故障排除。
阀门电动执行器故障判断及维修
扬州贝尔阀门控制有限公司
上海湖泉阀门有限公司
技术部廖雄
电话:
故障报修故障分析技术咨询请来电
一.过力矩故障
1.普通户外型过力矩故障现象为通电后电源指示灯和故障灯亮,开关不运行;
2.》
故障,开关不3.智能型过力矩故障现象为通电后频显过力矩
运行;
以上排除故障方法为手动开关阀门,打开外盖回动过力矩触电,故障随之解除(智能型还得现场远程切换后频显才恢复正常)。
二.跳闸故障
1.送电跳闸:故障现象为松不上电,短路,排除方法为检测线路是否短路,设备是否进水;
2.开关运行跳闸:故障现象为通电正常,阀开阀关运行跳闸,排除方法为:首先查看电流保护开关大小,如因电流保护开关小而导致更换电流保护开关即可排除故障;其次检测电机绕组电阻值,电阻值趋近于0说明电机烧坏,更换电机,故障排除;最后如果执行器电压是220V的以上两项都正常,那用万用表测电容两边的电阻发现有一个开路,将其更换后故障排除。
三.正反转故障
出现反转故障表现为控制阀开实际发关运行,反之一样(普通户外型表现为只能开或者只能关,而起开关不会停止),故障排除方法为仍以调换两颗电机线即可;
备注:普通开关型如出现开关运行时一会儿正转一会儿反转现象故障并且执行机构运行噪音大,故障表现为输入电机电源缺项。
四.智能型显示故障
;
1.指示灯故障
..故障现象:给电动执行器通电后发现电源指示灯不亮,伺放板无反馈,给信号不动作。
故障判断和检修过程:
因电源指示灯不亮,首先检查保险管是否开路,经检查保险管完好,综合故障现象,可以推断故障有可能发生在伺放板的电源部分,接着检查电源指示灯,用万用表检测发现指示灯开路,更换指示灯故障排除。
.故障现象:电动执行器的执行机构通电后,给信号开可以,关不动作。
故障判断和检修过程:
先仔细检查反馈线路,确认反馈信号无故障,给开信号时开指示灯亮,说明开正常,给关信号时关指示灯不亮,说明关可控硅部分有问题,首先检查关指示灯,用万用表检测发现关指示灯开路,将其更换后故障排除。
(
2.电阻电容
.故障现象:执行机构通电后,给定一个信号(例75%)执行机构会全开到底,然后回到指定位置(75%)。
故障判断和检修过
程:根据以上故障现象,首先要判断是伺放板和执行机构那一个有问题。
将伺放板从执行机构上拆下,直接将电源线接到端子上,执行机构关方向动作或执行机构开方向动作,
如果执行机构动作不正常,说明故障在执行器上。
用万用表测电机绕组正常,再测电容两边的电阻发现有一个开路,将其更换后故障排除。
.故障现象:执行机构通电后给关信号(4mA)执行机构先全开后再全关。
故障判断和检修过程:
先拆除伺放板,直接给执行机构通电发现仍然存在原故障,检查电阻,电阻阻值正常,说明电阻没问题,检查电机绕组,发现阻值正常,电机没问题。
由此故障推断有可能电容坏,重新更换电容,故障排除。
.显示全开全关故障:屏幕显示全开全关和故障,排除方法为查看电位器齿轮有无连接,如连接完好再检测电位器电阻值,电位器电阻值不正常就更换电位器,故障排除。
3.智能调节型故障
.显示丢信故障,排除故障方法为检查信号线有无断开,如断开接上即可,故障排除。
4.智能型其它故障显示请来电咨询分析,
扬州贝尔阀门控制有限公司技术部廖雄:
%
五.其它
1.故障现象:
现场只要送AC220V电源,保护开关立即动作(跳闸)执行机构伺放保险已烧。
故障判断和检修过程:
首先用万用表检测执行机构上的电机绕组,发现电机绕组的电阻趋向于零,说明电机已短路,再检测抱闸两端电阻,电阻趋向于无穷大,说明抱闸已坏,正常应是左右。
最终的处理办法是:更换新的抱闸和电机,把伺放板的保险管装上,重新调试,恢复正常运作。
2.故障现象:
执行机构的动作方向不受输入信号的控制。
故障判断和检修过程:
先检查两个限流电阻和移相电容均没有异常,用万用表检查电机的绕组阻值,发现电机的电阻值为Ω(且不时地发生变化),说明电机绕组不对,最终的办法是更换了这台电机。
3. 故障现象:
无论现场给什么信号电机都不动作,故障判断和检修过程:
直接在电机绕组间通电,电机也不传,抱闸拆下通电电机还是不转,检测电机绕组阻值均正常,手轮摇执行机构动作正常。
检测的结果都正常就是通电时电机不转,此时怀疑电机的转子,把电机拆开,发现转子用手都拧不动,原来转子和电机端盖之间已有一层坚固的灰,把这层灰清除之后,加上一点润滑油,用手就可以拧动了。
重新把电机装好并与执行机构配合装上,通电正常,重新调试。
三.机械故障1.故障现象给电动执行器通电后发现,由全关向全开动作时给20mA的信号发现电机转动,反馈信号滞后十来秒钟才动作,从全关到全开时间是以前的2倍。
故障判断和检修过程:*
根据以上故障现象,可以明显判断出机械传动部分有故障,首先将执行机构外壳打开,检查机械齿轮,发现齿轮上粘附了许多铁渣,固定丝杆的螺钉全部折断,有些被磨成了铁渣,丝杆被卡套顶出,丝杆上的齿轮与电机一级齿轮脱开,所以整个传动滞后。
将齿轮拆除清洗后重装,更换螺钉将丝杆重新固定好,通电检查故障排除。
4.故障现象
电动执行器通电电机转动,但输出轴不动作,反馈值无变化,用手拧手轮输出轴动作。
故障判断和检修过程:
首先电机转动,输出轴不动作,但是用手拧手轮输出轴动作,可以很明显地判断出机械传动部分有问题,应该打开机壳检查。
打开机壳后发现,首先检查电机轴和轴上的齿轮有无松动,电机旁边的一级减速齿轮有无磨损,和损坏,经检查发现一级减速齿轮损坏,电机带动大齿转动时,由于小齿轮与大齿轮之间松动,小齿轮不动作,造成了电机转动轴不动的现象,更换该齿轮,故障排除。
4.故障现象:
给执行机构通电后,给4mA的信号使其从全开朝关方向动作,当动作到中间位置时电机堵转,用手拧手轮也不动作。
故障判断和检修过程:
根据以上故障现象可以判断出机械传动部分有问题,将机壳打开,检查齿轮机构完好,由此可以判断出问题可能是因为输出轴变形磨损造成,用手将其拧到中间位置然后转动丝杆上的齿轮,使输出轴关方向动作,当动作到中间位置时转不动,由此可以确定卡套和丝杆部分有问题,更换新铜套后故障排除。
扬州贝尔阀门控制有限公司专门从事阀门电动装置生产销售的企业,主要产品:
多回转电动装置有M型,DZW型和2SA系列和IQC系列机型;
部分回转电动装置(角行程)有P型,DQW型,BR精小型,PSQ系列机型,QT系列机型,DKJ/DKZ系列机型,2SJ3和2SQ3Q系列机型,IQT系列机型,QT系列机型;
直行程电动装置有3410/3810系列机型,2SB35 系列机型,ZKJ/ZKZ系列机型,PS/PSL系列机型。
上海湖泉阀门有限公司是专门从事阀门和电动阀门生产销售的企业,主要有蝶阀,球阀,闸阀,截止阀,通风阀,止回阀,调节阀及以上各型号电动型阀门等。