制药企业工艺流程图(DOC 145页)
- 格式:doc
- 大小:4.31 MB
- 文档页数:148
各制剂工艺流程图
清晰简洁
1.选料:原料的选择根据药物特性决定,以确保最终胶囊的质量符
合要求。
2.配料:胶囊的配料一般有:填料、润料、增粘剂,等等,根据不
同的药物要求选取合适的原料并进行混合配料。
3.过滤:将混合好的末上在筛网上过滤,以确保末的质量符合要求。
4.压药:将上述末投料到压片机机器腔内,按操作规程进行压制,
以形成胶囊壳片。
5.检验:检查压出的胶囊壳片的大小、质量和外观是否符合要求。
6.润湿:把经过检验合格的胶囊壳片放入润湿机中进行润湿,以使
得胶囊壳片的外表质量更佳。
7.自动充填:将润湿的胶囊壳片放入自动充填机中,按照操作规程
进行操作,使得胶囊壳片内表面均匀质量更佳。
8.检验:检查充填后的胶囊壳片的质量是否符合要求。
9.成型:将充填后的胶囊壳片放入成型机中进行成型,以确保最终
胶囊的质量。
10.检验:检查成型后的胶囊的质量是否符合要求。
11.包装:将验证合格的胶囊放入包装袋中进行包装、封口、称重和
中性化处理。
12.检验:确保最终的产品中无未检出污染物,同时检查包装袋的外观是否符合要求。
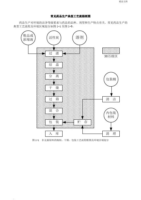
常见药品生产典型工艺流程框图
药品生产对环境的洁净等级要求与药品的品种、剂型和生产特点有关。
常见药品生产的典型工艺流程及环境区域划分如图1-1至图1-9。
图1-1 非无菌原料药精制、干燥、包装工艺流程框图及环境区域划分
图1-2 无菌原料药精制、干燥、包装工艺流程框图及环境区域划分
图1-3 片剂生产工艺流程框图及环境区域划分
图1-4 硬胶囊剂生产工艺流程框图及环境区域划分
图1-5 压制法软胶囊剂生产工艺流程框图及环境区域划分
图1-6 可灭菌小容量注射剂生产工艺流程框图及环境区域划分
图1-7 可灭菌大容量注射剂生产工艺流程框图及环境区域划分
图1-8 注射用无菌分装产品生产工艺流程框图及环境区域划分
图1-9 注射用冷冻干燥制品生产工艺流程框图及环境区域划分
Welcome To Download !!!
欢迎您的下载,资料仅供参考!。
几种典型制药工艺流程图常见药品生产典型工艺流程框图药品生产对环境的洁净等级要求与药品的品种、剂型和生产特点有关。
常见药品生产的典型工艺流程及环境区域划分如图1-1至图1-9。
活性炭粗品或浓缩液溶剂包装桶内包装材料过 滤干 燥过 筛混 合分 离入 库包 装贮 存清 洁清 理30万级区结 晶图1-1 非无菌原料药精制、干燥、包装工艺流程框图及环境区域划分抗生素浓缩液过 滤粗品活性炭溶剂玻璃瓶或铝瓶瓶塞纯水注射用水标签纸箱无菌过滤结 晶分 离干 燥过 筛混 合装 瓶贴 签装 箱入 库喷雾干燥粗 洗精 洗干燥灭菌冷 却过 滤过 滤清 洗10万级区1万级区100级区图1-2 无菌原料药精制、干燥、包装工艺流程框图及环境区域划分30万级区其他包装容器粉 碎玻璃瓶崩解剂润湿剂润滑剂崩解剂包衣液原辅料包装材料内包装材料粗 筛精 筛配 料制 粒湿 法干 法直接法干 燥整 粒总 混压 片冷 却干 燥消 毒配 制包 衣分 装包 装入 库精 洗干 燥冷 却消 毒粗 洗冲模图1-3 片剂生产工艺流程框图及环境区域划分30万级区原辅料粗 筛空心胶囊内包装材料外包装材料精 筛配 料粉 碎填充物制备如粉末,颗粒,小丸等装 囊包 装外包装入 库消 毒消 毒图1-4 硬胶囊剂生产工艺流程框图及环境区域划分10万级区原辅料填充泵胶浆润滑油废油液楔形注入器胶 带旋转模胶 带旋转模模 压切 离胶囊清洗定 型干 燥质 检包 装入 库涂 胶胶皮回收注入图1-5 压制法软胶囊剂生产工艺流程框图及环境区域划分10万级区1万级区原辅料切 割安瓿饮用水纯化水注射用水纸箱纸盒粗 洗精 洗干燥灭菌冷 却配 制粗 滤精 滤灌 装封 口灭菌、检漏印 字包装入 库过 滤过 滤离子交换蒸 馏图1-6 可灭菌小容量注射剂生产工艺流程框图及环境区域划分30万级区10万级区1万级区100级区原辅料称 量输液瓶隔离膜胶塞饮用水浓 配过 滤稀 配粗 滤精 滤灌 装放 膜上 塞翻 塞加 盖扎 口灭菌灯 检贴 签包 装入 库瓶外清洗清洁剂清洗粗 洗清 洗精 洗精 洗精 洗乙醇浸泡清 洗清 洗酸碱处理粗 洗煮 沸清 洗离子交换过 滤纯水化蒸 馏注射用水过 滤铝盖标签纸箱图1-7 可灭菌大容量注射剂生产工艺流程框图及环境区域划分10万级区1万级区100级区胶塞酸碱处理玻璃瓶分装用原料冻干用原料饮用水洗纯化水洗注射用水洗硅 化干燥灭菌灭 菌封 蜡铝盖白蜡目 检纸盖贴 签标签装 箱装 盒纸箱入 库洗 瓶干燥灭菌冷 却分 装轧 盖轧 盖检 查擦洗消毒擦洗消毒配 料无菌过滤灌 装冻 干加 塞图1-8 注射用无菌分装产品生产工艺流程框图及环境区域划分10万级区生物洁净室非无菌原料药溶解配制西林瓶胶塞灭菌过滤定量灌装托盘注入胶塞塞半冷冻干燥冷冻干燥粉碎过筛胶塞全压塞分装到容器轧 盖密 封检 查包 装入 库包装材料洗 瓶干燥灭菌冷 却A法 B法冷 却干燥灭菌硅 化注射用水洗纯化水洗饮用水洗酸碱处理铝盖A:管制抗生素玻璃瓶冻结法B:托盘冻结法图1-9 注射用冷冻干燥制品生产工艺流程框图及环境区域划分。
常见药品生产典型工艺流程框图
药品生产对环境的洁净等级要求与药品的品种、剂型和生产特点有关。
常见药品生产的典型工艺流程及环境区域划分如图1-1至图1-9。
图1-1 非无菌原料药精制、干燥、包装工艺流程框图及环境区域划分
图1-2 无菌原料药精制、干燥、包装工艺流程框图及环境区域划分
图1-3 片剂生产工艺流程框图及环境区域划分
图1-4 硬胶囊剂生产工艺流程框图及环境区域划分
图1-5 压制法软胶囊剂生产工艺流程框图及环境区域划分
图1-6 可灭菌小容量注射剂生产工艺流程框图及环境区域划分
图1-7 可灭菌大容量注射剂生产工艺流程框图及环境区域划分
图1-8 注射用无菌分装产品生产工艺流程框图及环境区域划分
图1-9 注射用冷冻干燥制品生产工艺流程框图及环境区域划分。
各制剂工艺流程图1 、片剂生产工艺流程图2、颗粒剂生产工艺流程图3、胶囊剂生产工艺流程图4、合剂生产工艺流程图5、糖浆剂生产工艺流程图6, 丸剂生产工艺流程图2 、工艺流程说明2 . 1 、前处理工艺流程说明外购的药材经过挑、选、检、去杂质及非药用部位后,川选药机或不绣钢洗药池,将药材上的泥土、灰尘洗净,根据不同品种的要求湿润,以达到提取、榨油、细粉的标准。
用J 六提取的药材,采取切割的方法切片,后经多层带式}气燥机干燥,中药粉碎机粉碎,筛分得到合格粒度的药材,送到净药库。
用J 屯榨油的药材,经多层带式干燥机干燥后,直接送去榨汕。
榨油前,按配方要求混合,用中药粉碎机粗碎,经蒸汽湿润后进入螺旋榨油机榨油,榨出的油经过过滤,再送到综合伟lJ 剂车间。
用一于细粉的药材切片,经多层带式十燥机十燥后,送到双扇灭菌柜灭菌,再用高效粉碎机组和震荡筛粉碎,筛分合格后包装,转入综合制剂车间。
2 . 2 、热回流提取工艺流程说明来自净药库的药材,按配方配料,加入乙醇,用热回流抽提机组进行第· 次醉提,过滤后剩余的药渣,加上辅料,再进行次水提,使有效成分尽量提出。
醇体液静置后过滤,除去杂质,减压浓缩,回收乙醉,并得到醇提浸膏。
水提液静置后过滤,除去杂质,减压浓缩,并得到水提浸膏。
将醇提浸膏与水提浸膏混合,采用可倾式反应锅浓缩,得到稠浸膏,用周转桶送到综合制剂车间。
2 .3 、片剂工艺流程说明原料和辅料经过粉碎过筛,达到要求细度后,按配方称取配料。
配制好的物料,根据需要混合制粒、干燥、整粒、总棍后,再压片、包衣、抛光,经检验合格,按规定包装,送入成品库房。
2 . 4 、合剂工艺流程说明原料和辅料按处方称量后,加入纯化水配制成药液,经力热煮沸、冷却、过滤后,再灌装和轧盖,经过蒸汽检漏、晾瓶、灯检、贴签,检验合格后,装箱送入成品库房。
2 . 5 、糖浆剂工艺流程说明将原料和辅料按处方称量后,加入纯化水配制成药液,经力热煮沸、冷却、过滤、调整浓度后,再灌装和轧盖,经过幻检、贴签,检验合格后,装箱送入成品库房。
瓶装输液车间1、氯化钠注射液工艺流程图:++含量 115℃30ˊ——→ 氯化钠注射液生产过程质量控制要点:2、葡萄糖注射液工艺流程图:+ + 葡萄糖注射液生产过程质量控制要点:3、葡萄糖氯化钠注射液工艺流程图:+ 葡萄糖氯化钠注射液生产过程质量控制要点:4、复方氨基酸注射液(15AA)工艺流程图:复方氨基酸注射液(15AA)生产过程质量控制要点:5、复方氨基酸注射液(18AA)工艺流程图:复方氨基酸注射液(18AA)生产过程质量控制要点:6、复方氨基酸注射液(18AA)30g工艺流程图:复方氨基酸注射液(18AA)30g生产过程质量控制要点:7、甘露醇注射液工艺流程图:+ ++甘露醇注射液生产过程质量控制要点:8、甲硝唑氯化钠注射液工艺流程图:+ + + 测 115℃30ˊ甲硝唑氯化钠注射液生产过程质量控制要点:9、氧氟沙星葡萄糖注射液工艺流程图:+乳酸过滤———————→ 调节PH4.0-5.0 116℃———→ ———→ ———→ 30ˊ氧氟沙星葡萄糖注射液生产过程质量控制要点:10、硫酸依替米星氯化钠注射液工艺流程图:硫酸依替米星氯化钠注射液生产过程质量控制要点:软包装输液车间1、氯化钠注射液工艺流程图:+ + 含量 115℃30ˊ氯化钠注射液生产过程质量控制要点:2、葡萄糖注射液工艺流程图:+ + 115℃ ˊ 葡萄糖注射液生产过程质量控制要点:3、葡萄糖氯化钠注射液工艺流程图:+ 115℃ ˊ 葡萄糖氯化钠注射液生产过程质量控制要点:4、甲硝唑氯化钠注射液工艺流程图:+ ++ 测甲硝唑氯化钠注射液生产过程质量控制要点:小容量注射液车间1、苯甲醇注射液工艺流程图:搅拌至溶解测PH 值(必要时加热)测含量100℃30ˊ苯甲醇注射液生产过程质量控制要点:2、酚磺乙胺注射液工艺流程图:+ 30ˊ酚磺乙胺注射液生产过程质量控制要点:3、肌苷注射液工艺流程图:加热微沸边加边搅拌搅拌调PH 值85℃保温30分钟 测定含量通N 2100℃ + 30ˊ肌苷注射液生产过程质量控制要点:4、氟罗沙星注射液工艺流程图:85-90℃+ 30ˊ30ˊ氟罗沙星注射液生产过程质量控制要点:5、甲钴胺注射液工艺流程图:100℃30ˊ甲钴胺注射液生产过程质量控制要点:6、利巴韦林注射液工艺流程图: 搅拌后搅拌溶解过滤测PH 至澄明100℃含量30ˊ利巴韦林注射液生产过程质量控制要点:7、硫酸阿米卡星注射液:温度15~20℃+药液温度≤20℃用NaOH 调PH 值℃+ˊ硫酸阿米卡星注射液生产过程质量控制要点:8、硫酸奈替米星注射液工艺流程图:通氮气20+静置硫酸奈替米星注射液生产过程质量控制要点:9、硫酸庆大霉素注射液工艺流程图:硫酸庆大霉素注射液生产过程质量控制要点:10、硫酸小诺霉素注射液工艺流程图:搅拌+ 搅拌30ˊ充氮 100℃硫酸小诺霉素注射液生产过程质量控制要点:11、门冬氨酸洛美沙星注射液工艺流程图: 加热搅拌 60℃保温+ + 溶解溶解吸附30ˊ 冷至45℃澄明100℃30ˊ门冬氨酸洛美沙星注射液生产过程质量控制要点:12、灭菌注射用水工艺流程图: 过滤脱炭115℃灭菌注射用水生产过程质量控制要点:13、维生素B 6注射液工艺流程图:溶解+ 调PH 值测含量 100℃30ˊ维生素B 6注射液生产过程质量控制要点:14、维生素B 12注射液工艺流程图:搅拌溶解回流+溶解15ˊ维生素B12注射液生产过程质量控制要点:15、盐酸利多卡因注射液(溶剂用)工艺流程图:测含量调PH 值30ˊ 盐酸利多卡因注射液生产过程质量控制要点:16、盐酸林可霉素注射液工艺流程图:+ +盐酸林可霉素注射液生产过程质量控制要点:17、盐酸普鲁卡因注射液工艺流程图:++ + + 盐酸普鲁卡因注射液生产过程质量控制要点:18、甲磺酸培氟沙星注射液工艺流程图:甲磺酸培氟沙星注射液生产过程质量控制要点:固体制剂车间1、安乃近片工艺流程图: 加粘合剂2、吡嗪酰胺片工艺流程图:3、呋喃妥因肠溶片工艺流程图:呋喃妥因肠溶片生产过程质量控制要点:4、格列本脲片工艺流程图:5、红霉素肠溶片工艺流程图:测含量检验测水分红霉素肠溶片生产过程质量控制要点:6、甲钴胺分散片工艺流程图:7、甲钴胺片工艺流程图:过100目筛,混合均匀过50℃--60℃甲钴胺片生产过程质量控制要点:8、甲基斑蝥胺片工艺流程图:检验9、甲硝唑片工艺流程图:检 验10、卡马西平片工艺流程图:11、诺氟沙星胶囊工艺流程图:检验12、曲匹布通片工艺流程图:检 验13、香菇菌多糖片工艺流程图:测水份香菇菌多糖片生产过程质量控制要点:14、盐酸地芬尼多片该流程图:测含量检验检验测水份盐酸地芬尼多片生产过程质量控制要点:。
制药企业工艺流程图1. 原料采购:从可靠的供应商处采购各种原料,如药物成分、原料药、添加剂等。
2. 原料检验:对采购的原料进行严格的检验,确保符合药品生产的质量要求。
3. 原料准备:对通过检验的原料进行必要的准备处理,如筛选、清洗、粉碎等。
4. 混合制备:将各种原料按配方比例混合,形成药物成分的混合物。
5. 反应制备:按照工艺要求进行各种反应制备,制备出原料药或中间体。
6. 加工制备:对反应制得的产物进行必要的加工,如结晶、干燥、研磨等。
7. 成品制备:将原料药按照配方要求进行成品制备,形成最终的制剂。
8. 包装:将制得的最终制剂进行包装,标注相关信息并进行最终质检。
9. 库存管理:对成品制剂进行库存管理,确保产品的质量和供应的充足性。
10. 质量控制:在整个生产过程中,对产品进行严格的质量控制,确保药品符合国家相关标准。
以上流程便是制药企业的工艺流程图,贯穿整个生产线,确保产品质量和产能的实现。
制药企业的工艺流程图是一个复杂而有序的系统,它涵盖了从原料采购到最终产品包装的整个生产过程。
在每一个环节都进行着严格的质量控制,确保产品的安全、有效性和质量。
下面将详细介绍制药企业工艺流程图中各个环节的相关内容。
原料采购环节是制药企业生产的第一步,原料的质量和来源直接影响着整个产品的质量。
因此,企业需要选择可靠的原料供应商和严格的原料采购标准,确保原料的纯度、稳定性和安全性。
采购的原料主要包括药物成分、原料药、添加剂等。
企业需要建立完善的原料采购管理系统,对原料进行严格的甄别和检验,排除质量不合格的原料。
原料检验环节是保证产品质量的重要环节之一。
对采购的原料进行严格的检验,包括外观检查、理化性质检测、微生物检验等,确保原料符合药品生产的质量要求。
同时,对原料进行严格的抽样检验和记录,确保原料质量数据可溯源。
原料准备环节是将通过检验的原料进行必要的准备处理,包括筛选、清洗、粉碎等。
这一环节的目的是为了使原料能够更好地投入到下一步的生产过程中,确保生产设备的正常运行和产品质量的稳定。
常见药品生产典型工艺流程框图
药品生产对环境的洁净等级要求与药品的品种、剂型和生产特点有关。
常见药品生产的典型工艺流程及环境区域划分如图1-1至图1-9。
图1-1 非无菌原料药精制、干燥、包装工艺流程框图及环境区域划分
图1-2 无菌原料药精制、干燥、包装工艺流程框图及环境区域划分
图1-3 片剂生产工艺流程框图及环境区域划分
图1-4 硬胶囊剂生产工艺流程框图及环境区域划分
图1-5 压制法软胶囊剂生产工艺流程框图及环境区域划分
图1-6 可灭菌小容量注射剂生产工艺流程框图及环境区域划分
图1-7 可灭菌大容量注射剂生产工艺流程框图及环境区域划分
图1-8 注射用无菌分装产品生产工艺流程框图及环境区域划分
图1-9 注射用冷冻干燥制品生产工艺流程框图及环境区域划分
如图,AB=12米,CA⊥AB于点A,DB⊥AB于点B,且AC=4米,点P从B向A运动,每分钟走1米,点Q从B点向D运动,每分钟走2米,P、Q两点同时出发,运动几分钟后,△CPA与△PQB全等?
如图①所示,在△ABC中,∠C=90°,AC=BC,过点C在△ABC外作直线MN,AM⊥MN于点M,BN⊥MN于点N.
(1)求证:MN=AM+BN.
(2)如图②.若过点C直线MN与线段AB相交,AM⊥MN于点M,BN⊥MN于N,(1)中的结论是否仍然成立?说明理由.
图①图②。
制药企业生产工艺我公司的产品为2-脱氧-2,2-二氟-D赤型-呋喃核糖-1-酮糖-3,5双苯甲酸酯、(S)-3-甲基-1-[2-(1-哌啶基)苯基]丁基-1-胺-N-乙酰-L-谷氨酸盐、4-[2-(2-氨基-4-氧-4,7-二氢-1H-吡咯并[2,3-d]嘧啶-5-基)乙基]苯甲酸、N-(2-甲基-5-硝基苯基)-4-(3-吡啶基)-2-嘧啶胺、4-(4-甲基哌嗪-1-基甲基)苯甲酸二盐酸盐、2-甲基-4-氨基-10H噻吩并[2,3-b][1,5]苯二杂氮卓盐酸盐、(S)-(-)-N,N-二甲基-3-羟基-3-(2-噻吩基)丙氨、7-羟基-3,4-二氢-2(1H)-喹啉酮、6吨1-(2,3-二氯苯基)哌嗪盐酸盐。
,具体工艺流程及生产场所如下。
一、2-脱氧-2,2-二氟-D赤型-呋喃核糖-1-酮糖-3,5双苯甲酸酯生产工艺简述1、工艺简述⑴缩合反应向缩合釜中加入定量的丙酮、氯化锌和D-甘露醇,在25-30℃下搅拌反应5-6小时,反应结束后常压蒸馏浓缩至干。
在沉淀釜中加入定量的水、碳酸钾,搅拌后将上部浓缩液加入其中,充分搅拌后析出白色浆状固体碳酸锌,过滤,滤饼用二氯甲烷洗涤,洗涤液加入滤液中,静置分层,水层用二氯甲烷萃取,合并有机层,加入定量的无水硫酸钠进行干燥,之后常压蒸馏二氯甲烷回收套用。
再向釜内加入定量的二氯甲烷和正己烷进行重结晶,析晶液离心甩干,滤饼进入真空干燥箱60℃真空干燥4小时,得到中间体Ⅰ。
⑵氧化反应向氧化釜中加入定量的丙酮和中间体Ⅰ,搅拌溶解后再加入定量的高碘酸钠,控制反应温度在15-35℃左右,保温反应2小时。
反应结束后用无水硫酸钠干燥,最后常压蒸馏浓缩至干,回收溶剂丙酮。
再将残留物转至精馏釜中,67-70℃减压精馏得到中间体Ⅱ。
⑶还原反应向还原釜中加入定量的中间体Ⅱ、二氟溴乙酸乙酯、四氢呋喃、乙醚、锌粉和碘,搅拌后加热至回流反应2-3小时。
反应结束后常压蒸馏回收四氢呋喃和乙醚,再加入定量的乙醚和1mol/L的盐酸,搅拌后静置分层,有机层用无水硫酸钠干燥,最后常压蒸馏回收溶剂乙醚,得到中间体Ⅲ(a/b)。
常见药品生产典型工艺流程框图
药品生产对环境的洁净等级要求与药品的品种、剂型和生产特点有关。
常见药品生产的典型工艺流程及环境区域划分如图1-1至图1-9。
图1-1 非无菌原料药精制、干燥、包装工艺流程框图及环境区域划分
图1-2 无菌原料药精制、干燥、包装工艺流程框图及环境区域划分
图1-3 片剂生产工艺流程框图及环境区域划分
图1-4 硬胶囊剂生产工艺流程框图及环境区域划分
图1-5 压制法软胶囊剂生产工艺流程框图及环境区域划分
图1-6 可灭菌小容量注射剂生产工艺流程框图及环境区域划分
图1-7 可灭菌大容量注射剂生产工艺流程框图及环境区域划分
图1-8 注射用无菌分装产品生产工艺流程框图及环境区域划分
图1-9 注射用冷冻干燥制品生产工艺流程框图及环境区域划分。
各制剂工艺流程图1 、片剂生产工艺流程图2、颗粒剂生产工艺流程图3、胶囊剂生产工艺流程图4、合剂生产工艺流程图2 、工艺流程说明2 . 1 、前处理工艺流程说明外购的药材经过挑、选、检、去杂质及非药用部位后,川选药机或不绣钢洗药池,将药材上的泥土、灰尘洗净,根据不同品种的要求湿润,以达到提取、榨油、细粉的标准。
用J 六提取的药材,采取切割的方法切片,后经多层带式}气燥机干燥,中药粉碎机粉碎,筛分得到合格粒度的药材,送到净药库。
用J 屯榨油的药材,经多层带式干燥机干燥后,直接送去榨汕。
榨油前,按配方要求混合,用中药粉碎机粗碎,经蒸汽湿润后进入螺旋榨油机榨油,榨出的油经过过滤,再送到综合伟lJ 剂车间。
用一于细粉的药材切片,经多层带式十燥机十燥后,送到双扇灭菌柜灭菌,再用高效粉碎机组和震荡筛粉碎,筛分合格后包装,转入综合制剂车间。
2 . 2 、热回流提取工艺流程说明来自净药库的药材,按配方配料,加入乙醇,用热回流抽提机组进行第·次醉提,过滤后剩余的药渣,加上辅料,再进行次水提,使有效成分尽量提出。
醇体液静置后过滤,除去杂质,减压浓缩,回收乙醉,并得到醇提浸膏。
水提液静置后过滤,除去杂质,减压浓缩,并得到水提浸膏。
将醇提浸膏与水提浸膏混合,采用可倾式反应锅浓缩,得到稠浸膏,用周转桶送到综合制剂车间。
2 .3 、片剂工艺流程说明原料和辅料经过粉碎过筛,达到要求细度后,按配方称取配料。
配制好的物料,根据需要混合制粒、干燥、整粒、总棍后,再压片、包衣、抛光,经检验合格,按规定包装,送入成品库房。
2 . 4 、合剂工艺流程说明原料和辅料按处方称量后,加入纯化水配制成药液,经力热煮沸、冷却、过滤后,再灌装和轧盖,经过蒸汽检漏、晾瓶、灯检、贴签,检验合格后,装箱送入成品库房。
2 . 5 、糖浆剂工艺流程说明将原料和辅料按处方称量后,加入纯化水配制成药液,经力热煮沸、冷却、过滤、调整浓度后,再灌装和轧盖,经过幻检、贴签,检验合格后,装箱送入成品库房。
常见药品生产典型工艺流程框图药品生产对环境的洁净等级要求与药品的品种、剂型和生产特点有关。
常见药品生产的典型工艺流程及环境区域划分如图1-1至图1-9。
粗品 瓶塞 活性炭 溶剂纯水纸箱 标签抗生素 浓缩液玻璃瓶 或铝瓶注射用 水100级1万级z ■精洗 干燥灭菌 10万级;冷却清洗 无菌过滤喷雾干燥分离30装瓶 结晶 过筛 过滤混合干燥 入库贴签 过滤装箱 过滤 粗洗 图1-2 无菌原料药精制、干燥、包装工艺流程框图及环境区域划分原辅料筛玻璃瓶干、整粒包衣液混 冲模燥崩解剂 润湿剂润滑剂 崩解剂包装 材料内包装 材料,包衣压片冷却 分装 30万级其他包 装容器直接法包装 粉 精洗 干燥法粗筛冷却 入库消 粗洗430万级区空心胶囊内包装材料胶皮回收废油液质检图1-5 压制法软胶囊剂生产工艺流程框图及环境区域划分10万级区1万级区酸碱处理隔离膜输液瓶原辅料离子交换乙醇浸泡瓶外清洗+煮沸化过滤--A清洗I-A清洗注射用水ESS330万级区1万级区清洁剂清洗、称量<1浓配MK过滤粗滤,士清洗务庭灌装(放膜却上塞翻ES3 10万级区精洗2精洗左口至~p|~ln~n100级区A力口盖滤包装V纸箱贴签V标签灭菌玻璃瓶 胶塞轧 铝盖白蜡纸盖纸箱冻干用 原料 分装用 原料10万级酸碱处理擦洗消毒 产擦洗消毒 洗饮用水洗纯化水洗干干燥灭菌二无菌过滤 :检查灌装冷却冻干加塞 M 轧 灭菌 三:1:+:;:工彳>*々 斗|分.装干燥灭菌7Z3ZZ / d 注射用水洗上/硅化/封蜡 检 目目 1万级贴签 .(标签装盒100级入库 < 装箱—胶塞非无菌原料药西林瓶酸碱处理饮用水洗W干燥灭菌H灭菌过滤纯化水洗,注射用水洗』定 3 定量灌装:,:托盘注入:胶塞塞半:::冷冻干燥却:・冷冻干燥・:■粉碎过筛■: •:胶塞全压塞分装到容器铝盖轧盖•:,密封10万级区:•:生物洁净室A:管制抗生素玻璃瓶冻结法B:托盘冻结法。
制药企业工艺流程图(DOC 145页)瓶装输液车间1、氯化钠注射液工艺流程图:搅拌溶解适量注射用水+ 氯化钠————→ 针用活性炭————→15ˊ过滤脱炭过滤脱炭药液————→ 加水至全量+ 针用活性炭—————→ 精滤测pH含量115℃——→灌封——→ 轧口——→ 灭菌30ˊ——→ 灯检——→ 包装氯化钠注射液生产过程质量控制要点:工序质量控制点质量控制项目频次制水纯化水氯化物、酸、碱度、硫酸盐、钙盐每2小时1次《中国药典》全项每周1次注射用水pH值、氯化物、氨盐、硫酸盐、钙盐每2小时1次内毒素、每天1次《中国药典》全项、微生物每周1次洗瓶过滤后纯化水可见异物3次/班过滤后注射用水可见异物3次/班洗瓶过程水温、水压3次/班洗净后瓶残留水滴、瓶清洁度3次/班配液配制原辅料复核每批药液主药含量、pH值、可见异物每批折叠式滤膜完整性试验1/班灌封胶塞洗涤水可见异物1次/每锅灌装后半成品药液装量1次/每小时可见异物1次/批轧口铝盖铝盖紧密度随时/班灭菌灭菌柜标志、装量、压力、温度、时间、记录每柜灭菌前半成品标志、存放区每柜灭菌后半成品外壁清洁度、标志、存放区每柜灯检灯检品可见异物每个工号/班每瓶标志随时/班包装贴签内容、外观随时/班装箱数量、装箱单、内容每箱2、葡萄糖注射液工艺流程图:煮沸搅拌溶解适量注射用水+ 葡萄糖+ 针用活性炭煮沸过滤脱炭药液加水至全量+ 针用活性炭15ˊ过滤脱炭精滤灌封轧口测pH值含量115℃灭菌灯检包装30ˊ葡萄糖注射液生产过程质量控制要点:工序质量控制点质量控制项目频次制水纯化水氯化物、酸、碱度、硫酸盐、钙盐每2小时1次《中国药典》全项每周1次注射用水pH值、氯化物、氨盐、硫酸盐、钙盐每2小时1次内毒素、每天1次《中国药典》全项、微生物每周1次洗瓶过滤后纯化水可见异物3次/班过滤后注射用水可见异物3次/班洗瓶过程水温、水压3次/班洗净后瓶残留水滴、瓶清洁度3次/班配液配制原辅料复核每批药液主药含量、pH值、可见异物每批折叠式滤膜完整性试验1/班胶塞洗涤水可见异物1次/每锅灌装后半成品药液装量1次/每小时可见异物1次/批轧口铝盖铝盖紧密度随时/班灭菌灭菌柜标志、装量、压力、温度、时间、记录每柜灭菌前半成品标志、存放区每柜灭菌后半成品外壁清洁度、标志、存放区每柜灯检灯检品可见异物每个工号/班每瓶标志随时/班包装贴签内容、外观随时/班装箱数量、装箱单、内容每箱3、葡萄糖氯化钠注射液工艺流程图:煮沸搅拌溶解适量注射用水葡萄糖+氯化钠针用活性炭煮沸过滤脱炭药液加水至全量+ 针用活性炭15ˊ过滤脱炭精滤灌封轧口测pH值含量115℃灭菌灯检包装30ˊ葡萄糖氯化钠注射液生产过程质量控制要点:工序质量控制点质量控制项目频次制水纯化水氯化物、酸、碱度、硫酸盐、钙盐每2小时1次《中国药典》全项每周1次注射用水pH值、氯化物、氨盐、硫酸盐、钙盐每2小时1次内毒素、每天1次《中国药典》全项、微生物每周1次洗瓶过滤后纯化水可见异物3次/班过滤后注射用水可见异物3次/班洗瓶过程水温、水压3次/班洗净后瓶残留水滴、瓶清洁度3次/班配液配制原辅料复核每批药液主药含量、pH值、可见异物每批折叠式滤膜完整性试验1/班胶塞洗涤水可见异物1次/每锅灌装后半成品药液装量1次/每小时可见异物1次/批轧口铝盖铝盖紧密度随时/班灭菌灭菌柜标志、装量、压力、温度、时间、记录每柜灭菌前半成品标志、存放区每柜灭菌后半成品外壁清洁度、标志、存放区每柜灯检灯检品可见异物每个工号/班每瓶标志随时/班包装贴签内容、外观随时/班装箱数量、装箱单、内容每箱4、复方氨基酸注射液(15AA)工艺流程图:复方氨基酸注射液(15AA)生产过程质量控制要点:工序质量控制点质量控制项目频次制水纯化水氯化物、酸、碱度、硫酸盐、钙盐每2小时1次《中国药典》全项每周1次注射用水pH值、氯化物、氨盐、硫酸盐、钙盐每2小时1次内毒素、每天1次《中国药典》全项、微生物每周1次洗瓶过滤后纯化水可见异物3次/班过滤后注射用水可见异物3次/班洗瓶过程水温、水压3次/班洗净后瓶残留水滴、瓶清洁度3次/班配液配制原辅料复核每批药液主药含量、pH值、可见异物每批折叠式滤膜完整性试验1/班灌装胶塞洗涤水可见异物1次/每锅灌装后半成品药液装量1次/每小时可见异物1次/批轧口铝盖铝盖紧密度随时/班灭菌灭菌柜标志、装量、压力、温度、时间、记录每柜灭菌前半成品标志、存放区每柜灭菌后半成品外壁清洁度、标志、存放区每柜灯检灯检品可见异物每个工号/班每瓶标志随时/班包装贴签内容、外观随时/班装箱数量、装箱单、内容每箱5、复方氨基酸注射液(18AA)工艺流程图:复方氨基酸注射液(18AA)生产过程质量控制要点:工序质量控制点质量控制项目频次制水纯化水氯化物、酸、碱度、硫酸盐、钙盐每2小时1次《中国药典》全项每周1次注射用水pH值、氯化物、氨盐、硫酸盐、钙盐每2小时1次内毒素、每天1次《中国药典》全项、微生物每周1次洗瓶过滤后纯化水可见异物3次/班过滤后注射用水可见异物3次/班洗瓶过程水温、水压3次/班洗净后瓶残留水滴、瓶清洁度3次/班配液配制原辅料复核每批药液主药含量、pH值、可见异物每批折叠式滤膜完整性试验1/班胶塞洗涤水可见异物1次/每锅灌装后半成品药液装量1次/每小时可见异物1次/批轧口铝盖铝盖紧密度随时/班灭菌灭菌柜标志、装量、压力、温度、时间、记录每柜灭菌前半成品标志、存放区每柜灭菌后半成品外壁清洁度、标志、存放区每柜灯检灯检品可见异物每个工号/班每瓶标志随时/班包装贴签内容、外观随时/班装箱数量、装箱单、内容每箱6、复方氨基酸注射液(18AA)30g工艺流程图:复方氨基酸注射液(18AA)30g生产过程质量控制要点:工序质量控制点质量控制项目频次制水纯化水氯化物、酸、碱度、硫酸盐、钙盐每2小时1次《中国药典》全项每周1次注射用水pH值、氯化物、氨盐、硫酸盐、钙盐每2小时1次内毒素、每天1次《中国药典》全项、微生物每周1次洗瓶过滤后纯化水可见异物3次/班过滤后注射用水可见异物3次/班洗瓶过程水温、水压3次/班洗净后瓶残留水滴、瓶清洁度3次/班配液配制原辅料复核每批药液主药含量、pH值、可见异物每批折叠式滤膜完整性试验1/班胶塞洗涤水可见异物1次/每锅灌装后半成品药液装量1次/每小时可见异物1次/批轧口铝盖铝盖紧密度随时/班灭菌灭菌柜标志、装量、压力、温度、时间、记录每柜灭菌前半成品标志、存放区每柜灭菌后半成品外壁清洁度、标志、存放区每柜灯检灯检品可见异物每个工号/班每瓶标志随时/班包装贴签内容、外观随时/班装箱数量、装箱单、内容每箱7、甘露醇注射液工艺流程图:煮沸搅拌溶解40%总量的注射用水——→ + 甘露醇————→ + 针用活性炭煮沸30 ˊ过滤脱炭过滤脱炭—————→药液—————→加水至全量+ 针用活性炭—————→泵至稀配锅测PH含量120℃精滤——→灌封——→轧口————→灭菌——→灯检40ˊ——→包装甘露醇注射液生产过程质量控制要点:工序质量控制点质量控制项目频次制水纯化水氯化物、酸碱度、硫酸盐、钙盐每2小时1次《中国药典》全项每周1次注射用水pH值、氯化物、氨盐、硫酸盐、钙盐每2小时1次内毒素每天1次《中国药典》全项、微生物每周1次洗瓶过滤后纯化水可见异物3次/班过滤后注射用水可见异物3次/班洗瓶过程水温、水压3次/班洗净后瓶残留水滴、瓶清洁度3次/班灌装配制原辅料复核每批药液主药含量、pH值、可见异物每批折叠式滤膜完整性试验1/班胶塞洗涤水可见异物1次/每锅灌装后半成品药液装量1次/每小时可见异物1次/批轧口铝盖铝盖紧密度随时/班灭菌灭菌柜标志、装量、压力、温度、时间、记录每柜灭菌前半成品标志、存放区每柜灭菌后半成品外壁清洁度、标志、存放区每柜灯检灯检品可见异物每个工号/班每瓶标志随时/班包装贴签内容、外观随时/班装箱数量、装箱单、内容每箱8、甲硝唑氯化钠注射液工艺流程图:适量注射用水+ 甲硝唑+ 氯化钠————→加注射用水至全量过滤脱炭+ 针用活性炭——————→精滤——→灌封——→轧口测PH含量115℃灭菌———→灯检———→包装30ˊ甲硝唑氯化钠注射液生产过程质量控制要点:工序质量控制点质量控制项目频次制水纯化水氯化物、酸、碱度、硫酸盐、钙盐每2小时1次《中国药典》全项每周1次注射用水pH值、氯化物、氨盐、硫酸盐、钙盐每2小时1次内毒素、每天1次《中国药典》全项、微生物每周1次洗瓶过滤后纯化水可见异物3次/班过滤后注射用水可见异物3次/班洗瓶过程水温、水压3次/班洗净后瓶残留水滴、瓶清洁度3次/班配液配制原辅料复核每批药液主药含量、pH值、可见异物每批折叠式滤膜完整性试验1/班胶塞洗涤水可见异物1次/每锅灌装后半成品药液装量1次/每小时可见异物1次/批轧口铝盖铝盖紧密度随时/班灭菌灭菌柜标志、装量、压力、温度、时间、记录每柜灭菌前半成品标志、存放区每柜灭菌后半成品外壁清洁度、标志、存放区每柜灯检灯检品可见异物每个工号/班每瓶标志随时/班包装贴签内容、外观随时/班装箱数量、装箱单、内容每箱9、氧氟沙星葡萄糖注射液工艺流程图:搅拌溶解煮沸50%注射用水+ 葡萄糖—————→ + 针用活性炭———→过滤脱炭15ˊ冷却至30℃搅拌少量注射用水————→ 氧氟沙星——————→ 澄清溶液—→稀配锅NaOH溶液乳酸过滤———————→ 添加注射用水至全量———→灌封———→ 轧口调节PH4.0-5.0116℃———→ 灭菌———→ 灯检———→ 包装30ˊ氧氟沙星葡萄糖注射液生产过程质量控制要点:工序质量控制点质量控制项目频次制水纯化水氯化物、酸、碱度、硫酸盐、钙盐每2小时1次《中国药典》全项每周1次注射用水pH值、氯化物、氨盐、硫酸盐、钙盐每2小时1次内毒素、每天1次《中国药典》全项、微生物每周1次洗瓶过滤后纯化水可见异物3次/班过滤后注射用水可见异物3次/班洗瓶过程水温、水压3次/班洗净后瓶残留水滴、瓶清洁度3次/班配液配制原辅料复核每批药液主药含量、pH值、可见异物每批折叠式滤膜完整性试验1/班灌封胶塞洗涤水可见异物1次/每锅灌装后半成品药液装量1次/每小时可见异物1次/批轧口铝盖铝盖紧密度随时/班灭菌灭菌柜标志、装量、压力、温度、时间、记录每柜灭菌前半成品标志、存放区每柜灭菌后半成品外壁清洁度、标志、存放区每柜灯检灯检品可见异物每个工号/班每瓶标志随时/班包装贴签内容、外观随时/班装箱数量、装箱单、内容每箱10、硫酸依替米星氯化钠注射液工艺流程图:硫酸依替米星氯化钠注射液生产过程质量控制要点:工序质量控制点质量控制项目频次制水纯化水氯化物、酸、碱度、硫酸盐、钙盐每2小时1次《中国药典》全项每周1次注射用水pH值、氯化物、氨盐、硫酸盐、钙盐每2小时1次内毒素、每天1次《中国药典》全项、微生物每周1次洗瓶过滤后纯化水澄明度3次/班过滤后注射用水澄明度3次/班洗瓶过程水温、水压、毛刷3次/班洗净后瓶残留水滴、瓶清洁度3次/班配液配制原辅料复核每批药液主药含量、pH值、澄明度每批折叠式滤膜完整性试验1/班灌封涤纶薄膜洗涤水澄明度1次/每锅胶塞洗涤水澄明度1次/每锅灌装后半成品药液装量1次/每小时澄明度1次/批轧口铝盖铝盖紧密度随时/班灭菌灭菌柜标志、装量、压力、温度、时间、记录每柜灭菌前半成品标志、存放区每柜灭菌后半成品外壁清洁度、标志、存放区每柜灯检灯检品澄明度每个工号/班每瓶标志随时/班包装贴签内容、外观随时/班装箱数量、装箱单、内容每箱软包装输液车间1、氯化钠注射液工艺流程图:搅拌溶解煮沸适量注射用水+ 氯化钠————→ 针用活性炭————→15ˊ过滤脱炭过滤脱炭药液————→ 加水至全量+ 针用活性炭—————→ 精滤测pH含量115℃——→灌封———→灭菌——→检漏——→灯检30ˊ——→包装氯化钠注射液生产过程质量控制要点:工序质量控制点质量控制项目频次制水纯化水氯化物、酸、碱度、硫酸盐、钙盐每2小时1次《中国药典》全项每周1次注射用水pH值、氯化物、氨盐、硫酸盐、钙盐每2小时1次内毒素、每天1次《中国药典》全项、微生物每周1次配液配制原辅料复核每批药液主药含量、pH值、可见异物每批折叠式滤膜完整性试验1/班灌封制袋边缘焊接严密1次/每锅封口封口焊接严密,无明显偏移1次/每锅灌装后半成品药液装量1次/每小时可见异物1次/批灭菌灭菌柜标志、装量、压力、温度、时间、记录每柜灭菌前半成品标志、存放区每柜灭菌后半成品外壁清洁度、标志、存放区每柜灯检灯检品可见异物每个工号/班每袋标志随时/班包装装箱数量、装箱单、内容每箱2、葡萄糖注射液工艺流程图:煮沸适量注射用水+ 葡萄糖+ 针用活性炭煮沸过滤脱炭药液加水至全量+ 针用活性炭15ˊ过滤脱炭115℃精滤灌封灭菌测pH值含量30ˊ检漏灯检包装葡萄糖注射液生产过程质量控制要点:工序质量控制点质量控制项目频次制水纯化水氯化物、酸、碱度、硫酸盐、钙盐每2小时1次《中国药典》全项每周1次注射用水pH值、氯化物、氨盐、硫酸盐、钙盐每2小时1次内毒素、每天1次《中国药典》全项、微生物每周1次配液配制原辅料复核每批药液主药含量、pH值、可见异物每批折叠式滤膜完整性试验1/班灌封制袋边缘焊接严密1次/每锅封口封口焊接严密,无明显偏移1次/每锅灌装后半成品药液装量1次/每小时可见异物1次/批灭菌灭菌柜标志、装量、压力、温度、时间、记录每柜灭菌前半成品标志、存放区每柜灭菌后半成品外壁清洁度、标志、存放区每柜灯检灯检品可见异物每个工号/班每袋标志随时/班包装装箱数量、装箱单、内容每箱3、葡萄糖氯化钠注射液工艺流程图:适量注射用水葡萄糖+氯化钠针用活性炭煮沸过滤脱炭药液加水至全量+ 针用活性炭15分钟过滤脱炭精滤灌封灭菌测pH值含量检漏灯检包装葡萄糖氯化钠注射液生产过程质量控制要点:工序质量控制点质量控制项目频次制水纯化水氯化物、酸、碱度、硫酸盐、钙盐每2小时1次《中国药典》全项每周1次注射用水pH值、氯化物、氨盐、硫酸盐、钙盐每2小时1次内毒素、每天1次《中国药典》全项、微生物每周1次配液配制原辅料复核每批药液主药含量、pH值、可见异物每批折叠式滤膜完整性试验1/班灌封制袋边缘焊接严密1次/每锅封口封口焊接严密,无明显偏移1次/每锅灌装后半成品药液装量1次/每小时可见异物1次/批灭菌灭菌柜标志、装量、压力、温度、时间、记录每柜灭菌前半成品标志、存放区每柜灭菌后半成品外壁清洁度、标志、存放区每柜灯检灯检品可见异物每个工号/班每袋标志随时/班包装装箱数量、装箱单、内容每箱4、甲硝唑氯化钠注射液工艺流程图:适量注射用水+ 甲硝唑+ 氯化钠————→加注射用水至全量过滤脱炭115℃+ 针用活性炭—————→精滤——→灌封———→灭菌测PH含量30ˊ——→检漏——→灯检——→包装甲硝唑氯化钠注射液生产过程质量控制要点:工序质量控制点质量控制项目频次制水纯化水氯化物、酸、碱度、硫酸盐、钙盐每2小时1次《中国药典》全项每周1次注射用水pH值、氯化物、氨盐、硫酸盐、钙盐每2小时1次内毒素、每天1次《中国药典》全项、微生物每周1次配液配制原辅料复核每批药液主药含量、pH值、可见异物检查每批折叠式滤膜完整性试验1/班灌封制袋边缘焊接严密1次/每锅封口封口焊接严密,无明显偏移1次/每锅灌装后半成品药液装量1次/每小时可见异物1次/批灭菌灭菌柜标志、装量、压力、温度、时间、记录每柜灭菌前半成品标志、存放区每柜灭菌后半成品外壁清洁度、标志、存放区每柜灯检灯检品可见异物每个工号/班每袋标志随时/班包装装箱数量、装箱单、内容每箱小容量注射液车间1、苯甲醇注射液工艺流程图:搅拌至溶解测PH值苯甲醇+ 适量注射用水—————→注射用水加至全量+ 活性炭——→(必要时加热)测含量100℃精滤———→灌封———→灭菌—→灯检—→包装—→入库30ˊ苯甲醇注射液生产过程质量控制要点:工序质量控制点质量控制项目频次制水纯化水电导率1次/2h《中国药典》全项1次/周注射用水pH值、氯化物、氨盐1次/2h《中国药典》全项1次/周理瓶原包装安瓿检验报告单、清洁度定时/班洗瓶隧道烘箱温度定时/班洗净后安瓿清洁度定时/班烘干后安瓿清洁与干燥程度定时/班配液药液批号划分与编制、主药含量、PH值、可见异物、色泽、过滤器材的检查(如起泡点等)每批灌封烘干安瓿清洁度随时/班药液色泽随时/班可见异物随时/班封口长度、外观随时/班灌封后半成品药液装量、可见异物随时/班灭菌灭菌柜标记、装量、温度、时间、记录、真空度每锅灭菌后半成品外观清洁度、标记、存放区每批灯检灯检品抽查可见异物定时/班每盘标记、灯检者代号、存放区随时/班包装在包装品每盘标记、灯检者代号每盘印字批号、内容、字迹随时/班装盒数量、说明书、标签随时/班标签内容、数量、使用记录每批装箱数量、装箱单、印刷内容、装箱者代号每箱2、酚磺乙胺注射液工艺流程图:溶亚硫酸氢钠、依地酸二钠+ 适量注射用水+ 酚磺乙胺+ 磷酸二氢钠测PH搅拌+活性炭加NaOH调PH值加注射用水至全量精滤100℃充N2 灌封灭菌灯检包装入库酚磺乙胺注射液生产过程质量控制要点:工序质量控制点质量控制项目频次制水纯化水电导率1次/2h《中国药典》全项1次/周注射用水pH值、氯化物、氨盐1次/2h《中国药典》全项1次/周理瓶原包装安瓿检验报告单、清洁度定时/班洗瓶隧道烘箱温度定时/班洗净后安瓿清洁度定时/班烘干后安瓿清洁与干燥程度定时/班配液药液批号划分与编制、主药含量、PH值、可见异物、色泽、过滤器材的检查(如起泡点等)每批灌封烘干安瓿清洁度随时/班药液色泽随时/班可见异物随时/班封口长度、外观随时/班灌封后半成品药液装量、可见异物随时/班灭菌灭菌柜标记、装量、温度、时间、记录、真空度每锅灭菌前后半成品外观清洁度、标记、存放区每批灯检灯检品抽查可见异物定时/班包装在包装品每盘标记、灯检者代号每盘印字批号、内容、字迹随时/班装盒数量、说明书、标签随时/班标签内容、数量、使用记录每批装箱数量、装箱单、印刷内容、装箱者代号每箱3、肌苷注射液工艺流程图:加热微沸占50%总量的注射用水+ 肌苷+ 依地酸二钠+ 浓度为10%的NaOH边加边搅拌搅拌调PH值+ 氯化钠加注射用水至全量85℃保温30分钟测定含量通N2100℃+ 针用活性炭过滤灌封灭菌30ˊ灯检包装入库肌苷注射液生产过程质量控制要点:工序质量控制点质量控制项目频次制水纯化水电导率1次/2h《中国药典》全项1次/周注射用水PH值、氯化物、氨盐1次/2h《中国药典》全项1次/周理瓶原包装安瓿检验报告单、清洁度定时/班洗瓶隧道烘箱温度定时/班洗净后安瓿清洁度定时/班烘干后安瓿清洁与干燥程度定时/班配液药液批号划分与编制、主药含量、PH值、可见异物、色泽、过滤器材的检查(如起泡点等)每批灌封烘干安瓿清洁度随时/班药液色泽随时/班可见异物随时/班封口长度、外观随时/班灌封后半成品药液装量、可见异物随时/班灭菌灭菌柜标记、装量、温度、时间、记录、真空度每锅灭菌后半成品外观清洁度、标记、存放区每批灯检灯检品抽查可见异物定时/班每盘标记、灯检者代号、存放区随时/班包装在包装品每盘标记、灯检者代号每盘印字批号、内容、字迹随时/班装盒数量、说明书、标签随时/班标签内容、数量、使用记录每批装箱数量、装箱单、印刷内容、装箱者代号每箱4、氟罗沙星注射液工艺流程图:搅拌溶解加热至85-90℃适量注射用水———→+ 依地酸二钠——————→+ 氟罗沙星+ 20%乳酸搅拌80℃保温30ˊ———→加NaOH调PH值——→活性炭——————→过滤——→溶解冷却至45℃100℃加注射用水至全量——→测含量——→充N2——→灌封———→30ˊ灭菌——→灯检———→包装——→入库氟罗沙星注射液生产过程质量控制要点:工序质量控制点质量控制项目频次制水纯化水电导率1次/2h《中国药典》全项1次/周注射用水pH值、氯化物、氨盐1次/2h《中国药典》全项1次/周理瓶原包装安瓿检验报告单、清洁度定时/班洗瓶隧道烘箱温度定时/班洗净后安瓿清洁度定时/班烘干后安瓿清洁与干燥程度定时/班配液药液批号划分与编制、主药含量、PH值、可见异物、色泽、过滤器材的检查(如起泡点等)每批灌封烘干安瓿清洁度随时/班药液色泽随时/班可见异物随时/班封口长度、外观随时/班灌封后半成品药液装量、可见异物随时/班灭菌灭菌柜标记、装量、温度、时间、记录、真空度每锅灭菌前后半成品外观清洁度、标记、存放区每批灯检灯检品抽查可见异物定时/班包装在包装品每盘标记、灯检者代号每盘印字批号、内容、字迹随时/班装盒数量、说明书、标签随时/班标签内容、数量、使用记录每批装箱数量、装箱单、印刷内容、装箱者代号每箱5、甲钴胺注射液工艺流程图:溶解甘露醇+ 适量注射用水+ 活性炭过滤脱炭+ 甲钴胺加盐酸溶液调PH值加注射用水至全量测含量℃精滤灌封灭菌灯检包装30ˊ入库甲钴胺注射液生产过程质量控制要点:工序质量控制点质量控制项目频次制水纯化水电导率1次/2h《中国药典》全项1次/周注射用水pH值、氯化物、氨盐1次/2h《中国药典》全项1次/周理瓶原包装安瓿检验报告单、清洁度定时/班洗瓶隧道烘箱温度定时/班洗净后安瓿清洁度定时/班烘干后安瓿清洁与干燥程度定时/班配液药液批号划分与编制、主药含量、PH值、可见异物、色泽、过滤器材的检查(如起泡点等)每批灌封烘干安瓿清洁度随时/班药液色泽随时/班可见异物随时/班封口长度、外观随时/班灌封后半成品药液装量、可见异物随时/班灭菌灭菌柜标记、装量、温度、时间、记录、真空度每锅灭菌前后半成品外观清洁度、标记、存放区每批灯检灯检品抽查可见异物定时/班包装在包装品每盘标记、灯检者代号每盘。