制药工艺流程图解析
- 格式:ppt
- 大小:14.84 MB
- 文档页数:40
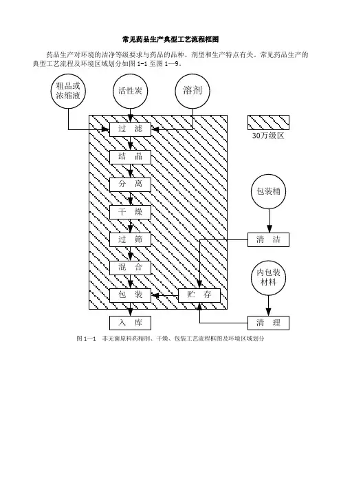
常见药品生产典型工艺流程框图
药品生产对环境的洁净等级要求与药品的品种、剂型和生产特点有关。
常见药品生产的典型工艺流程及环境区域划分如图1-1至图1—9。
图1—1 非无菌原料药精制、干燥、包装工艺流程框图及环境区域划分
图1-2 无菌原料药精制、干燥、包装工艺流程框图及环境区域划分
图1-3 片剂生产工艺流程框图及环境区域划分
图1—4 硬胶囊剂生产工艺流程框图及环境区域划分
图1—5 压制法软胶囊剂生产工艺流程框图及环境区域划分
图1—6 可灭菌小容量注射剂生产工艺流程框图及环境区域划分
图1-7 可灭菌大容量注射剂生产工艺流程框图及环境区域划分
图1-8 注射用无菌分装产品生产工艺流程框图及环境区域划分
图1—9 注射用冷冻干燥制品生产工艺流程框图及环境区域划分。
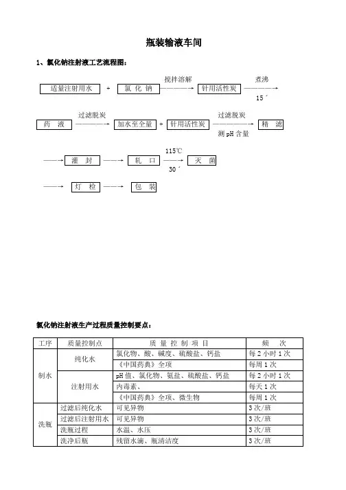
瓶装输液车间1、氯化钠注射液工艺流程图:搅拌溶解煮沸+ ————→15ˊ过滤脱炭过滤脱炭————→ + —————→测pH含量115℃——→ ——→30ˊ——→ ——→氯化钠注射液生产过程质量控制要点:2、葡萄糖注射液工艺流程图:煮沸+ + 煮沸+ 15ˊ过滤脱炭测pH值含量115℃30ˊ葡萄糖注射液生产过程质量控制要点:3、葡萄糖氯化钠注射液工艺流程图:煮沸+ 15ˊ过滤脱炭测pH值含量115℃30ˊ葡萄糖氯化钠注射液生产过程质量控制要点:4、复方氨基酸注射液(15AA)工艺流程图:复方氨基酸注射液(15AA)生产过程质量控制要点:5、复方氨基酸注射液(18AA)工艺流程图:复方氨基酸注射液(18AA)生产过程质量控制要点:6、复方氨基酸注射液(18AA)30g工艺流程图:复方氨基酸注射液(18AA)30g生产过程质量控制要点:7、甘露醇注射液工艺流程图:煮沸搅拌溶解+ +煮沸30 ˊ过滤脱炭过滤脱炭+泵至稀配锅测PH含量120℃40ˊ甘露醇注射液生产过程质量控制要点:8、甲硝唑氯化钠注射液工艺流程图:+ +过滤脱炭+测PH含量115℃30ˊ甲硝唑氯化钠注射液生产过程质量控制要点:9、氧氟沙星葡萄糖注射液工艺流程图:搅拌溶解煮沸+15ˊ冷却至30℃搅拌————→NaOH溶液乳酸过滤———————→调节PH4.0-5.0116℃———→ ———→ ———→ 30ˊ氧氟沙星葡萄糖注射液生产过程质量控制要点:10、硫酸依替米星氯化钠注射液工艺流程图:硫酸依替米星氯化钠注射液生产过程质量控制要点:软包装输液车间1、氯化钠注射液工艺流程图:搅拌溶解煮沸+15ˊ过滤脱炭过滤脱炭+测pH含量115℃30ˊ氯化钠注射液生产过程质量控制要点:2、葡萄糖注射液工艺流程图:煮沸+ + 煮沸+ 15ˊ过滤脱炭测pH值含量葡萄糖注射液生产过程质量控制要点:3、葡萄糖氯化钠注射液工艺流程图:煮沸+ 15分钟过滤脱炭测pH值含量葡萄糖氯化钠注射液生产过程质量控制要点:4、甲硝唑氯化钠注射液工艺流程图:搅拌溶解+ +过滤脱炭115℃+测PH含量30ˊ甲硝唑氯化钠注射液生产过程质量控制要点:小容量注射液车间1、苯甲醇注射液工艺流程图:搅拌至溶解测PH值+ +(必要时加热)测含量100℃30ˊ苯甲醇注射液生产过程质量控制要点:2、酚磺乙胺注射液工艺流程图:+测PH值酚磺乙胺注射液生产过程质量控制要点:3、肌苷注射液工艺流程图:加热微沸边加边搅拌搅拌调PH值+85℃保温30分钟测定含量通N100℃+30ˊ肌苷注射液生产过程质量控制要点:4、氟罗沙星注射液工艺流程图:加热至85-90℃+搅拌80℃保温30溶解冷却至45℃100℃30ˊ氟罗沙星注射液生产过程质量控制要点:5、甲钴胺注射液工艺流程图:+ + +甲钴胺注射液生产过程质量控制要点:6、利巴韦林注射液工艺流程图:搅拌后搅拌溶解+ +过滤测PH 至澄明100℃含量30ˊ利巴韦林注射液生产过程质量控制要点:7、硫酸阿米卡星注射液:充N2 30ˊ搅拌15~20℃搅拌搅拌均匀测PH值+药液温度≤20℃用NaOH调PH值通N2 搅拌15ˊ100℃+静止15ˊ30ˊ硫酸阿米卡星注射液生产过程质量控制要点:8、硫酸奈替米星注射液工艺流程图:通氮气20ˊ溶解后+ +搅拌均匀+ + 搅拌20ˊ105℃静置10ˊ20ˊ硫酸奈替米星注射液生产过程质量控制要点:9、硫酸庆大霉素注射液工艺流程图:+30ˊ硫酸庆大霉素注射液生产过程质量控制要点:10、硫酸小诺霉素注射液工艺流程图:搅拌+ +搅拌30ˊ充氮100℃+30ˊ硫酸小诺霉素注射液生产过程质量控制要点:11、门冬氨酸洛美沙星注射液工艺流程图:加热搅拌60℃保温+ +溶解溶解吸附30ˊ冷至45℃澄明100℃30ˊ门冬氨酸洛美沙星注射液生产过程质量控制要点:。
瓶装输液车间1、氯化钠注射液工艺流程图:搅拌溶解煮沸适量注射用水+ 氯化钠————→ 针用活性炭————→15ˊ过滤脱炭过滤脱炭药液————→ 加水至全量+ 针用活性炭—————→ 精滤测pH含量115℃——→灌封——→ 轧口——→ 灭菌30ˊ——→ 灯检——→ 包装氯化钠注射液生产过程质量控制要点:工序质量控制点质量控制项目频次制水纯化水氯化物、酸、碱度、硫酸盐、钙盐每2小时1次《中国药典》全项每周1次注射用水pH值、氯化物、氨盐、硫酸盐、钙盐每2小时1次内毒素、每天1次《中国药典》全项、微生物每周1次洗瓶过滤后纯化水可见异物3次/班过滤后注射用水可见异物3次/班洗瓶过程水温、水压3次/班洗净后瓶残留水滴、瓶清洁度3次/班配液配制原辅料复核每批药液主药含量、pH值、可见异物每批折叠式滤膜完整性试验1/班灌封胶塞洗涤水可见异物1次/每锅灌装后半成品药液装量1次/每小时可见异物1次/批轧口铝盖铝盖紧密度随时/班灭菌灭菌柜标志、装量、压力、温度、时间、记录每柜灭菌前半成品标志、存放区每柜灭菌后半成品外壁清洁度、标志、存放区每柜灯检灯检品可见异物每个工号/班每瓶标志随时/班包装贴签内容、外观随时/班装箱数量、装箱单、内容每箱2、葡萄糖注射液工艺流程图:煮沸搅拌溶解适量注射用水+ 葡萄糖+ 针用活性炭煮沸药液加水至全量+ 针用活性炭15ˊ过滤脱炭精滤灌封轧口测pH值含量115℃灭菌灯检包装30ˊ葡萄糖注射液生产过程质量控制要点:工序质量控制点质量控制项目频次制水纯化水氯化物、酸、碱度、硫酸盐、钙盐每2小时1次《中国药典》全项每周1次注射用水pH值、氯化物、氨盐、硫酸盐、钙盐每2小时1次内毒素、每天1次《中国药典》全项、微生物每周1次洗瓶过滤后纯化水可见异物3次/班过滤后注射用水可见异物3次/班洗瓶过程水温、水压3次/班洗净后瓶残留水滴、瓶清洁度3次/班配液配制原辅料复核每批药液主药含量、pH值、可见异物每批折叠式滤膜完整性试验1/班胶塞洗涤水可见异物1次/每锅灌装后半成品药液装量1次/每小时可见异物1次/批轧口铝盖铝盖紧密度随时/班灭菌灭菌柜标志、装量、压力、温度、时间、记录每柜灭菌前半成品标志、存放区每柜灭菌后半成品外壁清洁度、标志、存放区每柜灯检灯检品可见异物每个工号/班每瓶标志随时/班包装贴签内容、外观随时/班装箱数量、装箱单、内容每箱3、葡萄糖氯化钠注射液工艺流程图:适量注射用水葡萄糖+氯化钠针用活性炭煮沸药液加水至全量+ 针用活性炭15ˊ过滤脱炭精滤灌封轧口测pH值含量115℃灭菌灯检包装30ˊ葡萄糖氯化钠注射液生产过程质量控制要点:工序质量控制点质量控制项目频次制水纯化水氯化物、酸、碱度、硫酸盐、钙盐每2小时1次《中国药典》全项每周1次注射用水pH值、氯化物、氨盐、硫酸盐、钙盐每2小时1次内毒素、每天1次《中国药典》全项、微生物每周1次洗瓶过滤后纯化水可见异物3次/班过滤后注射用水可见异物3次/班洗瓶过程水温、水压3次/班洗净后瓶残留水滴、瓶清洁度3次/班配液配制原辅料复核每批药液主药含量、pH值、可见异物每批折叠式滤膜完整性试验1/班胶塞洗涤水可见异物1次/每锅灌装后半成品药液装量1次/每小时可见异物1次/批轧口铝盖铝盖紧密度随时/班灭菌灭菌柜标志、装量、压力、温度、时间、记录每柜灭菌前半成品标志、存放区每柜灭菌后半成品外壁清洁度、标志、存放区每柜灯检灯检品可见异物每个工号/班每瓶标志随时/班包装贴签内容、外观随时/班装箱数量、装箱单、内容每箱4、复方氨基酸注射液(15AA)工艺流程图:复方氨基酸注射液(15AA)生产过程质量控制要点:工序质量控制点质量控制项目频次制水纯化水氯化物、酸、碱度、硫酸盐、钙盐每2小时1次《中国药典》全项每周1次注射用水pH值、氯化物、氨盐、硫酸盐、钙盐每2小时1次内毒素、每天1次《中国药典》全项、微生物每周1次洗瓶过滤后纯化水可见异物3次/班过滤后注射用水可见异物3次/班洗瓶过程水温、水压3次/班洗净后瓶残留水滴、瓶清洁度3次/班配液配制原辅料复核每批药液主药含量、pH值、可见异物每批折叠式滤膜完整性试验1/班灌装胶塞洗涤水可见异物1次/每锅灌装后半成品药液装量1次/每小时可见异物1次/批轧口铝盖铝盖紧密度随时/班灭菌灭菌柜标志、装量、压力、温度、时间、记录每柜灭菌前半成品标志、存放区每柜灭菌后半成品外壁清洁度、标志、存放区每柜灯检灯检品可见异物每个工号/班每瓶标志随时/班包装贴签内容、外观随时/班装箱数量、装箱单、内容每箱5、复方氨基酸注射液(18AA)工艺流程图:复方氨基酸注射液(18AA)生产过程质量控制要点:工序质量控制点质量控制项目频次制水纯化水氯化物、酸、碱度、硫酸盐、钙盐每2小时1次《中国药典》全项每周1次注射用水pH值、氯化物、氨盐、硫酸盐、钙盐每2小时1次内毒素、每天1次《中国药典》全项、微生物每周1次洗瓶过滤后纯化水可见异物3次/班过滤后注射用水可见异物3次/班洗瓶过程水温、水压3次/班洗净后瓶残留水滴、瓶清洁度3次/班配液配制原辅料复核每批药液主药含量、pH值、可见异物每批折叠式滤膜完整性试验1/班胶塞洗涤水可见异物1次/每锅灌装后半成品药液装量1次/每小时可见异物1次/批轧口铝盖铝盖紧密度随时/班灭菌灭菌柜标志、装量、压力、温度、时间、记录每柜灭菌前半成品标志、存放区每柜灭菌后半成品外壁清洁度、标志、存放区每柜灯检灯检品可见异物每个工号/班每瓶标志随时/班包装贴签内容、外观随时/班装箱数量、装箱单、内容每箱6、复方氨基酸注射液(18AA)30g工艺流程图:复方氨基酸注射液(18AA)30g生产过程质量控制要点:工序质量控制点质量控制项目频次制水纯化水氯化物、酸、碱度、硫酸盐、钙盐每2小时1次《中国药典》全项每周1次注射用水pH值、氯化物、氨盐、硫酸盐、钙盐每2小时1次内毒素、每天1次《中国药典》全项、微生物每周1次洗瓶过滤后纯化水可见异物3次/班过滤后注射用水可见异物3次/班洗瓶过程水温、水压3次/班洗净后瓶残留水滴、瓶清洁度3次/班配液配制原辅料复核每批药液主药含量、pH值、可见异物每批折叠式滤膜完整性试验1/班胶塞洗涤水可见异物1次/每锅灌装后半成品药液装量1次/每小时可见异物1次/批轧口铝盖铝盖紧密度随时/班灭菌灭菌柜标志、装量、压力、温度、时间、记录每柜灭菌前半成品标志、存放区每柜灭菌后半成品外壁清洁度、标志、存放区每柜灯检灯检品可见异物每个工号/班每瓶标志随时/班包装贴签内容、外观随时/班装箱数量、装箱单、内容每箱7、甘露醇注射液工艺流程图:煮沸搅拌溶解40%总量的注射用水——→ + 甘露醇————→ + 针用活性炭煮沸30 ˊ过滤脱炭过滤脱炭—————→药液—————→加水至全量+ 针用活性炭—————→泵至稀配锅测PH含量120℃精滤——→灌封——→轧口————→灭菌——→灯检40ˊ——→包装甘露醇注射液生产过程质量控制要点:工序质量控制点质量控制项目频次制水纯化水氯化物、酸碱度、硫酸盐、钙盐每2小时1次《中国药典》全项每周1次注射用水pH值、氯化物、氨盐、硫酸盐、钙盐每2小时1次内毒素每天1次《中国药典》全项、微生物每周1次洗瓶过滤后纯化水可见异物3次/班过滤后注射用水可见异物3次/班洗瓶过程水温、水压3次/班洗净后瓶残留水滴、瓶清洁度3次/班灌装配制原辅料复核每批药液主药含量、pH值、可见异物每批折叠式滤膜完整性试验1/班胶塞洗涤水可见异物1次/每锅灌装后半成品药液装量1次/每小时可见异物1次/批轧口铝盖铝盖紧密度随时/班灭菌灭菌柜标志、装量、压力、温度、时间、记录每柜灭菌前半成品标志、存放区每柜灭菌后半成品外壁清洁度、标志、存放区每柜灯检灯检品可见异物每个工号/班每瓶标志随时/班包装贴签内容、外观随时/班装箱数量、装箱单、内容每箱8、甲硝唑氯化钠注射液工艺流程图:适量注射用水+ 甲硝唑+ 氯化钠————→加注射用水至全量过滤脱炭+ 针用活性炭——————→精滤——→灌封——→轧口测PH含量115℃灭菌———→灯检———→包装30ˊ甲硝唑氯化钠注射液生产过程质量控制要点:工序质量控制点质量控制项目频次制水纯化水氯化物、酸、碱度、硫酸盐、钙盐每2小时1次《中国药典》全项每周1次注射用水pH值、氯化物、氨盐、硫酸盐、钙盐每2小时1次内毒素、每天1次《中国药典》全项、微生物每周1次洗瓶过滤后纯化水可见异物3次/班过滤后注射用水可见异物3次/班洗瓶过程水温、水压3次/班洗净后瓶残留水滴、瓶清洁度3次/班配液配制原辅料复核每批药液主药含量、pH值、可见异物每批折叠式滤膜完整性试验1/班胶塞洗涤水可见异物1次/每锅灌装后半成品药液装量1次/每小时可见异物1次/批轧口铝盖铝盖紧密度随时/班灭菌灭菌柜标志、装量、压力、温度、时间、记录每柜灭菌前半成品标志、存放区每柜灭菌后半成品外壁清洁度、标志、存放区每柜灯检灯检品可见异物每个工号/班每瓶标志随时/班包装贴签内容、外观随时/班装箱数量、装箱单、内容每箱9、氧氟沙星葡萄糖注射液工艺流程图:搅拌溶解煮沸50%注射用水+ 葡萄糖—————→ + 针用活性炭———→过滤脱炭15ˊ冷却至30℃搅拌少量注射用水————→ 氧氟沙星——————→ 澄清溶液—→稀配锅NaOH溶液乳酸过滤———————→ 添加注射用水至全量———→灌封———→ 轧口调节116℃———→ 灭菌———→ 灯检———→ 包装30ˊ氧氟沙星葡萄糖注射液生产过程质量控制要点:工序质量控制点质量控制项目频次制水纯化水氯化物、酸、碱度、硫酸盐、钙盐每2小时1次《中国药典》全项每周1次注射用水pH值、氯化物、氨盐、硫酸盐、钙盐每2小时1次内毒素、每天1次《中国药典》全项、微生物每周1次洗瓶过滤后纯化水可见异物3次/班过滤后注射用水可见异物3次/班洗瓶过程水温、水压3次/班洗净后瓶残留水滴、瓶清洁度3次/班配液配制原辅料复核每批药液主药含量、pH值、可见异物每批折叠式滤膜完整性试验1/班灌封胶塞洗涤水可见异物1次/每锅灌装后半成品药液装量1次/每小时可见异物1次/批轧口铝盖铝盖紧密度随时/班灭菌灭菌柜标志、装量、压力、温度、时间、记录每柜灭菌前半成品标志、存放区每柜灭菌后半成品外壁清洁度、标志、存放区每柜灯检灯检品可见异物每个工号/班每瓶标志随时/班包装贴签内容、外观随时/班装箱数量、装箱单、内容每箱10、硫酸依替米星氯化钠注射液工艺流程图:硫酸依替米星氯化钠注射液生产过程质量控制要点:工序质量控制点质量控制项目频次制水纯化水氯化物、酸、碱度、硫酸盐、钙盐每2小时1次《中国药典》全项每周1次注射用水pH值、氯化物、氨盐、硫酸盐、钙盐每2小时1次内毒素、每天1次《中国药典》全项、微生物每周1次洗瓶过滤后纯化水澄明度3次/班过滤后注射用水澄明度3次/班洗瓶过程水温、水压、毛刷3次/班洗净后瓶残留水滴、瓶清洁度3次/班配液配制原辅料复核每批药液主药含量、pH值、澄明度每批折叠式滤膜完整性试验1/班灌封涤纶薄膜洗涤水澄明度1次/每锅胶塞洗涤水澄明度1次/每锅灌装后半成品药液装量1次/每小时澄明度1次/批轧口铝盖铝盖紧密度随时/班灭菌灭菌柜标志、装量、压力、温度、时间、记录每柜灭菌前半成品标志、存放区每柜灭菌后半成品外壁清洁度、标志、存放区每柜灯检灯检品澄明度每个工号/班每瓶标志随时/班包装贴签内容、外观随时/班装箱数量、装箱单、内容每箱软包装输液车间1、氯化钠注射液工艺流程图:搅拌溶解煮沸适量注射用水+ 氯化钠————→ 针用活性炭————→15ˊ过滤脱炭过滤脱炭药液————→ 加水至全量+ 针用活性炭—————→ 精滤测pH含量115℃——→灌封———→灭菌——→检漏——→灯检30ˊ——→包装氯化钠注射液生产过程质量控制要点:工序质量控制点质量控制项目频次制水纯化水氯化物、酸、碱度、硫酸盐、钙盐每2小时1次《中国药典》全项每周1次注射用水pH值、氯化物、氨盐、硫酸盐、钙盐每2小时1次内毒素、每天1次《中国药典》全项、微生物每周1次配液配制原辅料复核每批药液主药含量、pH值、可见异物每批折叠式滤膜完整性试验1/班灌封制袋边缘焊接严密1次/每锅封口封口焊接严密,无明显偏移1次/每锅灌装后半成品药液装量1次/每小时可见异物1次/批灭菌灭菌柜标志、装量、压力、温度、时间、记录每柜灭菌前半成品标志、存放区每柜灭菌后半成品外壁清洁度、标志、存放区每柜灯检灯检品可见异物每个工号/班每袋标志随时/班包装装箱数量、装箱单、内容每箱2、葡萄糖注射液工艺流程图:煮沸搅拌溶解适量注射用水+ 葡萄糖+ 针用活性炭煮沸药液加水至全量+ 针用活性炭15ˊ过滤脱炭精滤灌封灭菌测pH值含量检漏灯检包装葡萄糖注射液生产过程质量控制要点:工序质量控制点质量控制项目频次制水纯化水氯化物、酸、碱度、硫酸盐、钙盐每2小时1次《中国药典》全项每周1次注射用水pH值、氯化物、氨盐、硫酸盐、钙盐每2小时1次内毒素、每天1次《中国药典》全项、微生物每周1次配液配制原辅料复核每批药液主药含量、pH值、可见异物每批折叠式滤膜完整性试验1/班灌封制袋边缘焊接严密1次/每锅封口封口焊接严密,无明显偏移1次/每锅灌装后半成品药液装量1次/每小时可见异物1次/批灭菌灭菌柜标志、装量、压力、温度、时间、记录每柜灭菌前半成品标志、存放区每柜灭菌后半成品外壁清洁度、标志、存放区每柜灯检灯检品可见异物每个工号/班每袋标志随时/班包装装箱数量、装箱单、内容每箱3、葡萄糖氯化钠注射液工艺流程图:适量注射用水葡萄糖+氯化钠针用活性炭煮沸药液加水至全量+ 针用活性炭15分钟过滤脱炭精滤灌封灭菌测pH值含量检漏灯检包装葡萄糖氯化钠注射液生产过程质量控制要点:工序质量控制点质量控制项目频次制水纯化水氯化物、酸、碱度、硫酸盐、钙盐每2小时1次《中国药典》全项每周1次注射用水pH值、氯化物、氨盐、硫酸盐、钙盐每2小时1次内毒素、每天1次《中国药典》全项、微生物每周1次配液配制原辅料复核每批药液主药含量、pH值、可见异物每批折叠式滤膜完整性试验1/班灌封制袋边缘焊接严密1次/每锅封口封口焊接严密,无明显偏移1次/每锅灌装后半成品药液装量1次/每小时可见异物1次/批灭菌灭菌柜标志、装量、压力、温度、时间、记录每柜灭菌前半成品标志、存放区每柜灭菌后半成品外壁清洁度、标志、存放区每柜灯检灯检品可见异物每个工号/班每袋标志随时/班包装装箱数量、装箱单、内容每箱4、甲硝唑氯化钠注射液工艺流程图:搅拌溶解适量注射用水+ 甲硝唑+ 氯化钠————→加注射用水至全量过滤脱炭115℃+ 针用活性炭—————→精滤——→灌封———→灭菌测PH含量30ˊ——→检漏——→灯检——→包装甲硝唑氯化钠注射液生产过程质量控制要点:工序质量控制点质量控制项目频次制水纯化水氯化物、酸、碱度、硫酸盐、钙盐每2小时1次《中国药典》全项每周1次注射用水pH值、氯化物、氨盐、硫酸盐、钙盐每2小时1次内毒素、每天1次《中国药典》全项、微生物每周1次配液配制原辅料复核每批药液主药含量、pH值、可见异物检查每批折叠式滤膜完整性试验1/班灌封制袋边缘焊接严密1次/每锅封口封口焊接严密,无明显偏移1次/每锅灌装后半成品药液装量1次/每小时可见异物1次/批灭菌灭菌柜标志、装量、压力、温度、时间、记录每柜灭菌前半成品标志、存放区每柜灭菌后半成品外壁清洁度、标志、存放区每柜灯检灯检品可见异物每个工号/班每袋标志随时/班包装装箱数量、装箱单、内容每箱小容量注射液车间1、苯甲醇注射液工艺流程图:搅拌至溶解测PH值苯甲醇+ 适量注射用水—————→注射用水加至全量+ 活性炭——→(必要时加热)测含量100℃精滤———→灌封———→灭菌—→灯检—→包装—→入库30ˊ苯甲醇注射液生产过程质量控制要点:工序质量控制点质量控制项目频次制水纯化水电导率1次/2h《中国药典》全项1次/周注射用水pH值、氯化物、氨盐1次/2h《中国药典》全项1次/周理瓶原包装安瓿检验报告单、清洁度定时/班洗瓶隧道烘箱温度定时/班洗净后安瓿清洁度定时/班烘干后安瓿清洁与干燥程度定时/班配液药液批号划分与编制、主药含量、PH值、可见异物、色泽、过滤器材的检查(如起泡点等)每批灌封烘干安瓿清洁度随时/班药液色泽随时/班可见异物随时/班封口长度、外观随时/班灌封后半成品药液装量、可见异物随时/班灭菌灭菌柜标记、装量、温度、时间、记录、真空度每锅灭菌后半成品外观清洁度、标记、存放区每批灯检灯检品抽查可见异物定时/班每盘标记、灯检者代号、存放区随时/班包装在包装品每盘标记、灯检者代号每盘印字批号、内容、字迹随时/班装盒数量、说明书、标签随时/班标签内容、数量、使用记录每批装箱数量、装箱单、印刷内容、装箱者代号每箱2、酚磺乙胺注射液工艺流程图:溶解后搅拌亚硫酸氢钠、依地酸二钠+ 适量注射用水+ 酚磺乙胺+ 磷酸二氢钠测PH值搅拌+活性炭加NaOH调PH值加注射用水至全量精滤100℃充N2 灌封灭菌灯检包装入库酚磺乙胺注射液生产过程质量控制要点:工序质量控制点质量控制项目频次制水纯化水电导率1次/2h《中国药典》全项1次/周注射用水pH值、氯化物、氨盐1次/2h《中国药典》全项1次/周理瓶原包装安瓿检验报告单、清洁度定时/班洗瓶隧道烘箱温度定时/班洗净后安瓿清洁度定时/班烘干后安瓿清洁与干燥程度定时/班配液药液批号划分与编制、主药含量、PH值、可见异物、色泽、过滤器材的检查(如起泡点等)每批灌封烘干安瓿清洁度随时/班药液色泽随时/班可见异物随时/班封口长度、外观随时/班灌封后半成品药液装量、可见异物随时/班灭菌灭菌柜标记、装量、温度、时间、记录、真空度每锅灭菌前后半成品外观清洁度、标记、存放区每批灯检灯检品抽查可见异物定时/班包装在包装品每盘标记、灯检者代号每盘印字批号、内容、字迹随时/班装盒数量、说明书、标签随时/班标签内容、数量、使用记录每批装箱数量、装箱单、印刷内容、装箱者代号每箱3、肌苷注射液工艺流程图:加热微沸占50%总量的注射用水+ 肌苷+ 依地酸二钠+ 浓度为10%的NaOH边加边搅拌搅拌调PH值+ 氯化钠加注射用水至全量85℃保温30分钟测定含量通N2100℃+ 针用活性炭过滤灌封灭菌30ˊ灯检包装入库肌苷注射液生产过程质量控制要点:工序质量控制点质量控制项目频次制水纯化水电导率1次/2h《中国药典》全项1次/周注射用水PH值、氯化物、氨盐1次/2h《中国药典》全项1次/周理瓶原包装安瓿检验报告单、清洁度定时/班洗瓶隧道烘箱温度定时/班洗净后安瓿清洁度定时/班烘干后安瓿清洁与干燥程度定时/班配液药液批号划分与编制、主药含量、PH值、可见异物、色泽、过滤器材的检查(如起泡点等)每批灌封烘干安瓿清洁度随时/班药液色泽随时/班可见异物随时/班封口长度、外观随时/班灌封后半成品药液装量、可见异物随时/班灭菌灭菌柜标记、装量、温度、时间、记录、真空度每锅灭菌后半成品外观清洁度、标记、存放区每批灯检灯检品抽查可见异物定时/班每盘标记、灯检者代号、存放区随时/班包装在包装品每盘标记、灯检者代号每盘印字批号、内容、字迹随时/班装盒数量、说明书、标签随时/班标签内容、数量、使用记录每批装箱数量、装箱单、印刷内容、装箱者代号每箱4、氟罗沙星注射液工艺流程图:搅拌溶解加热至85-90℃适量注射用水———→+ 依地酸二钠——————→+ 氟罗沙星+ 20%乳酸搅拌80℃保温30———→加NaOH调PH值——→活性炭——————→过滤——→溶解冷却至45℃100℃加注射用水至全量——→测含量——→充N2——→灌封———→30ˊ灭菌——→灯检———→包装——→入库氟罗沙星注射液生产过程质量控制要点:工序质量控制点质量控制项目频次制水纯化水电导率1次/2h《中国药典》全项1次/周注射用水pH值、氯化物、氨盐1次/2h《中国药典》全项1次/周理瓶原包装安瓿检验报告单、清洁度定时/班洗瓶隧道烘箱温度定时/班洗净后安瓿清洁度定时/班烘干后安瓿清洁与干燥程度定时/班配液药液批号划分与编制、主药含量、PH值、可见异物、色泽、过滤器材的检查(如起泡点等)每批灌封烘干安瓿清洁度随时/班药液色泽随时/班可见异物随时/班封口长度、外观随时/班灌封后半成品药液装量、可见异物随时/班灭菌灭菌柜标记、装量、温度、时间、记录、真空度每锅灭菌前后半成品外观清洁度、标记、存放区每批灯检灯检品抽查可见异物定时/班包装在包装品每盘标记、灯检者代号每盘印字批号、内容、字迹随时/班装盒数量、说明书、标签随时/班标签内容、数量、使用记录每批装箱数量、装箱单、印刷内容、装箱者代号每箱5、甲钴胺注射液工艺流程图:溶解甘露醇+ 适量注射用水+ 活性炭过滤脱炭+ 甲钴胺加盐酸溶液调PH值加注射用水至全量测含量精滤灌封灭菌灯检包装入库甲钴胺注射液生产过程质量控制要点:工序质量控制点质量控制项目频次制水纯化水电导率1次/2h《中国药典》全项1次/周注射用水pH值、氯化物、氨盐1次/2h《中国药典》全项1次/周理瓶原包装安瓿检验报告单、清洁度定时/班洗瓶隧道烘箱温度定时/班洗净后安瓿清洁度定时/班烘干后安瓿清洁与干燥程度定时/班配液药液批号划分与编制、主药含量、PH值、可见异物、色泽、过滤器材的检查(如起泡点等)每批灌封烘干安瓿清洁度随时/班药液色泽随时/班可见异物随时/班封口长度、外观随时/班灌封后半成品药液装量、可见异物随时/班灭菌灭菌柜标记、装量、温度、时间、记录、真空度每锅灭菌前后半成品外观清洁度、标记、存放区每批灯检灯检品抽查可见异物定时/班包装在包装品每盘标记、灯检者代号每盘。
瓶装输液车间1、氯化钠注射液工艺流程图:搅拌溶解煮沸————→15ˊ过滤脱炭过滤脱炭测pH含量115℃30ˊ氯化钠注射液生产过程质量控制要点:2、葡萄糖注射液工艺流程图:煮沸搅拌溶解+ + 煮沸15ˊ过滤脱炭测pH值含量115℃30ˊ葡萄糖注射液生产过程质量控制要点:3、葡萄糖氯化钠注射液工艺流程图:煮沸搅拌溶解煮沸 15ˊ过滤脱炭 测pH 值含量115℃30ˊ葡萄糖氯化钠注射液生产过程质量控制要点:配液配制原辅料复核每批药液主药含量、pH值、可见异物每批折叠式滤膜完整性试验1/班胶塞洗涤水可见异物1次/每锅灌装后半成品药液装量1次/每小时可见异物1次/批轧口铝盖铝盖紧密度随时/班灭菌灭菌柜标志、装量、压力、温度、时间、记录每柜灭菌前半成品标志、存放区每柜灭菌后半成品外壁清洁度、标志、存放区每柜灯检灯检品可见异物每个工号/班每瓶标志随时/班包装贴签内容、外观随时/班装箱数量、装箱单、内容每箱4、复方氨基酸注射液(15AA)工艺流程图:复方氨基酸注射液(15AA)生产过程质量控制要点:5、复方氨基酸注射液(18AA)工艺流程图:复方氨基酸注射液(18AA)生产过程质量控制要点:工序质量控制点质量控制项目频次制水纯化水氯化物、酸、碱度、硫酸盐、钙盐每2小时1次《中国药典》全项每周1次注射用水pH值、氯化物、氨盐、硫酸盐、钙盐每2小时1次内毒素、每天1次《中国药典》全项、微生物每周1次洗瓶过滤后纯化水可见异物3次/班过滤后注射用水可见异物3次/班洗瓶过程水温、水压3次/班洗净后瓶残留水滴、瓶清洁度3次/班配液配制原辅料复核每批药液主药含量、pH值、可见异物每批折叠式滤膜完整性试验1/班胶塞洗涤水可见异物1次/每锅灌装后半成品药液装量1次/每小时可见异物1次/批轧口铝盖铝盖紧密度随时/班灭菌灭菌柜标志、装量、压力、温度、时间、记录每柜灭菌前半成品标志、存放区每柜灭菌后半成品外壁清洁度、标志、存放区每柜灯检灯检品可见异物每个工号/班每瓶标志随时/班包装贴签内容、外观随时/班装箱数量、装箱单、内容每箱6、复方氨基酸注射液(18AA)30g工艺流程图:复方氨基酸注射液(18AA)30g生产过程质量控制要点:7、甘露醇注射液工艺流程图:煮沸搅拌溶解煮沸30 过滤脱炭过滤脱炭泵至稀配锅测PH含量120℃40ˊ甘露醇注射液生产过程质量控制要点:8、甲硝唑氯化钠注射液工艺流程图:过滤脱炭测PH 含量115℃30ˊ甲硝唑氯化钠注射液生产过程质量控制要点:9、氧氟沙星葡萄糖注射液工艺流程图:搅拌溶解 煮沸15ˊ冷却至搅拌NaOH 溶液乳酸过滤调节氧氟沙星葡萄糖注射液生产过程质量控制要点:配液配制原辅料复核每批药液主药含量、pH值、可见异物每批折叠式滤膜完整性试验1/班灌封胶塞洗涤水可见异物1次/每锅灌装后半成品药液装量1次/每小时可见异物1次/批轧口铝盖铝盖紧密度随时/班灭菌灭菌柜标志、装量、压力、温度、时间、记录每柜灭菌前半成品标志、存放区每柜灭菌后半成品外壁清洁度、标志、存放区每柜灯检灯检品可见异物每个工号/班每瓶标志随时/班包装贴签内容、外观随时/班装箱数量、装箱单、内容每箱10、硫酸依替米星氯化钠注射液工艺流程图:硫酸依替米星氯化钠注射液生产过程质量控制要点:软包装输液车间1、氯化钠注射液工艺流程图:搅拌溶解煮沸15ˊ过滤脱炭过滤脱炭测pH含量115℃30ˊ氯化钠注射液生产过程质量控制要点:2、葡萄糖注射液工艺流程图:煮沸搅拌溶解++煮沸 15ˊ过滤脱炭 测pH 值含量葡萄糖注射液生产过程质量控制要点:3、葡萄糖氯化钠注射液工艺流程图:煮沸15分钟过滤脱炭 测pH 值含量葡萄糖氯化钠注射液生产过程质量控制要点:4、甲硝唑氯化钠注射液工艺流程图:搅拌溶解过滤脱炭15℃ 测PH 含量30ˊ甲硝唑氯化钠注射液生产过程质量控制要点:。
各制剂工艺流程图1 、片剂生产工艺流程图2、颗粒剂生产工艺流程图3、胶囊剂生产工艺流程图4、合剂生产工艺流程图5、糖浆剂生产工艺流程图6, 丸剂生产工艺流程图2 、工艺流程说明2 . 1 、前处理工艺流程说明外购的药材经过挑、选、检、去杂质及非药用部位后,川选药机或不绣钢洗药池,将药材上的泥土、灰尘洗净,根据不同品种的要求湿润,以达到提取、榨油、细粉的标准。
用J 六提取的药材,采取切割的方法切片,后经多层带式}气燥机干燥,中药粉碎机粉碎,筛分得到合格粒度的药材,送到净药库。
用J 屯榨油的药材,经多层带式干燥机干燥后,直接送去榨汕。
榨油前,按配方要求混合,用中药粉碎机粗碎,经蒸汽湿润后进入螺旋榨油机榨油,榨出的油经过过滤,再送到综合伟lJ 剂车间。
用一于细粉的药材切片,经多层带式十燥机十燥后,送到双扇灭菌柜灭菌,再用高效粉碎机组和震荡筛粉碎,筛分合格后包装,转入综合制剂车间。
2 . 2 、热回流提取工艺流程说明来自净药库的药材,按配方配料,加入乙醇,用热回流抽提机组进行第· 次醉提,过滤后剩余的药渣,加上辅料,再进行次水提,使有效成分尽量提出。
醇体液静置后过滤,除去杂质,减压浓缩,回收乙醉,并得到醇提浸膏。
水提液静置后过滤,除去杂质,减压浓缩,并得到水提浸膏。
将醇提浸膏与水提浸膏混合,采用可倾式反应锅浓缩,得到稠浸膏,用周转桶送到综合制剂车间。
2 .3 、片剂工艺流程说明原料和辅料经过粉碎过筛,达到要求细度后,按配方称取配料。
配制好的物料,根据需要混合制粒、干燥、整粒、总棍后,再压片、包衣、抛光,经检验合格,按规定包装,送入成品库房。
2 . 4 、合剂工艺流程说明原料和辅料按处方称量后,加入纯化水配制成药液,经力热煮沸、冷却、过滤后,再灌装和轧盖,经过蒸汽检漏、晾瓶、灯检、贴签,检验合格后,装箱送入成品库房。
2 . 5 、糖浆剂工艺流程说明将原料和辅料按处方称量后,加入纯化水配制成药液,经力热煮沸、冷却、过滤、调整浓度后,再灌装和轧盖,经过幻检、贴签,检验合格后,装箱送入成品库房。
常见药品生产典型工艺流程框图
药品生产对环境的洁净等级要求与药品的品种、剂型和生产特点有关。
常见药品生产的典型工艺流程及环境区域划分如图1-1至图1-9。
图1-1 非无菌原料药精制、干燥、包装工艺流程框图及环境区域划分
图1-2 无菌原料药精制、干燥、包装工艺流程框图及环境区域划分
图1-3 片剂生产工艺流程框图及环境区域划分
图1-4 硬胶囊剂生产工艺流程框图及环境区域划分
图1-5 压制法软胶囊剂生产工艺流程框图及环境区域划分
图1-6 可灭菌小容量注射剂生产工艺流程框图及环境区域划分
图1-7 可灭菌大容量注射剂生产工艺流程框图及环境区域划分
图1-8 注射用无菌分装产品生产工艺流程框图及环境区域划分
图1-9 注射用冷冻干燥制品生产工艺流程框图及环境区域划分
如图,AB=12米,CA⊥AB于点A,DB⊥AB于点B,且AC=4米,点P从B向A运动,每分钟走1米,点Q从B点向D运动,每分钟走2米,P、Q两点同时出发,运动几分钟后,△CPA与△PQB全等?
如图①所示,在△ABC中,∠C=90°,AC=BC,过点C在△ABC外作直线MN,AM⊥MN于点M,BN⊥MN于点N.
(1)求证:MN=AM+BN.
(2)如图②.若过点C直线MN与线段AB相交,AM⊥MN于点M,BN⊥MN于N,(1)中的结论是否仍然成立?说明理由.
图①图②。
各制剂工艺流程图1 、片剂生产工艺流程图2、颗粒剂生产工艺流程图3、胶囊剂生产工艺流程图4、合剂生产工艺流程图2 、工艺流程说明2 . 1 、前处理工艺流程说明外购的药材经过挑、选、检、去杂质及非药用部位后,川选药机或不绣钢洗药池,将药材上的泥土、灰尘洗净,根据不同品种的要求湿润,以达到提取、榨油、细粉的标准。
用J 六提取的药材,采取切割的方法切片,后经多层带式}气燥机干燥,中药粉碎机粉碎,筛分得到合格粒度的药材,送到净药库。
用J 屯榨油的药材,经多层带式干燥机干燥后,直接送去榨汕。
榨油前,按配方要求混合,用中药粉碎机粗碎,经蒸汽湿润后进入螺旋榨油机榨油,榨出的油经过过滤,再送到综合伟lJ 剂车间。
用一于细粉的药材切片,经多层带式十燥机十燥后,送到双扇灭菌柜灭菌,再用高效粉碎机组和震荡筛粉碎,筛分合格后包装,转入综合制剂车间。
2 . 2 、热回流提取工艺流程说明来自净药库的药材,按配方配料,加入乙醇,用热回流抽提机组进行第·次醉提,过滤后剩余的药渣,加上辅料,再进行次水提,使有效成分尽量提出。
醇体液静置后过滤,除去杂质,减压浓缩,回收乙醉,并得到醇提浸膏。
水提液静置后过滤,除去杂质,减压浓缩,并得到水提浸膏。
将醇提浸膏与水提浸膏混合,采用可倾式反应锅浓缩,得到稠浸膏,用周转桶送到综合制剂车间。
2 .3 、片剂工艺流程说明原料和辅料经过粉碎过筛,达到要求细度后,按配方称取配料。
配制好的物料,根据需要混合制粒、干燥、整粒、总棍后,再压片、包衣、抛光,经检验合格,按规定包装,送入成品库房。
2 . 4 、合剂工艺流程说明原料和辅料按处方称量后,加入纯化水配制成药液,经力热煮沸、冷却、过滤后,再灌装和轧盖,经过蒸汽检漏、晾瓶、灯检、贴签,检验合格后,装箱送入成品库房。
2 . 5 、糖浆剂工艺流程说明将原料和辅料按处方称量后,加入纯化水配制成药液,经力热煮沸、冷却、过滤、调整浓度后,再灌装和轧盖,经过幻检、贴签,检验合格后,装箱送入成品库房。