有限公司办公环境保洁工作流程图
- 格式:doc
- 大小:55.00 KB
- 文档页数:2
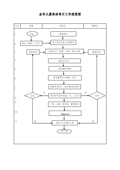
金利大厦保洁每日工作流程图节点 经理保洁员楼管员12 34 567否否8 910开始 晨会(指导、计划)进入责任区域、注意事项电梯保洁扫除浮尘、细屑、杂物,除去污渍监督改进监督改进清洁卫生间清洁擦拭电梯抹擦所有柱子、指示牌消防栓等清洁所有花卉的盆、叶、工艺品合格合格清洁擦拭步行梯梯、扶手清倒垃圾广场、公路、停车场、楼顶清洁11 是是收拾/交还清洁工具结束保洁岗操作流程一、工作时间:上午8:00—12:00、下午13:00—17:30二、工作流程:8:00 开始:穿戴好工服、劳动保护用品,做好工前准备。
使用干净的无绒干毛巾对7台客运电梯轿厢进行擦拭,地面进行细致清扫,对细微灰尘使用毛刷进行清扫;4台货运电梯进行地面清扫。
具体操作:1、将正在清洁告示牌立在清洁电梯门处;2、使用毛巾、不锈钢清洁剂从上到下、从左到右擦拭电梯外门柜及梯门外不锈钢镜面;3、清洁轿厢底部、导轨;4、用毛巾、不锈钢清洁剂擦拭梯内各处不锈钢镜面、扶手、指示板。
标准:1、梯外不锈钢门柜及门外侧无污迹、无尘土、无手印、无擦痕、光亮;2、地毯上无垃圾、无尘土、无发丝、无异味;3、轿厢门轨内无垃圾、无杂物;4、清洁频次4次/天,抽检2次/天不锈钢清洁剂每月使用一次。
9:00—9:15 晨会:参加晨会。
接受当日工作的指导、计划和临时性任务,清楚责任区域,明白注意事项。
9:15—12:00 进行楼层卫生保洁:扫除浮尘、细屑、杂物/除去污渍:地面:用扫把或尘推清扫地面垃圾,将果皮、烟头、纸屑等收集于垃圾袋中,用铲刀铲除地面污垢,然后用胶桶装水放一盖清洁剂,洗净拖把,拧干拖把上的水,用拖把对公共走廓,楼道进行拖抹。
清洁标准:地面无灰尘、无积水、无污垢,无脚印、无白色垃圾、无广告纸等。
墙面:先用干净湿抹布擦拭,然后用干净方拖对墙面清洁。
清洁标准:墙面无灰尘,无污渍,蜘蛛网等。
清洁卫生间:1、进入卫生间前将工作告示牌放在在门前2、镜面:用沫水器从顶端以适量的力量从从上往下擦沫,玻璃刮刀刮除玻璃上的污迹,最后刮去表面上的水分。
办公楼公共区域保洁工作流程及质量要求1.大堂保洁管理范围:大堂大理石地坪、垃圾筒、门窗框、服务台、沙发茶几、桌椅、画廊、扶梯、消防栓、客户牌、各种装饰件、标识、指示牌、玻璃、风口、天花板、取款机、售货机、电梯。
1.1大堂大理石地坪、踏垫保洁1.1.1用已处理过的尘推按直线、按规定路线循环推进,尘推不离地,每到终点应抖清依附在尘推上的灰尘,对地面污垢用拖把或毛巾拖擦,及时将尘土及垃圾清除,装进垃圾袋内,放入规定的垃圾桶内,注意大堂边角垃圾的清除。
1.1.2大堂踏垫、电梯地毯每天吸净灰尘和泥沙保持干净。
1.1.3铺放是否整齐,做到及时调整达到最佳为宜。
1.1.4质量标准:地面无污迹、无水迹、无泥迹、无烟蒂、无纸屑、无脚印、保持光亮无尘,踏垫无泥迹、无污迹、无碎屑,大堂内保持清洁,不留死角。
1.2垃圾筒、烟缸保洁1.2.1立式垃圾桶、烟缸方法:倾倒不锈钢垃圾筒内垃圾,洗净后抹干水珠放回原处。
1.2.2质量标准内外清洁,无灰尘、无污迹、上口无垃圾堆积,及时巡视确保垃圾筒烟缸烟蒂不超过3只。
1.3服务台、取款机、沙发茶几、玻璃门把手保洁1.3.1方法:用全能清洁剂加入水中稀释,比率为1:70水溶,溶后用毛巾拧干后擦抹服务台、取款机、沙发茶几、玻璃门把手。
1.3.2质量标准:服务台、取款机、外表无灰尘、无污迹、保持干净整洁,沙发茶几、玻璃门把手:无灰尘、无污迹,茶几上烟缸烟蒂不超过3个。
1.4灯饰、画廊、框、窗框、保洁1.4.用全能清洁剂加入水中稀释,比率为1:70水溶液用和毛巾拧干后擦抹灯饰、画廊、框、窗框。
1.4.2质量标准:无灰尘、无水迹、无污迹、无手印、无花痕、透明无尘。
擦洗并过干净后再用干毛巾和不锈钢油轻抹,直至光亮。
1.5消防栓、客户牌保洁1.5.1方法:用全能清洁剂加入水中稀释,比率为1:70水溶液用和毛巾拧干后擦抹消防栓、客户牌。
1.5.2质量标准:无灰尘、无水迹、无污迹、无手印、无花痕。
1.6风口、天花板、内墙面保洁1.6.1方法:用全能清洁剂加入水中稀释,比率为1:70水溶溶用和毛巾拧干后擦抹风口、天花板、内墙面。
工作范围:16层办公区的公共卫生、楼道、办公区绿植灰尘、花架工作标准:1、地面无杂物;2、窗台无杂物、灰尘;3、垃圾桶及周围墙面干净;4、墙面、侧面的干净;5、花盆干净、底座水盘干净,绿植叶子干净、无黄叶;6、卫生间、茶水间干净、无死角无异味,卫生用品不影响使用;7、公司电梯间、前台处地垫干净,不滑(雨雪天气在公司电梯间提前铺设地垫)7:30-8:308:30-9:309:30-10:1510:15-10:3010:30-12:001、清洁公司电梯间及等候区(包括椅子的清洁)1、清洁公司办公区域过道及走廊地面(旧区域)1、清洁公司办公区域过道及走廊地面(新区域)休息1、卫生间的保洁2、清洁公司接待洽谈区域的卫生2、清洁化妆间2、清洁顾问办公室外侧卫生间卫生2、吸烟室的保洁3、清洗拖把,清洁卫生间3、清洁茶水间3、清洁公司区域内所有消防设施(仅外观清洁)3、清洁公司绿植的花盆及底座水盘13:30-14:3014:30-15:3015:30-15:4515:45-16:3016:30-17:301、清洁公司所有窗户的窗台1、茶水间的保洁休息1、清洗拖把1、卫生间的保洁2、清洁公司所有大型垃圾桶外侧及周围墙面2、化妆间的保洁2、公司所有办公区域过道和走廊的保洁2、吸烟室的保洁3、清洁公司区域内所有消防设施(仅外观清洁)3、卫生间的保洁3、尘推的清洁3、清理垃圾周工作重点月工作重点:考核标准:保洁员工作流程图周二:重点清洁公司电梯间周四:清洗垃圾桶周五:浇花、清洁花叶,修建枝叶,去除黄叶,清洗花盆底座水盘周六:卫生间的彻底清理,除臭每月15、30日清洗前台及电梯口脚垫(逢周日顺延)。