各技术框架架构图
- 格式:doc
- 大小:221.50 KB
- 文档页数:7
软件架构之四种类型简介如果一个软件开发人员,不了解软件架构的演进,会制约技术的选型和开发人员的生存、晋升空间。
这里我列举了目前主要的四种软件架构以及他们的优缺点,希望能够帮助软件开发人员拓展知识面。
一、单体架构单体架构比较初级,典型的三级架构,前端(Web/手机端)+中间业务逻辑层+数据库层。
这是一种典型的Java Spring mvc或者Python Django框架的应用。
其架构图如下所示:单体架构单体架构的应用比较容易部署、测试,在项目的初期,单体应用可以很好地运行。
然而,随着需求的不断增加,越来越多的人加入开发团队,代码库也在飞速地膨胀。
慢慢地,单体应用变得越来越臃肿,可维护性、灵活性逐渐降低,维护成本越来越高。
下面是单体架构应用的一些缺点:复杂性高:以一个百万行级别的单体应用为例,整个项目包含的模块非常多、模块的边界模糊、依赖关系不清晰、代码质量参差不齐、混乱地堆砌在一起。
可想而知整个项目非常复杂。
每次修改代码都心惊胆战,甚至添加一个简单的功能,或者修改一个Bug都会带来隐含的缺陷。
技术债务:随着时间推移、需求变更和人员更迭,会逐渐形成应用程序的技术债务,并且越积越多。
“不坏不修”,这在软件开发中非常常见,在单体应用中这种思想更甚。
已使用的系统设计或代码难以被修改,因为应用程序中的其他模块可能会以意料之外的方式使用它。
部署频率低:随着代码的增多,构建和部署的时间也会增加。
而在单体应用中,每次功能的变更或缺陷的修复都会导致需要重新部署整个应用。
全量部署的方式耗时长、影响范围大、风险高,这使得单体应用项目上线部署的频率较低。
而部署频率低又导致两次发布之间会有大量的功能变更和缺陷修复,出错率比较高。
可靠性差:某个应用Bug,例如死循环、内存溢出等,可能会导致整个应用的崩溃。
扩展能力受限:单体应用只能作为一个整体进行扩展,无法根据业务模块的需要进行伸缩。
例如,应用中有的模块是计算密集型的,它需要强劲的CPU;有的模块则是IO密集型的,需要更大的内存。
各种系统架构图及其简介1.Spring 架构图Spring 是一个开源框架,是为了解决企业应用程序开发复杂性而创建的。
框架的主要优势之一就是其分层架构,分层架构允许您选择使用哪一个组件,同时为J2EE 应用程序开发提供集成的框架。
Spring 框架的功能可以用在任何J2EE 服务器中,大多数功能也适用于不受管理的环境。
Spring 的核心要点是:支持不绑定到特定J2EE 服务的可重用业务和数据访问对象。
这样的对象可以在不同J2EE 环境(Web或EJB )、独立应用程序、测试环境之间重用。
组成Spring 框架的每个模块(或组件)都可以单独存在,或者与其他一个或多个模块联合实现。
每个模块的功能如下:∙核心容器:核心容器提供Spring 框架的基本功能。
核心容器的主要组件是BeanFactory ,它是工厂模式的实现。
BeanFactory 使用控制反转(IOC )模式将应用程序的配置和依赖性规范与实际的应用程序代码分开。
∙Spring 上下文:Spring 上下文是一个配置文件,向Spring 框架提供上下文信息。
Spring 上下文包括企业服务,例如JNDI 、EJB 、电子邮件、国际化、校验和调度功能。
∙Spring AOP :通过配置管理特性,Spring AOP 模块直接将面向方面的编程功能集成到了Spring 框架中。
所以,可以很容易地使Spring 框架管理的任何对象支持AOP 。
Spring AOP 模块为基于Spring 的应用程序中的对象提供了事务管理服务。
通过使用Spring AOP ,不用依赖EJB 组件,就可以将声明性事务管理集成到应用程序中。
∙Spring DAO :JDBC DAO 抽象层提供了有意义的异常层次结构,可用该结构来管理异常处理和不同数据库供应商抛出的错误消息。
异常层次结构简化了错误处理,并且极大地降低了需要编写的异常代码数量(例如打开和关闭连接)。
Spring DAO 的面向JDBC 的异常遵从通用的DAO 异常层次结构。
企业架构及典型设计目录企业架构概述企业架构元模型企业架构视图业务架构应用架构数据架构技术架构企业架构管控企业架构概述企业架构框架:四横五纵第一层:策略层视图第二层:管理层视图第三层:设计层视图第四层:实施层视图业务架构应用架构数据架构技术架构架构管控§公司信息化领导小组§总部信息工作部及各分部§总部业务部门§各单位信息化领导小组§各典设组及统推项目组§实施项目团队描述高端的架构内容,关注于全局性、整体性。
描述主要架构内容,关注于关联性、可控制性。
描述各个解决方案的架构内容,关注于可实现性。
描述具体的落地内容,关注于可操作性。
企业架构框架四横五纵内容管控内容内容内容谋划管理落地B1业务能力视图B2业务管理视图B3业务活动视图B4业务任务视图A1应用视图A2应用模块视图A3应用功能视图A4应用用例视图I1数据主题域视图I2概念数据模型视图I3逻辑数据模型视图I4物理数据模型视图T1技术框架视图T2信息系统视图T2基础设施概念视图T3系统组件视图T3基础设施逻辑视图T4系统部署视图T4基础设施部署视图R1参考框架R2参考领域及架构模式R3参考架构及典型设计R4软硬件资源目标架构L3L4L3L4L1L2L1L2L1L2“四横”指按架构的详细程度、设计时间以及关注人员的不同所自上而下分为的四个层次企业信息化架构企业架构总体架构系统架构内涵公司信息化架构总体视图1公司信息化架构分视图2省公司及直属单位架构视图3应用群设计4系统设计512345第一层:策略层视图第二层:管理层视图第三层:设计层视图第四层:实施层视图描述高端的架构内容,关注于全局性、整体性。
描述主要架构内容,关注关联性、可控制性。
描述各个解决方案的架构内容,关注可实现性。
描述具体的落地内容,关注于可操作性。
业务架构应用架构数据架构技术架构架构管控企业架构框架四横五纵内容管控内容内容内容应用应用L1L2L3L4§公司信息化领导小组§总部信息工作部及各分部§总部业务部门§各单位信息化领导小组§各典设组及统推项目组§实施项目团队相关对象“五纵”指架构核心内容由业务、应用、数据和技术四领域构成,辅以科学的管控体系保障架构落地企业建设业务形态信息化形态数据管理功能管理信息系统基础设施组织管理业务目标流程管理业务信息信息化目标技术管理计算资源存储资源网络资源业务架构§公司业务目标是什么?组织和职能是什么?§业务场景有哪些?业务流程是什么?流程相关的组织、职能和信息是什么?§实现流程的活动是什么?活动相关的岗位、职能和信息是什么?§实现活动的步骤是什么?应用架构§需自动化和已自动化的业务逻辑是什么?§业务信息的操作和分析逻辑是什么?§业务逻辑通过哪些功能支撑?§功能的层级关系是什么?§功能间的交互、在组织上的分布是什么?数据架构§存在哪些数据资源?如何管理数据资源?§解析业务信息的数据模型是什么?面向交易、交换和分析的数据模型是什么?§信息在流程间、数据在功能间如何流转?技术架构§基于功能和技术需求,需要哪些系统进行支撑,系统间如何集成?系统如何部署?§技术平台如何构建?开发、生产、运行环境由哪些技术组件构成?安全技术有哪些?§哪些基础设施需选择?使用策略是什么?结构化的业务剖析自动化的业务逻辑业务数据建模信息技术支撑企业架构框架内容管控架构组织架构资产架构遵从能力建设培养沟通架构工具“四横”和“五纵”之间形成自上而下细化,自下而上遵从,架构管控对架构内容保障的“V模型”架构管控业务架构应用架构数据架构技术架构B1业务能力视图B2业务管理视图B3业务活动视图B4业务任务视图A1应用视图A2应用模块视图A3应用功能视图A4应用用例视图D1数据主题域视图D2概念数据模型视图D3逻辑数据模型视图D4物理数据模型视图T1技术框架视图T2信息系统视图T2基础设施概念视图T3系统组件视图T3基础设施逻辑视图T4系统部署视图T4基础设施部署视图L1L2L3L4架构管控原则架构管理办法决策管控机制和场景架构规范信息标准架构设计方法论审查管理机制和场景参考技术架构遵从检查要求过程改进机制和场景设计模板作业指导书行为遵从机制和场景R1参考框架R2参考领域及模式R3参考架构及典设R4软硬件目标架构内容管控内容内容内容结果导向自下而上总体架构系统架构§总视图§分视图§单位视图§应用群设计§系统设计细化遵从信息系统研发和运行架构管理的“V”模型合规遵从目标驱动自上而下设计过程1.对于架构中的各种概念,形成规范的、清晰的定义(如:业务流程、功能、数据实体、系统等),使参与架构设计的人员使用相同的概念和词典。
各种系统架构图与详细说明2017.07.301.1.共享平台逻辑架构设计如上图所示为本次共享资源平台逻辑架构图,上图整体展现说明包括以下几个方面:1 应用系统建设本次项目的一项重点就是实现原有应用系统的全面升级以及新的应用系统的开发,从而建立行业的全面的应用系统架构群。
整体应用系统通过SOA面向服务管理架构模式实现应用组件的有效整合,完成应用系统的统一化管理与维护。
2 应用资源采集整体应用系统资源统一分为两类,具体包括结构化资源和非机构化资源。
本次项目就要实现对这两类资源的有效采集和管理。
对于非结构化资源,我们将通过相应的资源采集工具完成数据的统一管理与维护。
对于结构化资源,我们将通过全面的接口管理体系进行相应资源采集模板的搭建,采集后的数据经过有效的资源审核和分析处理后进入到数据交换平台进行有效管理。
3 数据分析与展现采集完成的数据将通过有效的资源分析管理机制实现资源的有效管理与展现,具体包括了对资源的查询、分析、统计、汇总、报表、预测、决策等功能模块的搭建。
4 数据的应用最终数据将通过内外网门户对外进行发布,相关人员包括局内各个部门人员、区各委办局、用人单位以及广大公众将可以通过不同的权限登录不同门户进行相关资源的查询,从而有效提升了我局整体应用服务质量。
综上,我们对本次项目整体逻辑架构进行了有效的构建,下面我们将从技术角度对相关架构进行描述。
1.2.技术架构设计如上图对本次项目整体技术架构进行了设计,从上图我们可以看出,本次项目整体建设内容应当包含了相关体系架构的搭建、应用功能完善可开发、应用资源全面共享与管理。
下面我们将分别进行说明。
1.3.整体架构设计上述两节,我们对共享平台整体逻辑架构以及项目搭建整体技术架构进行了分别的设计说明,通过上述设计,我们对整体项目的架构图进行了归纳如下:综上,我们对整体应用系统架构图进行了设计,下面我们将分别进行说明。
1.3.1.应用层级说明整体应用系统架构设计分为五个基础层级,通过有效的层级结构的划分可以全面展现整体应用系统的设计思路。
各种软件开发系统架构图案例介绍v1.0 可编辑可修改第一章【荐】共享平台架构图与详细说明1.1.【荐】共享平台逻辑架构设计(逻辑指的是业务逻辑)注:逻辑架构图--主要突出子系统/模块间的业务关系, 这里的逻辑指的是业务逻辑如上图所示为本次共享资源平台逻辑架构图,上图整体展现说明包括以下几个方面:1 应用系统建设本次项目的一项重点就是实现原有应用系统的全面升级以及新的应用系统的开发,从而建立行业的全面的应用系统架构群。
整体应用系统通过SOA面向服务管理架构模式实现应用组件的有效整合,完成应用系统的统一化管理与维护。
2 应用资源采集整体应用系统资源统一分为两类,具体包括结构化资源和非机构化资源。
本次项目就要实现对这两类资源的有效采集和管理。
对于非结构化资源,我们将通过相应的资源采集工具完成数据的统一管理与维护。
对于结构化资源,我们将通过全面的接口管理体系进行相应资源采集模板的搭建,采集后的数据经过有效的资源审核和分析处理后进入到数据交换平台进行有效管理。
3 数据分析与展现采集完成的数据将通过有效的资源分析管理机制实现资源的有效管理与展现,具体包括了对资源的查询、分析、统计、汇总、报表、预测、决策等功能模块的搭建。
4 数据的应用最终数据将通过内外网门户对外进行发布,相关人员包括局内各个部门人员、区各委办局、用人单位以及广大公众将可以通过不同的权限登录不同门户进行相关资源的查询,从而有效提升了我局整体应用服务质量。
综上,我们对本次项目整体逻辑架构进行了有效的构建,下面我们将从技术角度对相关架构进行描述。
1.2.【荐】技术架构设计注:技术架构图 --主要突出子系统/模块自身使用的技术和模块接口关联方式如上图对本次项目整体技术架构进行了设计,从上图我们可以看出,本次项目整体建设内容应当包含了相关体系架构的搭建、应用功能完善可开发、应用资源全面共享与管理。
下面我们将分别进行说明。
1.3.【荐】系统整体架构设计(也称为系统总体架构)上述两节,我们对共享平台整体逻辑架构以及项目搭建整体技术架构进行了分别的设计说明,通过上述设计,我们对整体项目的架构图进行了归纳如下:注:系统整体/总体架构图 --主要突出从物理硬件(物理层/基础层)、数据库(数据层)、后台底层(支撑层)、业务逻辑(业务层/应用层)、UI描述(展示层)、系统用户分类(用户层),项目实施与运维管理,标准与规范体系和安全保障体系(贯穿各层的保障系统)一般我们只画大虚框内的部分就行了,外面的是说明与其他系统的对接描述,可以省略综上,我们对整体应用系统架构图进行了设计,下面我们将分别进行说明。
应用架构、业务架构、技术架构和业务流程图详解应用架构应用架构(Application Architecture)是描述了IT系统功能和技术实现的内容。
应用架构分为以下两个不同的层次:企业级的应用架构:企业层面的应用架构起到了统一规划、承上启下的作用,向上承接了企业战略发展方向和业务模式,向下规划和指导企业各个IT系统的定位和功能。
在企业架构中,应用架构是最重要和工作量最大的部分,他包括了企业的应用架构蓝图、架构标准/原则、系统的边界和定义、系统间的关联关系等方面的内容。
单个系统的应用架构:在开发或设计单一IT系统时,设计系统的主要模块和功能点,系统技术实现是从前端展示到业务处理逻辑,到后台数据是如何架构的。
这方面的工作一般属于项目组,而不是企业架构的范畴,不过各个系统的架构设计需要遵循企业总体应用架构原则。
应用架构主要以架构图的方式描述系统的组成和框架,一般从系统功能和系统技术层次两个架构视角进行设计:系统功能视角的应用架构图2. 系统技术层次视角的应用架构图业务架构----摘自《自主变革的基石制造企业管理技术及SOA实践》主要考虑部署,例如你不同的应用如何分别部署,如何支持灵活扩展、大并发量、安全性等,需要画出物理网络部署图。
按照应用进行划分的话,还需要考虑是否支持分布式SOA。
每一个典型业务,都可以把它想象为一台运行中的机器,而其中的每个业务组件便是构成这台机器的功能模块。
之所以要利用组件来进行业务架构的搭建,正是因为组件具有上述特性,这些特性能确保搭建的典型业务架构图,既完整有效、又无功能冗余,而且有利于今后展开系统架构的组件分析和设计。
这样的架构能告诉我们:是由哪些内容相对独立的业务模块构成了这项典型业务。
如对其中的每一个业务组件之间的作业关联关系、相互沟通的方式进行研究,就能掌握整个业务架构的协同作业水平;如果对每一个业务组件都采用前述外特性定义的方法加以描述,就能掌握这些组件当前能完成哪些独立的业务内容以及能达成哪些业务目标。
工厂组织框架图及岗位职责说明页脚内容9页脚内容91 目的后勤为了质量管理体系的有效运行,规定组织内部各职能部门和各级人员的岗位质量职责和适任条件,以便于对人力资源的管理、信息的交流、加强沟通、增进理解、协调行动。
2 适用范围适用于公司内对质量管理体系的管理层、各职能部门和各级有关人员的岗位质量职责、权限的规定,以及各岗位的适任条件。
3职责总经理:1. 贯彻执行国家有关法律、法规和有关质量方面的方针政策;2. 主持制订公司质量方针和质量目标,对质量承诺并确保实施;3. 坚持满足顾客要求的重要观念,建立质量管理体系;4. 任命企业相关负责人,确定各级机构和人员并明确规定各级职责、权限和相互关系,确保组织内的沟通有效性;5. 负责定期组织管理评审、确保质量管理体系持续的适宜、充分和有效;6. 审批重大质量政策及质量改进决策;7. 授权质管部质量管理人员独立行使对产品质量进行监视、测量和报告的职能和权限。
业务副总一、管理工作1、负责制订年度、月度营销目标计划;2、负责跟进目标计划的实施;3、负责营销实绩的管理,并督导所属文员进行统计、归类并存档;4、负责监督所属部门对于营销目标的执行情况,并制订月度营销实绩报告;二、市场信息管理1、负责市场调查及预测工作的实施,制订应对准备策略;2、负责做好交易往来客户名簿的登记管理制度,并指导实施;3、负责做好竞争对手调查名簿的登记管理制度,并指导实施;4、负责依据市场状况和公司发展宗旨,对本行业市场信息及营销进行整合;三、绩效管理页脚内容91、根据营销目标计划,制订月度考核计划,并配合行政部进行考核的实施;2、负责制订本部门的岗位责任制,辅助提升全体营销人员的业务素质水平;3、负责按计划完成每月货款回笼;4、负责收集产品信息,不定期征求客户对产品质量要求和其他质量信息,并反馈给公司质检部;5、负责监控营销项目的实施,督导下属工作的高效达成;6、负责在本部门推行目标管理模式,以推动公司经营的发展;四、对外、公关管理1、负责制订营销外务公关的管理制度,并推行;2、负责根据市场状况,整合市场信息,并提出相关措施;3、负责加强完善经销商合同,监控各类合约的签订、建档工作;4、负责对大中型客户的沟通与管理,做好服务跟踪;五、其他管理1、参与或主持相关的工作会议;2、负责在本部门推行企业文化管理体制;3、负责处理营销杂务,并做好营销策略参谋;4、负责所属人员的考核考评工作的实施;财务副总1.根据国家财务制度和财经法规,结合公司实际情况,制定适用的财务管理办法。
应⽤架构、业务架构、技术架构、业务流程图应⽤架构、业务架构、技术架构、业务流程图本⽂仅作学习记录,原作者原⽂地址:应⽤架构应⽤架构(Application Architecture)是描述了IT系统功能和技术实现的内容。
应⽤架构分为企业级应⽤架构、单个系统应⽤架构。
应⽤架构主要以架构图的⽅式描述系统的组成和框架,⼀般从系统功能视⾓的应⽤架构图和系统技术层次视⾓的应⽤架构图两个架构视⾓进⾏设计。
企业级应⽤架构企业层⾯的应⽤架构起到了统⼀规划、承上启下的作⽤,向上承接了企业战略发展⽅向和业务模式,向下规划和指导企业各个IT系统的定位和功能。
在企业架构中,应⽤架构是最重要和⼯作量最⼤的部分,它包括了企业的应⽤架构蓝图,架构标准、原则、系统的边界和定义、系统间的关联关系等⽅⾯的内容。
单个系统应⽤架构在开发和设计单⼀IT系统时,设计系统的主要模块和功能点,系统技术实现是从前端展⽰到业务处理逻辑,到后台数据是如何架构的。
在这⽅⾯的⼯作⼀般属于项⽬组,⽽不是企业架构的范畴,不过各个系统的架构设计需要遵循企业总体应⽤架构原则。
系统功能视⾓的应⽤架构图系统技术层次视⾓的应⽤架构图业务架构摘⾃《⾃主变⾰的基⽯制造企业管理技术及SOA实践》主要在考虑部署,例如你不同的应⽤如何分别部署,如何⽀持扩展,⾼并发,安全性等,需要画出物理部署图。
按照应⽤进⾏划分的话,还需要考虑是否⽀持分布式。
每⼀个典型的业务,都可以把它想象成⼀台运⾏的机器,⽽其中的每⼀个业务组件便是构成这台机器的功能模块。
之所以要利⽤组件进⾏业务架构的搭建,正是因为组件满⾜上述特性,这些特性能确保搭建的典型业务构架图,既⽹站有效,⼜⽆功能冗余,⽽且利于今后展开系统架构的组件分析和设计。
这样的架构能告诉我:是由那些内容相对独⽴的业务模块构成了这些典型业务。
如对其中的每⼀个业务组件之间的作业进⾏关联关系,相互沟通的⽅式进⾏研究,就能掌握整个业务架构的协同作业⽔平;如果每⼀个业务组件都采⽤前述外特性定义的⽅法加以描述,就能掌握这些业务组件能完成哪些独⽴的业务内容和达成哪些业务⽬标,利⽤业务架构图分析业务在功构成⽅⾯的完整性和合理性。
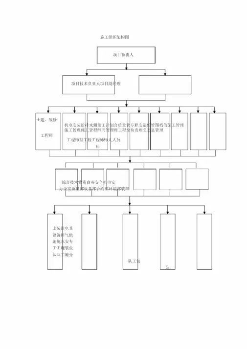
施工组织架构图说明:领导层的岗位职责项目负责人1、代表我公司履行对业主合约的责任,并受业主委托行使对分包单位的管理权。
2、对工程进度、质量、安全、文明施工、环境保护向业主全面负责;3、审批总进度计划及修订与调整;4、审批工程项目总质量保证计划;5、审批总材料供应计划;6、审批工程分包计划;7、负责组织工程成本的分析、预测及控制,对项目财政运作负责;8、与业主、监理保持经常接触,了解业主需求,解决随机出现的问题,替业主排忧解难,确保业主的利益;9、执行公司制定的质量政策及安全政策、环保政策。
项目副经理1、代表我公司履行对业主合约的责任,并受业主委托行使对分包单位的管理权。
2、对工程进度、质量、安全、文明施工、环境保护向业主全面负责;3、审批总进度计划及修订与调整;4、审批工程项目总质量保证计划;5、审批总材料供应计划;6、审批工程分包计划;7、负责组织工程成本的分析、预测及控制,对项目财政运作负责;8、与业主、监理保持经常接触,了解业主需求,解决随机出现的问题,替业主排忧解难,确保业主的利益;9、执行公司制定的质量政策及安全政策、环保政策。
技术负责人1、主管技术部和质保部工作,并指导项目全体员工严格执行公司的质量政策;2、审核各分包商的重大施工方案,确保方案安全可行;3、协助设计院组织设计深化,优化并组织专业图纸的补充,协调工作;4、统筹策划项目总体施工组织安排,组织编制总进度计划及总质量保证计划;5、策划土建、机电及其他专业的协调方案;6、组织工程技术资料的收集、汇总、管理,负责竣工技术资料的汇编工作;7、按工程需要组织坐标高程网布点测量成果的复核交接及日常管理工作;8、确保项目全面执行质量保证计划,参与、指导质量管理工作。
9、建立项目质量、环境保证体系,负责编制项目“质量保证计划”,报批后执行,并使之有效运作,符合公司营运及业主要求;10、负责对各部门的质量管理情况定期进行内部审核,并提出内审报告;11、同业主授权代表保持联络,并按要求提交报告;12、审核分包质量管理文件;13、配合业主监理公司实施工程质量监控,签署定期质检报告。
WORD格式施工组织架构图项目负责人项目技术负责人项目副经理土建、装修机电安装给排水测量工计划合质量管专职安造价管图档信施工管理施工管理施工管程师同管理理工程全负责理负责息管理工程师工程师理工程工程师师人人员师综合技术物资商务安全机电安办公室质量部设备部合约部环境部装部土装给电其建饰排气他施施水安专工工施装业队队工施分队工包队WORD格式项目负技术负责人项目副经理施工负责人安全负责人质量负责人财务负责人土建工程师结构工程师电气工程师机电工程师给排水工程师施安质材造资工全检料价料员员员员员员各施工队说明:领导层的岗位职责项目负责人1、代表我公司履行对业主合约的责任,并受业主委托行使对分包单位的管理权。
2、对工程进度、质量、安全、文明施工、环境保护向业主全面负责;3、审批总进度计划及修订与调整;4、审批工程项目总质量保证计划;5、审批总材料供应计划;6、审批工程分包计划;7、负责组织工程成本的分析、预测及控制,对项目财政运作负责;8、与业主、监理保持经常接触,了解业主需求,解决随机出现的问题,替业主排忧解难,确保业主的利益;9、执行公司制定的质量政策及安全政策、环保政策。
项目副经理1、代表我公司履行对业主合约的责任,并受业主委托行使对分包单位的管理权。
2、对工程进度、质量、安全、文明施工、环境保护向业主全面负责;3、审批总进度计划及修订与调整;4、审批工程项目总质量保证计划;5、审批总材料供应计划;6、审批工程分包计划;7、负责组织工程成本的分析、预测及控制,对项目财政运作负责;8、与业主、监理保持经常接触,了解业主需求,解决随机出现的问题,替业主排忧解难,确保业主的利益;9、执行公司制定的质量政策及安全政策、环保政策。
技术负责人1、主管技术部和质保部工作,并指导项目全体员工严格执行公司的质量政策;2、审核各分包商的重大施工方案,确保方案安全可行;3、协助设计院组织设计深化,优化并组织专业图纸的补充,协调工作;4、统筹策划项目总体施工组织安排,组织编制总进度计划及总质量保证计划;5、策划土建、机电及其他专业的协调方案;6、组织工程技术资料的收集、汇总、管理,负责竣工技术资料的汇编工作;7、按工程需要组织坐标高程网布点测量成果的复核交接及日常管理工作;8、确保项目全面执行质量保证计划,参与、指导质量管理工作。
施工组织架构图说明:领导层的岗位职责项目负责人1、代表我公司履行对业主合约的责任,并受业主委托行使对分包单位的管理权。
2、对工程进度、质量、安全、文明施工、环境保护向业主全面负责;3、审批总进度计划及修订与调整;4、审批工程项目总质量保证计划;5、审批总材料供应计划;6、审批工程分包计划;7、负责组织工程成本的分析、预测及控制,对项目财政运作负责;8、与业主、监理保持经常接触,了解业主需求,解决随机出现的问题,替业主排忧解难,确保业主的利益;9、执行公司制定的质量政策及安全政策、环保政策。
项目副经理1、代表我公司履行对业主合约的责任,并受业主委托行使对分包单位的管理权。
2、对工程进度、质量、安全、文明施工、环境保护向业主全面负责;3、审批总进度计划及修订与调整;4、审批工程项目总质量保证计划;5、审批总材料供应计划;6、审批工程分包计划;7、负责组织工程成本的分析、预测及控制,对项目财政运作负责;8、与业主、监理保持经常接触,了解业主需求,解决随机出现的问题,替业主排忧解难,确保业主的利益;9、执行公司制定的质量政策及安全政策、环保政策。
技术负责人1、主管技术部和质保部工作,并指导项目全体员工严格执行公司的质量政策;2、审核各分包商的重大施工方案,确保方案安全可行;3、协助设计院组织设计深化,优化并组织专业图纸的补充,协调工作;4、统筹策划项目总体施工组织安排,组织编制总进度计划及总质量保证计划;5、策划土建、机电及其他专业的协调方案;6、组织工程技术资料的收集、汇总、管理,负责竣工技术资料的汇编工作;7、按工程需要组织坐标高程网布点测量成果的复核交接及日常管理工作;8、确保项目全面执行质量保证计划,参与、指导质量管理工作。
9、建立项目质量、环境保证体系,负责编制项目“质量保证计划”,报批后执行,并使之有效运作,符合公司营运及业主要求;10、负责对各部门的质量管理情况定期进行内部审核,并提出内审报告;11、同业主授权代表保持联络,并按要求提交报告;12、审核分包质量管理文件;13、配合业主监理公司实施工程质量监控,签署定期质检报告。
教你画一张合格技术架构图当我们想用一张或几张图来描述我们的系统时,是不是经常遇到以下情况:·对着画布无从下手、删了又来?·如何用一张图描述我的系统,并且让产品、运营、开发都能看明白?·画了一半的图还不清楚受众是谁?·画出来的图到底是产品图功能图还是技术图又或是大杂烩?·图上的框框有点少是不是要找点儿框框加进来?·布局怎么画都不满意……如果有同样的困惑,本文将介绍一种画图的方法论,来让架构图更清晰。
一、一些基础概念1、什么是架构?架构就是对系统中的实体以及实体之间的关系所进行的抽象描述,是一系列的决策。
架构是结构和愿景。
系统架构是概念的体现,是对物/信息的功能与形式元素之间的对应情况所做的分配,是对元素之间的关系以及元素同周边环境之间的关系所做的定义。
做好架构是个复杂的任务,也是个很大的话题,本篇就不做深入了。
有了架构之后,就需要让干系人理解、遵循相关决策。
2、什么是架构图?系统架构图是为了抽象地表示软件系统的整体轮廓和各个组件之间的相互关系和约束边界,以及软件系统的物理部署和软件系统的演进方向的整体视图。
3、架构图的作用一图胜千言。
要让干系人理解、遵循架构决策,就需要把架构信息传递出去。
架构图就是一个很好的载体。
那么,画架构图是为了:·解决沟通障碍·达成共识·减少歧义4、架构图分类搜集了很多资料,分类有很多,有一种比较流行的是4+1视图,分别为场景视图、逻辑视图、物理视图、处理流程视图和开发视图。
★场景视图场景视图用于描述系统的参与者与功能用例间的关系,反映系统的最终需求和交互设计,通常由用例图表示。
★逻辑视图逻辑视图用于描述系统软件功能拆解后的组件关系,组件约束和边界,反映系统整体组成与系统如何构建的过程,通常由UML的组件图和类图来表示。
★物理视图物理视图用于描述系统软件到物理硬件的映射关系,反映出系统的组件是如何部署到一组可计算机器节点上,用于指导软件系统的部署实施过程。
软件各种系统架构图LT软件各种系统架构图发布一企业技术架构图,供大家参考。
该技术架构图是本人根据多年企业技术架构经验而制定,是企业技术的总架构图,希望对CTO们有所借鉴。
简单说明:1.中间件基础运行环境是经过统一规划的以WebLogic、JBOSS为主的集群环境2.企业集成平台是以基础业务应用为基础服务于上层平台和基础业务应用的高度集成平台3.数据中心是企业公共数据的集中管理比如用户数据、企业编码,可以通过数据集成平台或服务集成平台分发给其他应用项目做了不少,都没画过架构图,这次被要求画图,画的很丑,请大家看图本身包含的系统架构信息一、架构整体图1、核心是两库一线1.1 接口总线所有算法功能抽象成接口,其中大部分接口的方法都是泛型方法,是为了解决某一大类问题的1.2 代码库代码库包含现接口总线中接口的各种实现1.3 应用库提供用户的界面或者提供给外部的服务是通过容器配置调用算法库中的代码来实现的各原则Group Commit Domain event基于聚合根ID+事件版本号的唯一索引,实现聚合根的乐观并发控制框架保证Command的幂等处理通过聚合根ID对命令或事件进行路由,做到最小的并发冲突、最大的并行处理消息发送和接收基于分布式消息队列EQueue,支持分布式部署基于事件驱动架构范式(EDA,Event-Driven Architecture)基于队列的动态扩容/缩容EventDB中因为存放的都是不可变的事件,所以水平扩展非常容易,框架可内置支持支持Process Manager(Saga),以支持一个用户操作跨多个聚合根的业务场景,如订单处理,从而避免分布式事务的使用ENode实现了CQRS架构面临的大部分技术问题,让开发者可以专注于业务逻辑和业务流程的开发,而无需关心纯技术问题晚上把公司应用的架构结合之前研究的东西梳理了下,整理了一张架构规划图,贴在这里备份下面是个人理解的做架构的几个要点:1、系统安全这是首要考虑的,以这张图为例,网络划分为3个区:a) DMZ区可以直接公网访问,也可以与App Core区互通,但不能直接与DB Core区互通(通常这里放置反向代理Web服务器)b) App Core区能与DMZ区、DB Core区互通,但是无法直接从公网访问(通常这里放置应用服务器、中间件服务器之类)c) DB Core区仅与App Core区互通(通常这里放置核心数据库)2、尽量消除单点故障上图中,除了“硬件负载均衡”节点外,其它节点都可以部署成集群(DB有点特殊,传统RDBMS要实现分布式/集群还是比较困难的,要看具体采用的数据库产品,并非所有数据库都能方便的做Sharding),Jboss本身可以通过Domain 模式+mod_cluster实现集群、Redis通过Master/Slave以Sentinel方式可以实现HA、IBM MQ本身就支持集群、FTP Server配合底层储存阵列也可以做到HA、Nginx静态资源服务器自不必说3、成本尽量采用开源成熟产品,jboss、redis、nginx、apache、mysql、rabbit MQ都是很好的选择。
各种系统架构图及其简介1.Spring架构图Spring是一个开源框架,是为了解决企业应用程序开发复杂性而创建的。
框架的主要优势之一就是其分层架构,分层架构允许您选择使用哪一个组件,同时为J2EE应用程序开发提供集成的框架。
Spring框架的功能可以用在任何J2EE服务器中,大多数功能也适用于不受管理的环境。
Spring的核心要点是:支持不绑定到特定J2EE服务的可重用业务和数据访问对象。
这样的对象可以在不同J2EE环境(Web或EJB)、独立应用程序、测试环境之间重用。
组成Spring框架的每个模块(或组件)都可以单独存在,或者与其他一个或多个模块联合实现。
每个模块的功能如下:•核心容器:核心容器提供Spring框架的基本功能。
核心容器的主要组件是BeanFactory,它是工厂模式的实现。
BeanFactory使用控制反转(IOC)模式将应用程序的配置和依赖性规范与实际的应用程序代码分开。
•Spring上下文:Spring上下文是一个配置文件,向Spring框架提供上下文信息。
Spring上下文包括企业服务,例如JNDI、EJB、电子邮件、国际化、校验和调度功能。
•Spring AOP:通过配置管理特性,Spring AOP模块直接将面向方面的编程功能集成到了Spring框架中。
所以,可以很容易地使Spring框架管理的任何对象支持AOP。
Spring AOP模块为基于Spring的应用程序中的对象提供了事务管理服务。
通过使用Spring AOP,不用依赖EJB组件,就可以将声明性事务管理集成到应用程序中。
•Spring DAO:JDBC DAO抽象层提供了有意义的异常层次结构,可用该结构来管理异常处理和不同数据库供应商抛出的错误消息。
异常层次结构简化了错误处理,并且极大地降低了需要编写的异常代码数量(例如打开和关闭连接)。
Spring DAO的面向JDBC的异常遵从通用的DAO异常层次结构。
各种系统架构图及其简介1.Spring 架构图Spring 是一个开源框架,是为了解决企业应用程序开发复杂性而创建的。
框架的主要优势之一就是其分层架构,分层架构允许您选择使用哪一个组件,同时为J2EE 应用程序开发提供集成的框架。
Spring 框架的功能可以用在任何J2EE 服务器中,大多数功能也适用于不受管理的环境。
Spring 的核心要点是:支持不绑定到特定J2EE 服务的可重用业务和数据访问对象。
这样的对象可以在不同J2EE 环境(Web或EJB )、独立应用程序、测试环境之间重用。
组成Spring 框架的每个模块(或组件)都可以单独存在,或者与其他一个或多个模块联合实现。
每个模块的功能如下:•核心容器:核心容器提供Spring 框架的基本功能。
核心容器的主要组件是BeanFactory ,它是工厂模式的实现。
BeanFactory 使用控制反转(IOC )模式将应用程序的配置和依赖性规范与实际的应用程序代码分开。
•Spring 上下文:Spring 上下文是一个配置文件,向Spring 框架提供上下文信息。
Spring 上下文包括企业服务,例如JNDI 、EJB 、电子邮件、国际化、校验和调度功能。
•Spring AOP :通过配置管理特性,Spring AOP 模块直接将面向方面的编程功能集成到了Spring 框架中。
所以,可以很容易地使Spring 框架管理的任何对象支持AOP 。
Spring AOP 模块为基于Spring 的应用程序中的对象提供了事务管理服务。
通过使用Spring AOP ,不用依赖EJB 组件,就可以将声明性事务管理集成到应用程序中。
•Spring DAO :JDBC DAO 抽象层提供了有意义的异常层次结构,可用该结构来管理异常处理和不同数据库供应商抛出的错误消息。
异常层次结构简化了错误处理,并且极大地降低了需要编写的异常代码数量(例如打开和关闭连接)。
Spring DAO 的面向JDBC 的异常遵从通用的DAO 异常层次结构。
•Spring ORM :Spring 框架插入了若干个ORM 框架,从而提供了ORM 的对象关系工具,其中包括JDO 、Hibernate 和iBatis SQL Map 。
所有这些都遵从Spring 的通用事务和DAO 异常层次结构。
2.ibatis 架构图ibatis 是一个基于Java的持久层框架。
iBATIS 提供的持久层框架包括 SQL Maps 和Data Access Objects ( DAO ),同时还提供一个利用这个框架开发的 JPetStore 实例。
IBATIS :最大的优点是可以有效的控制sql 发送的数目,提高数据层的执行效率!它需要程序员自己去写sql 语句,不象hibernate 那样是完全面向对象的,自动化的,ibatis 是半自动化的,通过表和对象的映射以及手工书写的sql 语句,能够实现比hibernate 等更高的查询效率。
Ibatis 只是封装了数据访问层,替我们做了部分的对象关系映射。
但代价是必须要写xml配置文件,相对于Hibernate 还要写很多sql 。
Hibernate 通过工具直接从数据库模式生成实体类和基本的配置文件,而且大部分情况下不需要我们写sql ,会较大的提升开发效率。
但这些也有很多的局限性,尤其是对环境的要求较高(数据库设计,对象设计,团队的协作等)。
个人感觉Ibatis 对项目比较有意义的地方在于它小巧灵活,可扩展,封装了数据访问层(事务,缓存,异常,日志),并提供了DAO 框架支持。
利用Ibatis 我们可以做到代码和sql 的分离,只要sql 能够解决的问题,Ibatis 就能帮我们较容易的解决,同时也使我们的项目对某一框架的依赖性变小(因为Ibatis 是非侵入性的)。
这将极大的降低项目风险,减少解决复杂问题的时间,使项目的维护变得简单。
Ibatis 对于应用的修改,调试,扩充和维护将会变得容易自然。
修改时,我们主要修改的是代表模型的实体对象,xml 配置文件中的sql ,和/ 或配置文件的ResultMap (很多时候是不需要的)。
同时,sql 和代码分离,我们不用在代码的StringBuffer 的append 方法之间寻找需要修改的sql 。
配置文件中的sql 便利了我们的调试和对sql 的评审及以后的sql 重用。
3.structs1 架构图Struts 是Apache 基金会Jakarta 项目组的一个Open Source 项目,它采用MVC 模式,能够很好地帮助java 开发者利用J2EE 开发Web 应用。
和其他的java 架构一样,Struts 也是面向对象设计,将MVC 模式" 分离显示逻辑和业务逻辑" 的能力发挥得淋漓尽致。
Structs 框架的核心是一个弹性的控制层,基于如Java Servlets ,JavaBeans ,ResourceBundles 与XML 等标准技术,以及Jakarta Commons 的一些类库。
Struts 有一组相互协作的类(组件)、Serlvet 以及jsp tag lib 组成。
基于struts 构架的web 应用程序基本上符合JSP Model2 的设计标准,可以说是一个传统MVC 设计模式的一种变化类型。
Struts 有其自己的控制器(Controller ),同时整合了其他的一些技术去实现模型层(Model )和视图层(View )。
在模型层,Struts 可以很容易的与数据访问技术相结合,如JDBC / EJB ,以及其它第三方类库,如Hibernate / iBATIS ,或者Object Relational Bridge( 对象关系桥) 。
在视图层,Struts 能够与JSP ,包括JSTL 与JSF ,以及Velocity 模板,XSLT 与其它表示层技术。
Struts 为每个专业的Web 应用程序做背后的支撑,帮助为你的应用创建一个扩展的开发环境。
• Client browser (客户浏览器)来自客户浏览器的每个HTTP 请求创建一个事件。
Web 容器将用一个HTTP 响应作出响应。
• Controller (控制器)控制器接收来自浏览器的请求,并决定将这个请求发往何处。
就Struts 而言,控制器是以servlet 实现的一个命令设计模式。
struts-config.xml 文件配置控制器。
•业务逻辑业务逻辑更新模型的状态,并帮助控制应用程序的流程。
就Struts 而言,这是通过作为实际业务逻辑“ 瘦” 包装的Action 类完成的。
• Model (模型)的状态模型表示应用程序的状态。
业务对象更新应用程序的状态。
ActionForm. bean 在会话级或请求级表示模型的状态,而不是在持久级。
JSP 文件使用JSP 标记读取来自ActionForm. bean 的信息。
• View (视图)视图就是一个JSP 文件。
其中没有流程逻辑,没有业务逻辑,也没有模型信息-- 只有标记。
标记是使Struts 有别于其他框架(如Velocity )的因素之一4.structs2 架构图Struts 2 相对于Struts 1.X ,将实现用户业务逻辑(Action )同Servlet API 分离开,这种分离机制,是采用了拦截器或者拦截器栈(拦截器链)。
拦截器是Struts 2 的核心内容之一。
Struts 2 内建了多个拦截器和拦截器栈(由多个拦截器形成的拦截器链),将用户的Web 请求进行拦截处理,从而提供了更加丰富的功能,例如数据类型转换、国际化、文件上传等。
5.Hibernate 架构图Hibernate 是一个开放源代码的对象关系映射框架,它对JDBC 进行了非常轻量级的对象封装,使得Java 程序员可以随心所欲的使用对象编程思维来操纵数据库。
Hibernate 可以应用在任何使用JDBC 的场合,既可以在Java 的客户端程序使用,也可以在Servlet/JSP 的Web 应用中使用,最具革命意义的是,Hibernate 可以在应用EJB 的J2EE 架构中取代CMP ,完成数据持久化的重任。
Hibernate 的核心接口一共有5 个,分别为:Session 、SessionFactory、Transaction 、Query 和Configuration 。
这5 个核心接口在任何开发中都会用到。
通过这些接口,不仅可以对持久化对象进行存取,还能够进行事务控制。
下面对这五个核心接口分别加以介绍。
·Session 接口:Session 接口负责执行被持久化对象的CRUD 操作(CRUD 的任务是完成与数据库的交流,包含了很多常见的SQL 语句。
) 。
但需要注意的是Session 对象是非线程安全的。
同时,Hibernate 的session 不同于JSP 应用中的HttpSession 。
这里当使用session 这个术语时,其实指的是Hibernate 中的session ,而以后会将HttpSesion 对象称为用户session 。
·SessionFactory 接口:SessionFactory 接口负责初始化Hibernate 。
它充当数据存储源的代理,并负责创建Session 对象。
这里用到了工厂模式。
需要注意的是SessionFactory 并不是轻量级的,因为一般情况下,一个项目通常只需要一个SessionFactory 就够,当需要操作多个数据库时,可以为每个数据库指定一个SessionFactory 。
·Configuration 接口:Configuration 接口负责配置并启动Hibernate ,创建SessionFactory 对象。
在Hibernate 的启动的过程中,Configuration 类的实例首先定位映射文档位置、读取配置,然后创建SessionFactory 对象。
·Transac tion 接口:Transaction 接口负责事务相关的操作。
它是可选的,开发人员也可以设计编写自己的底层事务处理代码。
·Query 和Criteria 接口:Query 和Criteria 接口负责执行各种数据库查询。
它可以使用HQL 语言或SQL 语句两种表达方式。
6.J2EE 架构图J2EE 是一套全然不同于传统应用开发的技术架构,包含许多组件,主要可简化且规范应用系统的开发与部署,进而提高可移植性、安全与再用价值。
J2EE 核心是一组技术规范与指南,其中所包含的各类组件、服务架构及技术层次,均有共通的标准及规格,让各种依循J2EE 架构的不同平台之间,存在良好的兼容性,解决过去企业后端使用的信息产品彼此之间无法兼容,导致企业内部或外部难以互通的窘境。