国库集中支付操作流程图
- 格式:doc
- 大小:95.50 KB
- 文档页数:14
一、国库单一账户体系序号账户类别开户银行使用单位用途1 国库单一账户人民银行财政国库股预算内资金收支和清算2 预算外资金财政专户商业银行财政国库股预算外资金收支和清算3 往来资金财政专户商业银行财政国库股往来资金收支和清算4 财政零余额账户代理银行财政支付中心财政直接支付和清算5 预算单位零余额账户代理银行预算单位财政授权支付和清算6财政特设专户商业银行财政国库股特殊专项资金收支二、资金流程图预算内清算预算外清算往来资金清算财政直接支付清算财政授权支付清算单位所有收入性质的资金单位往来资金税收、纳入预算管理的基金等往来资金财政专户国库存款账户非税局汇缴户预算外资金财政专户(一)收入解缴程序(三)资金清算程序财政直接支付财政授权支付财政直接支付流程图B 审核用款计划B 审核用款计划A 申报用款计划C 通知用款额度6通知清算9 7 9 1申请用款预通预算知算5通知入帐外清内和算清2审核原始凭证后往额算开具直接支付令来度4付款回单清算3核对付款8预算内清算流程说明:一、流程A-C 为用款计划与额度批复程序。
预算单位根据财政部门批准下达的年初拨款控制数或预算指标,分月编制本单位用财政业务股室收款人财政国库股人行国库股财政支付中心预算单位代理银行收款人账户单位零余额账户财政零余额账户(二)资金支付程序收款人或支现款计划;用款计划经财政对口业务管理股室审核后,财政国库股批复直接支付额度并通知支付中心和预算单位。
二、流程1-9为财政直接支付程序预算单位发生工资、工程和物品及服务采购支出或其他特定用途支出时,在其直接支付额度内,通过财政国库集中支付系统录入直接支付申请。
支付中心对单位直接支付申请和相关原始凭证审核确认后,向代理银行开具《财政直接支付凭证》;代理银行在与财政国库集中支付系统相关信息和预留印鉴核对一致后,通过财政零余额账户将资金先予支付给收款人或用款单位,并将付款回单送支付中心;支付中心据以通知预算单位入账。
国库集中支付系统操作步骤一、用款计划申请批复1、进入国库集中支付系统,选择比县国库支付中心帐套,输入用户名和密码,如下图:2、进入国库集中支付功能------用款计划管理-----分月用款计划编制,选择预算单位,输入功能分类科目、预算单位、归口科室、资金性质、经济分类,支出类型、预算管理类型、指标来源、支付方式、计划金额和摘要。
输入完成后点击保存按钮。
如下图:3、保存完成后,点击审核批复按钮,将用款计划批复至国库支付中心。
需要查看各预算单位的用款计划,可以到用款计划登记簿中查询。
4、用款计划批复后不可以修改,发现错误需要修改的,必须将审核批复撤消后才可以修改。
进入用款计划批复功能窗中,点击已批复页签,选择需要撤消批复的用款计划,点击撤消按钮,如下图:然后进入用款计划登记簿功能窗中,点击已审核页签,选择需要取消审核的用款计划,点击销审按钮。
至此用款计划才可以修改。
如下图:二、支付申请输入审核1、资金会计或报帐员进入国库集中支付功能------支付管理-----支付凭证成批录入功能,选择付款人全称、业务科室、预算单位,该预算单位的用款计划自动显示,根据该用款计划填制支付凭证信息,填制完成后点保存按钮。
如下图:2、审核会计进入支付凭证登记簿功能中,点击未审核页签,选中需要审核的支付申请,点击审核按钮。
需要修改的先将审核取消再修改。
如下图:三、支付会计打印支付凭证并确认支付会计进入支付凭证登记簿中,打开审核过的支付凭证,点打印按钮,并审核确认。
支付凭证经支付会计确认后,不再可以打印修改,需要修改并打印的,必须将确认取消。
进入确认管理功能下的支付凭证登记簿中,选中支付凭证,点击反确认按钮。
如下图:四、查询进入国库集中支付功能下的帐表输出,对用款计划执行结余汇总表、用款计划明细表、财政支出日报表、财政资金收支结余情况表等进行查询。
用款计划管理1 / 14拨款管理图示2 / 14直接支付管理3 / 14支付业务流程•直接支付墓层预算单位支时申心代理锂厅国出银廿记帐痢F-1—; ------.J J 酎3L :I记服见追也汕L L 匸X EiitSftrC'ttthf (询LUTiJTKT 〔陸帕白很良怕L4 申帏(出樓—n-'i <■' iMzui〔綿制,理淫(屮枝WWT? T(粧利、ki/ 14i :Vi.'.J. !J-iiKTTrvr:申報2_用痢划财说”訂瑕iJ-1 用献曲:l'V <' ::1 .t-i! tn 苗:佛心 皿认)片’怙业脯诃曲虬£一 ft 矗也优丫丘中请书1縊制*站)rnr^rrw^TUTTET-T^9 ■H 按也帖力总申请祐<4iH>门丁応1」1打」阳IiTTTWTTK BEVTTirfyOK ■Uitt )击长自楼.KI 入服逋刘巾' t址呛」宵枢龙付人肚』打吓(im )「供芟Fi 加;诂出(g jFi 抚HJ7匸溝订沖咤3); |『(堀妝、QI 敢'US ,1L*'J AWI1.C Jt|l-| i.(编>k 塑挖」直接支付退款管理5 / 14支付业务流程•直接支何更正{盜金退冋)国库科祟主管预算单位支付屮心 局K代理银行国卑银彳j记旺lliifk'Skil.订i 匚贼氓if Fdi £M01L E (1UH )M 卩 i 范、I 'L 畫支忖赋4cjfekb 迪延鸟Tii 交h 丄]」中検;i*i^ H'J i : 1:(iBMJ nH4I iji H.J<iEH >週知书 (JT 印、歴送j申请跡峑哉娃述〔劇4自摟盍封归用 K 退何》通却书・•—、二比■■KN 迥祸低訓6 / 14中谕制血綽tiiF门&良忙""沾徨K 曉支材入知知单 i 编欄*创的上滋射{区惶〕「弋怛门冷讦诂甲(搖收1帕赛丈廿人氐/知屮 <按收〕直接支付结转管理7 / 14晝接支何川款讣划结转基层预號单忡卞.管预诈申位支讨中心国阵料家MK 代珂昭j 国阵锐行宜接支尙押fit汁副结開丰;>5辆吃針区龙付川益4训"瞒ft®单悅和匚出tl训出U强七丿1:典丨:1吐灯8 7一149 / 14支付业务流陆授权支付皐出侏算瞅位支何屮心hull代咖行 创库银行祀⑪坛JFcn^t-irTW,恋-讣14授枕玄计號证6H “復我ilfj 建让 「I 曲附擬打黑阳咄{播視支 廿射划审』TVTRmrTTFWTTnr f 按机^HTifrur 确i/J订貳外10 /(讀貝)捋和釘•悅」「-TTiWECTT£悵收7 _____打亂取.UiMLLS^d〔啊、捋权立韦hr 讦WMaraS¥ 骗制,豆楝){镐方h MO:R 拭.芒<f5戛适加L«ath MiiTTsmrI :iWlK ;rtL-jl L縮凰、Vta> SKwarairaw 〔藤⑵哥後T 用閒皿兄細f.醴收io) um)—¥irariruw糟稅左口朝?背畑刘誓彳歸制,匕椿)TTTmrntmiKT i 軽收」^nrrrro^rFWoiH(領刑-呢枚)®snw 血罐加审< M 认)抵仪厂背!二沾订'-;!£貳"1駅|mrrmTFrwft TJiLfBll J支付业务流程•授权支付更正(资金退回)主骨他算驻位支何中心国炸科京罔长代刖礙行国咋氓疔12 / 14殛;{.-■: if(世回i血讪S*审桩〕3SX荷更朮[凹H0迪如対■制* Mtt)C遣回'通甸书【翳St Ktt)HE厂寸疋也 :泪匡b通圮I B<审円)按靱支佔见匸oh^bifi期密f.afiiiA)址底代i.F擡权茁付电匚(ifiHJ通知书「打印、狂送、屋枳H讨宜上〈退|中遞却书t确认》按权立忖醴血< ihl1■!?通如b〔帥认■■记味昭注TT^TTnnrr囈厂」*L ist? iLfjum45^已區切尼盛凫订申清划過汝圧注t编制*刼越〕―►(ifrF>L-_ Y附谒盯Jt!就児订_ 一_ 豐一二7 卫楓£ !I用•鋼制、直皱」13 / 14授权支付用款额度结转菇层侦算单位主曽预算单位女付中出国叽斗選厨长代理附I删银疔拧債1J「吳凉翻〕(禅扯FM隘颉咚塔余脈si■授权屯付誑小朋ilHl:卜―、接收整枚■障皿:打相小丨颌:补锐叫「•“甲枚揍取.主州陨应结* 转诗庄去耳桃按収釦非就吐特氏左事二二〉臧&甘緒转阳■■5M®爭i搂收轻輕龙人1歆用Mb纫底』:..i>r城枚糧叔左付載麼览山:|惟圧如*i4记底宦iiE4.__ 7iiJL!r;il- _______ — ------- *14 / 14。
国库集中支付操作流程第一章:国库单一帐户体系的设置一、县财政局在人民银行鄱阳县中心支行开设的国库单一帐户。
用于记录、核算和反映财政预算内资金和纳入预算管理的政府性基金的收支活动。
二、县财政局在商业银行开设非税收入资金财政专户。
用于记录、核算和反映非税收入资金的收支活动。
三、县财政局在商业银行开设的财政零余额帐户。
用于记录、核算和反映实行直接支付方式的财政性资金活动。
四、县财政局在商业银行为预算单位开设国库集中核算帐户。
用于记录、核算和反映实行授权支付方式的财政性资金活动。
五、县财政局在商业银行开设清算备用金帐户,用于现代化支付清算系统建成以前,办理超过当天清算截止时间后实际发生授权支付的资金清算。
清算备用金帐户的额度由县财政局确定。
六、经省人民政府、省财政厅和市人民政府批准或授权,由县财政局为预算单位在商业银行开设特设专户。
用于记录、核算和反映县财政或预算单位的特殊专项资金活动。
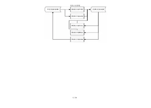
月度用款计划流程图2第二章:月度用款计划月度用款计划流程说明一、预算单位依据批复的部门预算指标编制《预算单位月度用款计划表》,在上报县财政局业务股室,并提出财政直接支付和授权支付月度用款计划数。
二、县财政局业务股室在2个工作日内审核预算单位的月度用款计划后,上报送县财政局国库股汇总审核。
三、县财政局国库股对业务股室转报的预算单位月度用款计划在2个工作日内进行汇总审核,审核通过后将批准的计划传达给县国库支付核算中心和预算单位。
四、县国库集中支付核算中心根据县财政局批准的预算单位月度用款计划,每月月底前2个工作日填制《财政授权支付额度、清算额度汇总通知书》和《预算单位财政授权支付额度明细单》,经县财政局国库股结合国库存款加盖印章后,送人民银行鄱阳县支行和商业代理银行。
月度用款计划编制说明一、编制方法1、预算单位根据批准的部门预算编制月度用款计划、该计划按月编制,包括财政直接支付用款计划和财政授权支付用款计划两部分。
2、预算单位月度用款计划按照县财政局统一制定的《县级预算单位月度用款计划表》编制。
计划审批
资金拨付
账务处理
核算中心按期向有关单位报送会计报表
单位报账号向支付中心提交申请单
支付中心受理人员受理并录入
支付中心受理人员交叉复核、审核 支付中心打印支付令并交单位报账员到银行办理结算
财政所年初按部门预算下达全年支出指标或中途追加(减)相关指标
指标下达
国库集中支付操作流程图
预算单位按季申报各月用款计划
总预算会计初审
经所审批后录入集中支付系统并下达用款计划
核算中心记账人员审核、记账。