重大事项决策程序流程图
- 格式:doc
- 大小:66.50 KB
- 文档页数:8
重大事项决策程序图(一)重要干部任免流程图(二)重大项目安排流程图(三)公开招标大额资金使用流程图(四)大额度重大项目 资金使用综合科(地籍)土地登记流程图(五)综合科(地籍)土地权属争议调处工作流程图(六)当事人申请…………当事人申请调查处理土地权属争议,应当提交书面申请书和有关证据材料,并按照被申请人数提交副本受理…………国土部门依照规定进行审查,并在收到申请书之日起7个工作日内提出是否受理的意见。
认为不应当受理的,及时拟定不予受理建议书,报同级人民政府作出不予受理决定。
发送申请书副本…………国土部门在决定受理之日起5个工作日内将申请书副本发送被申请人。
提交答辩书和证据资料…………被申请人应当在接到申请书副本之日起30日内提交答辩书和证据资料。
调查取证…………国土部门及时指定承办人对当事人争议的事实情况进行调查。
对当事人提供的证据材料,应当查证属实,方可作为认定事实的根据。
调解…………国土部门在查清事实、分清权属的基础上先行调解,调解达成协议的,制作调解书。
并在调解书生效之日起15日内,将调解书送达当事人,同时抄报上一级国土资源行政主管部门。
提出处理意见…………调解未达成协议的,国土部门应当及时提出调查处理意见。
国土部门应当自受理土地权属争议之日起6个月内提出调查处理意见。
因情况复杂,在规定时间内不能提出调查处理意见的,经该国土部门主要负责人批准,可以适当延长。
人民政府下达处理决定…………国土部门提出调查处理意见后,应当在5个工作日内报送同级人民政府,由人民政府下达处理决定。
同时将处理意见抄报上一级国土资源行政主管部门。
综合科(规划)建设项目用地预审流程图(七)综合科(耕保)建设用地项目报批流程(八)综合科(耕保)农民建房审核报批流程图(九)综合科(利用)国有土地使用权划拨审批流程图(十)批准条件:1、符合《划拨用地目录》的用地。
包括:国家机关用地和军事用地,城市基础设施和公益事业用地,国家重点扶持的能源、交通、水利等基础设施用地,法律、行政法规规定的其他用地;2、经济适用住房用地;3、国有企业改革中符合国家及省政府的有关文件规定的;4、其他可以划拨方式的用地。
重大问题决策流程图
10个工作日
日常工作经费审批流程图
5个工作日预借经费审批流程图
会议费用审批流程图
固定资产购置审批流程图
1个工作日
公务接待审批流程图
物资采购审批流程图
资产处置审批流程图
专项财务审计流程图
督检查流程图
干部竞争上岗流程图
企业领导干部选拔任用流程图
干部轮岗流程图
个工作日
个工作日
储备粮轮换管理流程图
承储指标安排流程图
储备粮监督检查流程图
1个工作日
1个工作日
粮食收购许可流程图(外部)
后勤保障物资采购流程图
印章管理流程图
粮食收购专项检查流程图
粮食流通市场执法检查流程图。
“三重一大”事项决策流程图.doc“三重一大”事项决策流程图“三重一大”事项决由局班子成员、各股室(大队)、各民主党派、人民团体、策建议的提出企事业单位、社会团体及公民建议书的主要内容包括“三重一大”事项决策建议拟解提交书面建议书决的问题、建议理由的说明、法律法规和政策依据、解决问题的方案、可行性分析及其他相关材料局党支部研究不能列入及时反馈结果,是否列入并说明理由列入局党支部确定承办承办股室或部门应当根据决策股室或部门目标的要求,拟定决策方案报请分管领导进行协决策方案征求相关调,不能协调的,报不一致不一致请院领导班子认定部门和单位的意见协商意见意见仍进行向院办意见一致公室提交书面报告报告应当写明承办科室及责任人、前期协调及论证情况、主要方案的比较分析、具体决策内容、决策事项大实施中可能出现的问题及对策、倾向性意见等。
院务会议讨论须经院务会集体讨论决定,不得以传阅、会签或个别征求意见等方式代替集体决策。
做到规范化、制度化、程序化院办公室审查该决策方案是须有院务会成员三分之二以上到会方可进行报告后,提请院务会议否列入“三重一大”事会前由相关科室准备规范化的会议材料,包括决策方案和科学论证材料讨论项院办公室应在会议召开两天前,前会议通知送达参加人员。
院务会的班子成员因故不能参加的,可以采用书面形式表达个别细节和院务会议讨部分内容需论决定进行表决通过决策执行与调整督查检查深入研究的,修改后最终审查决定分歧较大或发现重大问题应暂缓决定必须公开的事项按规定公开分工落实,定期报告,按需调整。
纳入党风廉政工作重点,纪检组负责落实重大事项决策流程图深入调查,分管领导组织科室充分讨论,提出初调查研究步意见确定议题相关科室负责人书面提出议题,分管领导审核,主要领导确认材料送达相关人员,酝酿意见会议讨论意见,对决策进行表决对决策依据、过程、结果向社会公开依法公开重大项目安排流程图分管领导组织科室对项目进行审查,提出初步意项目审查见组织专家进行论证、评估,形成专家意见,提交专家论证党组会议参考向社会公开征求意见,提交党组会议参考征求意见会议讨论意见,对审批结论进行表决作出决策对项目审批过程、结论向社会公示依法公示公示无异议,正式审批正式审批大额资金使用流程党组会议决定年度预算安排,新增大额资金须经党组专门集体研究后决定安排预算相关科室提交“大额资金使用报告”,分管领集体研究导审核后,提交党组会议研究形成决议将研究结论在公示栏、网站公示公开公示公示期结束无异议,财务室拨付资金资金使用重要干部任免流程图党组会或书面推荐,按民主测评、民主评议民主推荐方式提名,半数以上进入组织考察程序办公室、人教科、纪检成立联合考察组,对组织考察人选进行德、能、勤、绩、廉考察院务会投票决议,形成会议决定会议决定重大项目安排流程图办公室整理档案,在一定范围内公示,公示任前公示无异议进行试用试用期一年,办公室进行考核,胜任正式任干部试用命,不胜任免去职务重大项目投资流程图分管领导组织科室、工会对项目进行审查,提出初步意见项目审查专家论证组织专家进行论证、评估,形成专家意见,提交院务会议参考向社会公开征求意见,提交院务会议参考征求意见会议讨论意见,对审批结论进行表决作出决策风险点:不按民主集中制和党委会议事规则进行决议,资金使用过程中滥用权力,有徇私舞弊、优亲厚友现象。
重大事项民主决策工作流程图权力运行风险表现:风险①:重大事项民主决策前未能听取各股室、站工作人员意见,做好局工作。
风险②:在重要人事任免、重点项目安排和大额度资金使用、重大问题的决定未经领导班子集体研究决定,或虽提交会议研究,但未按议事规则、决策程序讨论决定。
风险③:在决定重大事项中未履行会议表决通过程序。
风险④做出的决策,未形成会议纪要。
防范措施:1、加强学习教育。
2、严格执行《重大事项民主决策工作制度》、《干部任免工作制度》、《会议制度》。
3、设立重大事项民主决策监督岗,实行公示监督。
党委、行政办公室提出重大事项决策内容 充分听取各股室、所工作人员意见,做好协调工作党委、局长办公室会议集体讨论决定做出决策,形成会议纪要 会议表决通过风险①风险②风险③风险④重大事项报告工作流程图权力运行风险表现:风险①:不按规定报告或不如实报告,弄虚作假,欺骗组织,造成不良影响和严重后果。
风险②:对报告人报告的内容,应予保密;未经组织批准公开,造成不良影响和严重后果。
风险③:对重大突发事件、重大违纪案件不报告、不及时处理造成重大人员伤亡或重大财产损失。
风险④:个人重大事项实施情况反馈纪检监察室后未进行备案。
防范措施:1、加强学习教育。
2、严格执行《中国共产党党内监督条例(试行)》、《领导干部个人重大事项报告制度》。
3、设立监督岗,局监察室加强督察,强化责任追究。
个人(包括家属、子女)重大事项(如:经商、出国等)情况列出书面材料风险①副科级以上干部报市局党委、纪委审定局纪检监察室根据审批情况通知干部本人,并传达有关要求或解释有关情况 副科级以下干部报局党委或局长办公会审定个人重大事项实施情况反馈局纪检监察室备案局纪检监察室视人员性质和事由分类整理后行文报有关部门风险②风险③风险④公务员年度考核评优工作流程图对考核结 果有异议权力运行风险表现:风险①:未按各单位公务员人数分别核算优秀等次人数;未能提供核定公务员优秀等次比例的理由和附件,随意突破优秀等次比例。
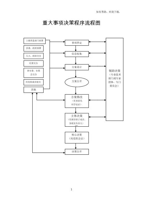
***重大事项决策工作流程图
(***)
备注:
风险一:因人情关系,可能出现议题不实事求是的问题,议题的可行性与事实不符,给重大事项决策带来风险。
防控措施一:决策前深入调查研究,充分听取各方面的意见,运用科学方法进行综合评估,形成会议纪要,存档备案。
风险二:徇私舞弊,减化程序,故意隐瞒相关要件,给企业造成损失。
防控措施二:决策前深入调查研究,充分听取各方面的意见,运用科学方法进行综合评估,形成会议纪要,存档备案。
风险三:因单位民主决策程序设计不科学、公示制度不完善,在重大事项决策过程中违规操作,损害企业利益。
防控措施三:完善重大事项决策相关的征求意见、公示公开等制度,制定相关工作程序。
党委重大事项议决事流程图
人事类事项讨论决定流程图
镇政府重大投资项目流程图
3
财政资金使用流程图
4
镇招投标工作流程示意图
办理单位
受理单位
镇招投标评标工作流程示意图
缴纳合同履约保证金,工程验收 缴纳出让金,办理有关权证
招投标情况 书面报告
镇招标办
招投标分中心
招投标分中心
镇集体资产购(处)置流程图
党员发展工作流程图
新农合住院病人报销流程图
11
五河县一事一议流程图
财政补贴农民资金发放流程图
家电下乡申请补贴流程图
乡镇企业、乡村公共设施和公益事业
建设流程图
↓
↓
↓
↓
↓
村民建房申请流程图
↓
↓
↓
↓
↓
↓
↓
新集镇村民宅基地审批流程图
城镇低保项目审批流程图
低保审核评定操作流程图
大病救助项目审批流程图
农村五保户申办程序
农村医疗救助申办程序
贫困重度残疾人生活特别救助申办流程图
五河县重大意外事故及疾病死亡救助资金申办程序
计划生育奖励扶助工作流程图
非医学需要的中期以上终止妊娠手术审批流程图
再生育审批流程图。