重大事项决策程序流程图
- 格式:doc
- 大小:56.50 KB
- 文档页数:5
重大问题决策流程图
重要干部任免流程图
重大项目投资决策流程图
大额资金使用流程图
日常工作经费审批流程图预借经费审批流程图
会议费用审批流程图
固定资产购置审批流程图
1个工作日
2个工作日
公务接待审批流程图
物资采购审批流程图
2个工作日
资产处置审批流程图
专项财务审计流程图
干部竞争上岗流程图
企业领导干部选拔任用流程图
干部轮岗流程图
个工作日
个工作日
储备粮轮换管理流程图
承储指标安排流程图
储备粮监督检查流程图
1个工作日
粮食收购许可流程图(外部)
后勤保障物资采购流程图
印章管理流程图
1个工作日
粮食收购专项检查流程图
粮食流通市场执法检查流程图。
山西管理职业学院重大事项决策流程图1.职能部门提出的决策议题;2.党委领导提出的决策议题3.院长办公会提交的决策议题;深入调查,形成书面调查研究报告。
需要党委会审议的重要公文文稿,应当在会议前一周向相关法律部门进行咨询初核。
1.会议组成人员发表意见,对决策进行表决;2.形成会议纪要;3.严格实行公示制度;提出议题调查研究征求意见确定议题决策执行4.教职工代表大会提交的决策议题;5.贯彻落实上级单位的文件;6.其它事项需要提交决策的议题。
向学院师生公开征求意见和建议,提交党委会参考;所提出的议题经分管院领导审核签字,院党委书记批准同意后上会。
党政领导分工负责,分解任务,组织实施。
承办部门:办公室接待地点:办公室电话:山西管理职业学院领导领办重大事项流程图承办部门:办公室接待地点:办公室电话:310222山西管理职业学院干部任免流程图山西管理职业学院发展党员工作流程图山西管理职业学院师德师风建设工作流程图承办部门:人事处接待地点:人事处办公室电 话:山西管理职业学院专业技术职务评聘工作流程图承办部门:人事处接待地点:人事处办公室电话:山西管理职业学院人才(教师)招聘工作流程图承办部门:人事处接待地点:人事处办公室电话:山西管理职业学院教学相关项目评审工作流程图承办部门:教务处接待地点:教务处办公室电话:山西管理职业学院教材征订工作流程图承办部门:教务处接待地点:教务处办公室电话:山西管理职业学院学籍管理工作流程图山西管理职业学院教学评优评奖工作流程图承办单位:教务处接待地点:教务处办公室电话:山西管理职业学院国家奖助学金评审工作流程图山西管理职业学院学生违纪处分工作流程图1.属系部职责范围内的,由学生所在系部负责调查取证工作;2.超出系部职责范围,涉及到其他有关部门的,学生处负责核实,学生所在院(系)协助调查取证。
1.拟给警告或严重警告处分的,由系部研究决定,报学生处备案;2.拟给予记过或留校察看处分及开除学籍的,由系部研究提出处理意见,经学生处初审核,报分管校领导审核,院长办公会研究决定,上报省教育厅备案。
“三重一大”事项决策流程图.doc“三重一大”事项决策流程图“三重一大”事项决由局班子成员、各股室(大队)、各民主党派、人民团体、策建议的提出企事业单位、社会团体及公民建议书的主要内容包括“三重一大”事项决策建议拟解提交书面建议书决的问题、建议理由的说明、法律法规和政策依据、解决问题的方案、可行性分析及其他相关材料局党支部研究不能列入及时反馈结果,是否列入并说明理由列入局党支部确定承办承办股室或部门应当根据决策股室或部门目标的要求,拟定决策方案报请分管领导进行协决策方案征求相关调,不能协调的,报不一致不一致请院领导班子认定部门和单位的意见协商意见意见仍进行向院办意见一致公室提交书面报告报告应当写明承办科室及责任人、前期协调及论证情况、主要方案的比较分析、具体决策内容、决策事项大实施中可能出现的问题及对策、倾向性意见等。
院务会议讨论须经院务会集体讨论决定,不得以传阅、会签或个别征求意见等方式代替集体决策。
做到规范化、制度化、程序化院办公室审查该决策方案是须有院务会成员三分之二以上到会方可进行报告后,提请院务会议否列入“三重一大”事会前由相关科室准备规范化的会议材料,包括决策方案和科学论证材料讨论项院办公室应在会议召开两天前,前会议通知送达参加人员。
院务会的班子成员因故不能参加的,可以采用书面形式表达个别细节和院务会议讨部分内容需论决定进行表决通过决策执行与调整督查检查深入研究的,修改后最终审查决定分歧较大或发现重大问题应暂缓决定必须公开的事项按规定公开分工落实,定期报告,按需调整。
纳入党风廉政工作重点,纪检组负责落实重大事项决策流程图深入调查,分管领导组织科室充分讨论,提出初调查研究步意见确定议题相关科室负责人书面提出议题,分管领导审核,主要领导确认材料送达相关人员,酝酿意见会议讨论意见,对决策进行表决对决策依据、过程、结果向社会公开依法公开重大项目安排流程图分管领导组织科室对项目进行审查,提出初步意项目审查见组织专家进行论证、评估,形成专家意见,提交专家论证党组会议参考向社会公开征求意见,提交党组会议参考征求意见会议讨论意见,对审批结论进行表决作出决策对项目审批过程、结论向社会公示依法公示公示无异议,正式审批正式审批大额资金使用流程党组会议决定年度预算安排,新增大额资金须经党组专门集体研究后决定安排预算相关科室提交“大额资金使用报告”,分管领集体研究导审核后,提交党组会议研究形成决议将研究结论在公示栏、网站公示公开公示公示期结束无异议,财务室拨付资金资金使用重要干部任免流程图党组会或书面推荐,按民主测评、民主评议民主推荐方式提名,半数以上进入组织考察程序办公室、人教科、纪检成立联合考察组,对组织考察人选进行德、能、勤、绩、廉考察院务会投票决议,形成会议决定会议决定重大项目安排流程图办公室整理档案,在一定范围内公示,公示任前公示无异议进行试用试用期一年,办公室进行考核,胜任正式任干部试用命,不胜任免去职务重大项目投资流程图分管领导组织科室、工会对项目进行审查,提出初步意见项目审查专家论证组织专家进行论证、评估,形成专家意见,提交院务会议参考向社会公开征求意见,提交院务会议参考征求意见会议讨论意见,对审批结论进行表决作出决策风险点:不按民主集中制和党委会议事规则进行决议,资金使用过程中滥用权力,有徇私舞弊、优亲厚友现象。
重大事项民主决策工作流程图权力运行风险表现:风险①:重大事项民主决策前未能听取各股室、站工作人员意见,做好局工作。
风险②:在重要人事任免、重点项目安排和大额度资金使用、重大问题的决定未经领导班子集体研究决定,或虽提交会议研究,但未按议事规则、决策程序讨论决定。
风险③:在决定重大事项中未履行会议表决通过程序。
风险④做出的决策,未形成会议纪要。
防范措施:1、加强学习教育。
2、严格执行《重大事项民主决策工作制度》、《干部任免工作制度》、《会议制度》。
3、设立重大事项民主决策监督岗,实行公示监督。
党委、行政办公室提出重大事项决策内容 充分听取各股室、所工作人员意见,做好协调工作党委、局长办公室会议集体讨论决定做出决策,形成会议纪要 会议表决通过风险①风险②风险③风险④重大事项报告工作流程图权力运行风险表现:风险①:不按规定报告或不如实报告,弄虚作假,欺骗组织,造成不良影响和严重后果。
风险②:对报告人报告的内容,应予保密;未经组织批准公开,造成不良影响和严重后果。
风险③:对重大突发事件、重大违纪案件不报告、不及时处理造成重大人员伤亡或重大财产损失。
风险④:个人重大事项实施情况反馈纪检监察室后未进行备案。
防范措施:1、加强学习教育。
2、严格执行《中国共产党党内监督条例(试行)》、《领导干部个人重大事项报告制度》。
3、设立监督岗,局监察室加强督察,强化责任追究。
个人(包括家属、子女)重大事项(如:经商、出国等)情况列出书面材料风险①副科级以上干部报市局党委、纪委审定局纪检监察室根据审批情况通知干部本人,并传达有关要求或解释有关情况 副科级以下干部报局党委或局长办公会审定个人重大事项实施情况反馈局纪检监察室备案局纪检监察室视人员性质和事由分类整理后行文报有关部门风险②风险③风险④公务员年度考核评优工作流程图对考核结 果有异议权力运行风险表现:风险①:未按各单位公务员人数分别核算优秀等次人数;未能提供核定公务员优秀等次比例的理由和附件,随意突破优秀等次比例。
流程图1:党委重大事项议决事流程图流程图2:人事类事项讨论决定流程图流程图3:镇政府重大投资项目流程图3流程图4:财政资金使用流程图45流程图5:镇招投标工作流程示意图办理单位受理单位流程图6:镇招投标评标工作流程示意图流程图7:镇集体资产购(处)置流程图流程图8:党员发展工作流程图流程图9:新农合住院病人报销流程图11流程图10:五河县一事一议流程图13流程图11:财政补贴农民资金发放流程图流程图12:家电下乡申请补贴流程图流程图13:乡镇企业、乡村公共设施和公益事业建设流程图↓↓↓流程图14:村民建房申请流程图↓↓↓↓↓流程图15:新集镇村民宅基地审批流程图流程图16:城镇低保项目审批流程图流程图17:低保审核评定操作流程图流程图18:大病救助项目审批流程图流程图19:农村五保户申办程序流程图20:农村医疗救助申办程序流程图21:贫困重度残疾人生活特别救助申办流程图流程图22:五河县重大意外事故及疾病死亡救助资金申办程序流程图23:计划生育奖励扶助工作流程图流程图24:非医学需要的中期以上终止妊娠手术审批流程图流程图25:再生育审批流程图镇纪委职权运行流程图流程图26办理《独生子女父母光荣证》流程图流程图27农业安全生产检查流程图流程图28安全监督检查流程图流程图29流程图30农村集体资产监督管理流程图流程图31 土地权属争议裁决流程图公车管理使用流程图流程图32风险点:未经批准擅自出车、用油管理不严、违反规定维修公务车辆风险。
(等级:中)防控措施:严格按出车、用油管理、公务车辆维修程序审批管理。
流程图33固定资产、办公用品的采购分配流程图流程图34社会抚养费征收程序流程图信访调解工作流程图流程图36征兵工作程序图41。
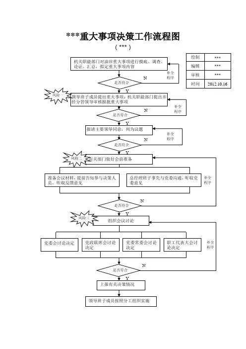
***重大事项决策工作流程图
(***)
备注:
风险一:因人情关系,可能出现议题不实事求是的问题,议题的可行性与事实不符,给重大事项决策带来风险。
防控措施一:决策前深入调查研究,充分听取各方面的意见,运用科学方法进行综合评估,形成会议纪要,存档备案。
风险二:徇私舞弊,减化程序,故意隐瞒相关要件,给企业造成损失。
防控措施二:决策前深入调查研究,充分听取各方面的意见,运用科学方法进行综合评估,形成会议纪要,存档备案。
风险三:因单位民主决策程序设计不科学、公示制度不完善,在重大事项决策过程中违规操作,损害企业利益。
防控措施三:完善重大事项决策相关的征求意见、公示公开等制度,制定相关工作程序。
“三重一大”事项决策流程图“三重一大”事项决策流程图重大事项决策流程图深入调查,分管领导组织调查研确定议酝酿意征求意专家论依法公作出决相关科室负责人书面提出材料送达相关人员,酝酿组织专家进行论证、评估,会议讨论意见,对决策进向社会公开征求意见,提对决策依据、过程、结果重大项目安排流程图大额资金使用流程项目审征求意专家论依法公作出决组织专家进行论证、评估,会议讨论意见,对审批结向社会公开征求意见,提对项目审批过程、结论向分管领导组织科室对项目公示无异议,正式审批正式审重要干部任免流程图重大项目安排流程图安排预公开公集体研资金使相关科室提交“大额资金使用报告”,分管领导党组会议决定年度预算安排,新增大额资金须将研究结论在公示栏、网站公示 公示期结束无异议,财务室拨付资金 民主推荐 会议决定 组织考察任前公示 干部试用党组会或书面推荐,按办公室、人教科、纪检院务会投票决议,形成办公室整理档案,在一试用期一年,办公室进重大项目投资流程图分管领导组织科室、工会项目审专家论组织专家进行论证、评估,征求意依法公作出决会议讨论意见,对审批结向社会公开征求意见,提对项目审批过程、结论向公示无异议,正式审批正式审风险点:不按民主集中制和防范措施:严格按党工委议“三重一大”风险示意图大额资金使用流程风险示意图安排预公开公集体研资金使相关科室提交“大额资金使用报告”,分管领导院长办公会会议决定年度预算安排,新增大额将研究结论在公示栏公示公示期结束无异议,财务室拨付资金风险点:不按民主集中制和院务会议事规则进行决议,防范措施:严格按党工委议事规则进行,对重大事项决重大决策流程风险示意图调查研确定议酝酿意征求意专家论作出决相关科室负责人书面提出材料送达相关人员,酝酿组织专家进行论证、评估,向社会公开征求意见,提深入调查,分管领导组织依法公会议讨论意见,对决策进对决策依据、过程、结果风险点:不按民主集中制防范措施:严格按党工委议事规则进行,对重大事项决策集重要干部人事任免流程风险示意图重大项目安排流程图民主推荐 会议决定组织考察 院长办公会或书面推办公室、工会、监察室党组会投票决议,形成任前公示人员试用人教科(办公室)整理试用期一年,办公室进风险点:不按任免奖惩不按民主集中制和党防范措施:严格按党工委议事规则进行,对重。