OTS样件
- 格式:docx
- 大小:13.81 KB
- 文档页数:1
工装样件(OTS)认可管理规定一、目的保证供应商提供的工装样件满足设计规范要求。
为PPAP及生产一致性提供依据。
二、适用范围适用于产品开发OTS工装样件认可及工程更改、供应商变更时工装样件的认可。
三、术语和定义(一)工装样件(OTS)指采用生产用模具、夹具,由供应商制造并经材料检验、尺寸检验、性能测试、台架试验合格的零部件;该样件与正式生产件相同操作人员、设备、物料、工艺,但可以不按生产节拍;用于检验供应商的生产工装、工艺过程下其产品是否符合设计的要求。
(二)封样件供应商按需要在所测量的零件中确定一件为合格件的标准样件,此标准样件为封样件。
四、职责(部门职责见附件1)五、关键控制点(OTS认可流程见附件2)(一)供应商选择选择的供应商应具备一定生产一致性控制能力,确保批量供件与OTS工装样件的质量一致,保证产品的质量、成本和交期。
(二)在认证认可过程中,重点关注在整车中具有安全、环保、节能、功能性能等技术标准要求工装样件或工装样件的相关参数。
(三)法规件需要供应商提供强检报告和CCC证书。
六、说明(一)丽驰公司在供应商提交的5套工装样件中抽取3套进行检测,检测合格后有一套返还供应商保存。
必要时,确定两件为标准样件,此标准样件经丽驰技术研究院研发工程师签字确认为封样件,由供应商和丽驰供应商质量管理部各保留一件。
(二)由于设备原因,不能检测的尺寸及性能等关键项,可以委托外部检测机构进行检测。
设计部门根据检测结果出具认可报告。
(三)供应商、设计部门、供应商质量管理部共同确认的DVP要统一到资料室归档保存。
(四)工装样件提交不多于3次,每次都应该有明显的标识。
(五)样件单体性能认可报告可等效,但安装在不同车型上时,性能认可报告原则上不允许等效,但经过设计部门评审认为可以等效的,可以进行等效认可。
但是如果售后或者批量后存在问题,设计部门承担相关责任。
七、激励机制对于未按本规定进行认可或未完成相关认可资料而影响下一个项目节点的,按LC-XM-05《项目推进管理规定》、LC-CG-04《配件开发管理规定》的相关考核内容执行。
ots是什么意思
OTS=off tooling samples 译为工程样件也有人译为“工装样品”。
即全工装状态下非节拍生产条件下制造出来的样件.用于验证产品的设计能力。
1、工程放样企业研发部门在工程设计的过程中,会依据前期设计,进行预生产。
生产的工程样件(ES,Engineering Sample)通过质量部(QD,Quality Department)以及技术部门的检测以及试验以验证设计的准确性。
2、工程样件得到认可后形成的报告叫OTS认可报告,也叫工程认可报告。
主要包括设计资料(图纸等设计资料),PSW(产品保证书)、实验合格报告(尺寸、性能、外观合格报告)、控制计划(CP)、设计失效模式分析DFMEA、实验室认可证书、BOM表(分供方清单)和测量系统分析(MSA)等。
以上均为供方提供,受到需方审核。
需方反馈供方时,输出为OTS认可报告。
3、样品(sample)是能够代表商品品质的少量实物。
它或者是从整批商品中抽取出来作为对外展示模型和产品质量检测所需;或者在大批量生产前根据商品设计而先行由生产者制作、加工而成,并将生产出的样品标准作为买卖交易中商品的交付标准。
4、样品作为商品的品质代表展示时,代表同类商品的普遍品质,包括商品的物理特性、化学组成、机械性能、外观造型、结构特征、色彩、大小、味觉等等。
表02C.01-02 上汽通用五菱汽车股份有限公司
样件/工装样件(PROTOTYPE / OTS)交样要求
1.P ROTOTYPE指样件可按某些不同于正规生产要求的方法制造,如使用软模具,简易夹具等, 用于认证;
2.O TS指用生产用模具、夹具,由定点供应商制造并经台架试验合格的零部件;可以采用模拟生产工艺,不用生产用的机床设备、不按生产节
拍制造,用于认证;
3.O TS交样时需按要求附尺寸、材质、性能报告以及台架试验报告,供应商在进行台架试验时应邀请上汽通用五菱汽车股份有限公司技术中心
产品工程师和/或供应商质量工程师参加;
4.样件/工装样品状态及交样日期由双方确定,一经签署不得任意变更,如需变动需征得上汽通用五菱汽车股份有限公司技术中心产品工程师同
意并另行签署;
5.封样(供应商必须在所测量的零件中确定一件为标准样件,此标准样件为封样件。
此标准样件经PE签字确认为封样件,由供应商保留。
)
1)供应商交样时,须留第一件(《零件尺寸检验报告》中的顺序号)作封样。
(例如:OTS交样要求或SOR中明确交样数量N个零
件,则须检验N+1个零件,取首件作为封样件。
);2)具有采购级的零件作为封样件;3)封样件保存时间SOP后6个月(实配件:保存至零件的生命周期;其它件:保存至SOP后6个月);4)封样结束后,封样件只能作为配件销售。
6.附标签。
供应商:日期:上汽通用五菱产品工程师(PE):科长:。
工装样件(OTS)认可管理规定一、目的保证供应商提供的工装样件满足设计规范要求。
为PPAP及生产一致性提供依据。
二、适用范围适用于产品开发OTS工装样件认可及工程更改、供应商变更时工装样件的认可。
三、术语和定义(一)工装样件(OTS)指采用生产用模具、夹具,由供应商制造并经材料检验、尺寸检验、性能测试、台架试验合格的零部件;该样件与正式生产件相同操作人员、设备、物料、工艺,但可以不按生产节拍;用于检验供应商的生产工装、工艺过程下其产品是否符合设计的要求。
(二)封样件供应商按需要在所测量的零件中确定一件为合格件的标准样件,此标准样件为封样件。
四、职责(部门职责见附件1)五、关键控制(OTS认可流程见附件2)(一)供应商选择选择的供应商应具备一定生产一致性控制能力,确保批量供件与OTS工装样件的质量一致,保证产品的质量、成本和交期。
(二)在认证认可过程中,重点关注在整车中具有安全、环保、节能、功能性能等技术标准要求工装样件或工装样件的相关参数。
(三)法规件需要供应商提供强检报告和CCC证书。
六、说明(一)公司在供应商提交的5套工装样件中抽取3套进行检测,检测合格后有一套返还供应商保存。
必要时,确定两件为标准样件,此标准样件经研究院研发工程师签字确认为封样件,由供应商和质管部各保留一件。
(二)由于设备原因,不能检测的尺寸及性能等关键项,可以委托外部检测机构进行检测。
设计部门根据检测结果出具认可报告。
(三)供应商、设计部门、质管部共同确认的DVP要统一到资料室归档保存。
(四)工装样件提交不多于3次,每次都应该有明显的标识。
(五)样件单体性能认可报告可等效,但安装在不同车型上时,性能认可报告原则上不允许等效,但经过设计部门评审认为可以等效的,可以进行等效认可。
但是如果售后或者批量后存在问题,设计部门承担相关责任。
七、本制度解释权归研究院。
八、本制度自下发之日起执行。
九、附件:。
OTS, off tool sampleISIR,Initial Sample Inspection Report工装样品认可(OTS)定义: 外购国产化零部件(工装样品/OTS)审批规程t目的: 测试由中国当地供应商提供的零部件是否符合原设计的工程要求,非用于检测零部件的原设计。
范围:适用于所有提供在中国制造零部件的供应商。
程序:-样件定义-送样要求-工装样品(OTS)认可程序?-工程样品(OTS)文件的提交OTS: OFF TOOL SAMPLE 用和量产相同的工装制造出来的样件,即“工装样件”。
OTS 是完全工装样件,它必须是以后量产时要用的工装,只不过在制作工装样件时可以在操作者,地点等方面可以与量产时有所不同。
OTS是大众的叫法,主要用于性能、制造可行性及品质可行性方面的评价,只是没有将生产节拍纳入考量,PVS(生产试制批量,大众术语)主要是对生产节拍及产品批量稳定性的评价,2TP(两日试生产,大众术语),主要是验证供应商的批量供货能力;OS(零批量,大众术语),是批量生产前的总演习,批产的全面验证;接下来就是SOP,即批量生产。
有OTS要求的产品常常是是汽车零部件。
当然,其它行业也在参考采用。
有时OTS也指提供给客户的首样件。
OTS文件即工装样件的验证报告,其内容较多,具体可向客户询问其所要的内容。
也可参考PPAP 提交文件内容。
序号缩写英文原文解释1 OTS OFF TOOL SAMPLE 用批量生产的工模器具制造出的样件2 PVS Produktions – Versuchs - Serie 批量试生产3 TMA Trial Manufacturing Agreement 试制协议4 QSV Qualitaes-Sicherungs-Vereinbarung 质量保证协议5 BMG Bau-Muster-Genehmigung 产品工程样件性能检验认可6 B- Freigabe 采购认可7 D- Freigabe 试制/批量的认可8 P- Freigabe 计划认可9 TL 技术资料汇编10 LH LastenHeft 要求汇总书11 Pflichtenheft 责任汇总书12 ME Markt-Einfuehrung 市场导入13 MIS Management Informations-System 管理信息系统14 Nullserie 零批量15 QPN Qualifizierungs-Programm Neuteile 新零件质量提高计划16 SOP Start-Of-Production 批量生产启动Standard Operating Procedure 标准操作程序17 QSR Quality System Requirements 质量体系要求18 APQP Advanced Product Quality Planning and Control Plan 产品质量先期策划和控制计划19 PPAP Production Part Approved Process 生产件批准程序20 QSA Quality System Assessment 质量体系评审21 MSA measurement system analysis 测量系统分析22 FMEA Potential Failure Mode and Effects Analysis 潜在的失效模式后果分析23 SPC Statistical process control 统计过程控制。
OTS认可流程1目的确保整车零部件满足产品设计文件和规范要求。
2适用范围适用于公司新开发的所有零部件。
3定义3.1工装样件工装样件指用批量生产的工装模具制造出来的样满足台架试验标准要求英文为OFF TOOL SAMPLE英文缩写为OTS。
3.2标准样件供应商必须至少保存一件标准样件与生产件批准记录保存的时间相同或a)直到本公司批准而生产出一个用于相同零件号的新标准样件为脏b)在设计记录、控制计划或检验准则要求有标准样件的地方,作为一个基准或标准使用。
必须对标准样件进行标识并,在样件上标出本公司批准的日期对。
于多腔冲模、铸模、工具或模型,除非公司另有规定,否则供应商必须各保留一件标准样件。
3.3材料封样特殊情况为可能出现的试验仲裁而留存的材料样条或材料粒料等塑,料粒料一般封样5kg,有效期6个月;金属样条样块为块,有效期5个月;油品为4L,有效期两年,其它材料或其他要求另行协商。
必须对材料封样进行必要的防护明、确标识,标明材料名称、材料牌号、送样供应商,封样时间,失效时间等。
3.4外观封样样件外观达到公司要求后供,应商提供与做认可的样件同一批次的样件三套供,外观封样使用。
封样件经供应商和公司双方签字后成为外观标准样件其,中一套返还供应商,一套由公司保存,另一套给制造公司质量部保存。
保存期限视使用情况而定。
3.5全尺寸检查对设计记录上显示的所有产品尺寸进行完整的测量。
3.5.1A类零件:安全法规/关键功能件。
3.5.2B类零件:主要外观可视一般功能件。
4职责4.1供应商负责提交材料样快、材料试验报告15样件、尺寸检验报告、性能试验报告等。
4.2产品技术部负责零部件DVP的编制与重点件性能试验地点的确认;负责S件外观检验和尺寸检验,并出具认可报告;负责零部件的15认可;负责性能试验跟踪与试验报告认可;负责设计变更、图纸发放以及是否做OTS决定;负责编制整IDVP,编制相关系统性能认可报告;负责OTS认可资料的存档、下发。
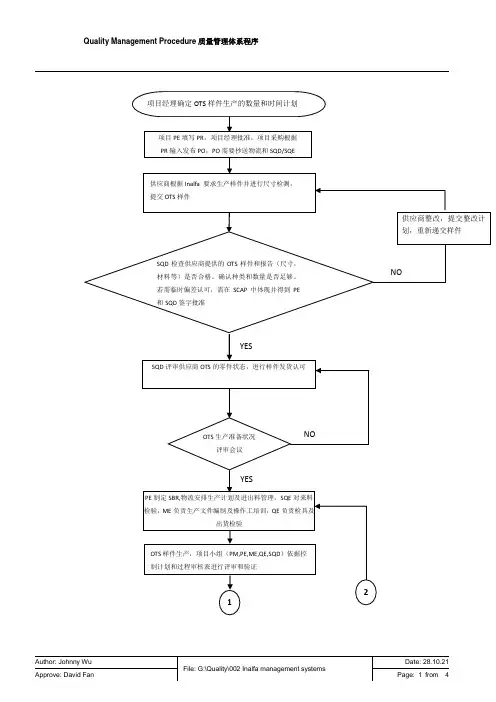
Quality Management Procedure质量管理体系程序1。
目的通过OTS程序的规范化使相关人员清楚的了解到OTS的具体步骤。
2.范围使用于英纳法汽车天窗系统有限公司OTS阶段样件生产活动。
3.相关定义OTS: Off Tool Sample. 这是APQP第三阶段“过程设计和开发”的输出之一.其目的是验证模具,工装,夹具是否能生产出合格的产品,不要求在确定的节拍下生产。
PR:Purchasing Request.采购申请PO:Purchasing Order.采购订单SCAP:Supplier Corrective Action Plan.供应商整改计划PM:Project Manager.项目经理PE:Project Engineer。
产品工程师SQD:Supplier Quality Development。
供应商质量开发工程师QE:Quality Engineer.质量工程师ME:Manufacturing Engineer.制造工程师SQE: Supplier Quality Engineer。
供应商质量工程师SBR: Special Build Requirement。
特殊生产要求4.职责:见流程所示。
5。
流程5.1项目经理确定OTS样件制作数量和时间。
5.2 PE制定PR,得到项目经理批准后,采购部把OTS样件生产数量和时间传递给供应商,以便供应商能及时制定项目计划,并且按照该计划提供零件和相应的报告.5。
3 采购部跟踪供应商的发货计划,SQD确认供应商能否满足要求,如果满足不了,需要推动供应商提供改进计划。
5。
4 供应商应根据要求提供OTS样件和相应的报告,SQD和PE评审OTS样件,记录发现的问题并列出一个问题清单.相关责任人跟踪解决问题清单中所列各项问题。
5。
5 OTS 样件由物流部门进行管理。
5.6 OTS样件生产之前依据项目经理的要求工程部应制定SBR并通知各个部门,各部门为OTS样件生产做好准备。
OTS工程样件认可流程OTS(Off-The-Shelf)是指采购或散装采购货物的企业或个人在没有定制需求的情况下,选择市场现成的、符合自己需要的货物。
OTS工程样件认可流程是指在工程项目中,对所采购的样件进行认可和验收的过程。
以下是OTS工程样件认可流程的详细步骤:1.需求确认:在工程项目开始之前,项目经理或采购部门与相关部门进行沟通,明确工程项目的需求和技术规范。
根据需求,确定需要采购的OTS样件的种类和数量。
2.供应商选择:根据需求和技术规范,采购部门根据以往的经验和市场调研,选择合适的供应商。
选择供应商时,重点考虑供应商的产品质量、生产能力、交货期、售后服务等方面。
4.样件申请:采购部门向供应商提出样件申请,说明样件的种类、数量和要求,并告知供应商样件认可的标准和流程。
供应商根据要求准备样件并寄送给采购部门。
5.样件初审:采购部门对接收到的样件进行初审,根据样件认可标准进行外观检查和性能测试。
如果样件初审合格,进入下一步,否则退回给供应商并说明原因。
6.样件试用:采购部门将初审合格的样件交给有关技术部门进行试用,包括对样件进行性能测试、使用可行性评估等。
7.样件评估和反馈:技术部门对样件进行全面评估,包括样件的质量、性能、适用性等方面。
根据评估结果,提交反馈给采购部门,包括样件的优点、不足和改进建议等。
8.样件认可决策:采购部门根据样件评估结果、项目需求和对供应商的综合评价,对样件进行认可决策。
认可决策可以包括通过认可、拒绝认可或要求供应商进行改进等。
9.认可通知和签订合同:采购部门向供应商发出样件认可通知,并与供应商签订合同。
合同内容包括样件的规格、价格、交货期、质量保证期等。
10.样件验收:在供应商交付样件后,采购部门对样件进行验收,包括外观检查、性能测试等。
如果样件合格,认可流程结束,并按合同约定进行后续采购和付款;如果样件不合格,根据合同约定,要求供应商进行更换或改进。
11.后续跟踪和维护:采购部门在工程项目进行期间,对供应商交付的样件进行后续跟踪和维护,包括对样件的使用情况、质量状况等进行记录和分析,并及时与供应商沟通解决问题。
OTS是什么阶段
Prototype->OTS->PPAP->SOP
OTS Off Tooling Sample 是工装样件,是在正常生产的工装设备下生产出来的,只是生产节拍和正常生产不同;在APQP阶段用于验证产品设计和过程设计时运用正式生产的工装夹具、模具采用与正式生产相同或者相似的工艺生产出来经过台架试验合格和材料化验合格的零部件;
OTS是APQP的第二阶段,手工样件后的样件提交。
是使用正常的工装设备生产的样件,目的是验证工装;后续就是PPAP产品批准。
OTS主要用能、制造可行性及品质可行性方面的评价,目的就是验证大规模生产零件供应商的硬工装的能力(主要是模具和夹具方面),只是没有将生产节拍纳入考量。
S1,S2阶段是SOP small-outline package 的分阶段,是PPAP 阶段用于按照正常生产节拍验证产能逐步提高(满足产品质量要求前提下)的前一批或者几批零部件,SOP验证合格后才可以PPAP正式批准。
汽车OTS工程样件认可流程1. 背景根据汽车行业的相关规定,所有的汽车OTS(Off The Shelf)工程样件在投放市场之前,需要通过认可流程,以确保其符合汽车行业的相关规定,可靠且安全。
OTS工程样件是指针对汽车零部件的设计、试验、制造和装配等工作中常见的、经过验证、可重复使用或可选用的工程样件,其目的是提高汽车制造效率和降低成本。
在汽车行业中,所有的OTS工程样件都需要通过认可流程,以确保其符合相关规定和标准。
2. 认可流程汽车OTS工程样件认可流程包括以下步骤:2.1 样件提交OTS工程样件提交的时间和方式由客户确定。
提交样件时,需要提供样件相关的设计图纸和技术参数等信息。
2.2 样件初审对提交的OTS工程样件进行技术初审,确认其资质及符合设计标准。
2.3 样件试验对OTS工程样件进行必要的试验,主要包括:•静态试验:对样件进行静态荷载试验,以验证其承载能力。
•动态试验:对样件进行动态荷载试验,以验证其抗疲劳性能和耐久性。
•环境试验:对样件进行温度、湿度等环境试验,以验证其耐候性和抗腐蚀性能。
•安全试验:对样件进行安全性试验,以验证其安全性能。
2.4 样件评审根据OTS工程样件的试验结果和相关技术标准,对样件进行评审,确定其是否能够通过认可流程。
2.5 样件认可根据评审的结果,对OTS工程样件进行认可,颁发认可证书,并将其加入汽车行业的OTS工程样件资源库中,以供市场使用。
3.汽车OTS工程样件认可流程是汽车行业中不可或缺的环节。
认可流程可以确保OTS工程样件符合相关规定和标准,可靠且安全,从而降低汽车制造的成本和风险。
经过认可的OTS工程样件可以作为汽车制造过程中常用的标准零部件,可以大大提高汽车制造的效率。
同时,所有通过认可流程的OTS工程样件都将被加入汽车行业的OTS工程样件资源库中,以供市场使用。
OTS -off tooling samples 即全工装状态下非节拍生产条件下制造出来的样件.
简称工装样件,用于验证产品的设计能力。
OTS是指首次样件,然后会有个PVS首批样件。
再接下来的是2TP/2天试生产验收。
接下来才是正式订单及量产。
OTS是工程认可,PVS是质量部负责。
提交的文件包括:1、全尺寸报告2、材料报告3、功能报告OTS 状态的可能不好,但在客户试用后没问题的话可以申请客户做工程变更,这个是我了解的最合适的供应商申请变更的时期。
如果拖到PPAP的话,时间方面对你们会相当不利。
如果想做的好的话,附OTS报告可以提交的有:1、LOP(List of Points) 里面包括不良项目清单,改进措施及计划等等2、供应商变更申请(对于不关键不良项目)
什么是原型样件、ots样件、生产样件
OTS=off tooling samples 译为“工程样件”。
即全工装状态下非节拍生产条件下制造出来的样件.用于验证产品的设计能力. 工程样件得到认可后形成的报告
OTS样件主要是验证公司工装生产的产品是否满足产品的使用要求。
PPAP样件往往要按照顾客的数量进行生产,生产的过程要与后续的批量生产过程一致。
它目的是验证公司生产过程是否能够稳定提供满足顾客使用要求的产品。
它可以用来分析试生产过程能否满足要求手工样件是手工制作或通过部分工装制作的样件OTS样件应为工装样件,是使用正常生产工装设备生产的样件,只是没有按照正常生产节拍生产而已同意楼上的观点。
应该是这样的。
一般都经过手工样件、OTS、PPAP OTS样件是试模后生产的,在控制计划表上有样件、试产和量产三种类型,那OTS就是控制计划中的样件(
APQP第二阶段)。
OTS应该是CP中的样件一般的说,汽车厂在选择供应商时,一种件需要选择2家以上供应商,在没有最终确定前,供应商一般采取手工制样或用“土胎具”做样件。
这时的样件称为手工样件。
当路线确定之后,供应商开始加工正式的工装模具,用正式的工装模具制作的样件称为工装样件,也就是OTS样件。
这是有些汽车厂的习惯做法。