OTS工程样件制作流程—范文
- 格式:docx
- 大小:9.10 KB
- 文档页数:3
OTS工程样件制作流程—范文1.0目的:规范各类样品的制作与确认方法及出货管理,确保样品的准确性与及时性。
2.0适用范围:适用于公司样品的制作与确认及出货之流程。
3.0 定义:3.1.客户样品:客服人员下达的客户所需样品。
3.2.工程样品:由工程部制作,发放给制造.品管.营销等部门作为公司标准的样品。
4.0 职责:4.1 客服组:客户样品制作需求的提出及送样。
4.2 工程部:负责客户样品,标准样品的制作。
4.3 生产部:首件样品和客户样品(10PCS以上的样品)制作。
4.4 品管部:依据技术资料及检验标准对样品进行检验。
4.5 采购部:负责对样品制作的材料采购。
5.0 运作程序:5.1 客户样品的制作5.1.1 仓库内有成品机的客户样品制作5.1.1.1 营销部在下《样品订单》时,注明此样品订单有无库存及样品制作要求(如换包装、线材、外壳等)。
5.1.1.2 《样品订单》下至工程部,工程部工程师在8H内确认库存产品是否为最新资料制作的产品;如不是最新的,在有新的物料的情况下,则样板员填写好新物料的《请购单》交于采购部采购,同时由采购员回复交期,样板员结果新物料交期确认样品交付时间给营销部门。
新物料请购回来后,由样板员领用库存产品及需更换的物料,在负责该产品的工程师指导下对库存产品进行最新状态的更改;样品制作好后连同《样品订单》一起送至品管部QA处检验。
如库存产品与《样品订单》相符,样品员直接领用库存产品,连同《样品订单》一起送至品管部QA检验,样品制作周期为3天(以样品订单下达开始至样品入库止)。
5.1.1.3.品管部按产品的公司标准及检验规范等技术资料对样品进行全检,检验合格后,品管部QA在《样品订单》上签字确认,并出具样品检验报告,定是否合格,并列明检验项目及要求,通知责任样板员。
品管人员的检验时间为4H,特殊情况下1H内需检验完成。
样品检验OK后由样板员负责完成入库,并且以邮件或电话等方式告之销售部门。
OTS样品制作指导书(doc 4页)部门: xxx时间: xxx制作人:xxx整理范文,仅供参考,勿作商业用途OTS样品制作指导书1.0目的:规范OTS样品的制作与确认方法,对新产品的设计/功能要求、可靠性、可制造性和装配性要求进行验证,从而确保L/P试产顺畅,提高试产成功率,缩短试产周期。
2.0适用范围:适用于OTS样品制作与确认之流程。
3.0 定义:OTS样品:用批量生产的工装、夹具制造出的样件即E/P试产完成品,OTS样品制作等同小批量的E/P试产。
4.0 职责:4.1 研发部:负责产品设计开发的相关文件资料、样品制作,完整的设计资料转接工程,处理产品设计开发至OTS样件制件过程中的相关问题,并参与制作样品。
4.2 工程部:OTS样品制作时的技术资料建立,主导样品制作及对制作过程中的问题进行总结、分析和协助研发项目工程师对设计问题进行改进处理。
4.3 生产部:OTS样品参与制作,并提供易组性建议。
4.4 品管部:OTS样品参与制作,依据技术资料要求对OTS样品进行测试和验证,并出具详细全面的检测报告。
4.5 采购部:负责OTS样品制作时的原材料采购。
4.6营销中心:负责首批OTS样件订单的下达,协助跟踪产品设计开发进度。
4.7 PMC部:负责OTS样品制作计划安排及样品物料的跟进,确保样品物料准时到位及准时进行。
4.8产品中心:负责整个样品制作过程的监控。
5.0 运作程序:5.6 OTS样品制作5.6.1 研发的初始样品总结会顺利通过后,由研发项目工程师负责完成对工程、生产、品管、PMC、采购等进行的该产品相关专业知识和新物料的介绍的讲解、培训。
并将整套设计资料(产品初始BOM清单、零件承认书、关键零件表、功能测试报告、装配图、DFEMA表、电路图全套)与样品输出给工程部。
5.6.2工程部IE工程师依据研发移转的资料在7个工作日内完成《产品过程流程图》、《车间平面布置图》、《过程PFMEA检查表》、《试生产控制计划》、《生产作业指导书》的初稿制作。
OTS -off tooling samples 即全工装状态下非节拍生产条件下制造出来的样件.简称工装样件,用于验证产品的设计能力。
OTS是指首次样件,然后会有个PVS首批样件。
再接下来的是2TP/2天试生产验收。
接下来才是正式订单及量产。
OTS是工程认可,PVS是质量部负责。
提交的文件包括:1、全尺寸报告2、材料报告3、功能报告OTS 状态的可能不好,但在客户试用后没问题的话可以申请客户做工程变更,这个是我了解的最合适的供应商申请变更的时期。
如果拖到PPAP的话,时间方面对你们会相当不利。
如果想做的好的话,附OTS报告可以提交的有:1、LOP(List of Points) 里面包括不良项目清单,改进措施及计划等等2、供应商变更申请(对于不关键不良项目)什么是原型样件、ots样件、生产样件OTS=off tooling samples 译为“工程样件”。
即全工装状态下非节拍生产条件下制造出来的样件.用于验证产品的设计能力. 工程样件得到认可后形成的报告OTS样件主要是验证公司工装生产的产品是否满足产品的使用要求。
PPAP样件往往要按照顾客的数量进行生产,生产的过程要与后续的批量生产过程一致。
它目的是验证公司生产过程是否能够稳定提供满足顾客使用要求的产品。
它可以用来分析试生产过程能否满足要求手工样件是手工制作或通过部分工装制作的样件OTS样件应为工装样件,是使用正常生产工装设备生产的样件,只是没有按照正常生产节拍生产而已同意楼上的观点。
应该是这样的。
一般都经过手工样件、OTS、PPAP OTS样件是试模后生产的,在控制计划表上有样件、试产和量产三种类型,那OTS就是控制计划中的样件(APQP第二阶段)。
OTS应该是CP中的样件一般的说,汽车厂在选择供应商时,一种件需要选择2家以上供应商,在没有最终确定前,供应商一般采取手工制样或用“土胎具”做样件。
这时的样件称为手工样件。
当路线确定之后,供应商开始加工正式的工装模具,用正式的工装模具制作的样件称为工装样件,也就是OTS样件。
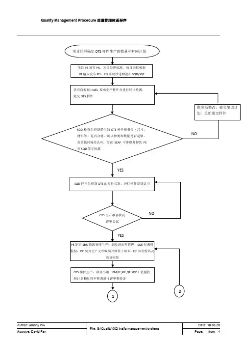
Quality Management Procedure质量管理体系程序Author:Johnny Wu Date: 24.08.151.目的通过OTS程序的规范化使相关人员清楚的了解到OTS的具体步骤。
2.范围使用于英纳法汽车天窗系统有限公司OTS阶段样件生产活动。
3.相关定义: Off Tool Sample.这是APQP第三阶段“过程设计和开发”的输出之一。
其目的是验证模具,工装,夹具是否能生产出合格的产品,不要求在确定的节拍下生产。
PR:Purchasing Request.采购申请PO:Purchasing Order.采购订单SCAP:Supplier Corrective Action Plan.供应商整改计划PM:Project Manager.项目经理PE:Project Engineer.产品工程师SQD:SupplierQuality Development. 供应商质量开发工程师QE:Quality Engineer.质量工程师ME:Manufacturing Engineer.制造工程师SQE: Supplier Quality Engineer.供应商质量工程师SBR: Special Build Requirement.特殊生产要求4.职责:见流程所示。
5.流程5.1项目经理确定OTS样件制作数量和时间。
5.2PE制定PR,得到项目经理批准后,采购部把OTS样件生产数量和时间传递给供应商,以便供应商能及时制定项目计划,并且按照该计划提供零件和相应的报告。
5.3采购部跟踪供应商的发货计划,SQD确认供应商能否满足要求,如果满足不了,需要推动供应商提供改进计划。
5.4 供应商应根据要求提供OTS样件和相应的报告,SQD和PE评审OTS样件,记录发现的问题并列出一个问题清单。
相关责任人跟踪解决问题清单中所列各项问题。
5.5 OTS 样件由物流部门进行管理。
5.6OTS样件生产之前依据项目经理的要求工程部应制定SBR并通知各个部门,各部门为OTS样件生产做好准备。
ots管理流程
OTS(Off Tool Sample,工装样品)是指在正式生产之前,使用工装设备制造的产品样品,用于验证产品设计和工装设备的正确性。
OTS 管理流程具体如下:
1. OTS 需求提出:在产品设计完成后,由工程部门或项目团队提出OTS 需求,包括OTS 的数量、规格、质量要求等。
2. OTS 计划制定:根据OTS 需求,制定OTS 生产计划,包括生产时间、生产工艺、生产设备、人员安排等。
3. OTS 设计:根据产品设计要求,设计OTS 的工装设备、工艺流程和质量控制方案。
4. OTS 制造:根据OTS 设计,使用工装设备进行OTS 的制造。
5. OTS 检验:对OTS 进行检验,包括尺寸、外观、功能、性能等方面的检验。
6. OTS 验证:对OTS 进行验证,包括产品设计验证、工装设备验证、工艺流程验证等。
7. OTS 评审:对OTS 进行评审,评估OTS 是否符合产品设计要求和质量标准。
8. OTS 改进:根据OTS 评审结果,对OTS 进行改进,包括工装设备改进、工艺流程改进、质量控制方案改进等。
9. OTS 批准:经过改进后,OTS 符合产品设计要求和质量标准,经过批准后可以进行正式生产。
1.0目的本程序的目的是确定OTS 程序(工装样件提交与认可程序)。
2.0范围本程序应用于:∙所有APQP与项目管理活动中产品和过程确认环节。
∙所有供应商。
3.0职责4.0引用文件∙《项目管理和APQP程序》(7-QP/09)∙《ASQC/AIAG PPAP手册》∙ISO/TS 16949: 2009 条款 7.5.2 生产和服务提供过程的确认5.0工作流程和内容见流程图 OTS程序(工装样件提交与认可程序)5.1OTS工装样件工装样件,指采用生产用模具、夹具,由指定的供应商制造并获得试验合格的零部件,可以采用模拟生产工艺、不一定用批量生产的机床设备、不一定按批量生产节拍制造。
5.2注释注释 1: 在满足客户的时间节点和其他要求的APQP前提下,项目经理将确定OTS程序活动的时间节点计划。
注释 2: 供应商按照工程部的具体要求,参照《供应商OTS 检查清单》准备并提交相关的技术材料和工装样件。
注释 3: 工程部根据供应商提交的工装样品、自检报告,以及有关产品质量的资料进行针对尺寸、材料、性能以及装配匹配性方面的检验,进行工装样件认可。
工装样件认可后工程部出具《工装样件认可报告》给供应商,同时抄送质量部供应商质量工程师。
注释4: 供应商对于OTS程序活动不合格的环节进行整改,整改后按计划时限重新递交。
必要时,工程部及质量部相关工程师对供应商的改进工作提供技术支持。
注释5: 根据客户具体要求制造工装样件,参照客户要求的相关检查清单按既定时节点准备相应技术资料与报告,并于交付客户前提交项目经理评审。
注释6: 对于提交内容中不符合客户要求的部分,项目小组应切实秉承“质量第一、诚信为本、顾客满意、创建一流”的原则,在客户能够随时掌握进度的前提下,及时改进、尽快解决。
注释7: 工程部需妥善保存客户发布的OTS工程认可文件和相关记录。
工程部需妥善保存供应商提供的OTS文件及样品。
6.0记录《供应商OTS 检查清单》(7-FRM-ENG-013)《供应商OTS 认可报告》(7-FRM-ENG-014 )OTS文件包(供应商)OTS 文件包(COSMA)OTS认可报告(客户)OTS程序乌龟图。
制样工技术操作规程范文一、工作准备1. 在开始工作之前,制样工应先穿戴好工作服,并佩戴好个人防护用品,包括安全帽、口罩、防护眼镜、耳塞等。
2. 检查仪器设备是否正常运行,并进行必要的维护保养工作。
3. 准备好所需的制样工具和材料,确保充足且符合要求。
二、原料准备1. 根据生产计划和工艺要求,将所需原料准备齐全,并进行正确的标识和分类。
2. 检查原料的质量状况,如有问题及时通知生产负责人并采取相应措施。
三、操作流程1. 将准备好的原料按照规定比例进行混合,确保混合均匀。
2. 将混合好的原料放入制样设备中,注意装填的均匀度和适量性。
3. 启动制样设备,根据工艺要求进行相应操作,包括设定温度、时间等参数。
4. 在制样过程中,制样工要时刻观察设备运行状况,确保操作稳定有序。
5. 结束制样后,关闭设备并进行设备的清洁卫生工作。
四、记录填写1. 制样工应及时准确地填写制样操作记录,包括制样时间、设备运行参数、原料使用情况等。
2. 如有异常情况发生,必须在记录中详细描述,并及时向相关人员汇报。
五、质量检查1. 按照标准和工艺要求,对制样产品进行质量检查,包括外观检查和物理性能测试。
2. 如发现制样产品存在质量问题,制样工应立即通知质量检验部门,并配合进行问题分析和处理。
六、安全注意事项1. 制样工应严格遵守安全操作规程,杜绝违章操作行为。
2. 注意个人防护,确保工作环境安全和个人健康。
3. 对设备设施的使用要规范,防止设备损坏和意外事故发生。
4. 在发现设备异常或存在安全隐患时,制样工应立即停止操作,并及时报告相关人员。
七、工作总结1. 每天结束工作时,制样工应进行工作总结,总结工作中出现的问题和值得注意的事项,并提出改进建议。
2. 将工作总结及相关意见报送给生产主管,并参与相关讨论和决策。
八、专业培训1. 制样工应定期参加相关培训和学习,不断提升自身专业技能水平。
2. 在进行新设备和新工艺操作之前,制样工应接受相应的培训和指导。
OTS认可流程1目的确保整车零部件满足产品设计文件和规范要求。
2适用范围适用于公司新开发的所有零部件。
3定义3.1工装样件工装样件指用批量生产的工装模具制造出来的样满足台架试验标准要求英文为OFF TOOL SAMPLE英文缩写为OTS。
3.2标准样件供应商必须至少保存一件标准样件与生产件批准记录保存的时间相同或a)直到本公司批准而生产出一个用于相同零件号的新标准样件为脏b)在设计记录、控制计划或检验准则要求有标准样件的地方,作为一个基准或标准使用。
必须对标准样件进行标识并,在样件上标出本公司批准的日期对。
于多腔冲模、铸模、工具或模型,除非公司另有规定,否则供应商必须各保留一件标准样件。
3.3材料封样特殊情况为可能出现的试验仲裁而留存的材料样条或材料粒料等塑,料粒料一般封样5kg,有效期6个月;金属样条样块为块,有效期5个月;油品为4L,有效期两年,其它材料或其他要求另行协商。
必须对材料封样进行必要的防护明、确标识,标明材料名称、材料牌号、送样供应商,封样时间,失效时间等。
3.4外观封样样件外观达到公司要求后供,应商提供与做认可的样件同一批次的样件三套供,外观封样使用。
封样件经供应商和公司双方签字后成为外观标准样件其,中一套返还供应商,一套由公司保存,另一套给制造公司质量部保存。
保存期限视使用情况而定。
3.5全尺寸检查对设计记录上显示的所有产品尺寸进行完整的测量。
3.5.1A类零件:安全法规/关键功能件。
3.5.2B类零件:主要外观可视一般功能件。
4职责4.1供应商负责提交材料样快、材料试验报告15样件、尺寸检验报告、性能试验报告等。
4.2产品技术部负责零部件DVP的编制与重点件性能试验地点的确认;负责S件外观检验和尺寸检验,并出具认可报告;负责零部件的15认可;负责性能试验跟踪与试验报告认可;负责设计变更、图纸发放以及是否做OTS决定;负责编制整IDVP,编制相关系统性能认可报告;负责OTS认可资料的存档、下发。
OTS工程样件认可流程OTS(Off-The-Shelf)是指采购或散装采购货物的企业或个人在没有定制需求的情况下,选择市场现成的、符合自己需要的货物。
OTS工程样件认可流程是指在工程项目中,对所采购的样件进行认可和验收的过程。
以下是OTS工程样件认可流程的详细步骤:1.需求确认:在工程项目开始之前,项目经理或采购部门与相关部门进行沟通,明确工程项目的需求和技术规范。
根据需求,确定需要采购的OTS样件的种类和数量。
2.供应商选择:根据需求和技术规范,采购部门根据以往的经验和市场调研,选择合适的供应商。
选择供应商时,重点考虑供应商的产品质量、生产能力、交货期、售后服务等方面。
4.样件申请:采购部门向供应商提出样件申请,说明样件的种类、数量和要求,并告知供应商样件认可的标准和流程。
供应商根据要求准备样件并寄送给采购部门。
5.样件初审:采购部门对接收到的样件进行初审,根据样件认可标准进行外观检查和性能测试。
如果样件初审合格,进入下一步,否则退回给供应商并说明原因。
6.样件试用:采购部门将初审合格的样件交给有关技术部门进行试用,包括对样件进行性能测试、使用可行性评估等。
7.样件评估和反馈:技术部门对样件进行全面评估,包括样件的质量、性能、适用性等方面。
根据评估结果,提交反馈给采购部门,包括样件的优点、不足和改进建议等。
8.样件认可决策:采购部门根据样件评估结果、项目需求和对供应商的综合评价,对样件进行认可决策。
认可决策可以包括通过认可、拒绝认可或要求供应商进行改进等。
9.认可通知和签订合同:采购部门向供应商发出样件认可通知,并与供应商签订合同。
合同内容包括样件的规格、价格、交货期、质量保证期等。
10.样件验收:在供应商交付样件后,采购部门对样件进行验收,包括外观检查、性能测试等。
如果样件合格,认可流程结束,并按合同约定进行后续采购和付款;如果样件不合格,根据合同约定,要求供应商进行更换或改进。
11.后续跟踪和维护:采购部门在工程项目进行期间,对供应商交付的样件进行后续跟踪和维护,包括对样件的使用情况、质量状况等进行记录和分析,并及时与供应商沟通解决问题。
汽车OTS工程样件认可流程1. 背景根据汽车行业的相关规定,所有的汽车OTS(Off The Shelf)工程样件在投放市场之前,需要通过认可流程,以确保其符合汽车行业的相关规定,可靠且安全。
OTS工程样件是指针对汽车零部件的设计、试验、制造和装配等工作中常见的、经过验证、可重复使用或可选用的工程样件,其目的是提高汽车制造效率和降低成本。
在汽车行业中,所有的OTS工程样件都需要通过认可流程,以确保其符合相关规定和标准。
2. 认可流程汽车OTS工程样件认可流程包括以下步骤:2.1 样件提交OTS工程样件提交的时间和方式由客户确定。
提交样件时,需要提供样件相关的设计图纸和技术参数等信息。
2.2 样件初审对提交的OTS工程样件进行技术初审,确认其资质及符合设计标准。
2.3 样件试验对OTS工程样件进行必要的试验,主要包括:•静态试验:对样件进行静态荷载试验,以验证其承载能力。
•动态试验:对样件进行动态荷载试验,以验证其抗疲劳性能和耐久性。
•环境试验:对样件进行温度、湿度等环境试验,以验证其耐候性和抗腐蚀性能。
•安全试验:对样件进行安全性试验,以验证其安全性能。
2.4 样件评审根据OTS工程样件的试验结果和相关技术标准,对样件进行评审,确定其是否能够通过认可流程。
2.5 样件认可根据评审的结果,对OTS工程样件进行认可,颁发认可证书,并将其加入汽车行业的OTS工程样件资源库中,以供市场使用。
3.汽车OTS工程样件认可流程是汽车行业中不可或缺的环节。
认可流程可以确保OTS工程样件符合相关规定和标准,可靠且安全,从而降低汽车制造的成本和风险。
经过认可的OTS工程样件可以作为汽车制造过程中常用的标准零部件,可以大大提高汽车制造的效率。
同时,所有通过认可流程的OTS工程样件都将被加入汽车行业的OTS工程样件资源库中,以供市场使用。
OTS工程样件制作流程一范文
1.0 目的:
规范各类样品的制作与确认方法及出货管理,确保样品的准确性与及时性。
2.0 适用范围:
适用于公司样品的制作与确认及出货之流程。
3.0 定义:
3.1. 客户样品:客服人员下达的客户所需样品。
3.2. 工程样品:由工程部制作,发放给制造.品管.营销等部门作为公司标准的样品。
4.0 职责:
4.1 客服组:客户样品制作需求的提出及送样。
4.2 工程部:负责客户样品,标准样品的制作。
4.3生产部:首件样品和客户样品(10PCS以上的样品)制作。
4.4 品管部:依据技术资料及检验标准对样品进行检验。
4.5 采购部:负责对样品制作的材料采购。
5.0 运作程序:
5.1 客户样品的制作
5.1.1 仓库内有成品机的客户样品制作
5.1.1.1 营销部在下《样品订单》时,注明此样品订单有无库存及样品制作要求(如换包装、线材、外壳等)。
5.1.1.2《样品订单》下至工程部,工程部工程师在8H内确认库存产品是否为最新资料制作的产品;如不是最新的,在有新的物料的情况下,则样板员填写好新物料的《请购单》交于采购部采购,同时由采购员回复交期,样板员结果新物料交期确认样品交付时间给营销部门。
新物料请购回来后,由样板员领用库存产品及需更换的物料,在负责该产品的工程师指导下对库存产品进行最新状态的更改;样品制作好后连同《样品订单》一起送至品管部QA处检验。
如库存产品与《样品订单》相符,样品员直接领用库存产品,连同《样品订单》一起送
至品管部QA检验,样品制作周期为3天(以样品订单下达开始至样品入库止)
5.1.1.3.品管部按产品的公司标准及检验规范等技术资料对样品进行全检,检验合格后,品管部QA在《样品订单》上签字确认,并出具样品检验报告,定是否合格,并列明检验项目及
要求,通知责任样板员。
品管人员的检验时间为4H,特殊情况下1H内需检验完成。
样品检验OK 后由样板员负责完成入库,并且以邮件或电话等方式告之销售部门。
样品检验NG,由样板员根据检验报告进行整改,或通知品管工程师进行特采。
若样品无法按样品交期完成,由样板员以OA的方式第一时间知会客服人员及部门负责人。
(后移至检验)
5.1.2. 仓库内无成品的客户样品
5.121.营销部所需客户样品在10PCS以上的,物料由工程部样板员提供,PMC部安排生产
线制作,样板员全程跟进,送检,直至合格入库。
5.122客户样品在10PCS含10PCS以下的,营销人员在《样品订单》上注明客户需求等所有要求,经产品中心负责人批准后交工程部负责人确认,并在2H 内回复样品订单交期。
若
产品涉及重大改动(产品性能参数更改),由产品中心确认可行性并出具方案,可根据情况决定由工程部进行更改。
5.1.3 样品员清楚地填写《入库单》,连同样品交至成品仓入库;如不合格,则将样品返回工程部交给产品项目工程师,由工程部工程师分析解决,直至合格为止。
5.1.4 管理点
5.1.4.1 工程部制作样品所需的原材料、部件等由工程部开《出库单》到仓库领取,《出库单》上需注明用于样品制作。
如货仓内无此物料,则由工程部开《请购单》经部门各负责人核准后交采购部进行采购,所购物料先入库,后出库。
5.1.4.2 工程部制作的客户样品入库后,由营销人员开《送货单》到仓库领取,同时营销部还需在工程部《样品签收记录》上注明样品去向等相关内容。
5.1.4.3 营销部所要求制作的特殊样品,工程部应记录其特殊性及制作日期并保存以便追塑;
如需做出的改动较大,工程部需制作工程资料存档;客户确认好样品下订单时,营销部应及时知会工程部,并告知其特殊产品是否更改型号(如用客人型号等),由工程部将样品资料
确认OK 后产品中心审核确认,交文控按《文件及资料控制程序》受控分发至各相关部门。
5.2 首件样品
5.2.1 首件样品确认依照《首件制作确认作业指导书》执行。
5.3 半成品、成品样品制作
5.3.1 样品制作数量一般为:2-5PCS。
5.3.2 新开发产品样品由开发部门指定样品员负责制作,样品员根据工程技术资料《BOM 物料清单》进
行制作,或由工程师指导进行制作样品。
5.3.3 研发中心制作样品转交工程部,若数量不够分发相关部门时,由工程部按研发部门提供产品技术资料进行复制制作样品。
完成后交于文控中心按《文件及资料控制程序》中的规定进行发行。
5.3.4 制程中作标准件参照的样品由工程部制作完毕,再由工程部工程师确认后交于工程文员进行发放登记。
5.5 样品管理按《样品管理作业指导书》执行。
6.0 相关文件和记录:
《样品订单》《请购单》《出入库单》《样品签收记录》《文件及资料控制程序》《首件制作确认作业指导书》《样品管理作业指导书》《送货单》
7.0 流程(略)。