××物业公司安保手册
- 格式:doc
- 大小:84.50 KB
- 文档页数:23
物业公司保安手册保安员五项标准(一)坚定政治立场(二)严格组织纪律(三)工作负责,业务过硬(四)坚持文明执勤(五)形象良好,仪表端庄两个意识:XX意识服务意识保安员职业道德一、遵纪守法,严于律已;二、文明服务,礼貌待人;三、恪尽职守,刚正不阿;四、廉洁奉公,不图私利;五、机智勇敢,勇于牺牲;六、客户至上,信誉第一。
保安的权限保安员要在公司的领导下,积极维护内部治安秩序和生活秩序,认真履行保安职责,遵守各项规定,努力完成任务。
一、在执勤中发现各类违法犯罪分子,要立即向上级汇报,可根据领导指示送当地公安机关处理,没有抓捕、审讯、没收财产的权力。
二、执勤中发现防火、防盗等方面的隐患和漏洞,要积极向保卫部或上级领导反映,提出整改建议,没有擅自处理的权力。
三、在门卫执勤时,对出入大门的人员、车辆等物品,必须检查相关的工作证、介绍信和车辆、物品出门条,核查出门条和物品是否相符,没有搜查人身的权力。
四、在执勤中,当人身安全遭到不法侵害时,有权采取正当防卫措施,以制服不法侵害为宗旨,不能防卫过当。
哨兵执勤七要八不要七要即:1.汇报情况要及时清楚。
2.要军容严整,军姿端正。
3.要礼貌待人,文明用语。
4.要集中精力,高度警惕。
5.遇事要机智灵活,英勇果断。
6.要认真执行各项规章制度。
7.要忠诚老实,遵纪守法。
八不准即:1.不准吸烟、座、臣卜、倚靠、吃东西。
2.不准打与执勤无关的电话;3.不泄漏与任务有关的机密;4.不准利用上哨之便接受礼物及在哨位上存放物品;5.不准无故与群众发生争执、打架6.不准擅离职守,脱岗误岗,干与执勤无关的事;7.不准监守自盗;8.不擅自处理涉外问题。
保卫制度一、应绝对服从上级领导指挥,切实执行命令,不得偏袒徇私;二、平时应谨言慎行,执行任务时态度和蔼认真,有礼有节,不卑不亢;三、上岗时应严格仪容仪表,保持良好的精神面貌和形象,对于应急及防身器具等要经常佩带或储备齐全,以应不时之需;四、上岗时提高警易,遇有重大事故变化时,必须临危不乱,果断、敏捷并做适当处理,并立即报告上级;五、执勤应严守岗位,不得擅离职守或酗酒、聊天、阅读书报、睡觉、吸烟、听收(录)音机等失职现象;六、应熟记公司各处的水、电、炉房、开关、库房及消防器材的地点,以免临急慌乱,对重要地方的门窗等有缺损时,应立即建议公司修复处理。
物业保安管理手册物业保安管理手册第一章:引言本文档是为了规范物业保安管理工作所编制的手册,旨在提供准确、全面的操作指南和管理要求,以确保物业安全和居民安宁。
本手册适用于所有物业保安人员,并应严格遵守。
第二章:职责和权利2.1 保安人员的职责2.1.1 观察和巡逻2.1.2 登记和管理访客2.1.3 处理突发事件2.1.4 管理物业入口和出口2.1.5 协助居民处理安全问题2.2 保安人员的权利2.2.1 依法拘留嫌疑犯2.2.2 检查可疑人员和物品2.2.3 提请物业管理部门处理违规行为第三章:保安设施和装备3.1 视频监控系统3.1.1 设备安装和调试3.1.2 视频录像存储和查看3.1.3 监控区域定期巡查3.2 门禁系统3.2.1 门禁卡发放和管理3.2.2 门禁系统日常维护3.2.3 访客门禁管理3.3 报警系统3.3.1 设备的保养和检修3.3.2 告警信息的处理和追踪3.3.3 告警记录的归档和保存3.4 安防设备申报和购置第四章:应急预案和演练4.1 火灾预防和处置4.1.1 灭火器和灭火器的管理4.1.2 楼梯通道和消防通道的畅通4.1.3 火灾报警器和喷淋系统的检测和维修4.2 突发事件应对4.2.1 爆炸物品的排除和处理4.2.2 水灾和电力故障的处理4.2.3 自然灾害的应急预案4.3 应急演练组织和实施4.3.1 演练计划的制定4.3.2 演练流程和指挥4.3.3 演练结果的总结和分析第五章:居民安全教育和宣传5.1 居民安全教育的重要性5.2 矛盾纠纷的预防和处理5.2.1 监控录像的保存和查阅5.2.2 居民投诉处理的流程5.2.3 安全隐患的排查和整改5.3 安全宣传活动的组织和实施5.3.1 安全知识讲座5.3.2 安全警示标语和海报5.3.3 安全宣传资料的制作和分发附件:1.物业保安人员职责明细表2.物业保安设施检查记录3.火灾演练计划4.居民安全教育宣传材料法律名词及注释:1.《刑法》:指中华人民共和国刑法,用以约束犯罪行为的刑罚法律。
物业公司安保部职责范文一、后勤管理1. 编制并执行安保部的日常工作计划,包括安排人员、巡逻计划、保安设备和器材的检查和维护等;2. 管理保安队伍的日常工作,包括保安人员的考勤、排班、培训和指导等;3. 确保保安人员按照规定穿戴工作服装、佩戴工作证,并按时到岗,做好交接班记录;4. 组织安保部人员进行巡逻检查,夜间巡逻密切关注有可能发生安全问题的区域,确保物业安全;5. 负责安保设备和器材的管理,包括安装、维护和保养,确保设备正常运行;6. 维护与相关部门的良好合作关系,包括公安、消防、医疗等,保证安全隐患及时得到处理。
二、安全防范1. 制定并实施安全管理制度和操作规程,确保安全工作的规范化、制度化;2. 定期组织安全培训,通过安全演练、教育宣传等方式,提高安全意识和应急处置能力;3. 负责各类安全防范措施的设计与实施,包括门禁系统、视频监控系统、防盗报警系统等;4. 协助物业部门制定灭火预案和应急预案,确保火灾、地震等突发事件的应急处理能力;5. 定期对公共区域进行安全检查,消除或隔离安全隐患;6. 负责处理、调查和报告安全事故和纠纷,保护客户和物业的合法权益;7. 提供安全咨询和建议,为业主、客户提供安全方案和安全管理咨询服务。
三、安全监控1. 负责监控中心的日常运行和管理,确保监控系统正常运行;2. 定期检查和维护监控设备、录像设备等,保证设备的正常工作;3. 监控中心24小时值班,及时发现并处理各类安全事件;4. 负责监控中心的信息管理和记录,定期生成监控报告以供参考;5. 负责监控视频的存储和备份,确保视频资料的安全性和完整性;6. 协助公安机关侦破刑事案件,提供监控录像等证据材料;7. 提供监控技术的咨询和支持,为其他部门解决监控设备使用中的问题。
四、安全巡逻1. 根据物业管理要求,制定巡逻工作计划,并组织安保人员进行巡逻;2. 负责巡逻线路的规划和设定,确保覆盖物业范围;3. 巡逻时密切关注有可能发生安全问题的区域和场所,如停车场、公共区域等;4. 做好入户巡逻,保证住户的安全,发现可疑人员及时报告;5. 巡逻过程中注意观察安全隐患,及时处理或上报相关部门;6. 巡逻过程中与住户进行沟通和交流,解答安全方面的疑问和提供帮助。
中海物业管理有限公司ZH O N G H A I P R OP E R T Y M A N A G E M E N T C O .,L T D .编号:WI/B 版本:C安全保卫管理手册编制:社区环境管理部 日期:2005年6月16日 日期:2005年6月 18日 批准: 日期:文件受控章声明:未经许可,不得翻印。
责任部门:社区环境管理部目录WI/B-目录版号/状态:A/0第1页共4页编号标题WI/B-001安全护卫系统组织架构图WI/B-002社区环境管理部职责WI/B-003社区环境管理部管理架构图WI/B-004社区环境管理部经理职责WI/B-005社区环境管理部助理经理职责WI/B-006社区环境管理部助理员职责(一)WI/B-007社区环境管理部助理员职责(二)WI/B-008社区环境管理部季度检查工作操作流程WI/B-009管理处安全护卫主管职责WI/B-010护卫主管例行工作流程图WI/B-011护卫岗位变化操作流程WI/B-012护卫主管助理(大班长)职责WI/B-013护卫班正、副班长职责WI/B-014班长、副班长日检工作流程图WI/B-015护卫员职责WI/B-016护卫员权限WI/B-017护卫员纪律WI/B-018过程识别(安全护卫服务流程)WI/B-019大堂岗岗位职责WI/B-020大堂岗工作规程WI/B-021道口岗岗位职责WI/B-022道口岗工作规程WI/B-023业主、住户迁入(出)或搬出物品操作流程图WI/B-024车库(场)岗岗位职责WI/B-025车库(场)岗工作规程WI/B-026车库(场)岗工作流程图WI/B-027营业性停车场收费、缴费管理规程WI/B-028营业性停车场收费管理流程图WI/B-029巡逻岗岗位职责WI/B-030巡逻岗工作规程WI/B-031巡逻护卫员操作流程图WI/B-032护卫员外出管理规定目录WI/B-目录版号/状态:A/0第2页共4页编号标题WI/B-033护卫员宿舍管理制度WI/B-034护卫员制装管理规定WI/B-035护卫员的仪态仪表WI/B-036护卫员职责道德规范WI/B-037护卫员交接班制度WI/B-038护卫员各岗位礼节礼貌用语规范WI/B-039对讲机使用管理制度WI/B-040对讲机电池使用管理规定WI/B-041监控录像带管理规定WI/B-042营业性停车场管理规定WI/B-043摩托车、自行车存放管理规定WI/B-044应急计划WI/B-045紧急集合方案WI/B-046停车场发生异常情况的处置WI/B-047护卫员处理问题的原则和方法WI/B-048装修作业人员管理办法WI/B-049家庭保姆/临时(钟点)工管理办法WI/B-050执勤中遇到不执行规定、不听劝阻的情况处置WI/B-051物品出入管理制度WI/B-052发生打架斗殴与盗抢事(案)件的处置WI/B-053违规停放车辆的处置WI/B-054发现业主、住户醉酒滋事或精神病人闯入护卫目标的处置WI/B-055执勤中发现可疑分子的处置WI/B-056业主、住户家中发生治安刑事案件时的处置WI/B-057业主、住户家中发生治安刑事案件时的处置流程图WI/B-058护卫员培训制度WI/B-059护卫员训练规定WI/B-060护卫员训练补助费计发规定WI/B-061护卫员奖惩制度WI/B-062安全护卫服务管理过程的检验WI/B-063安保工作重大事项报告制度目录WI/B-目录版号/状态:A/0第3页共4页编号标题WI/B-064安保工作重大事项报告处置流程图WI/B-065外来人员出入管理流程图WI/B-066邮件、报刊收发管理流程图WI/B-067业主、住户临时存放物品管理流程图WI/B-068电梯困人处理流程图WI/B-069车辆冲卡处置流程图WI/B-070发现可疑人员开车出场的处置流程图WI/B-071无卡车辆外出车场管理程序WI/B-072停放车辆发现异常情况的处置程序WI/B-073记录表格清单安保记录表格MR-001B安全护卫工作重大事项报告表MR-002B值班记录表MR-003B来访登记表MR-004B重要邮件收发登记表MR-005B机动车停车场车辆出入登记表MR-006B停车场巡查记录表MR-007B停车场车辆检查处理记录表MR-008B物品放行通知单MR-009B停车场月卡收费登记表MR-010B大厦摩托车车库车辆出入登记表MR-011B巡楼记录表MR-012B监控录像带使用保管记录表MR-013B监控录像机使用保管记录表MR-014B夜间查岗记录表MR-015B护卫员请假条MR-016B社区环境管理部季度检查表MR-017B安全护卫工作检验标准MR-018B护卫员军训(体能)季度考核评分表MR-019B护卫员军训(基本功)季度考核评分表MR-020B护卫员军训(队列)标准MR-021B护卫员训练考核评分表MR-022B对讲机使用情况记录表目录WI/B-目录版号/状态:A/0第4页共4页编号标题MR-023B营业性车场无卡车辆离场登记表MR-024B日当班收入统计表MR-025B业主、住户临时存放物品登记表MR-026B空置房屋巡查记录表(一)MR-027B空置房屋巡查记录表(二)MR-028B紧急集合检验记录表MR-029B红外对射系统功能检测记录表MR-030B护卫员训练补助费发放表MR-031B管理处护卫人数变动情况月报表MR-032B护卫人力支援申请表MR-033B宿舍卫生(每周)检查情况记录表安全护卫系统组织架构图WI/B-001版号/状态:A/0第1页共1页社区环境管理部职责WI/B-002版号/状态:A/0第1页共1页一、指导并协助管理处小区做好“四防”(防盗、防火、防破坏、防自然灾害)教育,并抓好检查督促。
1.0安保管理方案2.0 组织结构3.0岗位配置4.0 岗位职责4.1 管理处主管职责4.1.1认真执行国家及政府的有关政策、法规及公司的各项工作方针、计划和指令,制定和完善部门内部的各项管理制度定期向公司汇报管理处工作情况。
4.1.2负责制定年度工作计划及部门月工作计划,负责各类员工具体培训计划的制定、实施和培训结果的考核,监督各类员工的培训工作是否有效,建立员工培训档案。
4.1.3负责对外协调相关单位、部门的公共关系,确保各项工作的顺利开展。
4.1.4负责组织与客户沟通,及时认真地研究客户提出的合理要求并予以解决。
收集各类信息,采纳合理化建议。
4.1.5负责管理处经营管理工作及日常费用支出项目的审核、月度费用计划申报工作,合理控制各项费用开支,杜绝浪费;落实多种经营管理措施,完成公司下达的年度经营管理任务及各项指标。
4.1.6负责组织、协调各类人员的工作安排,负责对本部门员工进行公正合理的月工作效绩考核,并将考核结果反馈至被考核人后,报公司相关部门。
4.1.7负责规范、完善管理处行政人事管理制度,结合部门具体情况,制定管理处人事管理、人员储备、人员调配方案并报经理审批,确保符合管理处发展之需要4.1.8负责管理处内的新到岗、调职及离辞职人员面谈工作。
4.1.9负责审批本部门的《物资申请单》、《物资领(借)用单》及各类物资的采购管理工作,控制本部门的物资进出、采购程序。
4.1.10按公司质量体系文件要求负责签订本部门的B类合同。
4.1.11负责落实每半年对员工的培训考核,每季度对员工的培训考核。
4.1.12监督、检查管理区域内公共设施维护、保养情况。
4.1.13每周五制定《周工作情况报表》报公司。
4.1.14组织每周管理处工作例会,及时了解人员状态、工作中存在的不足、工作难点、处理信息,检查、总结和布置工作,并及时向公司副总经理汇报工作质量与进度。
4.1.15制定两级夜间查岗计划,合理安排夜间查岗人员并监督查岗情况,以确保管理区域内安全保卫工作质量。
物业管理—安保部运作手册秩序维护部工作手册中实杰肯道夫物业管理有限公司新纪元项目部2009-01-01(一)负责新纪元家园居住区及地下停车场的秩序维护和消防工作。
工作范围根据公安机关治安管理的范围、基层保卫和社会治安防范责任条例以及防火责任制的有关规定制定。
(二)对内部重点部位、场所、出入口进行24小时守护或巡逻,以维护公共秩序,预防违法犯罪和减轻灾害事故的损失。
(三)加强内部重点目标、部位的安全防火管理工作。
二、组织机构秩序维护部:经理1人,内保主管1人,8名中控、监控值班员和27名秩序维护人员组成。
秩序维护部经理 秩序维护队长 秩序维护人员 消防、监控 值班员 应急分队内保主管(一)秩序维护部工作职责1、维护小区区域内的治安秩序及消防安全工作;2、负责小区区域内发生的刑事案件和违法事件的初步处理及现场保护,并配合公安机关调查、侦破案件;3、负责小区内消防管理工作;4、负责小区区域内消防设施、器材的更换、维修、保养计划的制定等;5、定期检查监督小区区域内的防火安全情况及防火隐患的整改情况;6、对小区区域内的重大消防安全隐患有权发放《消防安全隐患通知单》,并责令限期整改;7、负责小区区域内中控室的技安监控及消防报警的运行值班工作,并及时处理火灾、盗窃以及刑事案件等突发性事件;8、建立健全消防组织机构,开展防火宣传教育工作;9、负责制定和健全有关秩序维护工作及消防方面的各项规章制度,并监督执行;10、负责小区区域内秩序维护人员的管理及培训工作;11、负责重要接待任务的保卫工作;12、负责地下机动车库的管理工作;13、负责义务消防员的组织和培训;14、负责消防演习方案的制定。
(二)秩序维护部经理岗位职责1、在项目经理的领导下,全面负责小区区域内的秩序维护工作及消防工作。
负责秩序维护部内部及项目内各部的协调工作,带领秩序维护部全体人员认真完成项目部及上级领导交给的各项工作;2、贯彻执行国家、市政府及项目部有关治安保卫、消防工作的法规、法令、条例和制度;3、组织、安排小区区域内日常的秩序维护和消防工作,落实各项安全措施及各项制度,保障小区的正常生活秩序;4、熟悉并掌握紧急事件处理程序,组织调动秩序维护人员对突发事件进行紧急处理;5、积极配合公安部门调查小区区域内发生的各类案件并与公安部门保持良好的工作关系;6、制定小区区域内的治安、消防工作的各项规章制度并监督组织实施并不断完善;7、制定并组织实施消防设备、设施的维护、保养和运行工作;8、负责组织秩序维护人员及义务消防员的培训,宣传防火知识,制定灭火作战方案;9、负责秩序维护部人员工作业绩量化考核、评定,按时填写工作日报表并及时上报;10、负责检查秩序维护、消防人员的仪容仪表、礼貌用语等情况;11、负责机动车和非机动车的管理;12、完成领导交办的临时性工作。
物业保安工作手册(完整版)物业保安培训手册一、物业项目保安部岗位职责(一)秩序维护队长岗位职责(二)秩序维护班长岗位职责(三)物业秩序维护员形象岗岗位职责(四)车辆管理岗岗位职责(五)巡逻岗岗位职责(六)消防监控岗岗位职责(七)守夜岗岗位职责二、物业保安员守则、行为规范、岗位操作规程(一)保安员守则(二)保安员行为规范(三)服务意识要求(四)仪容仪表要求(五)行为举止要求(六)接听电话要求(七)处理投诉(八)服从领导,听从指挥(九)认真工作,礼貌待客(十)规章制度,坚决执行(十一)爱护公物,注重卫生(十二)服务用语三、保安员素质要求(一)保安人员应具备的职业道德(二)保安人员应具备的素质(三)保安人员应具备的礼仪(四)岗位操作流程A、交接班管理规定B、班长交接班制度C、警棍佩带使用规定D、对讲机使用规定四、物业保安十大应急处理预案1、盗窃、匪警应急处理2、斗殴应急处理3、发现业主醉酒闹事或精神病人4、对爆炸物等危险物品的处理5、接报刑事案件6、接报治安案件7、对盗窃事件的处理8、防盗、报警系统误报、误操作处理9、瓦斯、易燃气体泄漏应急处理10、火灾应急处理五、49个保安基础理论知识(见信函)一、物业项目保安部岗位职责一(一)秩序维护队长岗位职责1、在项目经理的领导下,负责本物业管辖范围内的安全防范工作,并与政府有关部门建立良好的公共关系。
2、组织属下秩序维护员,做好内部安全防范和消防工作,并向项目经理汇报。
3、熟悉物业管理区域范围内施工单位的情况,并及时掌握变动情况;熟悉物业管理区域内房屋建筑和各类设施的布局,并及时掌握门卫、车库、会所、消防监控室等重要部位的工作情况,确定保卫重点。
4、督促和检查物业管理区域内各类安全防盗设施的配备情况,登记和处理业户遗弃的物品。
5、抓好消防监控室的日常管理工作,确保秩序维护员24小时值班制度的落实;掌握消监控室各类设备的运行动态,定期查验记录,配合工程维护部做好各类设备的日常维修保养,确保各种设备的正常运行。
物业公司安保部职责
1、根据相关规定,做好防火、防盗、防事故等工作,保障小区利益;
2、严格按照制度,防止未经许可的人员、车辆、物资擅自进入区域,维护小区的治安秩序;
3、负责做好货物进出的登记查验、车辆进出指挥有序停放;
4、及时处理区域内发生的各种突发事件并及时报告;
5、树立崭新安防人员风貌、展现公司窗口,做好门卫室及周围卫生保洁工作,维护公司形象;
6、完成领导安排的其它临时性任务。
物业公司安保部职责(二)
1、全面负责区域内的消防、保安工作,对消防设施、监控设施定期维护;
2、建立完备的保安制度,严格执行,确保正常安全的办公秩序;
3、建立健全队员值班、考勤和请销假制度,并负责对本队队员岗位考评工作,每月定期向项目经理汇报;
4、负责组织本队队员学习政治和业务知识,及时贯彻落实项目的各项指示精神,认真研究落实各项工作要求,带领队员积极做好项目的安全防范工作;
5、和地方消防安全部门、派出所建立良好的合作关系。
物业公司安保部职责(三)
1.在物业经理的领导下,全面主持消防、安保等各项工作;
2.负责指导、监督外包物业公司全面开展广场的安全防范工作;
3.协调公安机关、消防队等职能部门处理相关的安全案件、火灾事故等事项;
4.负责制定物业版块工作目标、工作计划和实施方案,并监督检查落实情况;
5.负责检查监督物业外包公司的各项工作,发现问题提出整改意见,并检查落实情况;
6.负责本部门治安、消防等各类文件管理;
7.完成上级领导交办的其它事项。
管理处保安部工作手册目录页数一、保安部工作规程———————————— 2二、岗亭岗位职责————————————— 3三、巡查岗位职责————————————— 4四、保安员应具礼仪及当值注意事项———————— 5五、交接班制度—————————————— 7六、会议学习训练制度——————————— 8七、警容风纪旳规定———————————— 9八、停车场规则————————————— 10九、小区紧急应变措施——————————— 12十、表格——————————————— 20保安部(一)保安部工作规程根据公安部门颁发旳“湖北省保安管理条例”,结合投资广场旳实际状况,保安队伍旳建设和管理,应包括如下内容:1. 宣传教育。
宣传教育工作就是把国家制定旳法律、法规和企业旳各项安全保卫规章制度向所有员工进行宣传,以增强他们旳法制观念和遵纪遵法旳自觉性。
提高警惕,做好“四防”工作(防火、防盗、防破坏、防治安灾害事故)。
2. 加强内部治安管理。
制定多种安全管理规章制度,打击各类违法犯罪活动,并同任何危害小区利益、扰乱经营秩序旳行为作斗争。
3. 查破案件。
查破一般涉外案件和刑事案件,协助公安机关侦破重大案件和查破治安案件。
4. 秘密力量建设。
开展调查研究,建立刑事、治安秘密力量,以提早发现各类犯罪人员或犯罪嫌疑人员。
5. 保卫要害部位。
划分投资广场要害部位,建立要害部位档案,严密各项防备措施,保证要害部位旳安全。
6. 追查事故。
根据事故旳大小,配合公安机关或单独追查。
参与调查重大事故(火灾事故等)。
7. 保密工作。
协助有关部门做好保密工作,同盗窃、出卖党和国家机密,企业秘密旳行为作斗争。
8. 警卫、消防工作。
负责投资广场消防安全工作,领导组织投资广场警卫和义务消防队,并开展教育和训练及进行安全性检查。
9. 完毕管理处、安全机关和公安机关交办旳其他任务。
(二)岗亭岗位职责1. 当值员工(保安),一定要等待接班旳同事抵达,交待清晰有关当班事项才能离开岗位。
安保手册一、保卫工作的指导思想防范胜于破案,防患于未然二、保卫工作的主要任务保证公司、客户及员工的人身财产安全三、保卫工作的性质理念公司至上,服务第一,热情礼貌服务和安全防范相结合四、保卫人员的行为规范1. 保卫人员必须具有高度的责任感,事业心,作风正派,坚持原则,身体健康,遵纪守法。
2. 语言文明,礼貌待客,着装整洁,精神饱满,注意力集中。
处理问题严肃、认真、公平、有效,不徇私情。
3. 严禁脱岗、串岗、甩岗、睡岗,值岗时不做任何与工作无关的事情。
严禁插兜值岗,岗上吸烟。
4. 严格执行交接班制度,接班时要了解上班工作情况和遗留问题,检查各种设备设施是否运转正常,做好值班记录。
5. 保证公司重大会议、活动及VIP客人的安全。
6. 阻止任何有损公司形象的行为,防止精神异常、衣冠不整、醉酒闹事、寻衅滋事、推销等闲杂人员进入公司。
7. 发现遗留、丢失物品必须上报主管领导,由部门登记,并设法归还失主,不得占为已有。
8. 严格查验物品出门证明,防止失窃案件发生。
9. 发现公司有人使用大功率用电器或擅自动用明火及涉及消防安全的设备时,及时进行明理劝说。
发现破坏公司各种设施的行为敢于进行有效制止。
10. 爱护装备,按时检查擦拭通讯器材、照明工具、不准损坏、挪为他用或转借他人。
11. 保持值班区域的环境卫生。
五、前台岗职责1. 坚守岗位,不脱岗、串岗、甩岗、睡岗。
按规定着装,坐姿、站姿、步姿要端正。
2. 精神饱满,观察细致,防止精神异常、衣冠不整、醉酒闹事、寻衅滋事、推销等闲杂人员进入公司。
3. 严格执行物品出门制度,防止无出门条的大件电器、办公设施被带出,同时防止易燃易爆等危险物品及宠物被带入公司。
每周五将本周出门条复印件整理统一送交行政部备查。
4. 对公司的访客要指引到前台进行登记,对重要客人要密切关注,如遇公、检、法、消防、工商税务部门人员来到,要问清事由,及时上报。
5. 每日按规定时间开启和关闭公司大门,开启和关闭大屏幕电视及照明设施。
某物业公司保安管理手册某物业公司保安管理手册第一章总则一、目的和依据本手册是某物业公司(以下简称“公司”)针对保安工作制定的管理规章制度,是保障公司安全、维护社会秩序、提高保安人员工作效率和服务质量的基本准则和操作指南。
本手册依据《中华人民共和国治安管理处罚法》、《中华人民共和国民用建筑消防法》等相关法律法规,并结合公司的实际情况制定。
二、适用范围本手册适用于公司内所有保安人员及相关岗位员工,不论是否签订劳动合同,都必须遵守本手册的规定。
第二章岗位要求一、基本要求1. 忠诚老实,热心客户,善于与人沟通;2. 服从理性的领导和上级的工作安排,严守工作纪律;3. 具备基本的法律和保安知识,熟悉本单位的业务及相关操作规程;4. 具有高度的热情和服务意识,具备一定的突发事件处置能力;5. 身体健康,无违法犯罪记录,无精神疾病和与安全工作不适应的疾病。
二、职责要求1. 维护公司大门及围墙、大楼等周边环境的安全;2. 维护公司内部物业设施的安全和正常使用秩序;3. 保护公司员工及访客的人身财产安全;4. 保护公司文件、档案和重要财务资金的安全;5. 合理处理突发事件,及时报告并协助相关部门处理;6. 定期巡逻、登记来往人员,维持社会治安稳定。
三、行为准则1. 保持良好的行为举止,不使用粗俗和不良语言;2. 保持整洁、文明的仪表和工作态度;3. 维护公司和客户的名誉,不对外泄露公司或客户的机密信息;4. 服从指挥,不得决定权力超越自身职责范围的事宜;5. 不争执与职务无关的事情,特别是不能与客户纠纷;6. 不擅自动用或将执勤物品私自带出单位。
第三章工作要求一、安保巡逻1. 按照公司制定的巡逻路线和巡逻时间进行巡逻;2. 发现可疑人员、可疑车辆或其他异常情况要及时向主管报告;3. 巡逻中要注意检查安全防范设施的正常运行状况;4. 巡逻不得离开应巡逻区域,不得借巡逻之名外出办事。
二、维护安全秩序1. 监控出入单位的人员和车辆,检查携带物品;2. 保证员工和访客正常出入,协助办理出入证件;3. 严禁未经许可私自携带易燃、易爆、剧毒等危险物品进入单位;4. 在工作期间,不得私自离开工作岗位或丢弃工作人员;5. 值班期间,保证工作场所安静整洁,不得睡觉、看书、玩手机等超出职务范围的行为。
物业安保执勤值守制度一、目的为确保小区的安全与秩序,营造和谐、安宁的生活环境,根据《中华人民共和国物权法》、《物业管理条例》等相关法律法规,结合小区实际情况,制定本制度。
二、适用范围本制度适用于本小区物业安保执勤值守工作的管理。
三、职责与要求1. 安保人员的职责(1)负责小区的安全守护、巡逻检查、门禁管理等工作。
(2)及时发现并报告小区内的安全隐患、治安案件等问题,采取相应措施,保护业主的人身财产安全。
(3)协助业主解决生活中的困难,提供优质的服务。
(4)严格遵守法律法规和公司规章制度,服从管理,认真履行职责。
2. 安保人员的要求(1)年龄在18周岁至45周岁之间,具有初中及以上学历。
(2)身体健康,具备较强的责任心和工作能力。
(3)无犯罪记录,具备良好的品行。
(4)经过专业培训并取得相关证书。
四、执勤值守安排1. 实行24小时不间断值班制度,每班不少于2人。
2. 每班工作时间不超过8小时,确保安保人员有充足的休息时间。
3. 值班期间,安保人员应保持高度警惕,不得擅离岗位、脱岗、睡岗。
4. 每班结束后,应及时填写值班记录,记录当天的工作情况、发现问题及处理结果等。
五、应急处置1. 遇到紧急情况时,安保人员应立即采取措施,进行现场处置,并及时报告上级管理人员。
2. 遇有业主求助时,安保人员应尽快提供帮助,确保业主人身财产安全。
3. 发生治安案件时,安保人员应迅速出警,收集证据,协助警方调查取证。
4. 遇到火灾、自然灾害等突发事件,安保人员应立即启动应急预案,组织疏散人员,配合有关部门进行救援。
六、培训与考核1. 物业公司应定期对安保人员进行法律法规、岗位职责、应急处置等方面的培训。
2. 保安公司应定期对安保人员进行职业技能、心理素质等方面的培训。
3. 物业公司应定期对安保人员进行考核,确保其具备胜任岗位的能力。
4. 对考核不合格的安保人员,应予以调整岗位或解聘。
七、监督与奖惩1. 物业公司应加强对安保人员的日常管理,确保其严格遵守本制度。
物业管理有限公司企业标准保安服务管理规范Security Service Management Specification1目次1职责 (2)2管理或服务提供过程 (2)2.1服务策划 (2)2.2作业准备 (3)2.3服务提供 (3)2.4突发事件应急管理 (4)2.5服务沟通 (4)2.6服务质量检查 (5)2.7保安服务评价 (5)2.8服务的改进 (5)3记录 (5)附录 A(规范性附录)安保服务管理方案框架.............................. 错误!未定义书签。
附录 B(规范性附录)对讲机管理要求. (7)附录 C(规范性附录)员工档案台账 (10)附录 D(资料性附录)安管员培训标准 (11)附录 E(规范性附录)安管员训练记录表 (12)附录 F(规范性附录)宿舍管理要求 (13)附录 G(规范性附录)班长值班记录表 (16)附录 H(规范性附录)安管员值班记录表 (18)附录 I(规范性附录)安管交接班工作标准 (19)附录 J(规范性附录)安管工作计划及跟踪表 (21)附录 K(规范性附录)项目安全运营季度点检表 (22)附录 L(规范性附录)夜查登记表 (23)附录 M(规范性附录)夜查管理办法 (24)附录 N(规范性附录)不合格记录表 (25)保安服务管理规范1职责1.1项目经理:负责供方沟通、安保服务管理方案审核、明确安保服务内容、对保安服务进行检查,对供方服务进行监管、评价与考核。
1.2安管队长:负责安保服务管理方案编制,保安服务进行日常检查,保安服务工作的策划与实施,对服务质量进行检查督导与改进提升,安管队伍的日常管理及培训、保安服务资源的配置及调配,对突发事件进行处置。
1.3安管班长:负责本班保安服务的岗位安排、工作落实及服务质量的督导检查,对本班发生的突发事件进行处置。
1.4安管员:负责保安服务的提供。
2管理或服务提供过程2.1服务策划2.1.1服务方案安管队长应在每年12月15日前,将下一年度的《安保服务管理方案》提交给项目经理,项目经理纳入次年项目管理方案中。
物业保安基础知识培训手册1、物业管理的概念:物业管理,是指业主、物业服务企业或者其他管理人对房屋及其配套设施设备和相关场地进行维修、养护、管理,维护物业管理区域内的环境卫生和相关秩序的活动;2、物业保安服务指依法成立的物业管理服务公司按承接管理的物业服务合同规定向管理区域内提供的专业化、社会化安全防范服务及相关秩序服务;3、所属的公司名称、企业理念;4、物业公司保安工作的核心内容:“防火、防爆、防盗、防破坏”,各安保岗位依照岗位细则分别履行“四防”中某个环节的工作;5、巡逻保安服务的主要任务是:维护巡逻区域内和保护目标周围的正常治安秩序;预防、发现、制止各种违法犯罪行为;及时发现各种可疑情况,警戒、保护刑事案件、治安事件和治安灾害事故现场;检查发现防范方面的漏洞;平息巡逻中突发事件和意外事故;6、遇有违法犯罪分子实施犯罪行为的主要处理方法是:及时予以制止,并尽量将其抓获送交公安机关;迅速报告公安机关;疏散无辜群众;7、遇有聚众闹事的问题的主要处理方法是:控制、稳住领头者;疏散围观者;迅速报告有关部门及公安机关,平息事件;协助相关单位处理问题;防止事态扩大;8、遇有疯、傻、醉汉闯入守护目标的主要处理方法是:将其劝出守护目标范围,无效时,通知其家属、单位及公安机关实施控制、监护;9、守护目标范围内发生盗窃案件的主要处理方法是:迅速向公安机关报案;保护好现场;安抚受害者;注意守护目标范围内可疑人员;如抓获犯罪嫌疑人,应迅速移交公安机关,防止其逃跑;遇闯卡车辆,应记下车牌号及车辆特征,报告公安机关;10、发现守护范围内有形迹可疑人时的主要处理方法是:留心观察,注意其行为发展,并及时向有关领导报告,做好控制工作;11、违反治安管理行为的主要内容是:扰乱公共秩序的行为;妨害公共安全行为;侵犯他人人身权利行为;侵犯公共财产的行为;妨害社会管理秩序行为;违反消防管理行为;违反交通管理行为;违反户口或居民身份证管理行为;12、正当防卫的条件是:1.正当防卫的不法侵害条件:必须有真实存在的不法侵害行为,才能进行正当防卫;必须针对正在进行的不法侵害行为,才能实行正当防卫;2.正当防卫的防卫条件:正当防卫必须针对不法侵害者本人实行;正当防卫不能超过必要限度,造成不应有的损害;13、防卫过当:指行为人的防卫行为超过了必要限度,给对方造成了不应有的损害的行为;14、保安员处理问题应遵循的原则:保安员在履行自己的职责时,会遇到许多问题需要处理,在维护业主租户的安全和利益的同时,依法办事,依法执行政策, 不徇私情,以理服人;15、保安守护工作的涵义是指保安人员根据有关服务的协议委托管理合同、业主公约,采取各种有效措施,对指定的人、财物、场所地以及其他对象所进行的看护和守卫活动;从宏观看,对一个住宅小区、对一栋或一组大厦,以及对一个工业区等物业的保安工作实际上就是保安守护工作,只不过物业管理保安工作不承担生命及财产的保险责任;16、责任性投诉:因物业公司未能履行物业服务合同中约定的责任、小区正常生活秩序受到影响而引起的业主住用人投诉;17、非责任性投诉:非物业公司在物业服务合同中约定履行的责任范围、但小区正常生活秩序受到影响而引起的业主住用人投诉;18、公共秩序维护的定义:对小区公共秩序进行安全防范,协助政府执法部门维护小区公共秩序;19、保安巡查中发现业主疾病晕倒,正确的处置方式是立即拨打急救电话、疏通急救车道路、设法通知患者家属;20、保安巡检时发现一处电线裸露,应采取的处置方式是:报告公司维修部门,疏散隔离周围人群,避免事故发生;21、车辆进入小区应停放在规划好的停车位上 ;机动车在辖区内道路上的限速是时速不得超过15 公里;22、消防通道的照明灯,指示灯应常亮,对贵重设备灭火时适用二氧化碳灭火器 ;23、火灾现场对人的危害主要有:缺氧、高温C、毒性气体、尘害;24、灭火通常有四种方法:冷却法、窒息法、隔离法、抑制法;25、火警的处置方法是:1应立即拨打报警电话“119”,并报告有关单位领导;2切断火警现场的电源,找到附近的水源,以防消防人员到达现场时可立即投入灭火;3抢救火场物资;4协助消防人员维护好现场秩序,防止坏人趁火打劫;26、如发生车辆冲岗、从入口绕行等可疑情况,应首先设法截停车辆,同时在第一时间报告控制中心处理;27、可能涉及到承担法律风险、物业服务所在辖区内发生客户被绑架、谋杀事件和保险理赔相关风险转移的突发事件,须在事件发生后立即知会、征询公司法律事务人员的意见;28、如发生驶出的机动车辆无车牌或无车辆临时停放服务凭证等异常情况,应立即报告控制中心和上级,查验并登记车主的有效证件,包括车辆行驶证、驾驶证车牌号车型等,进行人、车、证的核实,经车辆所有权人或单位证实并在驶出车辆异常情况登记表上签名后方可放行;29、消防栓的正确使用方法:开启消防栓箱的门,将消防带的接合器对准消防阀门的接合器,向逆时针方向打开阀门、铺设水带链接水枪开始灭火;30、在出入口保安值守工作中,保安员按照规定应履行好验证、登记、报告、交接班等项工作;31、门卫执勤的基本要求是“四勤”、“五要”;“四勤”指眼勤、脑勤、腿勤、手勤;“五要”是指执行制度要严格,查验工作要细致,处理问题要灵活,要提高处置紧急情况的能力,要文明执勤;32、物业保安服务工作内容:1 维护公共场所秩序及治安安全; 2 负责各出入口的警戒工作; 3 负责非正常出入时间出入者的记录工作; 4负责物品的管理工作; 5 负责巡逻巡视工作; 6 负责要害部位钥匙的管理工作; 7 负责重大活动的特别协助和保安工作; 8 负责确认各楼宇大门是否锁好等工作;9 负责所有车辆包括自行车停放,交通秩序等安全疏导的管理工作;10负责危险物品易燃,易爆、有毒、腐蚀,放射物品的监管,及协助有关部门处理工作;11负责二次装修施工人员的出入验证及施工现场治安防火安全工作的监管,并协助办理有关二次装修审批手续工作; 12发生刑事案件和违法事件,负责按有关法规条例实施权限内的工作, 并配合政府做好有关工作.13负责制定和实施各类突发事件的防范及处理程序,包括但不限于火警处理程序;水浸处理程序;气体泄漏处理程序;宾客伤害处理程序;罪案现场处理程序;盗窃处理程序;可疑物体或爆炸物的处理程序;停电及电力中断的处理程序;交通事故处理程序;处理拾获财物的处理程序;暴雨、台风处理程序 ;14负责消防器材、工具的配备、使用和维护等管理工作; 15负责消防安全管理工作,负责制定实施防火安全等工作、并负责监督、整改、消除各种灾害包括火灾的隐患; 16做好与政府有关主管机关包括公安机关;消防局,安全局、交通管理机关、治安联防的联络、配合等有关工作;17负责灾害发生时的通报、联络、应急广播以及火灾的初期灭火避难诱导检验、救护等工作的实施; 18负责印制紧急疏散图、配备必要的防火标志; 19负责正常公共秩序的维护与管理工作; 20负责物业内各种设施,设备完好程度的检查,及向有关部门通报的工作; 21负责关闭公共区域不必要的照明及水源阀门的工作.以降低不必要的能耗; 22负责保安内部人员各种培训工作的计划,组织和实施; 23负责其他与防范、防灾、维护公共秩序有关的业务工作;流利的说出说你所在岗位属于该内容中的那几个方面33、物业保安工作必须熟悉的内容:守护区域内可供使用的电话位置和使用方法;值班室、友邻单位、当地公安机关、联防治保组织的位置电话号码;特别是火警、盗警等报警电话号码更应熟记;34、遇偷盗、抢劫时的处置方式: a保持冷静、沉着应对并立即发出信号,通知各岗位保安人员;切毋轻易接近罪犯,确保自身安全; b若罪犯正在企图作案时,应间隔距离暗中观察,不要惊动,并尽快设法通知领班布置合围,捉拿现行; c可能情况下,及时报警,请求警方到场处理; d若罪犯正在行凶时,须智勇双全,一方面尽力制止不法行为,一方面在大声呼叫邻近保安协同擒获; e若罪犯正在逃跑时,应迅速用对讲机呼叫各岗保安尤其是门岗保安,讲清罪犯的外貌、衣着、特征及人数等,如有凶器,要特别提醒防备; f对现场或在追捕中罪犯所留下的遗物,千万不可自行处理,以便警方取证处理,必要时,进行拍照、录像;35、保安员在物业小区内维护秩序只能运用巡视查看、制止不良行为、疏导人群有序流动等引导、劝阻、提示、告诫等方式,而无权查处违法行为;36、爱岗敬业是一个保安员做好本职工作的重要前提;提倡爱岗敬业,就是要求保安员:认识保安服务的社会价值;勇于承担职业责任;提高履行职责的能力;不能玩忽职守;37、保安人员在门卫处实施验证、登记、疏导等保安服务活动所针对的对象是出入的人员、车辆、物资;38、小区内突然停电, 整体安全会受影响,隐患因停电而存在物业公司保安部门应采取的措施:应按照停电应急预案开展工作,保安部门重点做好以下几点:1安排专人协助工程部门监控后备发电机运行,以免出现故障;准备充足燃料以备发电机长时间的运行需要; 2 安排保安员在电梯厅维持秩序,并控制消防电梯使用人数,以免出现过载; 3为各岗位保安员配备应急灯和手电筒;安排保安员持应急灯和手电筒于消防楼梯处护送低楼层住户上下; 4电梯使用高峰期张贴通告于大门醒目位置及不断发布最新消息; 5增派保安员到现场维持秩序和协助工作,不断于楼层间穿插巡逻,提醒住户注意治安和消防安全;39、停车厂丢车赔偿的法律问题:一旦停车场内车辆丢失,车主以停车场负保管责任为由要求物业公司赔偿巨额损失;物业公司的应对:1停车场注明收取的是车位租金、故无证据证明双方之间存在车辆保管关系,而是车位有偿使用关系,物业公司不承担丢车之民事赔偿责任; 2如果物业收取停车场费用是服务费,即可证明双方之间存在车辆保管关系;物业公司必须承担部分民事赔偿责任;40、保安巡逻工作应注意的事项是:在时空控制上应注重系统管理;经常结合治安方面的情况,及时调整力量和巡逻方法;经常教育巡逻人员增强危险观念,要求每个巡逻人员在巡逻中,要全神贯注,细心观察,不忽视一点可疑迹象,不放过任何应该解决处理的问题,夜间巡逻要更加注意行人、车辆表现出来的可疑点,以及不正常的烟、光等;。
物业保安工作手册一、岗位职责。
1. 保安人员应当严格遵守物业管理规章制度,服从物业管理公司的管理和指挥,维护物业管理公司的形象和声誉。
2. 保安人员应当认真履行保安工作职责,严格执行保安操作规程,保障小区内的安全和秩序。
3. 保安人员应当认真履行岗前培训内容,熟悉小区内的安全隐患点和应急处置方法,确保在发生突发事件时能够及时有效地处理。
4. 保安人员应当积极协助物业管理公司进行巡逻、安全检查等工作,及时发现并报告安全隐患,确保小区内的安全环境。
二、工作规范。
1. 保安人员应当保持良好的工作状态和精神状态,不得在工作时间内饮酒、吸烟或使用手机等影响工作效率的行为。
2. 保安人员应当穿着整洁,佩戴工作证件,不得穿着拖鞋、短裤等不符合形象的服装。
3. 保安人员应当礼貌待人,对小区内的业主和访客提供热情周到的服务,不得对任何人员采取粗暴行为。
4. 保安人员应当严格遵守工作时间和工作地点,不得擅自离岗或私自外出,确保小区内的安全和秩序。
三、安全防范。
1. 保安人员应当加强对小区内的安全防范工作,定期巡逻,加强对小区入口、楼道、楼梯等重要区域的监控,防止不法分子进入小区。
2. 保安人员应当加强对小区内的车辆和人员的管控,确保小区内的车辆和人员都是合法进入的,不得放任不法车辆和人员进入小区。
3. 保安人员应当加强对小区内的消防安全工作,定期检查消防设施的完好情况,加强对业主和租户的消防安全宣传,提高小区内的火灾防范意识。
四、应急处置。
1. 保安人员应当熟悉小区内的应急预案,掌握应急处置流程和方法,确保在发生突发事件时能够迅速、有效地处置。
2. 保安人员应当加强对小区内的安全隐患点的排查和整改工作,及时发现并报告安全隐患,确保小区内的安全环境。
3. 保安人员应当积极参与小区内的应急演练和安全培训,提高自身的应急处置能力和水平,确保在发生突发事件时能够做出正确、果断的决策。
五、其他事项。
1. 保安人员应当加强对小区内的环境卫生工作,协助物业管理公司做好小区内的环境整治和卫生清洁工作。
物业安保日常服务方案物业安保是指在物业管理过程中,对物业及其内部人员、设施、财产等实施安全控制、值班巡查、突发事件处理等工作,以保证物业的安全、有序运行的一种服务。
一、安保人员配备1. 保安人员:根据物业的规模和实际情况,对物业安保人员进行适当的配置,确保整个物业的安全。
2. 值班人员:根据物业的运营时间,设立24小时值班制度,保证物业的安全和秩序。
3. 安保司机:配备专职司机,负责护送物业重要人员,保证他们的人身安全。
二、日常巡查1. 外围巡查:安保人员每天定时巡视物业的外围,检查围墙、大门、门禁设备等是否完好,发现问题及时报修,确保物业的安全闭合。
2. 内部巡查:安保人员每天定时在物业内部进行巡查,特别是人员密集的区域,如停车场、楼道等,发现可疑人员或异常情况立即采取措施。
3. 设施设备巡查:安保人员每天对物业内的设施设备进行巡查,如消防设备、监控系统等,确保其正常运行并及时维护。
三、门禁管理1. 出入登记:对进入物业的人员进行登记,记录他们的身份信息、来访目的等,确保物业内部人员的安全。
2. 门禁设备管理:对门禁设备进行定期检查和维护,确保其正常运行,并保证只有经过授权的人员才能进入物业。
3. 客户接待:安保人员在物业入口设立接待台,对外来客户进行引导和接待,确保物业的客户服务质量。
四、突发事件处理1. 火警、漏水等突发事件:安保人员要熟悉物业内部各区域的消防设备、防水设备等,一旦发生突发事件,能够迅速组织人员进行应急处理,并及时报警。
2. 犯罪事件处理:安保人员要熟悉物业周边的治安情况,一旦发生犯罪事件,能够及时报警、保护人员安全,并协助警方进行调查取证。
3. 紧急疏散:安保人员要熟悉物业的疏散路线和紧急出口位置,一旦发生火灾、地震等紧急情况,能够迅速组织疏散,并进行人员统计,确保人员的生命安全。
五、日常记录安保人员要按规定的要求,对每天的巡查、处理突发事件等情况进行记录,及时向物业负责人汇报,以便查验和日后参考。
某物业公司安全保卫管理手册1. 出入管理:所有员工和访客进入公司大楼前必须通过门禁系统,未经授权不得随意进入公司内部区域。
如果发现有可疑人员或物品,员工应立即报告保安人员。
2. 安全巡逻:保安人员将定期巡逻公司大楼内外,确保所有区域的安全。
员工在发现任何异常情况时也应及时告知保安人员。
3. 紧急应对:公司大楼内应设置逃生通道和应急出口,并进行定期演练,以确保员工在发生紧急情况时能够迅速撤离。
4. 物业设施维护:公司设施设备的正常运行对于安全保卫至关重要,员工应每天检查自己所在的办公区域,确保设施设备的正常运行。
5. 安全意识培训:公司将定期开展安全意识培训,包括逃生演练、防范火灾等内容,提高员工的安全保卫意识和自救能力。
6. 保密措施:公司将建立严格的保密制度,员工需严格遵守公司的保密规定,并对重要信息和文件进行妥善保管。
7. 安全报告:员工如发现任何安全隐患或违规行为,应立即向上级领导或保安人员报告,并配合相关部门进行调查处理。
通过严格执行本手册规定,公司将有效提高安全保卫工作的效率,保障员工和客户的生命财产安全。
同时,也希望员工们能够认真遵守本手册规定,共同营造一个安全、舒适的工作环境。
8. 安全设备使用:公司将配备必要的安全设备,如灭火器、烟雾报警器等,员工需学会正确使用这些设备,并在必要时及时启用。
9. 安全检查记录:公司将建立安全检查记录制度,对公司大楼内外的安全设施、设备和环境进行定期检查,确保安全设施的正常运行。
10. 安全责任制:各部门和岗位将划分相应的安全责任,每位员工都有责任保证自己工作区域的安全,并积极参与公司的安全保卫工作。
11. 安全风险评估:公司将定期对潜在的安全风险进行评估,及时采取措施消除隐患,确保员工和客户的安全。
12. 安全记录管理:公司将建立完善的安全记录管理制度,对事故、险情等情况进行记录和归档,以便事后的查找和总结经验教训。
13. 应急预案:公司将编制应急预案,包括火灾、地震、恐怖袭击等各类突发事件的处理措施和员工应对方法,以确保员工在面对突发事件时能够迅速有效地应对。
××物业管理有限公司作业指导书××安保管理手册文件现行版号/改次:C/0首版生效日期:20××年03月31日本版生效日期:20××年07月01日发放编号:(盖受控章处)文件编号: WI/blc-750.9.1 总页数: 12 (含本页)编制:编制日期:年月日审核:审核日期:年月日批准:批准日期:年月日文件修改记录修改状态日期修改章节修改内容修改人审核人批准人手册目录安保部岗位架构图注:以上各岗位职责详细作业指导书之WI/blc-551.6《岗位职责汇编》。
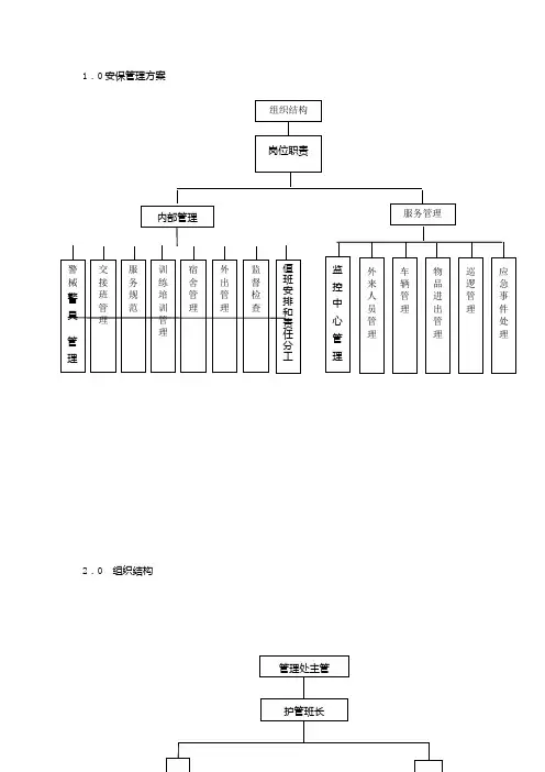
安保部岗位分工与值班安排1.0目的为客户营造安全、舒适、文明的社区环境,规范管理处安保工作,提高管理处服务水平。
2.0适用范围适用于保利城管理处的安保管理。
3.0内容安保主管根据岗位配置情况,每年底制订下一年护卫执勤各岗位人员的责任分工,将《责任分工表》报管理处负责人审批后执行。
岗位调整或人员变更时,将修改后的《责任分工表》报管理处负责人审批后执行;安保主管每月30日前拟制下月《岗位值班安排表》报管理处负责人审批后执行。
人员进出管理制度1.0目的2.0适用范围3.0内容14.0外来人员管理14.1了解外来人员进入辖区的目的或被访人员的姓名。
14.2用可视电话和被访人联系,经被访人认可同意后,请来访人员出示有效证件,填写《来访人员登记表》佩带《临时出入证》后,方可放行。
来访人员离开时,需交回《临时出入证》在《来访人员登记表》记录离开时间。
14.3在对外来人员进行咨询时,应文明、礼貌、热情对待。
14.4如有外来人员情绪激动时,应冷静对待,尽量使其平静,同时通知安保主管和管理处负责人处理。
物品进出管理制度1.0目的2.0适用范围3.0内容17.0物品放行制度对物品的搬入与搬出均应严格进行控制,详细内容见《客服管理手册》中相关内容。
巡逻管理制度1.0目的2.0适用范围3.0内容16.0巡逻管理16.1物业管理区域内实行24小时全天护卫巡逻服务,巡逻人员由护卫班长负责,护卫员轮流巡逻。
16.2确保管理区域内的安全、消防工作和维持物业管理区域的公共秩序及设施正常运行,按制定的巡逻路线,到指定的地点“打点”计时,巡逻时不得乘坐电梯;若有乘电梯不按巡逻路线巡逻者,一经发现立即处理。
确保全部公共区域情况正常。
16.3巡逻员要协助管理处对装修单元的安全施工许可证、施工人员的出入证、动火作业证、安全隐患及消防隐患等情况进行巡查,发现问题要及时制止。
16.4巡逻中发现可疑人员应进行询问、验证,如有误必要时可带至安保部值班室询问处理。
16.5在巡逻中应认真检查天顶、地面及平常人易到达的角落,查看有无垃圾或不清洁的地方:有无公共设施、设备被损坏。
若消防栓、管道房的门、防火通道门损坏,灯管、灯泡不亮等等,应立即填写《巡逻检查记录表》、《部门往来联络单》,交有关部门处理。
16.6在巡逻中注意发现有无不正当的气味、异味时,迅速寻找异味来源在何处。
如属液化石油气泄漏,则立即进行处理;如不能处理时,立即报管理处,并请液化石油气公司速来解决。
16.7严格按照安保部制定的巡逻次数(每班1次,夜班2次)和巡逻路线对整个辖区做全面巡视,每次巡逻时如实填写《巡逻检查记录表》,巡逻时必须携带对讲机、应急灯。
停车场(库)操作规程1.0目的2.0适用范围3.0内容4.6车场(库)进口岗4.6.1当有车辆进入停车场(库)时,进口岗值班员应立即走近车辆并向司机敬礼,示意司机停车。
4.6.2当车辆停稳后,说:“您好,请您刷卡”。
4.6.3持有IC月卡的车辆进入时,进口岗值班员应协助司机刷卡,刷卡完毕,说:“谢谢,请您保管好”!4.6.4对未携带IC月卡的业主/物业使用人驾车进入时,进口岗值班员应说:“对不起,请您使用临时停车卡”。
并在《车辆出入登记表》上做好记录,做好交接工作。
4.6.5对进入停车场(库)的外来车辆,进口岗值班员应认真询问其所到楼座,发放临时停车卡,并在《车辆出入登记表》上做好记录。
4.6.6当车辆进入停车场(库)时,进口岗值班员通过对讲告知车场(库)巡逻岗,引导和指挥车辆的行驶与停泊。
4.6.7对于临时进场停放的车辆,进口岗值班员要主动提醒司机按规定的路线行驶,在指定的车位停泊。
4.6.8对进入停车场(库)的车辆,进口岗值班员要认真检查车辆外观,一旦发现有损坏情况,应及时向司机指出,并在《车辆出入登记表》上做好记录,请司机签字确认。
4.6.9当有公、检、法、军等政府部门执行公务的车辆要求进入停车场(库)时,进口岗值班员应指引行车路线,并对讲通知车场(库)巡逻岗给予协助。
4.6.10进口岗值班员对进出车辆及车辆停放时需敬礼,并正确运用车辆指挥手势,指挥出入车辆的行驶与停泊。
4.6.11无车辆进出时,道闸应处于闭合状态,只在车辆进出时才予开启,待车辆完全进出道口时,方可放下道闸。
必须确保不因道闸的开启、闭合对进出车辆及人员造成伤害。
4.6.12认真做好室内及岗位周边环境卫生及交接班工作。
4.7车场(库)出口岗4.7.1当发现有车辆驶出车场(库)时,车场(库)巡逻岗及时告知出口岗。
4.7.2出口岗值班员接到车场(库)巡逻岗的通知有车驶出时,及时做好检查准备,必要时协助司机刷卡,并在《车辆出入登记表》上做好记录。
4.7.3当车停稳时,出口岗值班员立正敬礼。
4.7.4司机开启门窗时,出口岗值班员向司机索取停车卡,接过停车卡时,说:“谢谢”!4.7.5出口岗值班员仔细核对停车卡、司机、车辆,确认无误时,根据《深圳市营业性停车场管理规定》向车主收取停车费用,并出具发票。
4.7.6对不愿收发票的司机,应明示公司的规定,请司机自行处理。
严禁收费不给发票的行为,一经查出,一律按贪污票款处理。
4.7.7开启道闸放行,然后将临时停车卡放入规定栏目内。
4.7.8若后面有紧随车辆时,应立即示意车辆停车,并立即立正敬礼,但敬礼时应说:“对不起,让您久等了”!4.7.9在收卡交费后,则应在《车辆出入登记表》上做好记录。
4.7.10认真察看电脑,核对刷卡车辆是否与电脑记载的内容相符。
4.7.11停车场(库)的离场车辆未携带IC卡的,应及时汇报当班班长或安保队长。
然后核对司机证件,待确认核实无误,收取IC卡工本费和停车费后,方可放行。
并在《车辆出入登记表》上详细记录说明。
4.7.12对于进场(库)时,未携带月卡而使用临时卡的车辆出场(库)时,出口岗值班员应仔细核对,并请司机同时出示临时卡和月卡,确认无误后,方可给予放行,并在《车辆出入登记表》上详细记录说明。
4.7.13对出场(库)的客货车,应按规定检查有无携带贵重物品,并索取管理处开具的《放行条》。
如无《放行条》,则礼貌地说:“请您到管理处办理放行手续”。
当手续完善后,再给予放行,并且在《车辆出入登记表》上做好记录。
4.7.14停车场(库)的临时停车超过收费时段需要收取停车费的,应让司机核对时间,并请其交纳费用,费用交清,收回停车卡后,方可放行。
并在《车辆出入登记表》上做好登记。
4.7.15如遇可疑司机驾驶车辆出场,应立即示意司机停车并敬礼,再有礼貌地询问。
若核对无误时,给予放行,并说:“对不起,打扰您了”。
若仍有可疑,必要时可立即扣留车辆,迅速用对讲机通知当班班长和临近巡逻岗,并机警地做好应急准备,以防不法分子盗车行凶。
4.7.16对强行进出者,切记车牌号码、车型、颜色及人员特征,立即报警“110”并在《车辆出入登记表》上做好记录。
4.7.17本公司的车辆出入所辖停车场(库)时,无需收取停车费,但必须在《车辆出入登记表》上做好记录。
4.7.18无车辆进出时,道闸应处于闭合状态,只在车辆进出时才予开启,待车辆完全进出道口时,方可放下道闸。
必须确保不因道闸的开启、闭合对进出车辆及人员造成伤害。
4.7.19认真做好室内卫生及交接班工作。
4.8车场(库)巡逻岗4.8.1当车场(库)巡逻岗接到进口岗值班员的车辆入场通知后,及时赶到相应地点,指挥车辆行驶。
4.8.2示意司机驾驶车辆慢行,安全停放在指定的车位上。
4.8.3提醒司机关闭好车门、车窗并将车内的贵重物品随身携带。
4.8.4自行车及摩托车停放在指定位置,并加锁。
4.8.5每半小时或随机详细检查车辆、车况,发现漏水(油),未关好车门(窗)或未上锁、车辆刮花、碰伤等情况及时报告班长或管理处。
同时通知车主,并在《巡逻岗检查记录表》上做好记录。
4.8.6对违反停车场(库)停车规定的,及时通知车主,按照规定进行停放。
4.8.7随时和出口岗取得联系,清点车辆,核对数量,确保安全。
4.8.8发现无关人员或可疑人员进入车库(场),应及时劝离,或仔细查验其身份、去向。
4.8.9严密注视车辆情况和司机的行为,若遇醉酒驾车者应立即劝阻,并及时上报处理,避免发生意外交通事故。
4.8.10如遇司机用消防水洗车,应及时制止,并说:“对不起,停车场(库)不能洗车,如要洗车,请您到专用洗车场。
4.8.11车场(库)巡逻岗每班至少检查一次防火卷帘门、消防栓和灭火器等防火(盗)设施,发现异常情况须在《巡逻岗检查记录表》上做好记录并及时上报,立即处理。
4.8.12检查并维护好车场(库)内清洁卫生,保持车场(库)整洁。
15.0车辆管理15.1护卫员负责日常的车辆停放管理。
15.2护卫员指挥车辆按车位上的车牌号正确停放。
15.3对外来车辆,必须填写《车辆进出登记表》,登记其车牌、车型、颜色、单元及进出时间等。
15.4每班车库巡逻护卫员对地下车库停放车辆检查一次,并填写《巡逻检查记录表》。
交接班管理制度1.0目的2.0适用范围3.0内容8.1接班护卫员要按规定着装,提前十分钟上岗接班,在《值班记录表》上记录接班时间,并由交班护卫员签名;8.2交接班时,交班的护卫员要把需要在值班中继续注意或处理的问题以及警械、通讯器具等装备器材以及监控、道闸等重要设备(施)的运行情况向接班护卫员交待、移交清楚,记录在《值班记录表》上;8.3交班护卫员要等接班护卫员对管区巡视一遍进行验收确认后才能下班。
如无特殊情况,接班护卫员验收时间不得超过十分钟;8.4接班护卫员验收时发现的问题,由交班护卫员承担责任;验收完毕,交班护卫员离开岗位后所发生的问题,由当班护卫员承担责任;8.5所有事项交待清楚后,交班护卫员离岗前在《值班记录表》上记录下班时间并由接班护卫员签名;8.6接班人员未来,交班人员不得下班。
若接班人员未来,交班人员下班,其间发生的问题,由两人共同负责;8.7各班上岗前,由各班班长组织班前会,清点人数,检查着装,布置岗位,说明注意事项。
8.8对客户通知的事情及注意的事项,要转交的物品,应对接班人员交代清楚,并在《物品保管记录》上详细记录。
着装管理制度1.0目的2.0适用范围3.0内容护卫员训练、培训管理制度1.0目的2.0适用范围3.0内容9.1护卫管理根据公司规定,按准军事化管理,因此必须安排护卫员进行各种军事技能训练和培训;9.2对护卫员的日常训练由安保主管每月底拟制下月的《护卫员训练计划表》报主任审批,并按计划进行培训和记录,每次训练结束后,训练教练填写《护卫员训练记录表》,报安保主管审核。