设备运行管理规程流程图
- 格式:doc
- 大小:192.00 KB
- 文档页数:18
1.0目的
为了保持生产设备、设施处于完好状态,满足生产能力要求,特制定本程序。
2.0范围
适用于生产设施(水、电、气、环保等公共设施)、生产设备、运输设备的采购、安装、调试、验收、维护、维修直到报废的全过程。
3.0定义
3.1 设备:生产过程中使用的机械、装置和设施等可供长期使用、并在反复使用中基本保持原有实物形态和功能的物质资料。
4.0职责
4.1 生产部——设备管理归口部门,负责组织设备安装、调试、验收、使用、维护保养、维修等工作。
4.2 工艺部——负责制定设备操作规程、维修保养规范、重点设备的技术精度要求等技术文件。
4.3 品管部——负责设备验收后试生产产品的检验,确认设备的精度。
4.4 采购部——负责设备及设备备件的采购、贮存工作。
4.5 财务部——负责设备等固定资产的账务处理。
5.0程序
附录1:
8.0修改一览表。
运行维护管理制度目录1、总则 (3)2、编制方法 (3)3、运维工作职责 (3)4、运维服务管理体系 (5)4.1运维服务管理对象 (6)4.2运维系统功能框架 (6)4.3运维管理组织结构 (7)4.3.1项目负责人 (8)4.3.2项目经理 (8)4.3.3技术主管 (9)4.3.4服务台 (9)4.3.5网络管理员 (10)4.3.5应用、数据库管理员 (10)4.3.7终端管理员 (11)4.4运维服务流程 (11)4.4.1项目运维服务工作流程图 (12)4.4.2服务台..................................... - 12 -3.4.3事件管理................................... - 13 -4.4.4工单管理................................... - 13 -4.4.5问题管理................................... - 13 -4.4.6变更管理................................... - 14 -4.4.7配置管理................................... - 14 -4.4.8知识库管理................................. - 15 -4.4.9统计及工作报告............................. - 15 -5、运维服务容 ...................................... - 15 -5.1服务目标 (15)5.2 资产统计服务 (16)5.3网络、安全系统运维服务 (16)5.4主机、存储系统运维服务 (17)5.5数据库系统运维服务 (18)5.6中间件运维服务 (18)5.7终端、外设运维服务 (19)6、应急服务响应措施 ................................ - 19 -6.1应急预案实施基本流程. (20)6.2突发事件应急策略 (20)7、服务管理制度规 (21)7.1服务时间 (21)7.2行为规 (22)1、总则第一条为保障公司信息系统软硬件设备的良好运行,使员工的运维工作制度化、流程化、规化,特制订本制度。
动力车间设备运行维护管理动力车间设备运行维护管理包括,主要包括设备点检管理、设备保养管理、设备润滑管理、设备维修管理、交班本记录、备件需求计划、设备运行管理、设备事故管理、设备例会管理、设备统计分析十个子功能模块。
设备运行维护管理的总体业务流程图如下:图6 设备运行维护管理的总体业务流程图1、设备点检管理业务流程图图7 设备点检管理业务流程图业务流程描述设备日常点检设备日常点检项目由部门设备员根据运行状态、点检制度或操作规程要求制定,一般不修改,没有临时点检项目。
日常点检记录日常点检主要是交接班过程中和设备开动过程中由操作工凭日常点检表〔设备日常点检标准〕进展相关项目的检查,由维修工或操作工执行。
维修工或操作工点检后,填写设备日常点检表,并签章,操作工或维修工在设备日常点检表中点检结果中一般填写〔1〕正常√〔2〕待修×〔3〕已修○。
如果在日常点检时发现设备出现故障或隐患时,由维修人员判断是否维修,操如果不影响生产的话,处理为:转保养、待处理;如果影响生产或质量品质的话,设备必段停下来进展维修,如果本班维修工对出现故障隐患的点检项目已维修好的话,下一班的维修工对该点检项目进展点检且并没有发现故障隐患的话,点检结果应为正常状态,对维修后结果在相应交班本上记录,并在备注中填写反应容。
如果由于时间关系,当班维修工对设备修理任务没有完成的话,维修工那么反映到设备主任或设备员,设备主任或设备员那么要考虑对该设备作设备轮保计划。
设备点检检查维修工或操作工点检完成后,由设备员根据点检标准进展抽查并考核,并根据考核标准填写扣〔得〕分情况。
设备分区域点检设备分区域点检,又叫设备定期点检,设备定期项目由部门设备员根据运行状态、点检制度或操作规程要求制定,一般不修改,没有临时点检项目。
分区域点检记录分区域点检主要是由维修工凭定期点检表〔设备定期点检标准〕进展相关设备点检项目的检查,由维修工或操作工执行。
维修工在设备点检后,填写设备分区域点检表,并签章,操作工或维修工在设备分区域点检表中点检结果中一般填写〔1〕正常√〔2〕待修×〔3〕已修○。
(管理流程图)医院设备科制度职责预案流程图修订部门:设备科目录医疗设备三级管理制度 (5)医疗器械法律法规监督和考核制度 (6)设备科工作制度 (7)大荔县人民医院设备科人员组织架构图 (8)医疗设备论证制度 (10)医疗设备决策管理制度 (11)大荔县人民医院医疗设备配置原则与配置标准 (12)医疗设备购置管理制度 (15)大荔县医院医疗设备采购小组 (16)医疗设备验收管理制度 (17)急救生命支持设备管理制度 (19)医疗设备巡检制度 (19)医疗设备保养制度 (20)计量管理制度 (22)计量器具检定制度 (23)医疗设备的维修制度 (24)大荔县人民医院急救及生命支持类医学装备应急预案 (25)血压计、体温计水银泄露应急预案及处理流程 (28)层流应急预案 (30)层流设备维护管理制度 (32)医疗设备应用分析评价管理制度 (33)医学装备安全控制及风险管理制度 (34)大荔县人民医院医疗设备综合风险评估表 (37)医疗器械临床使用安全事件监测与报告制度 (38)大荔县人民医院医疗器械使用安全情况考核记录表 (40)医疗器械安全事件、不良事件监测和报告制度及措施 (41)医疗设备调拨管理制度 (50)医疗设备操作人员培训考核制度 (51)临床技术支持与咨询制度 (53)层流工作制度 (55)医用气体安全管理制度 (56)压力容器安全管理制度 (58)一、岗位职责 (58)1.压力容器专职(或兼职)管理人员的职责 (58)2.压力容器操作人员的职责 (59)二、压力容器安全操作规程 (59)五、压力容器定期安全检查、年度检查和隐患治理规定 (62)六、压力容器定期检验报检和实施规定 (63)七、压力容器作业人员管理和培训规定 (64)八、压力容器设计、采购、验收、安装、改造、使用、维修、报废等管理制度 (64)九、压力容器事故报告和事故处理规定 (65)大荔县人民医院设备科危险化学品安全管理 (67)医疗器械不良事件报告制度 (69)设备科质量与安全目标及考核办法 (72)医疗器械年度质量与安全检查指标 (74)设备科工作质量与安全检查指标 (75)设备科质量管理工作监督、检查规程 (82)医疗设备质量与安全管理小组 (84)医疗装备质量与安全管理制度 (85)大荔县人民医院应急物资管理制度 (86)医疗设备档案理制度 (88)应急采购工作流程图 (89)医疗设备申请采购流程图 (90)除颤仪故障应急处理流程 (92)呼吸机故障或出现意外情况应急处理流程 (93)医疗设备验收工作流程图 (94)医疗设备使用管理规范流程图 (95)医疗仪器设备操作人员培训考核工作流程图 (96)医疗器械法律法规监督和考核流程图 (96)急救类、生命支持类设备应急维修流程图 (100)急救设备应急调配流程 (101)非急救设备应急调配流程 (102)特种设备应急预案流程 (103)大荔县人民医院应急物资调拨流程 (104)临床使用安全控制与风险管理流程图 (105)计量管理工作流程图 (106)氧气供应工作流程图 (107)医疗器械临床使用安全、不良事件报告与处理流程 (108)压力容器管理流程图 (109)设备科岗位职责 (110)1.设备科科长职责 (111)2.设备管理员职责 (111)3.设备科保管员职责 (112)4.设备科维修技术人员责任 (112)5.设备科计量管理员职责 (113)6.设备科采购员职责 (114)7.档案管理人员的职责 (114)8.中心供氧/吸引人员工作职责 (115)医疗安全十八项核心制度 (115)医疗卫生行风建设九不准 (116)放射科重大辐射事故应急预案 (123)辐射工作人员岗位职责 (125)辐射设备的检修与维护 (126)放射治疗质量保证大纲和质量控制计划 (127)医疗设备三级管理制度为了规范和加强我院医疗设备管理,促进医疗设备合理配置、安全与有效利用,充分发挥使用效益,依据有关法律法规,制定本制度。
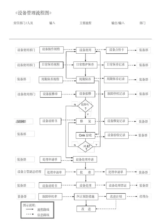
Y
≥1.67
能修吗
N 装备部
《设备管理流程图》
责任部门/人员输入主要流程输出/输入部门装备部设备使用日常维护保养N 设备处理申请
批准装备部图示说明:
流程路线
信息路线周期保养设备报修设备使用部门总经理装备部设备说明书处理申请单修复处理申请单装备部装备部设备处理设备说明书
设备主管副总经理设备处理票证装备部装备部Cmk 验收
Y 设备修复记录设备验收记录设备点检卡日常保养记录设备使用部门日常保养规程设备操作规程装备部装备部周期保养记录装备部装备部装备部设备使用部门设备报修单周期保养规程处理申请单故障停机记录故障停机率纠正预防措施装备部改进计划经理办
改进。
供配电设备设施管理标准作业规程标准作业规程(SOP)是为了保证供配电设备设施管理工作的规范运行而制定的一套标准化操作流程。
本文将分为以下几个部分来详细介绍供配电设备设施管理SOP。
一、引言(一)目的和范围本SOP的目的是确保供配电设备设施管理工作的规范运行,以保证供电系统的安全可靠运行。
本SOP适用于供配电设备设施管理工作的全过程。
(二)背景和意义供配电设备设施是供应电力的基础设施,对社会经济发展具有重要意义。
供配电设备设施管理的规范运行,对确保供电系统的安全可靠运行、减少设备故障和事故,具有重要意义。
二、管理机构和职责(一)主管部门供配电设备设施管理工作的主管部门是负责制定和完善供配电设备设施管理制度、监督和管理供配电设备设施管理工作的部门。
(二)管理职责供配电设备设施管理工作的管理职责包括但不限于以下几个方面:1. 制定和完善供配电设备设施管理制度和操作规程;2. 组织和实施供配电设备设施的巡视、检修、维护和管理工作;3. 定期进行供配电设备设施的安全、可靠性评估;4. 组织和开展供配电设备设施的技术研究和优化工作;5. 组织和开展供配电设备设施的应急预案演练和事故调查。
三、设备设施管理流程(一)供配电设备设施管理流程包括以下几个主要环节:1. 设备设施信息的登记和建档;2. 设备设施的巡视和检查;3. 设备设施的维护和修理;4. 设备设施的评估和优化。
(二)设施设备信息的登记和建档设备设施信息的登记和建档是供配电设备设施管理的基础。
具体流程如下:1. 对新建设备设施进行登记和建档;2. 对已有设备设施进行信息核对和更新;3. 对设备设施进行分类和编码,并建立设备设施档案。
(三)设备设施的巡视和检查设备设施的巡视和检查是保证设备设施安全可靠运行的重要环节。
具体流程如下:1. 制定巡视计划和检查标准;2. 进行设备设施的巡视和检查,记录巡视和检查结果;3. 对巡视和检查中发现的问题进行整改和处理;4. 定期对巡视和检查结果进行评估和分析。
汽车修理厂各种设备操作规程1. 引言本操作规程旨在规范汽车修理厂内各种设备的安全操作程序,确保工作人员的安全和修理工作的高效进行。
2. 设备操作安全要求- 所有工作人员必须接受相关设备操作培训,并熟悉设备的使用手册。
- 在操作设备之前,必须检查设备的工作状态是否正常,如异常情况应及时报告维修人员。
- 工作人员必须佩戴个人防护装备,包括安全帽、耳塞、眼镜等,以保障人身安全。
- 操作设备时,应保持集中注意力,不得受到外部干扰或分心。
- 禁止未经授权的人员操作设备。
3. 设备操作流程3.1 设备启动与关闭- 在启动设备之前,必须确保所有操作开关处于关闭状态。
- 按照设备使用手册的要求,逐步操作开关启动设备。
- 在操作完成后,按照设备使用手册的要求,逐步操作开关关闭设备。
3.2 设备调试与维护- 设备调试和维护必须由经过培训的专业人员进行。
- 在对设备进行调试和维护时,必须戴好个人防护装备,避免发生意外伤害。
- 设备调试和维护过程中,必须按照设备使用手册和相关操作规程进行操作,严禁擅自更改设备设置或进行非法操作。
4. 废弃设备处理- 定期对废弃设备进行检查和清理,确保其不会对工作人员和环境造成危害。
- 废弃设备应按照相关法律和规定进行处理和报废,严禁随意丢弃或销售。
5. 紧急事故处理- 在发生紧急事故时,工作人员必须立即停止设备操作,并报告主管或安全人员。
- 工作人员应按照紧急事故处理预案进行应急处理,包括疏散人员、报警等。
6. 安全培训和考核- 每位工作人员必须定期参加安全培训,熟悉设备操作规程和安全操作要求。
- 定期进行设备操作考核,确保工作人员掌握正确的操作技能和安全知识。
以上为汽车修理厂各种设备操作规程的主要内容,所有工作人员必须严格遵守,以确保工作的安全和质量。
2024年供配电设备运行规程第一章总则第一条为了规范供配电设备的运行管理,保障供电安全,提高电网运行效率,保障用户的用电需求,根据国家相关法律法规和标准,制定本规程。
第二条本规程适用于各类供配电设备的运行管理,包括电源、变电设备、配电设备等。
第三条供配电设备的运行管理应遵循安全、可靠、高效、节能的原则。
第四条供配电设备运行管理应建立健全完善的工作制度和操作规程,加强设备维护保养,提高设备的运行可靠性。
第五条供配电设备运行管理应坚持科学管理、信息化管理,运用先进的监控、调度和自动化技术,提高供电质量和用户服务水平。
第六条供配电设备运行管理应加强安全教育培训,提高操作人员的安全意识和技能水平,确保操作规程的有效执行。
第二章供配电设备的分类和级别第七条供配电设备按用途和作用分为三类:电源设备、变电设备、配电设备。
第八条供配电设备按电压等级分为五级:高压设备、中压设备、低压设备、架空线路设备、地下线路设备。
第九条供配电设备按运行环境可分为:室内设备、室外设备、户外设备。
第三章供配电设备运行管理的基本要求第十条供配电设备的运行管理应建立健全的设备档案和运行记录,包括设备的规格、型号、技术参数、检修维护记录等,确保设备的可追溯性。
第十一条供配电设备的运行管理应根据其重要性和特点,制定相应的检修计划和预防性维护计划,确保设备的安全可靠运行。
第十二条供配电设备的运行管理应建立定期的巡检、检修制度,及时发现并排除潜在故障,确保设备的正常运行。
第十三条供配电设备的运行管理应遵循节能减排的原则,加强能耗监控,优化设备运行参数,提高供电效率。
第十四条供配电设备的运行管理应建立健全的事故应急预案,加强对可能引发事故的设备进行防护和监控,及时处理设备故障,最大程度减少对用户的影响。
第十五条供配电设备的运行管理应建立健全的设备报修和故障处理流程,加强设备维修记录和技术交底,提高设备维修的效率和质量。
第十六条供配电设备的运行管理应建立健全的设备退役和更新机制,根据设备的技术状况和经济效益,合理安排设备的更新和淘汰。
第二部分业务流程图第一章安全管理科业务流程图1、安全检查业务流程图2、规程、措施审批业务流程图有问题3、安全例会会议流程图对纪要内容督促落实,并对落实情况进行考核并汇报分管领导第二章调度室业务流程图1、上级通知、通报、传真、指令等业务文件处理流程图2、清水营煤矿采煤、进尺管理流程图3、调度通知、通报、纪要业务处理流程图4、调度日报业务流程图5、调度月报业务流程图6、《清水营煤矿调度简报》业务流程图7、调度工作总结、报告、汇报材料等业务流程图9、重大生产影响业务流程图10、有害气体监控业务流程图11、重大生产影响汇报业务流程图12、重大事故抢险业务流程图13、雨季“三防”业务流程图14、调度员下井业务流程图15、调度信息登陆业务流程图16、重要汇报、请示、报告业务流程图17、生产协调会议流程图18、文明生产检查管理流程图19、物料下放管理流程图20、产量、进尺管理流程图第三章生产技术科业务流程1、规程措施管理流程图2、设计管理流程图3、矿井水情水害定期排查流程图4、地质编录与原始资料收集流程图5、测量放线流程图6、生产接续管理流程图7、开(复)停工管理流程图8、井下施焊作业流程图第四章机电动力科业务流程图2、设备计划招标业务流程图3、设备结算业务流程图4、停电(水)/送电(水)工作流程图5、双增双节工作流程图6、节能减排工作流程图第五章办公室业务流程图1、办公用品管理流程图2、业务招待流程图3、业务招待费结算、报销流程图4、来宾住宿安排流程图备注:在矿区外发生的业务招待费由矿长签字后交由办公室报销5、车辆使用流程图6、车辆维修流程图7、收文流程图8、发文流程图9、对外信息资料报送流程图10、基建工程内业资料移交流程图11、会议组织流程图12、信访接待流程图第六章组宣科业务流程图1、党委党员大会(代表大会)工作流程图2、党委中心组政治理论学习流程图3、政工例会工作流程图4、党委民主生活会工作流程图5、入党宣誓仪式工作流程图6、党支部民主生活会工作流程图。
工程部各系统设备运行管理流程單位名稱 設施設備維流程 名稱 設備運行管理 任務概要 設備管理與日常 護部 管理 任務程序、重點及標單位 節點物業工程部 設備運行管理人員 设备承包商 準A B C 1 開始23 運行管理人員負責開 機全程運行狀況檢查 密切注意設備的各個工況設備全程運行檢查 設備各部件情況 如果出現故障,確定故障的嚴重程度,如嚴重,通知承包商維保,工程部配合4 發現故障 重大故障 如果設備運行正常,則工程部人員定期檢查,維保 否 是 维修 维修5 6 定期檢查、維護改動設備書面徵詢意見 實施 如果設備管理人員對設備任何改動,應當書面征詢承包商,得到對方審批后,方可進行實施;工程部嚴格檢查檔設備非常態運行時,應與承商取得聯繫, 審批 7 89 可行性確定 專業意見 設備運行超負荷、超時等設備承包商確定其可行性,并提供專業意見,在專業指導下實施實施 定期檢查 檢查記錄 10 設備管理人員對整個系統檢查配合 11 12設備檢查完成后填寫 相關《系統檢查記錄》1 空调设备运行管理规程1)目的:确保制冷空调设备设施保持良好性能,保证空调温、湿度处于舒适范围。
2)适用范围:制冷空调设备、设施的运行管理。
3)职责:(3.1)制冷空调设备运行员负责制冷机的操作、监视和记录。
负责空调设备的操作、监视和记录。
(3.2)空调设备维修员负责设备检修,日常清洁维护。
(3.3)主管负责空调设备、设施的综合管理,对上述工作的操作、检修给予指导及检修、监督、检查。
4)制冷空调运行员工作程序:(4.1)运行人员熟知设备操作规程,按运行时间起停设备。
(4.2)按照《空调机操作规程》进行设备区域巡查,记录在设备巡视表中。
(4.3)及时调整设备,保持商场温度在适宜范围。
(4.4)巡视检查制冷机运行状态,随时检查水泵电流、冷冻水循环状况。
(4.5)做好工作交接班,接班人员提前10分钟到岗与交班人员进行现场交接工作,内容包括:(4.6)制冷机组运行情况,各冷冻水泵及辅助设备运行状况有无故障处理过程、结果。
(4.7)空调设备运行情况有无异常,设备启停状况。
(4.8)巡查记录应完整,交接班记录清楚,并及时转达上级指令不得延误。
(4.9)公用工具、仪器、钥匙当面点清,损坏情况记录在交接本上。
(4.10)每班交班前应做好机房清洁,消防设备完整有序。
5)制冷空调维修员工作程序:(5.1)按保养计划进行维护保养。
(5.2)每月定期清扫空调机房。
(5.3)制冷机运行工作中,应协助运行人员检查冷却塔设备冷却水量、水质,发现问题及时处理。
(5.4)(5.5)(5.6)(5.7)(5.8)(5.9)完成空调设施的维护、检修工作,保证其功能正常。
对设备定期更换的配件及时统计整理,呈交工程主管。
制冷机、空调机设备由运行员负责操作。
运行中出现停电等异常情况应及时采取应急措施。
严禁吸烟,保证机房安全、干净和整洁。
运行人员应依据气温变化及时调节空调负荷。
(5.10)保持机房照明及机房通风,保证设备和人员工作安全。
(5.11)运行人员不得脱岗,确保设备运行有人监护。
2空调运行巡视制度接班查看交班记录,了解设备运行状况。
1)接班后巡视冷冻机房、冷水泵房、热力站等设备。
2)制冷机各运行水泵每二小时记巡视记录。
3)各栋新风机、排风机、膨胀水箱每班次巡视二次。
4)巡视发现问题及时解决,相应调整。
5)巡视项目:(5.1)新风机:供回水压力、供回水温度、新风阀状态、电动阀状态、进出风温差、风机皮带。
(5.2)各栋膨胀水箱、水位。
(5.3)排风机运行状况。
(5.4)冷却塔:风扇、补水、电加热状况。
(5.5)交班巡视处理的工作、设备情况,与接班人员要有文字说明并签字。
(5.6)当班出现问题记录,并说明原因。
3制冷机组开停程序1)2)3)开机前检查冷冻水泵、冷却水泵是否自动、手动。
检查冷却塔处于运行或自动状态。
检查制冷机主控制柜是否送电。
4)制冷机油位必须在低视位镜上可见或超过1/2位置。
5)油温应保持在(60℃~64℃)。
6)7)8)9)启动冷冻水泵、观察冷冻水温度变化、压力值。
油泵开启检查、油温、油压不低于设定值。
开启冷却水泵,观察冷却水温、压力值。
开启冷却塔风扇。
启动主机检查导叶行程、油压、蒸发温度、蒸发压力、冷凝压力、冷凝温度、电流、温差。
10)记录主机运行状态,油温应保持在(43℃~48℃)。
冷却水温应在(27℃~32℃),根据室外气温调整出水温度。
11)停机程序:按停机按钮减负荷停机,停冷却塔风扇,冷却水泵、冷冻水泵,油泵后润滑停机,记录停机时间。
相关表格表4《空调设备巡检表》表6《年度保养计划表》4给排水设备运行管理规程1)目的:确保大厦范围内服务,卫生设施用自来水、热水及中水供应满足服务要求,排水设施正常通畅,及时修复设备故障。
2)适用范围:适用于大厦给水、排水设备和用水设施的维护管理。
3)术语:给排水是指输送和调节水量、水质的设备及使用后水的排放设备。
4)职责:值班员负责给排水设备的操作、监控、记录及异常报告,并协助维修人员的工作。
维修人员负责给排水设施维护和维修,负责日常机械设备的维护工作。
给排水主管负责给排水设备、设施、机械设备设施的综合管理及上述工作的检查监督。
负责每月自来水、热水、中水的能源统计报告工作,消防,喷淋及水设备、软化水设备的检查工作。
5)值班员工作程序(5.1)值班员按照《设备巡查规程》定时巡查设备,负责24小时运行的操作、监控、记录、水质化验检查。
将设备运行状况和异常问题记录于《交接班记录本》(5.2)设备机房每周清扫一次卫生,设备每月清洁一次。
设备、地面、墙壁无积尘、水渍、油渍。
(5.3)及时完成报修单工作,日维修不压单、甩单,保证维修质量和数量的完成。
(5.4)值班员、化验员按时、按期进行水质化验,将化验结果记录在《交接班记录本》上,并将化验单上报工程部。
6)维修员工作程序按《给排水设备维修保养规程》要求进行维修保养。
并记录于《设备维修表》《储水箱清洗、消毒记录表》。
7)主管职责:(7.1)负责给排水设备、设施的综合管理,包括技术资料,档案收集、保管。
负责设备配件材料的采购计划的编制工作。
(7.2)对给排水设备设施维护、保养提供工作指导及监督检查工作。
(7.3)定期将计量用压力表、流量表更换下来集中送检。
(7.4)每年12月制定下一年度设备检修计划,编制《给排水设备计划检修表》,并按运行情况制定相应的大修计划。
(7.5)绘制上年度大厦用水曲线图,上报工程部。
8)工程部经理职责:(8.1)每月最后一个星期组织有关人员对给排水设备设施及维修工作进行一次检评。
(8.2)审核《水泵设备计划检修表》《储水箱清洗消毒记录表》及大修计划。
9)设备间管理工作程序:(9.1)非工作人员进入设备间需经给排水主管或工程部经理批准后,由本专业人员陪同,方可进入。
(9.2)设备间的机电设备由值班员负责操作,其他人不得擅自操作。
(9.3)控制柜转换开关,无特殊情况下应打在“自动”位置。
连续运转的泵类设备每隔15天轮换使用。
(9.4)保持设备间良好的照明、通风、门、锁开启要灵活,无破损。
(9.5)不得擅自改动设备的线路、器材,若需改动,须经上级领导同意后,方可进行。
(9.6)使用器具工具,材料等应码放整齐,保持房间干净、整齐,无积尘,消防设施要安全可靠,做好挥发腐蚀物品的存放保管。
10、停水管理工作程序:因维修等原因停水,应由给排水主管报告工程部经理,经理批准后转呈大厦领导,经过获准和相应部门经理会签,并提前24小时发函通知。
应得到大厦值班经理的调度许可再实施。
对突发的故障(事故)停机应立即报告工程值班室大厦值班经理(夜间)。
并联络有关部门协助处理,并在恢复供水后30分钟内报告给工程部经理,大厦值班经理和有关部门。
11、季节防护措施:(11.1)夏季前清除各部位排水沟地漏和杂物,保持排水通畅,同时在车库坡道出入口处预备沙袋等防汛措施。
(11.2)冬季前检查各供水管道的保温,并修补破损处,保持保温层完整,需防冻池水的部位,要提前做好准备。
5给排水设备、设施操作规程1)2)3)4)5)目的给排水设备、设施保持性能稳定,运行正常。
适用范围给排水设备、设施的操作。
术语指专用设备固有的特性和作用功能。
职责值班员负责给排水设备的操作、巡查、记录和异常情况的报告。
给水设备操作规程(5.1)检查水箱水位、电源开关、水阀位置。
(5.2)开启进水阀,关闭泄水阀。
(5.3)水泵控制开关,转到“手动”位置。
(5.4)按控制柜上“启动”按钮(水泵开始运转)。
(5.5)缓慢打开出水阀门观察压力表指旬上升位置。
(5.6)压力表指针低于 0.4MPA 时,将压水阀门关水,噪声将下降。
(5.7)指针上升超过 0.4MPA 时,再慢开泄水阀,噪声继续下降。
(5.8)指针在 0.8MPA 时,可将压水阀门全部打开。
(5.9)按控制柜“停止”按钮(水泵停止运转)。
(5.10)将水泵控制开关转到“自动”位置,水泵投入自动运行状态。
6) 排水设备(潜水泵)操作程序(6.1)手动操作控制箱转换开关拨到“手动”位置(6.2)自动运行按“启动按钮水 按“停止”按钮 泵运转 水泵停止运转将潜水泵控制箱转换开关,拨到“自动”位置,潜水泵投入自动运转状态。
6给排水设备巡查规程及线路图1) 2) 3) 4) 目的保证给排水设备、设施的运行正常,所有设备在受控状态。
适用范围名品城各部位给排水设备、设施。
职责值班员负责按规定时间、内容对设备的运行状况进行检查、调整和记录。
工作程序(4.1) 巡视要求(4.1.1)(4.1.2)水泵运转声音,泵体温度,电机温度均处在设备说明的范围之内。
水位,水压,仪表指示在控制和要求数值位置上。
(4.1.3)水泵运行的控制开关,档位,选择位置处在正确和正常指示上,电源箱内电器无噪声、电流、频率,电压指示在正常位置上,指示灯显示正常。
(4.1.4)(4.1.5)水箱、水池水位在受控范围,周围环境无滴、漏现象。
生活水箱检查口锁具要完好可靠,无任何异常现象。
(4.1.6)消防、喷淋供水泵状态检查,水压是否正常,电源指示灯显示,消防水池水量充足。
(4.1.7)室外消防栓、消防喷淋水泵结合器周围环境有无改变或异常状况。
(4.1.8)巡视时间:每天6:00,8:00,10:00,12:00,14:00,16:00,18:00,20:00 22:00,24:00,2:00,4:00(4.1.9)以上项目需要每日进行。
7水泵房运行管理制度1)水泵房及储水池,消防系统全部机电设备由工程部人员负责监控,定期保养、维修、安排清理及定期进行操作记录,遇解决不了的问题应书面报工程主任处理。
2)泵房内机电设备操作均由工程部人员负责,其他人员不得操作,无关人员一概不得进入泵房。