无绳电话原理图
- 格式:pdf
- 大小:154.42 KB
- 文档页数:1
天时达HW833(4)P/TSD-LCD型无绳电话原理与维修图说之四1.接收和可编程锁相环及语言压缩扩展电路该电路由DUP双工滤波器、VT1高放管、ICV1(T31224)复合集成电路相关元件构成。
手机射频电路如图所示。
(1)天线输入及高放电路主机发出的已调制信号f=[45.25+0.0025(X-1)MHz (X=1、2…10)。
由手机ANT1天线接收→L9→DUP双工滤波器ANT端,滤波分离后从RX端输出→C1电容耦合→VT1放大后的高频信号经T1选频→C3电容→ICU1的40脚内第一混频电路。
(2)第一本振电路该电路由ICU1的44、43脚及T2第组成,其振荡频率受微电脑ICU3的19~21脚输出经ICU1 8、6、7脚进入的锁相环编程信号的控制。
该信号经对IC内的发射计数器、接收计数器、参考计数器、辅助参考计数器进行编程处理后从46脚输出→C13、R5、C12、C11、R4积分(低通滤波)→ICU1的42脚内本振变容二极管负极,这一变化的电压使变容二极管结电容发生变化,以使本振频率得到改变。
T2和9为第一本振谐振回路元件,本振电路产生的信号也送给第一混频电路。
(3)第一混频电路在第一混频电路中,本振信号与高频信号进行混频,得到的10.7MHz第一中频信号从38脚输出→CF1陶瓷滤波器滤波→C10电容耦合→ICU1的36脚进入IC内第二混频电路。
(4)第二本振电路ICU1 3、4脚及C41、X1、VC1、C43、C42组成了第二本振电路,本振频率为10.245MHz,由X1晶振频率确定,产生的振荡信号加到第二混频电路。
(5)第二混频电路第一中频与第二本振信号在第二混频电路中进行二次混频,差拍出的455kHz第二中频信号从34脚输出,经CF2滤波后从32脚又进入集成电路内。
(6)中放及鉴频电路从32脚输入的信号经中频限幅放大、鉴频、解调出的复合信号(含语音信号、密码校验、变换信道、振铃信号)从27脚输出,经R10电阻后分为两路。
几款无线话筒电路来源:滕州科苑电子作者:未知字号:[大中小]编者按:本文较详尽地介绍了颇有代表性的几款业余情况下容易制作成功的88~108MHz调频广播范围内的小功率发射电路,其中有简易的单管发射电路,也有采用集成电路的立体声发射电路。
主要用于调频无线耳机、电话无线录音转发、遥控、无线报警、监听、数据传输及校园调频广播等。
单声道调频发射电路图1是较为经典的1.5km单管调频发射机电路。
电路中的关键元件是发射三极管,多采用D40,D5O,2N3866等。
工作电流为60--80mA。
但以上三极管难以购到,且价格较高,假货较多。
笔者选用其他三极管实验,相对易购的三极管C2053和C1970是相当不错的,实际视距通信距离大于1.5km。
笔者也曾将D40管换成普通三极管8050,工作电流有60--80mA,但发射距离达不到1.5km,若改换成9018等,工作电流更小,发射距离也更短,电路中除了发射三极管以外;线圈L1和电容C3的参数选择较重要,若选择不当会不起振或工作频率超出88--108MHz范围。
其中L1,L2可用0.31mm的漆包线在3.5mm左右的圆棒上单层平绕5匝及10匝,C3选用5-20pF的瓷介或涤纶可调电容。
实际制作时,电容C5可省略,L2上也可换成10-100mH的普通电感线圈。
若发射距离只要几十米,那么可将电池电压选择为1.5-3V,并将D40管换成廉价的9018等,耗电会更少,也可参考《电子报》2000年第8期第五版(简易远距离无线调频传声器)一文后稍作改动。
图1介绍的单管发射机具有电路简单,输出功率大,制作容易的特点,但是不便接高频电缆将射频信号送至室外的发射天线,一般是将0.7--0.9m的拉杆天线直接连在C5上作发射的,由于多普勒效应,人在天线附近移动时,频漂现象很严重,使本来收音正常的接收机声音失真或无声。
若将本发射机作无线话筒使用,手捏天线时,频漂有多严重就可想而知了。
图2为2km调频发射机电路。
无绳电话工作原理无绳电话是现代生活众多的小奇迹之一,借助无绳电话,您可以一边接听电话, 一边在室内或院子里随意走动。
远在手机价格降到任何人都能购买的时候以前, 无绳电话就已经可以让大家在自己家中不受干扰地边走边聊了。
无绳电话具有很多标准电话的功能,市场上有很多型号可供选择。
在本文中,我 们要介绍无绳电话的工作原理,同时分析为什么当今市场上有这么多不同的机 型。
无绳电话基本上就是电话和无线电收发器相结合的产物。
无绳电话主要有两部 分:座机和手持机。
座机通过标准的电话线接头连接到电话插孔。
就电话系统而言, 座机部分就类似 于一部普通的电话。
座机通过电话线接收拨入的呼叫(以电信号形式) ,将其转 换为调频无线电信号,再传播该信号。
手持机收到来自座机的无线电信号后, 会将其转换为电信号并将该信号发送给扬 声器,接着由扬声器将该信号转换为您听到的声音。
当您说话时,手持机会将您 的声音通过另一个调频无线电信号传播回座机;座机在收到您的语音信号后, 会 将其转换为电信号并通过电话线将该信号发送给对方。
座机和手持机采用的频率对允许您同时应答和接听电话, 这种频率对称为双工频 率。
无绳电话座机和手持机之间通信图示:每种颜色代表一个频率。
无绳电话首次出现于 1980 年前后。
最早的无绳电话的工作频率为 27MHz。
这些 无绳电话存在下列问题: 范围有限UnRegistered包括手持机和座机的 GE 无绳电话 我们在前面提到, 所有无绳电话都有一个座机和一个手持机。
下面让我们来分别 研究这两部分。
座机UnRegistere声音质量差——由于墙壁和家电对信号的干扰,导致噪音大,静电干扰大 安全性差——由于信道数量有限,人们很容易截获来自其他无绳电话的信号 1986 年,美国联邦通信委员会(FCC)允许将 47-49MHz 的频段提供给无绳电话 使用,这不仅改善了它们的信号干扰问题,还降低了耗电量。
但是,这些电话的 工作距离仍然有限,声音质量依然很差。
结构设计⼿册---⽆绳电话机室内⽆绳电话机结构设计指引(Design Guide Line)--- Revision 2 ---1999年 10⽉序⾔“室内⽆绳电话机结构设计指引”(DesignGuideLine)是1998年由TEL/DE(M)⼯程师集体编写,经过⼀年来的实践,吸取了许多⼯程师的经验,特别是Canada 机械部及HongKongR&D的意见,我们对其进⾏了修改、补充,⼒求完善。
本DesignGuideLine的撰写,旨在总结我们多年来⽆绳电话机的设计经验,重点阐述本公司对于机械结构设计的要求,避免不同的⼯程师在设计时,以前的错误,以后⼜重复出现。
使设计更加规范化、标准化,利于进⼀步提⾼产品质量,利于⽣产的顺利进⾏。
本⽂供TEL/DE(M)⼯程师设计时参考,也可供本公司内部其他⼯程师参阅。
本⽂的撰写,旨在抛砖引⽟,我们将不断地总结设计经验,完善DesignGuideLine,使我们的机械设计做得更好。
⽬录第⼀章Handset(⼿机)Structure&Assembly (4---11)⼀、外形设计---LineDrawing的确定⼆、结构设计---AssemblyDrawing的确定1、设计的⼀般规则2、零件结构设计2.1、CaseFront2.2、CaseRear2.3、BatteryDoor2.4、Lens2.5、LightGuide2.6、VolumeRubberKey2.7、SlideSwitch2.8、ChargeContact2.9、Buzzer和MicHolder2.10、BeltClip2.11、JackCover2.12、Antenna及附件第⼆章BaseUnit(座机)Structure&Assembly (12----20)⼀、外形设计---LineDrawing的确定⼆、零件结构设计1、Basetop上的Cradle设计2、电池仓设计3、Key及Keypad的设计4、喇叭位的设计5、天线结构设计6、LightGuide设计7、ChargeContact设计8、WallMount设计9、Base细节设计10、PUFoot10、排线设计第三章PlasticPartStructureDesign (21---26)⼀、孔结构⼆、柱结构三、⾻位结构四、壁厚设计第四章RubberKeypadDesign (27---29)⼀、设计参数⼆、结构设计1、Key的结构设计2、与胶件配合的结构设计3、Keypad设计的其它⼀些要点第五章MetalPartDesign (30---32)⼀、材料1、P-bronzewithCu-NiPlating2、NickelSilver3、CRS和Galvanizedsteel4、Brass⼆、充电⽚设计要注意的问题三、性能测试第⼀章Handset(⼿机)Structure&AssemblyHandset的装配设计由彩⾊效果图(Rendering)开始,可以从外形及结构两⽅⾯交叉进⾏。
普通固定有绳电话的无绳改装所在院校:浙江海洋学院指导老师:鲁晓东研制者:姚琦李琛所在班级:A02计算机(1)班目录摘要 (3)关键词 (3)一、引言 (3)二、设计目的 (3)三、设计原理 (4)四、电路调试与实验验证 (7)摘要:随着人们生活水平的提高人们对生活细节的要求越来越高,电话的作为人们使用最多的通信工具当然也必须不断地发展以满足人们的要求。
无绳电话的出现正是顺应了这一要求,但是由于其价格上的原因还不能大规模的代替原有的普通固定电话。
普通固定被广泛存在于家庭、单位,如果能够在现有普通固定电话的基础上加装外界设备,是其具有无绳电话的通信能力,将会大有市场。
正是本着以上思路,通过资料的收集研究我们认为改装在理论是完全可行的。
关键词:固定电话无绳无线接收无线发射现有改装一、引言无绳电话包括主机和副机两大部分,主机一般有接口、调制、高频放大、接收、解调、低频放大、控制部分及呼叫电路等组成。
如果主机具有拨号功能,则还有拨号电路部分;副机通常有调谐、中放、解调、低放、振铃、拨号、控制、调制及高频放大等组成。
在通过了解普通有绳电话的构造,发现其基本结构和有绳电话是一致的,只有在语音通话传输介质方面有所不同。
我们将在保持有绳电话原有功能的基础上,添加一定的设备,将其改造为无绳电话。
现将听筒和话筒部分改造为无绳电话的副机,而将剩余的部分改造为主机。
二、设计目的在现有普通固定电话的基础上加装无线电收发设备使其具有无绳通话的功能。
三、设计原理主机的改造要改造主机就必须在原有主机设备中添加调制电路、高频放大电路、接受及解调电路。
调制电路:无绳电话中的调制电路,多采用变容二极管直接调频电路。
这种调制形式具有结构简单,容易获得较大的频偏,在频偏不大的情况下,非线性失真很小,调制原理见图(1)。
图中的可变电抗一般由变容二极管担任。
直接调频方式是用调频信号去控制振荡器的工作状态,通过改变振荡器的频率,从而产生调频信号。
1 实验一 移动通信系统组成及功能一、实验目的1.了解移动通信系统的组成。
2.了解移动通信系统的基本功能。
3.了解基带话音的基本特点。
二、实验内容1.按网络结构连接各设备,构成移动通信实验系统。
2.完成有线→有线、有线→无线及无线→有线呼叫接续,观察呼叫接续过程,熟悉移动通信系统的基本功能。
3.用双路无线综合测试仪(以下简称综测仪)及示波器观测空中传输的话音波形。
三、基本原理图1-1是与公用电话网(PSTN)相连的移动电话网方框图。
各模块之间的信道,包括MS--BS 的无线信道,到BS--MSC 、MSC--EX 、EX--TEL 的有线信道都包含信令通道及话音通道。
各段信令通道互连,逐段传输、转发信令,才能完成一次呼叫接续,最后在主、被呼用户间分配,建立一条逐段互连而成的话务信道,实现双方通话(以传输话音为例,亦可传数据等信息)。
TACS 模拟蜂窝移动通信系统移动台主呼接续过程如图1-2所示。
GSM 数字蜂窝移动通信系统的呼叫接续虽然复杂一些,但总体上是类似的。
图1-1 移动通信系统方框图这样庞大复杂的系统无法放在实验桌上由同学自己动手做实验。
将系统合理简化得到图1-3,它与图1-1实际系统在上述系统网络结构及功能等基本特征方面是完全一样的。
常用的移动通信系统主要有四类:蜂窝移动通信系统、集群移动通信系统、无绳电话系统及无线寻呼系统,它们的功能及应用场合各不相同,但它们的基本原理及技术是相同的。
移动通信的多址方式主要有FDMA 、TDMA 、CDMA 三大类。
FDMA 系统一般为模拟移动通信制式,TDMA 及CDMA 为数字移动通信制式。
FDMA 发展早,已成功应用于各种移动通信系统多年,目前在一些领域仍在广泛应用。
数字移动通信是在模拟移动通信基础上发展、演化而来的,在网络组成、设备配置、系统功能和工作方式上二者都有许多相同之处。
图1-2 TACS蜂窝移动通信系统移动台主呼接续过程图1-3 简化的移动通信系统方框图基于上述原因,为了得到体积小巧、价格低廉、可放在实验桌上由学生动手操作的移动通信教学实验系统。
调频无线话筒发射电路分析小功率语音调频发射电路广泛应用于无线话筒(无线麦克风)、无线教学扩声器、无绳电话及对讲机等设备。
专业调频无线话筒发射器电路具有一定的代表性,它综合了本模块各单元电路知识,通过学习掌握调频发射基本组成与原理。
无线话筒因摆脱了传输电缆的束服,使用灵活方便而被广泛采用。
其基本组成框图如图2-3-14所示,实物如图2-3-15所示。
图2-3-14 一种调频无线话筒发射电路组成框图图2-3-15 调频无线话筒发射器由于调频占用频带较宽,国内典型的调频无线话筒工作频率常选在甚高频VHF频段的169-260MHz和特高频UHF频段690-960MHz上。
这里介绍的无线话筒工作在甚高频VHF的180-260MHz。
下面结合附录调频无线话筒电原理图分析图2-3-14中各部分的作用:1.音频放大部分话筒音频放大选用MC358集成运放,因领夹话筒线也作发射天线,L1、L2为隔离高频信号的电感,对音频信号感抗较小可视为短路,C1为预加重电容,进行高频提升。
2.压缩电路压缩扩展是一种依靠“掩蔽”效应来提高无线系统信噪比的双重音频处理过程。
它由DBL5020专用信号处理IC电路实现音频信号的压缩,压缩比率为2:1,在接收机中的扩展器以1:2的反比率放大以恢复音频信号的原始动态。
压缩扩展电路用于提高无线话筒系统的信噪比。
3.音码电路在无线话筒发射音频信号的同时,加入一个听不见的32KHz超声波导频信号。
由32kHz晶体Y2和MC358集成运放组成超声波振荡器。
接收机中的静噪电路能识别这个导频信号,接收机只有在检测到这个导频信号时才输出音频,从而有效的防止来自其他发射器的无用信号、噪声以及来自无线话筒电源通断时产生的射频噪声。
业界常称此导频信号为音码。
4.锁相环压控振荡调频电路无线话筒要保证在温度、湿度、供电电压、振动、冲击等各种环境因素变化下稳定工作和获得良好的音质,发射机的载波频率稳定度是最重要的基本条件。
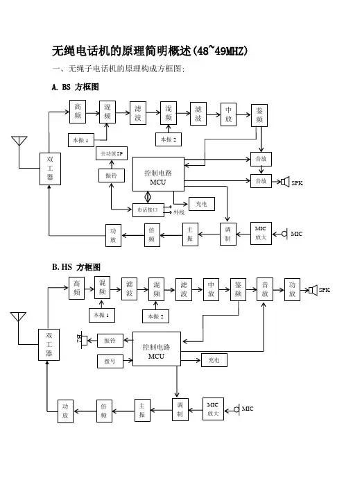
无绳电话机的原理简明概述(48~49MHZ)一、无绳子电话机的原理构成方框图; A. BS 方框图B. HS 方框图SPKMICSPK二、无绳电话话概念有解释1.陶瓷滤波器是利用陶瓷材料的压电效应原理制成的,混频输出后。
中频放大器前。
2.鉴频:将调频信号变换成音频信号。
鉴频电路主要由两部分组成:一部分是频率振幅变换器,其作用是把调频波变换成调幅波;另一部分是线性检波器。
它的作用是把调幅信号变成所需要的低频信号。
3.选频放大电路:是从各种混合的频率信号中选择出某个特定频频率信号的电路。
4.什么是导频?它是一种处于音频段中的高频段上(如5.6KHZ)的信号,通过它。
可将副机的摘/挂机信号和脉冲拨号信号“携带”到主机,再由主机控制电路执行相应制功能。
5.脉冲拨号:是按一定的断/续比和速度来断续电话机的环路而发出的拨号信号。
6.双音多频拨号:它又称双音频拨号,是指用两个特定的单音频信号的组合来代表数字或功能。
7.频偏:是指已调射频信号的瞬时频率和载频的最大差值。
8.调制:是将音频信号“附加”到高频振荡波上,利用该音频信号来控制高频振荡的某一参数(如:振幅、频率或相位)使这参数随信号的变化而变化。
9. 调频:是载波的频率随音频信号的变化而变化。
10. 解调:是指以已调波中取出音频调制信号的过程。
11.倍频电路:是一种使输出信号频率等于输入信号频率整数倍的电路。
三、无绳电话机原理及分析输出1.锁相环电路的基本工作原理:当压控振荡器的频率fv由于某种原因而变化时,产生相应的相位)相比较,使鉴相器变化,这个相位的变化在鉴相器中与参考晶体振荡器的稳定相位(频率为ƒR输出一个与相位误差成比例的误差电压Ud(t),经过低通滤波器,取出其中缓慢变动的直流电压分量Uo(t),Uc(t)用来控制压控振荡器中的压控元件数值(通常是变容二极管的电容量)作相应变化,而这压控元件又是VCO振荡器回路的组成部分,结果压控元件数值的变化将VCO的输出频率fv又拉回到稳定值上来。
数字无绳NS CRK方案子母机座机原理分析和作用说明一、电路方框图3、U302是开关IC,它和R310、R311、C321、C320、D310、L302、R303、R304、C322、C309、C308组成降压稳压电路;输出电压计算:VC(输出电压)=1.25V(1+R304/R303);R310是限流电阻,决定输出电流;L302在这里起续流作用;VC电压主要给录音IC9316、座机背光灯电路和真人唱歌IC U502供电。
4、D305、D306、D307、D308是降压和隔离二极管,VRF 3.3V给BASEBAND供电,VRF电压不能超过3.4V;VC 4.1V主要给模拟电路和夜光电路供电;VB 3.8V也是给模拟电路供电;Vmcu-2201 3.1V是给有绳控制芯片供电;VMCU-805C 3.1V是给对讲和录音控制芯片供电;C310、C314、C313、C311是滤波电容。
5、Q302、R302、Z302、C307、C323组成稳压电路,它是当火牛不能供电,由电话线供电时稳压滤波后再供给后3、R315、Q306组成充电控制电路(用方波控制以告诉手机不响铃声),这个控制是用来识别手机是否在充电座上,当识别到手机放在充电座上时该手机是不响铃的。
4、R316、C316、R317、D311、Q307组成充电检测电路,当手机放在充电座上时CH_DET就出低,这样BASEBAND就知道有手机在充电,然后再通过CH_CRL出方波以控制手机不响铃,R317、D311起到固定电压的作用。
三、铃声电路1、极性保护、降噪电路2、VR101是第一级防雷管,VR102是第二级防雷管,采用的是压敏电阻防雷。
3、C101、C102是EMC电容,防止电话线的EMC干扰,以免本机受到干扰。
4、C136、C137、R175、RING_BS、TIP_BS是座机、手机的CID从电话线的耦合输入口。
5、R214、R215、Q202、R216、RDET_BB是手机铃声检测输入,调节R214可以改变手机铃声启动灵敏度。
數字無繩電話基本原理(DECT)DECT工作原理簡介:DECT(Digital Enhanced Cordless Telecommunications)----歐洲數字無繩電信系統,也叫數字增強型無繩電信系統。
DECT---其工作頻段為1.88GHz—1.9GHz。
採用TDMA(Time Division Multiple Access)/TDD(Time Division Duplex)技術。
其幀長為10ms,每幀雙工信導數為12,時隙數24,總數據速率為1152KB/S,載波間隙為1.728MHz,語音編碼速率為32KB/S,最大載波數為12,每小區總信導數為132。
DECT在整個工作頻段20MHz上劃分為10個1.728MHz的間隔載頻。
每個載頻有12個信導,共有120個信導。
其射頻傳輸速率為1.152KB/S,幀長為10ms.每個終端機在一幀中收發各占417us,每個時隙中包含32bit同步,64bit字同步,324bit資訊和51us保護時間。
DECT的系統分層結構:1.PHL(物理層):用於用戶數據和信令的公共層;2.MAC(介質訪問控制層);以上兩層主要負責無線資源分配和用戶數據與信令的多路交換。
3.DLC(數據鏈路):確保即使在切換時,也能完成可靠鏈接4.NL(網絡層):負責呼叫路由選擇。
5.管理層:負責監視四個底層協儀,並對切換過程進行管理。
LLMC---底層管理機構PHL---物理層NWK---網絡層PLC---負責對頻譜資源進行管理。
MAC---負責管理:1.無線信導建立和監視;2.出錯控制資訊的多路交換;3.提供可靠數據的點到點連接。
DLC---負責可靠數據鏈路的維護。
在DECT系統中,無線基站是由RFP(無線固定部件)和移動終端PP(便攜部組成)。
一個DECT網絡可以互連到更大的網絡中去。
如PSTN,ISDN,X25,GSM等。
屬於同一個系統的RFP必須實現位同步,時隙同步,幀同步以及多幀同步。