银行存取款业务流程图1
- 格式:doc
- 大小:37.00 KB
- 文档页数:1
第一章个人活期存款业务操作规程功能描述个人活期存款是一种不限存期, 无需任何事先通知,客户可以随时存取和转账、存取金额不限的比较灵活的存款方式, 起存金额一元。
制度规定基本规定1.个人活期存款账户分为个人活期储蓄账户和个人银行结算账户。
根据《人民币银行结算账户管理办法》、《中国人民银行关于改进个人支付结算服务的通知》的相关规定: 简化个人活期储蓄账户转为个人银行结算账户的手续, 扩展个人活期储蓄账户的功能。
客户通过个人活期储蓄账户办理第一笔转账支付业务时, 在相关凭证上的签章即为确认将该账户转为个人银行结算账户。
系统在个人活期储蓄账户办理第一笔转账付款业务时, 自动将个人活期储蓄账户修改为个人银行结算账户。
个人活期存款在存期内遇有利率调整, 不分段计息, 按结息日挂牌公告的个人活期存款利率计息, 销户按当日挂牌公告的个人活期存款利率计付利息。
个人活期存款按季结息, 每季末月的20日为计息日, 利率以当日挂牌公告的个人活期存款利率计算。
特别说明1.个人活期存款包括“1000-个人活期、1013-个人活期保证金、1100-个人活期存单”。
本节只介绍“1000-个人活期”。
业务流程图1.个人活期开户1.1. 功能描述本交易主要实现“1000-个人活期”的开户。
支持以一本通存折为介质进行开户。
包含交易: 【1052个人账户开户】。
银行卡活期账户的开立详见银行卡模块。
1.2业务流程1.2.1个人活期开户流程图4是否复核授权6客户签字确认7加盖印章8.最终确认并交于客户客户 综合柜员 授权员账户管理员2审核3启动开户交易5提交、打印9.是否个人结算4复核授权12整理归档11启动账户管理系统NYYN1.申请10.整理1.2.2业务流程描述1.3表单记录记录一: 个人账户开户及综合服务申请表记录二: 个人业务交易单记录三: 大额登记簿(每日打印)1.4触发复核授权条件:1.【1052个人账户开户】资金来源为现金时, 当日开户20万元(含)以上需授权。
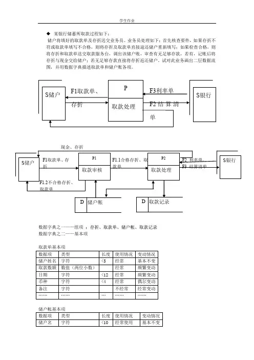
某银行储蓄所取款过程如下:
储户将填好的取款单及存折送交业务员。
业务员处理如下:首先核查要件,如果存折不符或取款单填写不合格,则将存折及取款单直接退还储户重新填写;如果检查合格,则将存折和取款单送交取款服务台,调出该储户账,审查有无足够存款,若有,记账后将存折与现金交给储户;若无足够存款直接将存折返还储户。
试对此业务画出二层数据流图,并用数据字典描述取款单和储户账各项。
数据字典之一——组项:存折、取款单、储户帐、取款记录
数据字典之二——基本项
取款单基本项
银行存折数据字典(基本项)
存折=户名+所号+帐号+开户日+性质+(印密)+1{存取行}50
户名=2{字母}24
所号=“001”…“999”注:储蓄所编码,规定三位数字
帐号=“00000001” (99999999)
开户日=年+月+日
性质=“1”…“6”注:“1”表示普通户,“5”表示工资户等
印密=“0”注:印密在存折上不显示
存取行=日期+(摘要)+支出+存入+余额+操作+复核
年=“00” (99)
月=“01” (12)
日=“01” (31)
摘要=1{字母}4
支出=金额
金额=“0000000.01”…“9999999.99”
操作=“00001” (99999)
某工厂成品库管理的业务过程如下:
成品库保管员按车间送来的入库单登记库存台账。
发货时,发货员根据销售科送来的发货通知单将成品出库,并发货,同时填写三份出库单,其中一份交给成品库保管员,由他按此出库单登记库存台账,出库单的另外两联分别送销售科和会计科。
试按以上业务过程画出数据流程图。
2019-银行存取款步骤word版本
本文部分内容来自网络整理,本司不为其真实性负责,如有异议或侵权请及时联系,本司将立即删除!
== 本文为word格式,下载后可方便编辑和修改! ==
银行存取款步骤
篇一:银行存取款业务流程图
银行取款业务流程图
银行取款数据流程图
篇二:银行存取款业务流程图1
银行存款业务流程图
银行取款业务流程图
篇三:银行存取款业务流程图
管理信息系统
业务流程图
姓名:周文鑫
学号: 082545208
班
级:工管六班日期: 201X-10-20
银行存款业务流程图
银行取款业务流程图
银行存款数据流程图
银行取款数据流程图
篇四:银行储蓄存取款过程。
银行工作中的存款和取款操作流程解析银行作为金融系统的重要组成部分,承担着为社会提供金融服务的重要职责。
其中,存款和取款是银行工作中最基础、最常见的操作流程之一。
本文将对银行工作中的存款和取款操作流程进行解析,以帮助读者更好地了解银行的运作方式。
一、存款操作流程存款是指将现金或其他有价证券存入银行账户中,以便储蓄或进行其他金融交易。
存款操作流程如下:1. 客户到达银行柜台或自助服务设备,向工作人员提出存款需求。
2. 工作人员核实客户身份,通常要求客户出示有效证件(如身份证、护照等)。
3. 客户将要存入的现金或有价证券递交给工作人员。
4. 工作人员对存款金额进行核对,并记录在存款凭证上。
同时,工作人员会向客户确认账户信息,确保存款进入正确的账户。
5. 存款凭证上会标明存款日期、时间和柜台号码等信息,以便后续查询和核对。
6. 客户收到存款凭证后,确认无误后离开银行。
7. 银行工作人员将存款凭证和现金或有价证券存入安全的储存设备中,同时将存款记录在客户的账户上。
8. 存款成功后,客户可以通过银行提供的电子渠道或柜台查询账户余额,以确认存款已经到账。
二、取款操作流程取款是指客户根据需要从银行账户中提取现金或进行其他金融交易的行为。
取款操作流程如下:1. 客户到达银行柜台或自助服务设备,向工作人员提出取款需求。
2. 工作人员核实客户身份,通常要求客户出示有效证件(如身份证、护照等)。
3. 客户向工作人员提供取款金额和账户信息。
4. 工作人员核对账户信息,并确认账户余额是否足够支持取款。
5. 工作人员将取款金额递交给客户,并要求客户在取款凭证上签字确认。
6. 取款凭证上会标明取款日期、时间和柜台号码等信息,以便后续查询和核对。
7. 客户收到取款凭证后,确认无误后离开银行。
8. 银行工作人员将取款凭证保留作为记录,并从客户的账户中扣除相应金额。
9. 客户可以通过银行提供的电子渠道或柜台查询账户余额,以确认取款已经成功。
个人定活两便存款业务操作规程功能描述个人定活两便存款是定期储蓄的一种,指储户存款时不约定存款期限,可随时到银行支取,利率随存期长短而变化,兼有定期和活期两种性质的一种储蓄存款。
五十元起存,多存不限。
制度规定基本规定1.存期超过整存整取最低档次且在一年以内的,分别按同档次整存整取利率打六折计息。
2.存期超过一年(含一年)的,一律按一年期整存整取利率打六折计息。
3.存期低于整存整取最低档次的,按活期利率计息。
4.定活两便只能一次销户,不能分次支取。
业务流程图1.定活两便开户1.1.功能描述1052个人账户开户1083卡内转开定期是否定期一本通1077一本通销折1078个人存款销户是本组交易主要实现个人定活两便储蓄存款的开户。
支持以一本通存折、银行卡、普通存单为介质开立账户。
包含交易:【1052个人账户开户】、【1083卡内转开定期】。
1.2. 业务流程 1.2.1业务流程图1.2.2业务流程描述 步骤操作环节操作描述操作要点 风险点1 申请 1.申请新的一本通存折、普通存单开立账户的:提交开户人有效身份证件原件及复印件;若为代理人办理的,需同时提交代理人的有效身份证件原件及复印件。
客户 综合柜员 授权员1.申请2.审核4.是否需要授权4.复核授权5.提交、打印印 6.客户确认签字7.加盖印章8.最终确认交予客户9.整理3.启动开户交易YN9 整理个人业务交易单按当日业务发生顺序妥善保管;将打印的联网核查结果或者客户身份证复印件作交易凭证的附件。
1.3表单记录记录一:个人业务交易单 记录二:大额登记簿(每日打印) 1.4事中授权审核1.【1052个人账户开户】资金来源为现金时,开户20万元(含)以上需授权。
2.【1052个人账户开户】资金来源为转账时,开户50万元(含)以上需授权。
3.【1052个人账户开户】资金来源为待销账时,需授权。
2.正常销户2.1. 功能描述本交易主要实现个人定活两便存款的正常销户。
资金管理流程图一、资金审批、支付流程①购买日常办公用品、修理费、差旅费、业务费等用于办公室日常开支的费用流程结束②支付租金、水电费、物业费、通讯费等办公室管理费用流程结束③特殊情况需紧急支付V流程结束④购置办公设备支付流程结束⑤员工工资发放流程结束⑥重大资金使用(债权债务重组、对外重大投资等)注:公司确定会议议题,提前电话通知各股东或董事会议时间、地点、议题,确认股东或董事是否出席决策会议当天股东或董事到场必须签到注:出席会议的股东人数应当超过全体股东数的半数;出席董流程结束事会的董事要超过全体董事的半数,方可进行表决。
流程结束收到现金出纳开具收款收据(收据需注明业务内容、收款时间、金额、出纳及会计签名)金额是否大出纳登记现金日记账收款收据交会计做记账凭证>流程结束出纳登记现金日记账银行收到款项 出纳开具收款收据出纳登记银行存款日记账收款收据、银行回执交会计做记账凭证流程结束支付证明单 (银行回执“单)交给会计做记账凭证二、现金、个人银行存款管理流程①现金、个人银行存款收入流程出纳把现金存 入银行出纳登记银行存款日记账(收据需注明业务内容、收款时间、金额、出纳及会计签名)②现金、个人银行存款支付流程按资金审批、财务总监总经理现金出纳登记现金日记账支付申请支付流程审核审批\方式//■个人银行存款出纳登记银行存款日记账 流程结束否是于2000兀③银行存款对公账户支付流程流程结束④出纳、非出纳私人名下账户支付流程注:账户设置单笔转账限额、当天转账限额,若须调整限额,报财务总监审核、总经理审批后方可调整注:东莞银行网上支付短信验证当笔当天限额为1万元,数字证书没有限额流程结束⑤私人名下账户现金取款流程流程结束注:公司财务管理层为黄浩强、黄浩彬、方艳芳、潘志斌共 4人注:一般情况下所购买理财产品期限少于100天,每个理财 产品金额少于300万(含300万),具体方案视实际情况而定⑥公司自有资金管理 1.购置理财理财到期前提前通知公司财务管理层I — 财务部先内部商讨购买理财方案*财务部提出方案报公司财务管理层同意后出纳填报审批表申请购买理财产品屮 财务总监审核流程结束2.高收益投资财务部提出高投资收益方案*财务部提出方案报公司财务管理层同意后出纳填报审批表申请购买理财产品屮财务总监审核总经理审批屮出纳实施方案流程结束3.股东短期借款向有资金需要的股东提供短期借款注:借款利率按银行每年首月公布利率上浮10%流程结束⑥库存现金、银行存款每月核对流程结束注:库存现金必须确认账面相符、账账相符;银行存款必须确认账账相符。
银行存款取款流程本文档旨在介绍银行存款取款的流程,帮助用户了解该过程并能够顺利进行存取款操作。
1.准备存款金额。
确保您有足够的现金或支票等资金准备存入银行账户。
2.前往银行。
携带身份证明文件(如身份证或护照)和银行卡前往银行。
3.排队等候。
在银行柜台或自助服务设备前排队等候,等待轮到您办理存款业务。
4.提供相关信息。
向银行工作人员提供您的身份证明文件和银行卡,以及存款金额和存款账户信息。
5.签署存款单据。
根据银行要求,在存款单据上填写您的姓名、账号和存款金额,并进行签字确认。
6.存款入账。
将现金或支票等资金交给银行工作人员,他们会将存款金额存入您的银行账户。
7.索取存款凭证。
确保收到存款凭证或存款单据作为存款的证明和记录。
1.准备取款事由和金额。
确定需要取款的原因和取款金额,确保您有足够的余额可供取款。
2.前往银行。
携带身份证明文件和银行卡前往银行。
3.排队等候。
在银行柜台或自助服务设备前排队等候,等待轮到您办理取款业务。
4.填写取款单据。
根据银行要求,在取款单据上填写您的姓名、账号和取款金额,并进行签字确认。
5.提供相关信息。
向银行工作人员提供您的身份证明文件、银行卡和填写好的取款单据。
6.等待办理。
银行工作人员会核实您的身份和账户信息,并进行取款操作。
7.接收取款金额。
如果一切正确无误,银行工作人员会给您现金或将取款金额转入您指定的账户。
8.收到取款凭证。
确保收到取款凭证或取款单据作为取款的证明和记录。
确保您的身份证明文件和银行卡的有效性和准确性。
在填写单据和交易前,仔细核实您的个人信息和交易金额。
对于大额存款和取款,可能需要提前预约或办理相关手续,请事先咨询银行工作人员。
以上是银行存款取款的基本流程,祝您在银行交易中顺利并且安全!。