64D半自动闭塞电路动作程序图
- 格式:doc
- 大小:572.00 KB
- 文档页数:7
64型继电半自动闭塞说明书哈尔滨铁路局电务修配厂一九七六年五月技术条件一、办好发车闭塞,当出站信号机未开放前,可以利用正线调车。
办理发车进路后,即不允许利用正线调车。
二、取消闭塞:1、电锁器联锁车站,操纵发车手柄(或按钮)后,即不能取消闭塞,如必须取消时,须破封按下事故按钮绕后始能办理。
每次破封都要严格履行登记手续,注明事由,使用人。
2、电气集中联锁车站,出站信号机开放后,不能取消闭塞。
只有关闭出站信号机和发车进路解锁后,才能取消闭塞。
三、继电半自动闭塞取消予办闭塞制度。
四、事故按钮要严格加封制度,并应逐步加装计数器。
五、列车出发时,闭塞机内部断线,也应保证闭塞设备符合“故障——安全”的原则。
六、今后继电半自动闭塞机,工厂一律按组合匣式和组合式两种制式生产,可在不同的联锁设备车站结合使用。
继电器均采用带罩扦入式,阻容盒也应带罩,以利维修更换。
七、附图未包括的各种站内设备,应按以上技术条件及参照相类似的附图由各局自行修改与半自动闭塞的结合电路。
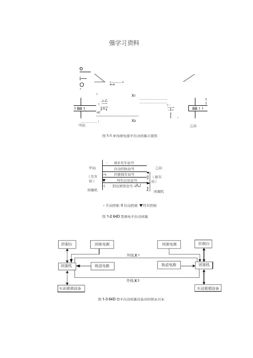
64型继电半自动闭塞说明64型继电半自动闭塞分为64D型(单线)64F)(复线)一、64D型64D型继电半自动闭塞,由下面八个单元电路组成。
1、线路继电电路。
2、信号发送器电路。
3、发车接受器电路。
4、接车接受器电路5、闭塞继电器电路。
6、复原继电器电路。
7、轨道继电电路。
8、表示灯电路。
64D型继电半自动闭塞,正常状态时,两站闭塞机内只有闭塞继电器BSJ吸起,其他继电器都落下,两站表示灯FBD 和JBD都熄灭。
设甲站为发车站,乙站为接车站,甲站发车到乙站,电路动作如下:电路动作说明(见附图一、二)(一)正常办理1、甲站请求向乙站发车甲站请求向乙站发车,甲站值班员应按一下闭塞按钮BSA,此时甲站的正电继电器ZDJ吸起。
其电路经由正电源,ZXJ-53,FXJ-53,。
64型单线半自动闭塞设备原理及日常维护故障处理一、64d型单线继电半自动闭塞设备原理第一节概述半自动闭塞设备是区间列车运行的一种联络方法,它以出站信号机的开放作为列车占用区间的凭证,通过相邻两站的半自动闭塞设备相互控制,保证一个区间内的一条线路上,同时只能运行一列列车。
单线区段是指上下行列车通行共用一条线路,双线区段是指上下行列车有各自的通行线路。
我国目前半自动闭塞区段使用的架空线设备为64d型(单线)、64s型(双线)。
这里主要了解64d型单线品轩半自动闭塞。
一、设备共同组成图1-1单线断电半自动闭塞设备示意图64d型单线品轩半自动闭塞设备就是用继电器去顺利完成两站间架空线的,其设备示意图例如图1-1右图。
相邻两站各设一套半自动闭塞设备组合,两站之间通过一对架空外线连接。
其设备主要包括室内设备和室外设备两大部分。
(一)室内设备64d型单线品轩半自动闭塞室内设备主要存有架空线电话、掌控按钮1广铁华哥hqhh编辑整理(闭塞按钮bsa、复原按钮fua、事故按钮sga)、表示灯(接车表示灯jbd和发车表示灯fbd)、电铃及8个单元控制电路组成(旧式闭塞机已经被淘汰)。
8个单元控制电路是:(1)线路继电器电路,包含正线继电器zxj、负线继电器fxj。
(2)信号发送器电路,包含正电继电器zdj、负电继电器fdj。
(3)架空线继电器bsj电路。
(4)接车接收器电路,包括回执到达继电器hdj、同意接车继电器tjj、通知出发继电器tcj。
(5)进站接收器电路,包含挑选继电器xzj、准备工作启用继电器zkj、启用继电器ktj。
(6)复原继电器fuj电路。
(7)轨道继电器gdj电路。
(8)则表示灯电路,包含提货则表示灯jbd和进站则表示灯fbd两组六个则表示灯。
(二)室外设备室外设备主要有轨道电路、出站信号机和供两站联系用的闭塞外线等。
1.轨道电路为了监督列车的出发和到达,在进站信号机内方设有一段不少于25m长的轨道电路。
64D半自动闭塞继电器组合日常维护1、所需材料、仪表、材料:个人小工具(套)套;电烙铁、万用表各1;焊锡、焊油若干。
2、工作安全:①、在继电器侧工作应注意不要碰歪继电器和熔断器,以防接触不良;②、在配线侧工作应注意不要勾挂配线防止脱焊或断线;③、有必要拔继电器观察时,一定要要点进行。
3、继电器通则:①、继电器的外罩须完整、清洁、明亮、封闭良好,封印完整,外罩应采用阻燃材料。
继电器的可动部分和导电部分,不能与外罩相碰;②、所有金属零件的防护层,不得有龟裂、融化、脱落及锈蚀等现象,但对防护层脱落部分(除导电部分外),可用涂漆方法防锈。
端子板、线圈架应无影响电器性能、机械强度的破损及裂纹;③、线圈应安装牢固、无较大旷动,线圈封包良好,无短路、断线及发霉等现象。
线圈引出线及各部连接线须无断根、脱落、开焊、假焊及造成混线的可能;④、磁极应保持清洁平整,不得有铁屑或其他杂物。
衔铁动作灵活,不得卡阻;⑤、接点须清洁平整,不得有严重的烧损或发黑。
接点引接线应不影响接点动作,并无歪斜、碰混及脱落、腐蚀等现象;⑥、继电器的同类型接点应同时接触或同时断开,其齐度误差:普通接点与普通接点间应不大于0.2mm;加强接点与加强接点间应不大于0.1mm。
4、继电器组合检修程序和标准:①、联系登记;②、继电器侧检修;③、配线侧检修;④、消记。
5、日常维护的工作内容:①、观察各种器材运用状态,检查器材安装是否牢固,插接是否良好;②、检查各种熔断器、阻容元件、防雷元件、变压器等设备有无过热现象和异味;③、清扫机械室环境卫生、保持清洁。
6、64D继电器组合继电参数:64D闭塞机由13个继电器组成:ZXJ(正线路继电器);FXJ(负线路继电器);ZDJ(正电继电器);FDJ(负电继电器);BSJ(闭塞继电器);XZJ(选择继电器);ZKJ(准备开通继电器);KTJ(开通继电器);FUJ(复原继电器);HDJ(回执到达继电器);TJJ(同意接车继电器);TCJ(通知出发继电器);GDJ(轨道继电器)。
1、请示发车过程------发车站按下闭塞按钮,两站分别点亮发车和接车方向的黄灯,表示该过程开始;
2、同意接车过程------接车站按一下闭塞按钮,两站分别点亮发车和接车方向的绿灯,表示该发车站已确定;
3、列车出发过程------两站分别点亮发和接方向一个红灯,表示列车已经出发,闭塞机已完全成为“闭塞状态”;
4、列车到达接车站过程------接车站又增加点亮发车方向的红灯,同时两个红灯亮灯,表示列车已到达;
5、请求复原过程------接车站值班站长确认列车已完整到达后,按一下闭塞按钮,红灯熄灭,表示闭塞机已恢复至平时的“开通状态”。
强学习资料o i —O-fl ------------------11兰 ---------------------------- ----------------------------T 11 11 BB 11臣V 玉 BB 1 1-ii C-------------------------------------------丄11 ------------- 1 00-HX 12乙站__________ I甲站图1-1单线继电器半自动闭塞示意图、 请求发车信号自动回执信号-^1同意接车信号▼ 列车出发信号斗到达复原信号J AJ甲站 (发车站)闭塞机 乙站 (接车站) 闭塞机•手动控制 0自动控制 ▼列车控制 图1-2 64D 型继电半自动闭塞图1-3 64D 型半自动闭塞设备间的联系关系办理闭 塞步骤甲站(发车站) 线路脉冲乙站(接车站)GD BSA DL FBDJBD FBD DL FUA BSA GD1.甲站 请求发车4血艮2.乙站 同意接车3.列车出发迪4列车到达较JSXnA5.到达复原4图正常办理步骤与闭塞机状态示意图图例:J 落下图1-6甲站向乙站请求发车的电路动作程序图1-7乙站同意甲站发车时的电路动作程序-一一;厂一ZXJf|请求发车信号|! Z JI (2)!.FXJFDJ A自动回执信号IBSAZDJXZJ> HDJ f■ TJJ^GDJ *► FBD U. I:U JBDt 吸起后自闭乙站TJ J甲站 GDJI KTJ ZXJFBD同意接车信号i L J ;D甲站乙站I 卄OO一I SI BSJ” 一GDJ TTJJGDJ -------- ZDJ丄-------: • ZKJ * 卜KTJ tFBD 'H:I出发通知信号f ZXjf— TCJ*_ IH JBD图1-8列车岀发进入甲站轨道电路区段的电路动作程序乙站岀清迪FBD图1-9列车到达乙站轨道电路区段使得电路动作程序甲站FUJ* 峙FXJA 峙BSJ:1 GI --------- ►到达复原信号+ HDJ t乙站JFGD图1-10乙站办理到达复原时的电路动作程序乙站FUA甲站ZKJF J取消复原信号TJJGDJ图1-11甲站FBD亮黄灯时办理取消复原时的电路动作原理甲站乙站图1-12甲站FBD亮绿灯后办理取消复原时的电路动作程序图1-13停电恢复后办理事故复原时的电路动作程序图1-14接车站轨道电路故障办理事故复原时的电路动作程序乙站_・ FXjf皆FUA TCJi PBSJ —FUJ *图1-15路用列车由区间返回原发车站时办理事故复原的电路动作程序甲站乙站TCJ ►GDJ甲站I SGAFUJBSJ原信号FDJZDJ X 1 ZDJFDJ11 FXJ2 ZXJ 2 ■M——9——< i3 FDZ 厂■O——>1ZDJFDJFDJ < ------ 3—^-*2诉亠2诉 _ _ X 23八-rf ——£3-FDJ图1-17线路继电器电路Kt24*恋——O- ZDJ4—KFZDJSGAHDJ T 3C1+ R^, ZDJ FDJGDJ TCJ HDJFUA ①4 FXJ 3TJJXZJ ZKJ TJJBSJ TZ 2接车定位22KTJ:-?3图1-18信号发送器电路5*FXJ< «*E4R 3XZJXZJ1 ZDJ■&发车定位 c于⑥⑤~•T -BS ~£UJFDJ“ 3 * 3 '■■■■• 6-KTJ.⑦电气集中⑧图1-19选择继电器电路T Z XJ4KTJ图1-21开通继电器电路图1-25闭塞继电器电路图1-27轨道继电器电路图1-24通知岀发继电器电路BSJKTJ FUJ厂GDJ HDJ BSJZKJFBD1东东\东东东东/东东© © ©东东东东东东东东东东东东◎1◎0XJG .Hu◎XDZA■东东东东—t V ----- ---------- H i ---------- X「X东东东东炼东东东东图1-30 64D型继电半自动闭塞区间车站控制台面板图(局部)组合继电器B1HDJ BSJ KTJ ZDJ FDJ GDJ FUAJ SGAJ BSAJZG-42/0.5 JWXC-1700JWXC-1700JWXC-1700JWXC-1700JWXC-1700JWXC-1700JWXC-1700JWXC-1700JWXC-1700B2ZXJ FXJ FUJ ZKJ XZJ TJJ TCJ JSBJ FSBJ DLJ JPXC-1000JPXC-1000JWXC-1700JWXC-1700JWXC-1700JWXC-1700JWXC-1700JWXC-1700JWXC-1700JWXC-1700JBDU;L:HDJ FDJ BSJ TJJTCJGDJ接车定位条件 发车定位条件接车反位条件 ①JSBJ ② 3 Y 4 JSBJ③m ④⑤FS B3⑥2 3C 3 R3 1+ ■ 2JZ XJGJ-QTCJ 1 3「KZ接近电铃JSQ5DLJKFXJGJ ~~° -- <BSAV7 GA FUA j D J” KF SGAJ・KF , 3BSAJSGAJ —o1FUAJGDJKF * 411DGJF ・-7 JSBJ KF JSBJ Q" —FSBJ■ 4Q 1KTJ XZJ弋一G -- _O-5、• * 5 -+ZKJ "7767 -------------------TCJXJGJF XLXJF-----o — -p ------- a- -p —• /3 [厂2 1DG 2LJ ----------- _6 一 XZCJ ------------ O — t t/ 6 ZJ 11 线 + Z 6 至岀站LXJKZ"KF图1-31 64D 与6502电气集中结合电路。
64D半自动闭塞电路动作程序图一、正常办理(一)甲站请求发车BSA按下:甲站:ZDJ XZJ乙站:ZXJ HDJDLBSA按钮松开:ZDJ 乙站ZXJ乙站TJJ FXJ (甲站)HDJ FDJ (乙站)ZKJHDJ XZJ(甲站)(甲站)GDJ (甲站)FBD 亮黄灯当HDJ(乙站)缓放完了断开FDJ 、TJJ 、HDJ 、FDJ 接通JBD黄灯。
至此,甲站:BSJ XZJ ZKJ GDJ FBD乙站:BSJ TJJ JBD(二)乙站同意接车BSA按下:TJJ 乙站HDJ 乙站BSJ JBD由黄变绿BSA23BSA21 ZDJ ZXJ (甲站)TJJKTJ (甲站)FBD由黄变绿至此:甲乙两站区间开通。
(三)列车出发进入甲站轨道电路区段:甲站值班员依FBD绿灯开放出站信号,由于KTJ ,FSBJ反位使XZJ ,来监督甲站值班员开放出站信号。
当列车进入半自动闭塞区段时,由于GDJ (甲站)BSJ (甲站)ZKJ (甲站)KTJ (甲站)FBD由绿变红,同时出站信号自动关闭。
注:ZKJ 后KTJ 。
BSJ (甲站)ZDJ (甲站)ZXJ (乙站)KTJ 尚未落下(甲站)TCJ (乙站)GDJ (乙站)TJJ (乙站)JBD由绿变红(乙站)此时,甲站到乙站方向区间闭塞,甲站所有继电器落下,乙站TCJ 、GDJ 。
(四)列车到达乙站轨道电路区段乙站值班员收到甲站的通知出发信号后[ TCJ (乙站)],应及时开放进站信号。
当列车到达并进入乙站轨道区段时,GDJ (乙站)HDJ (乙站)FBD(甲站)亮红灯,车出清乙站接近区段,GDJ(乙站)重新吸起。
至此,乙站有TCJ 、GDJ 、HDJ 。
(五)乙站发送到达复原信号乙站值班员确认列车整列到达后,先关闭进站信号机,把TSB恢复定位,然后按下FUA按钮,办理到达复原。
此时,乙站FDJ 向甲站发送到达复原信号BSJ (乙站)TCJ (乙站)FUJ (乙站)BSJ (乙站)FDJ (乙站)FXJ (甲站)DL(甲站)FUJ (甲站)BSJ FBD熄灭(甲站)BSJ (乙站)TCJ (乙站)GDJ (乙站)JBD、FBD熄灭(乙站)两站恢复定位,区间空闲。
湖南铁路科技职业技术学院毕业设计课题 64D半自动闭塞工作原理及故障分析专业铁道通信信号班级信号312-4班学生姓名罗帅指导单位湖南铁路科技职业技术学院指导教师周启亚二零一五年四月十日摘要本论文通过对《区间信号自动控制》,《车站信号自动控制》等书的学习。
做出有关64D半自动闭塞的工作原理和故障分析,为将来面对各种故障有了更好的应急应对能力。
主要内容包括64D半自动闭塞的构成原理,办理手续原理,组合排列图,组合内部配线表,组合侧面配线表和故障分析。
在分析过程中,力求所用数据正确,并满足相应的技术规范和要求。
半自动闭塞线路中传输的信号是有极性的,在施工、通信线路维护时,外线接线一定要正确,施工维护完毕,一定要认真进行闭塞办理实验。
主备通道应定期进行转换实验,确保通道状态良好,转换实验应天窗点内进行。
关键词:半自动闭塞;配线表;故障分析;工作原理目录第1章半自动闭塞概述 (1)1.164D半自动设计的背景、目的及意义 (1)1.2半自动闭塞的基本概念 (1)1.364D型继电半自动闭塞电路构成原理 (2)第2章 64D型继电半自动闭塞办理与动作原理分析 (5)2.1办理手续 (5)2.264D型继电半自动闭塞在办理过程中的动作分析 (7)第3章 64D型继电半自动闭塞故障分析与处理 (14)3.1故障处理实例 (14)总结 (16)致谢 (17)参考文献 (18)第1章半自动闭塞概述1.1 64D半自动设计的背景、目的及意义19世纪40年代以前,列车运行是采用时间间隔法。
这种方法的主要缺点是不能确保安全。
1842年英国人库克提出了空间间隔法,即先行列车与后续列车间隔开一定空间的运行方法。
因为它能较好地保证行车安全而被广泛采用,逐步形成铁路区间闭塞制度。
1876年电话发明后,不久就有了电话闭塞。
电话(电报)闭塞靠人工保证行车安全,两站间没有设备上的锁闭关系。
1878年英国人泰尔研制成功电气路牌机。
1889年发明了电气路签机。
一、64D型半自动闭塞设备概况相邻两站各设一套半自动闭塞设备组合,两站之间通过一对架空外线(电缆)连接。
其设备主要包括:室内设备和室外设备两大部分。
1、室内设备⑴微机鼠标操纵台:①闭塞控制按纽BSA、FUA、SGA。
②两组六个表示灯黄、绿、红(港内微机鼠标操纵台设接车方向发车方向箭头表示,a、发车方向表示灯五种状态:正常状态无表示,请求发车亮黄色,同意接车亮绿色,区间占用亮红色,列车到达亮红色b、接车方向表示灯四种状态:正常状态无表示,请求发车亮黄色,同意接车亮绿色,区间占用亮红色③闭塞电铃(语音)及闭塞电话。
⑵ 8个单元控制电路①线路继电器电路:包括正线继电器ZXJ负线继电器FXJ。
②信号发送电路:包括正线继电器ZDJ负电继电器FDJ。
③闭塞继电器BSJ电路。
④接车接收器电路:包括回执到达继电器HDJ,同意接车继电器TJJ,通知出发继电器TCJ。
⑤发车接收电路;包括选择继电器XZJ准备开通继电器ZKJ开通继电器KTJ。
⑥复原继电器FUJ。
⑦轨道继电器GDJ。
⑧表示灯电路:包括接车表示灯JBD发车表示灯FBD两组六个表示灯。
⑶半自动闭塞室内继电器(共计19台)港内1排2架3层:HDJ BSJ KTJ ZDJ FUJ GDJ FUAJ SGAJ BSAJ整流变压器港内1排2架2层:ZXJ FXJ FUJ ZKJ XZJ TJJ TCJ JSBJF SBJ DLJC1电容(供ZDJFDJ缓放)C2电容(供HDJZKJ缓放)C4电容(供XZJ缓放)3、室外设备室外设备主要包括出站信号机、进站信号机和供两站联系闭塞外线等。
⑴轨道电路为了监督列车的出发和到达在进站信号机内方设有一段不少于25M的轨道电路(LAG),当出发列车占用这段轨道时,接车站接车表示灯、发车站发车表示灯点红灯,并构成复原条件。
⑵出站信号机作为列车占用区间的凭证,当发车进路已锁闭,并且两站的车站值班员办理闭塞后,才能使发车站的发车接收电路中的开通继电器KTJ吸起,出站信号机才能开放。
64D半自动闭塞电路动作程序图
一、正常办理
(一)甲站请求发车
BSA按下:
甲站:ZDJ XZJ
乙站:ZXJ HDJ
DL
BSA按钮松开:
ZDJ 乙站ZXJ
乙站TJJ FXJ (甲站)
HDJ FDJ (乙站)ZKJ
HDJ XZJ(甲站)(甲站)GDJ (甲站)FBD 亮黄灯
当HDJ(乙站)缓放完了断开FDJ 、TJJ 、HDJ 、FDJ 接通JBD黄灯。
至此,
甲站:BSJ XZJ ZKJ GDJ FBD
乙站:BSJ TJJ JBD
(二)乙站同意接车
BSA按下:
TJJ 乙站
HDJ 乙站BSJ JBD由黄变绿
BSA23BSA21 ZDJ ZXJ (甲站)TJJ
KTJ (甲站)FBD由黄变绿
至此:甲乙两站区间开通。
(三)列车出发进入甲站轨道电路区段:
甲站值班员依FBD绿灯开放出站信号,由于KTJ ,FSBJ反位使XZJ ,来监督甲站值班员开放出站信号。
当列车进入半自动闭塞区段时,由于GDJ (甲站)BSJ (甲站)ZKJ (甲站)KTJ (甲站)FBD由绿变红,同时出站信号自动关闭。
注:ZKJ 后KTJ 。
BSJ (甲站)
ZDJ (甲站)ZXJ (乙站)
KTJ 尚未落下(甲站)
TCJ (乙站)GDJ (乙站)TJJ (乙站)
JBD由绿变红(乙站)
此时,甲站到乙站方向区间闭塞,甲站所有继电器落下,乙站TCJ 、GDJ 。
(四)列车到达乙站轨道电路区段
乙站值班员收到甲站的通知出发信号后[ TCJ (乙站)],应及时开放进站信号。
当列车到达并进入乙站轨道区段时,GDJ (乙站)HDJ (乙站)FBD(甲站)亮红灯,车出清乙站接近区段,GDJ(乙站)重新吸起。
至此,乙站有TCJ 、GDJ 、HDJ 。
(五)乙站发送到达复原信号
乙站值班员确认列车整列到达后,先关闭进站信号机,把TSB恢复定位,然后按下FUA按钮,办理到达复原。
此时,乙站FDJ 向甲站发送到达复原信号BSJ (乙站)TCJ (乙站)
FUJ (乙站)BSJ (乙站)
FDJ (乙站)FXJ (甲站)DL(甲站)
FUJ (甲站)BSJ FBD熄灭(甲站)BSJ (乙站)TCJ (乙站)GDJ (乙站)JBD、FBD熄灭(乙站)
两站恢复定位,区间空闲。
二、取消复原
1、甲站收到自动回执信号,FBD亮黄灯之后,甲站值班员按下:
FUA (甲站)FDJ (甲站)ZKJ XZJ
GDJ FBD黄灯灭灯FDJ (甲站)FXJ (乙站)DL 响
FUJ (乙站)TJJ (乙站)JBD黄灯灭灯
2、甲站收到同意接车信号,FBD亮绿灯,出站信号机尚未开放,甲站按下:
FUA (甲站)FDJ (甲站)ZKJ (甲站)XZJ (甲站)
KTJ (甲站)GDJ
FBD绿灯灭FDJ (甲站)FXJ (乙站)FUJ (乙站)BSJ (乙站)TJJ (乙站)JBD绿灯灭
3、集中联锁站信号开放,车未出发,先关闭信号,解锁进路,使XZJ重新吸起,再按下FUA按钮。
三、事故复原
条件:两站值班员必须确认区间无车,出站信号关闭,然后一方值班员打开铅封,按下:
SGA 本站FDJ 对方站FUJ
本站FUJ
.
停电又来电
接车站轨道电路故障列车自甲站折返。